CN213934118U - Circuit breaker testing device - Google Patents

Circuit breaker testing device Download PDF

Info

Publication number
CN213934118U
CN213934118U CN202022364046.5U CN202022364046U CN213934118U CN 213934118 U CN213934118 U CN 213934118U CN 202022364046 U CN202022364046 U CN 202022364046U CN 213934118 U CN213934118 U CN 213934118U
Authority
CN
China
Prior art keywords
circuit breaker
base
testing device
bracket
threaded rod
Prior art date
Legal status (The legal status is an assumption and is not a legal conclusion. Google has not performed a legal analysis and makes no representation as to the accuracy of the status listed.)
Expired - Fee Related
Application number
CN202022364046.5U
Other languages
Chinese (zh)
Inventor
马新梅
李贵宾
石佳
向泽军
Current Assignee (The listed assignees may be inaccurate. Google has not performed a legal analysis and makes no representation or warranty as to the accuracy of the list.)
Bortala Power Supply Co of State Grid Xinjiang Electric Power Co Ltd
State Grid Xinjiang Integrated Energy Service Co Ltd
Original Assignee
Bortala Power Supply Co of State Grid Xinjiang Electric Power Co Ltd
State Grid Xinjiang Integrated Energy Service Co Ltd
Priority date (The priority date is an assumption and is not a legal conclusion. Google has not performed a legal analysis and makes no representation as to the accuracy of the date listed.)
Filing date
Publication date
Application filed by Bortala Power Supply Co of State Grid Xinjiang Electric Power Co Ltd, State Grid Xinjiang Integrated Energy Service Co Ltd filed Critical Bortala Power Supply Co of State Grid Xinjiang Electric Power Co Ltd
Priority to CN202022364046.5U priority Critical patent/CN213934118U/en
Application granted granted Critical
Publication of CN213934118U publication Critical patent/CN213934118U/en
Expired - Fee Related legal-status Critical Current
Anticipated expiration legal-status Critical

Links

Images

Landscapes

  • Breakers (AREA)

Abstract

本实用新型涉及断路器技术领域,具体为一种断路器测试装置,包括:底座,底座上方设置有n字型支架,支架两侧对称设置两个滑套,滑套穿设于支架侧壁,滑套内均穿设有挤压杆,两根挤压杆相对的一侧设置有挤压块,两根挤压杆另一端底部均垂直连接有连接板,底座内部穿设有螺纹杆,螺纹杆与底座滑动连接,螺纹杆两端外壁分别与两块连接板正反螺纹连接,支架顶部设置有用于按压断路器导通按钮的驱动机构,本实用新型通过设置挤压杆、挤压块、驱动机构、连接板和螺纹杆的配合使用,从而实现断路器的固定和通电,而无需另派工作人员对断路器进行固定和导通,减少了人员配置,提高了工作效率。

Figure 202022364046

The utility model relates to the technical field of circuit breakers, in particular to a circuit breaker testing device, comprising: a base, an n-shaped support is arranged above the base, two sliding sleeves are symmetrically arranged on both sides of the support, and the sliding sleeves are penetrated through the side walls of the support; The sliding sleeves are provided with extrusion rods, the opposite sides of the two extrusion rods are provided with extrusion blocks, the bottom of the other end of the two extrusion rods are vertically connected with a connecting plate, and a threaded rod is penetrated inside the base. The rod is slidably connected to the base, the outer walls of the two ends of the threaded rod are respectively connected to the positive and negative threads of the two connecting plates, and the top of the bracket is provided with a driving mechanism for pressing the conduction button of the circuit breaker. The combination of the driving mechanism, the connecting plate and the threaded rod can realize the fixation and energization of the circuit breaker, without the need to send another staff to fix and conduct the circuit breaker, which reduces the personnel allocation and improves the work efficiency.

Figure 202022364046

Description

Circuit breaker testing device
Technical Field
The utility model relates to a circuit breaker technical field specifically is a circuit breaker testing arrangement.
Background
In the current power grid equipment, many circuit breakers include a locking device, and a secondary side of the circuit breaker is required to be disconnected to control a power supply air switch when a preventive test of the circuit breaker is carried out, so that in the test process, the locking device (relay) is in an opening state due to no power supply, and therefore, a worker cannot directly carry out the pre-test work of the circuit breaker (a series of tests such as the action voltage and the input time of an opening electromagnet and a closing electromagnet). In field work, one worker is often required to manually press the relay to keep the relay on, the other worker is responsible for fixing a measuring wire on a secondary terminal of an opening and closing coil, and the other worker is responsible for operating a test device, so that the test work of the whole circuit breaker becomes complicated and burdensome.
SUMMERY OF THE UTILITY MODEL
An object of the utility model is to provide a circuit breaker testing arrangement to solve the problem that proposes among the above-mentioned background art.
The above utility model discloses an above-mentioned utility model purpose can realize through following technical scheme: a circuit breaker testing apparatus comprising: the base, the base top is provided with n style of calligraphy support, the support bilateral symmetry sets up two sliding sleeves, the support lateral wall is worn to locate by the sliding sleeve, all wear to be equipped with the stripper bar in the sliding sleeve, two one side that the stripper bar is relative is provided with the extrusion piece, two the stripper bar other end bottom all is connected with the connecting plate perpendicularly, and the threaded rod is worn to be equipped with in the base is inside, the threaded rod with base sliding connection, threaded rod both ends outer wall respectively with two connecting plate positive and negative threaded connection, the support top is provided with the actuating mechanism who is used for pressing circuit breaker on-button.
Further, actuating mechanism includes the electric putter of fixed mounting in support top center, the electric putter output runs through to support top and fixedly connected with elastic component.
Furthermore, the elastic part comprises a rubber sleeve fixedly connected to the output end of the electric push rod and a spring fixedly arranged inside the rubber sleeve.
Further, a pressure sensor is fixedly mounted at the top end inside the rubber sleeve and located at the top of the spring, and a controller electrically connected with the pressure sensor and the electric push rod is mounted on the upper surface of the support in a specified mode.
Furthermore, the two opposite sides of the extrusion blocks are fixedly provided with rubber anti-slip pads.
Further, threaded rod one end is fixed and is provided with the carousel, carousel edge evenly is provided with anti-skidding line.
Further, a rubber pad is arranged at the bottom of the base and is in a circular truncated cone shape with a large lower part and a large upper part and a large lower part.
Compared with the prior art, the utility model provides a circuit breaker testing arrangement possesses following beneficial effect:
1. the utility model discloses, through the cooperation that sets up the stripper bar, the extrusion piece, connecting plate and threaded rod are used, place the circuit breaker on the base upper surface, clockwise rotation threaded rod, the threaded rod drives the connecting plate of support both sides, stripper bar and extrusion piece are close to each other, thereby extrude fixedly to the circuit breaker, so that carry out the detection operation to the circuit breaker, through setting up actuating mechanism, after the circuit breaker is fixed, start electric putter, electric putter promotes the elastic component and presses the turn-on button of circuit breaker, thereby realize the circular telegram of circuit breaker, and need not to send staff in addition and fix and switch on the circuit breaker, personnel's configuration has been reduced, has improved work efficiency;
2. the utility model discloses, through setting up pressure sensor and controller, at the in-process that the elastic component moved down, the switch-on button of circuit breaker can have a holding power to the elastic component, and when this holding power reached pressure sensor's setting value, controller control electric putter stop work to avoid electric putter to exert oneself excessively, damage the switch-on button of circuit breaker.
Drawings
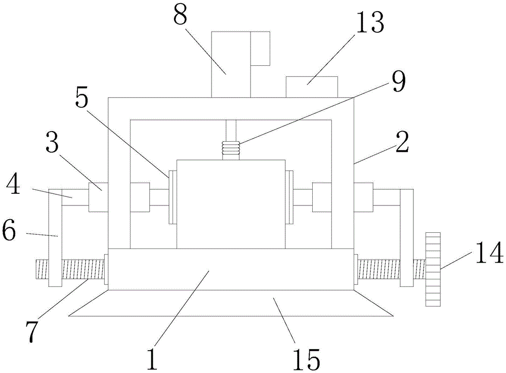
FIG. 1 is a schematic view of the structure of the present invention;
fig. 2 is a schematic view of the front view cross-sectional structure of the present invention;
fig. 3 is an enlarged schematic structural diagram of a in fig. 2 according to the present invention.
In the figure: 1-a base; 2-a scaffold; 3, sliding sleeve; 4-extruding a rod; 5-extruding the block; 6-connecting plates; 7-a threaded rod; 8, an electric push rod; 9-an elastic member; 10-a rubber sleeve; 11-a spring; 12-a pressure sensor; 13-a controller; 14-a turntable; 15-rubber pad.
Detailed Description
The technical solutions in the embodiments of the present invention will be described clearly and completely with reference to the accompanying drawings in the embodiments of the present invention, and it is obvious that the described embodiments are only some embodiments of the present invention, not all embodiments. Based on the embodiments in the present invention, all other embodiments obtained by a person skilled in the art without creative work belong to the protection scope of the present invention.
Referring to fig. 1 to 3, the present invention provides a technical solution: a circuit breaker testing apparatus comprising: the anti-skidding circuit breaker comprises a base 1, an n-shaped support 2 is arranged above the base 1, two sliding sleeves 3 are symmetrically arranged on two sides of the support 2, the sliding sleeves 3 penetrate through the side wall of the support 2, extrusion rods 4 penetrate through the sliding sleeves 3, extrusion blocks 5 are arranged on one opposite sides of the two extrusion rods 4, connecting plates 6 are vertically connected to the bottoms of the other ends of the two extrusion rods 4, threaded rods 7 penetrate through the base 1, the threaded rods 7 are connected with the base 1 in a sliding mode, the outer walls of two ends of each threaded rod 7 are respectively in positive and negative threaded connection with the two connecting plates 6, a driving machine used for pressing a circuit breaker conducting button is arranged at the top of the support 2, rubber anti-skidding pads are fixedly arranged on one opposite sides of the two extrusion blocks 5, a turntable 14 is fixedly arranged at one end of each threaded rod 7, anti-skidding lines are uniformly arranged at the edge of the turntable 14, a rubber pad 15 is arranged at the bottom of the base 1, and the rubber pad 15 is in a shape of a circular truncated cone with a large upper and lower part and a lower part, the driving mechanism comprises an electric push rod 8 fixedly arranged at the center of the top of the bracket 2, the output end of the electric push rod 8 penetrates through the top of the bracket 2 and is fixedly connected with an elastic part 9, through the matching use of the extrusion rod 4, the extrusion block 5, the connecting plate 6 and the threaded rod 7, the circuit breaker is placed on the upper surface of the base 1, the threaded rod 7 is rotated clockwise, the threaded rod 7 drives the connecting plate 6, the extrusion rod 4 and the extrusion block 5 on the two sides of the bracket 2 to be close to each other, thereby extruding and fixing the circuit breaker so as to carry out detection operation on the circuit breaker, and after the circuit breaker is fixed by arranging the driving mechanism, the electric push rod 8 is started, the electric push rod 8 pushes the elastic piece 9 to press the conducting button of the breaker, therefore, the circuit breaker is electrified, and workers do not need to be additionally dispatched to fix and conduct the circuit breaker, so that personnel allocation is reduced, and the working efficiency is improved.
Wherein, elastic component 9 includes rubber sleeve 10 and the fixed mounting in the inside spring 11 of rubber sleeve 10 of the rubber material of fixed connection in the 8 output ends of electric putter, the inside top fixed mounting of rubber sleeve 10 has pressure sensor 12, pressure sensor 12 is located the top of spring 11, support 2 upper surface regulation installs the controller 13 of being connected with pressure sensor 12 and electric putter 8 electricity, through setting up pressure sensor 12 and controller 13, at the in-process that elastic component 9 moved down, the switch-on button of circuit breaker can have a holding power to elastic component 9, when this holding power reaches pressure sensor 12's setting value, controller 13 control electric putter 8 stop work, thereby avoid electric putter 8 power overruns, damage the switch-on button of circuit breaker.
The working principle is as follows: the utility model discloses in the use, place the circuit breaker on base 1 upper surface, clockwise rotation threaded rod 7, threaded rod 7 drives connecting plate 6, extrusion ram 4 and extrusion piece 5 of support 2 both sides and is close to each other, thereby extrude the fixed to the circuit breaker, in order to carry out the detection operation to the circuit breaker, through setting up actuating mechanism, after the circuit breaker is fixed, start electric putter 8, electric putter 8 promotes elastic component 9 and presses the turn-on button of circuit breaker, thereby realize the circular telegram of circuit breaker, and need not to send the staff in addition and fix and switch on the circuit breaker, personnel's configuration has been reduced, the work efficiency has been improved, through setting up pressure sensor 12 and controller 13, in the process that elastic component 9 moves down, the turn-on button of circuit breaker can have a holding power to elastic component 9, when this holding power reaches pressure sensor 12's setting value, controller 13 control electric putter 8 stops work, thereby avoiding the electric push rod 8 from exerting excessive force and damaging the switch-on button of the circuit breaker.
Although embodiments of the present invention have been shown and described, it will be appreciated by those skilled in the art that changes, modifications, substitutions and alterations can be made in these embodiments without departing from the principles and spirit of the invention, the scope of which is defined in the appended claims and their equivalents.

Claims (7)

1.一种断路器测试装置,包括:底座(1),其特征在于:所述底座(1)上方设置有呈n字型设置的支架(2),所述支架(2)两侧对称设置两个滑套(3),所述滑套(3)穿设于支架(2)侧壁,所述滑套(3)内均穿设有挤压杆(4),两根所述挤压杆(4)相对的一侧设置有挤压块(5),两根所述挤压杆(4)另一端底部均垂直连接有连接板(6),底座(1)内部穿设有螺纹杆(7),所述螺纹杆(7)与所述底座(1)滑动连接,所述螺纹杆(7)两端外壁分别与两块所述连接板(6)正反螺纹连接,所述支架(2)顶部设置有用于按压断路器导通按钮的驱动机构。1. A circuit breaker testing device, comprising: a base (1), characterized in that: a bracket (2) arranged in an n-shape is arranged above the base (1), and the bracket (2) is symmetrically arranged on both sides Two sliding sleeves (3), the sliding sleeves (3) are penetrated on the side wall of the bracket (2), and extrusion rods (4) are penetrated in the sliding sleeves (3). An extrusion block (5) is arranged on the opposite side of the rod (4), a connecting plate (6) is vertically connected to the bottom of the other end of the two extrusion rods (4), and a threaded rod is penetrated inside the base (1). (7), the threaded rod (7) is slidably connected to the base (1), the outer walls of the two ends of the threaded rod (7) are respectively connected to the positive and negative threads of the two connecting plates (6), and the bracket (2) The top is provided with a drive mechanism for pressing the switch-on button of the circuit breaker. 2.根据权利要求1所述的一种断路器测试装置,其特征在于:所述驱动机构包括固定安装于支架(2)顶部中心的电动推杆(8),所述电动推杆(8)输出端贯穿至支架(2)顶部且固定连接有弹性件(9)。2. A circuit breaker testing device according to claim 1, characterized in that: the drive mechanism comprises an electric push rod (8) fixedly mounted on the top center of the bracket (2), and the electric push rod (8) The output end penetrates to the top of the bracket (2) and is fixedly connected with an elastic piece (9). 3.根据权利要求2所述的一种断路器测试装置,其特征在于:所述弹性件(9)包括固定连接于电动推杆(8)输出端的橡胶材质的橡胶套(10)以及固定安装于所述橡胶套(10)内部的弹簧(11)。3. A circuit breaker testing device according to claim 2, characterized in that: the elastic member (9) comprises a rubber sleeve (10) of rubber material fixedly connected to the output end of the electric push rod (8) and a fixed installation A spring (11) inside the rubber sleeve (10). 4.根据权利要求3所述的一种断路器测试装置,其特征在于:所述橡胶套(10)内部顶端固定安装有压力传感器(12),所述压力传感器(12)位于所述弹簧(11)的顶部,所述支架(2)上表面规定安装有与所述压力传感器(12)及电动推杆(8)电连接的控制器(13)。4. A circuit breaker testing device according to claim 3, characterized in that: a pressure sensor (12) is fixedly installed at the inner top of the rubber sleeve (10), and the pressure sensor (12) is located in the spring (12). 11), a controller (13) electrically connected to the pressure sensor (12) and the electric push rod (8) is installed on the upper surface of the bracket (2). 5.根据权利要求1所述的一种断路器测试装置,其特征在于:两块所述挤压块(5)相对的一侧均固定设置有橡胶材质的防滑垫。5 . The circuit breaker testing device according to claim 1 , wherein the opposite sides of the two pressing blocks ( 5 ) are fixedly provided with anti-skid pads made of rubber material. 6 . 6.根据权利要求1所述的一种断路器测试装置,其特征在于:所述螺纹杆(7)一端固定设置有转盘(14),所述转盘(14)边缘处均匀设置有防滑纹。6 . The circuit breaker testing device according to claim 1 , wherein a turntable (14) is fixedly arranged at one end of the threaded rod (7), and anti-skid lines are evenly arranged on the edge of the turntable (14). 7 . 7.根据权利要求1所述的一种断路器测试装置,其特征在于:所述底座(1)底部设置有橡胶垫(15),所述橡胶垫(15)为下大上下的圆台状。7 . The circuit breaker testing device according to claim 1 , wherein a rubber pad ( 15 ) is provided at the bottom of the base ( 1 ), and the rubber pad ( 15 ) is in the shape of a circular truncated cone with a large bottom and top and bottom. 8 .
CN202022364046.5U 2020-10-21 2020-10-21 Circuit breaker testing device Expired - Fee Related CN213934118U (en)

Priority Applications (1)

Application Number Priority Date Filing Date Title
CN202022364046.5U CN213934118U (en) 2020-10-21 2020-10-21 Circuit breaker testing device

Applications Claiming Priority (1)

Application Number Priority Date Filing Date Title
CN202022364046.5U CN213934118U (en) 2020-10-21 2020-10-21 Circuit breaker testing device

Publications (1)

Publication Number Publication Date
CN213934118U true CN213934118U (en) 2021-08-10

Family

ID=77224754

Family Applications (1)

Application Number Title Priority Date Filing Date
CN202022364046.5U Expired - Fee Related CN213934118U (en) 2020-10-21 2020-10-21 Circuit breaker testing device

Country Status (1)

Country Link
CN (1) CN213934118U (en)

Similar Documents

Publication Publication Date Title
CN104807625A (en) Plastic case circuit breaker mechanical life automatic test device
CN113021510B (en) Device for punching and pushing out copper bar insulating sleeve
CN212932869U (en) Microswitch reliability testing equipment
CN213934118U (en) Circuit breaker testing device
CN205426967U (en) Portable test wire support
CN210430753U (en) Multi-functional integrated maintenance device of electronic product maintenance usefulness
CN204664083U (en) Panel and substrate assembly tool
CN211428079U (en) Detachable isolating switch
CN213532256U (en) Fixing device is used in processing of semiconductor new material
CN209215439U (en) A terminal pressing needle type test fixture
CN106093667A (en) Header box automatic matching test system and test fixture thereof
CN204287352U (en) A kind of frequency converter bringing onto load test fixture
CN203942178U (en) A kind of high-tension fuse is got holding tool
CN210692911U (en) Wiring structure of electric device
CN209598612U (en) A kind of Duckbilled contact spring dismounting device
CN211101260U (en) A three-point hydraulic busbar bending machine
CN115119453A (en) Special load box for power utilization inspection
CN209570050U (en) A digital plate heat exchanger
CN220510709U (en) Easy-to-open terminal box
CN222710696U (en) Rectifier pin bending device
CN207441547U (en) A kind of electricity operation disconnecting switch control device
CN214602846U (en) Hot pressing plate for semiconductor bonding wire
CN221507095U (en) Power supply grounding test device
CN222094633U (en) Press riveting device for power distribution box production
CN222290381U (en) Clothing trompil equipment for clothing processing

Legal Events

Date Code Title Description
GR01 Patent grant
GR01 Patent grant
CF01 Termination of patent right due to non-payment of annual fee

Granted publication date: 20210810

CF01 Termination of patent right due to non-payment of annual fee