CN213897076U - A compacted structure for channel replacement - Google Patents

A compacted structure for channel replacement Download PDF

Info

Publication number
CN213897076U
CN213897076U CN202022273854.0U CN202022273854U CN213897076U CN 213897076 U CN213897076 U CN 213897076U CN 202022273854 U CN202022273854 U CN 202022273854U CN 213897076 U CN213897076 U CN 213897076U
Authority
CN
China
Prior art keywords
tamping
assembly
bearing
component
balance
Prior art date
Legal status (The legal status is an assumption and is not a legal conclusion. Google has not performed a legal analysis and makes no representation as to the accuracy of the status listed.)
Expired - Fee Related
Application number
CN202022273854.0U
Other languages
Chinese (zh)
Inventor
陈煜�
谢新文
荣德锋
杨金涛
龙开方
冯志永
关显赫
李波
Current Assignee (The listed assignees may be inaccurate. Google has not performed a legal analysis and makes no representation or warranty as to the accuracy of the list.)
First Construction Engineering Co Ltd of China Construction Second Engineering Bureau Co Ltd
Original Assignee
First Construction Engineering Co Ltd of China Construction Second Engineering Bureau Co Ltd
Priority date (The priority date is an assumption and is not a legal conclusion. Google has not performed a legal analysis and makes no representation as to the accuracy of the date listed.)
Filing date
Publication date
Application filed by First Construction Engineering Co Ltd of China Construction Second Engineering Bureau Co Ltd filed Critical First Construction Engineering Co Ltd of China Construction Second Engineering Bureau Co Ltd
Priority to CN202022273854.0U priority Critical patent/CN213897076U/en
Application granted granted Critical
Publication of CN213897076U publication Critical patent/CN213897076U/en
Expired - Fee Related legal-status Critical Current
Anticipated expiration legal-status Critical

Links

Images

Landscapes

  • Machines For Laying And Maintaining Railways (AREA)

Abstract

本实用新型涉及地基处理技术领域,公开了一种通道换填用夯实结构,包括夯实组件、平衡组件、缓冲组件和驱动组件,所述夯实组件贯穿所述平衡组件和缓冲组件与所述驱动组件相连;所述夯实组件与地面接触对相应的地面进行夯实,所述平衡组件用于控制所述夯实结构的打夯走向,所述驱动组件为所述夯实结构提供驱动力,所述夯实结构还包括承载组件,用来承载驱动组件和夯实组件。该实用新型结构简单,制造成本低廉,驱动组件带动承载组件运动并进一步带动夯实组件对地基进行镇压夯实的运动,将所需夯实的地面夯实加固,操作十分方便,且通过平衡组件能确保夯实路线统一,加固效果更好。

Figure 202022273854

The utility model relates to the technical field of foundation treatment, and discloses a compaction structure for channel replacement and filling, which comprises a compaction component, a balance component, a buffer component and a drive component. The compaction component penetrates the balance component and the buffer component and the drive component. Connected; the compaction component contacts the ground to compact the corresponding ground, the balance component is used to control the compaction direction of the compaction structure, the drive component provides a driving force for the compaction structure, and the compaction structure also Includes a carrier assembly for carrying the drive assembly and the compaction assembly. The utility model has the advantages of simple structure and low manufacturing cost, the driving component drives the bearing component to move, and further drives the tamping component to carry out the movement of repressing and tamping the foundation, so as to compact and reinforce the ground to be rammed, the operation is very convenient, and the tamping route can be ensured through the balance component. Unified, the reinforcement effect is better.

Figure 202022273854

Description

Channel is traded and is filled with ramming structure
Technical Field
The utility model relates to a ground treatment technical field especially relates to a passageway is traded and is filled with ramming structure.
Background
Before the building and the geotechnical building are built, the foundation has self-weight stress caused by the self-gravity of the soil body. The load of the building and the geotechnical building is transmitted to the foundation through the bottom surface of the foundation or the embankment, so that the original stress state of the natural soil layer is changed, and vertical, lateral and shearing deformation is generated in the foundation under the action of an additional three-dimensional stress component, so that vertical and lateral displacement of each point is caused. Vertical deformation of the foundation surface is referred to as foundation settlement, or foundation settlement.
The foundation settlement problem in the industrial and civil building field is a common quality problem, and the control measures adopted at home and abroad are to perform replacement and filling through prestressed high-strength concrete pipe piles, concrete square piles, concrete cast-in-place piles, cement fly ash gravel piles and the like.
In the process of foundation replacement, equipment for compacting the foundation is needed to ensure the firm foundation replacement; the traditional manual ramming mode is adopted for reinforcement in the prior art, a large amount of ramming machines and labor force are needed, the foundation construction cost is high, and the reinforcement force is not ideal.
In view of this, the utility model discloses a passageway is traded and is filled with ramming structure.
SUMMERY OF THE UTILITY MODEL
In order to solve the problem, the utility model provides a passageway is traded and is filled out with ramming structure, its simple structure, low in manufacturing cost is honest and clean, and drive assembly drives the motion that bearing assembly moved and further drive the ramming subassembly and carry out the suppression tamping to the ground, consolidates the ground tamping of required tamping, and it is very convenient to operate, and can ensure through balanced subassembly that the tamping route is unified, and it is better to consolidate the effect.
In order to achieve the above object, the utility model provides a following technical scheme:
a tamping structure for channel replacement and filling comprises a tamping assembly, a balance assembly, a buffering assembly and a driving assembly, wherein the tamping assembly penetrates through the balance assembly and the buffering assembly and is connected with the driving assembly; the tamping structure is characterized in that the tamping assembly is in contact with the ground to tamp the corresponding ground, the balancing assembly is used for controlling the tamping trend of the tamping structure, the driving assembly provides driving force for the tamping structure, and the tamping structure further comprises a bearing assembly used for bearing the driving assembly and the tamping assembly.
Optionally, the tamping assembly comprises a tamping plate and a tamping rod connected to the tamping plate, and one end of the tamping rod, which is far away from the tamping plate, is connected to the bearing assembly. The tamping rod enables the tamping plate and the bearing component to move integrally, and the tamping plate and the bearing component move up and down along with the movement of the bearing component to realize tamping.
Optionally, the surface of the tamper disc away from the tamper bar is provided with an anti-slip structure. The phenomenon of skidding between the tamping disc and the paved material to be changed and filled can be effectively avoided in the tamping process.
Optionally, the balance assembly and the tamping assembly are parallel to each other and include a balance disc, and a mounting seat is integrally arranged on one end face of the balance disc.
Optionally, the other end face of the balancing disc, which is far away from the mounting seat, is symmetrically provided with guide blocks.
Optionally, the distance between the guide blocks is greater than the length of the tamper assembly. The use of the tamping plate is prevented from being influenced by interference in the process of moving the tamping plate up and down in the vertical direction.
Optionally, the bearing assembly includes a first bearing tray, a second bearing tray, a third bearing tray, and a bearing guide rod, wherein the bearing guide rod is connected between the first bearing tray and the balancing assembly, and the second bearing tray and the third bearing tray are respectively slidably sleeved on the bearing guide rod. In the use, the second bears the dish and the third bears the dish all the time along bearing guide bar vertical motion, can prevent to ram the dish and take place the slope phenomenon at the decline in-process, damage ramming structure.
Optionally, the second bears the dish with the third bears and is provided with the connecting rod between the dish, the connecting rod with bear guide bar parallel arrangement, just connecting rod fixed connection bear on the dish in the second, with the third bears the dish sliding connection, and its tip is provided with the anticreep cap. Bear the dish and the third bears and be provided with the connecting rod between the dish at the second to bear the dish at anticreep cap and third and be provided with reset spring, can effectively alleviate the impact, compare drive assembly lug connection and bear the dish at the third, further play the effect of buffering, make the structure more stable, life is longer.
Optionally, a first return spring is sleeved on the bearing guide rod between the second bearing disc and the third bearing disc. Reset spring can the pressurized production reaction, reduces the vibration that produces in the tamping structure use, and simultaneously, reset spring resumes after deformation, helps ramming the reseing of dish.
Optionally, the buffering subassembly is for the cover establish on the rammer pole, and is located the mount pad and the third bears the buffer spring between the dish, helps alleviating the third and bears the dish drive rammer dish and directly strike ground, makes the operation more steady, and the live time of structure is longer.
Compared with the prior art, the beneficial effects of the utility model are as follows:
(1) the utility model discloses simple structure, low in manufacturing cost is honest and clean, and drive assembly drives the motion of bearing the weight of subassembly motion and further drives the tamping subassembly and carry out the suppression tamping motion to the ground, consolidates the ground tamping of required tamping, and the operation is very convenient, and can ensure through the balanced subassembly that the tamping route is unified, consolidates the effect better.
(2) In the use process of the utility model, the second bearing plate and the third bearing plate move vertically along the bearing guide rod all the time, so that the tamping plate can be prevented from inclining in the descending process and damaging the tamping structure; set up reset spring and buffering subassembly simultaneously, can effectively alleviate the impact, further play the effect of buffering, make the structure more stable, life is longer.
Drawings
FIG. 1 is a perspective view of the tamping structure for channel replacement of the present invention;
FIG. 2 is a side view of the channel refill tamper structure of the present invention;
FIG. 3 is a perspective view of another perspective of the tamping structure for channel reclamation of the present invention;
fig. 4 is a schematic view of the using state of the tamping structure for channel replacement and filling of the present invention.
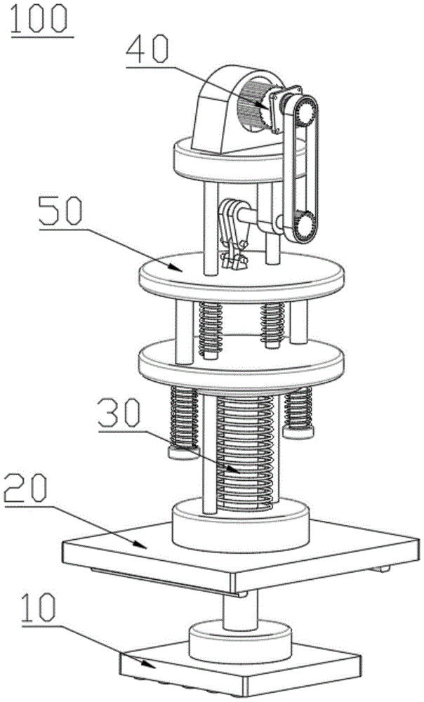
In the figure: the anti-slip device comprises a tamping structure 100, a tamping assembly 10, a tamping disc 101, a tamping rod 102, anti-slip strips 103, a balance assembly 20, a mounting seat 201, a balance plate 202, a guide block 203, a slide rail 204, a buffering assembly 30, a buffering spring 301, a driving assembly 40, a driving motor 401, a transmission assembly 402, a cam 403, a connecting rod 404, a connecting lug 405, a bearing assembly 50, a first bearing disc 501, a second bearing disc 502, a third bearing disc 503, a bearing guide rod 504, a connecting rod 505, a first return spring 506, an anti-slip cap 507 and a second return spring 508.
Detailed Description
The technical solutions in the embodiments of the present invention will be described clearly and completely with reference to the accompanying drawings in the embodiments of the present invention, and it is obvious that the described embodiments are only some embodiments of the present invention, not all embodiments. Based on the embodiments in the present invention, other embodiments obtained by a person of ordinary skill in the art without creative work all belong to the protection scope of the present invention.
Referring to fig. 1-4, the present invention provides a tamping structure for channel replacement, wherein the tamping structure 100 can be used alone by installing a handle, or can be used in combination with other machines, such as an excavator or a bulldozer, the tamping structure 100 comprises a tamping assembly 10, a balancing assembly 20, a buffering assembly 30 and a driving assembly 40, the tamping assembly 10 penetrates through the balancing assembly 20 and the buffering assembly 30 and is connected to the driving assembly 40; the tamping assembly 10 is in contact with the ground to tamp the corresponding ground, the balance assembly 20 is used for controlling the tamping trend of the tamping structure 100, and the driving assembly 40 provides driving force for the tamping structure 100. The tamper structure 100 also includes a carrier assembly 50 for carrying the drive assembly 40 and the tamper assembly 10.
Specifically, in the present embodiment, the tamper assembly 10 includes a tamper plate 101, a tamper rod 102 connected to the tamper plate 101; is arranged integrally with the tamper disc 101 and is fixedly connected with the tamper bar 102, and the tamper bar 102 is preferably screwed on the tamper disc 101, so as to facilitate the assembly of the tamper structure 100; the tamping tool can also be detachably connected, namely, the tamping tool comprises a base body and a tamping plate (not shown in the figure), the base body is fixedly connected with the tamping rod 102, the tamping plate is arranged on two sides of the base body, and the tamping plate is detachably connected with the base body. When the area of the foundation to be tamped is large, the tamping plate and the base body are connected, the tamping area of the tamping plate 101 is increased, the working time is saved, and the working efficiency is improved.
In addition, the surface of the tamping disc 101 far away from the tamping rod 102 is provided with an anti-slip structure, the anti-slip structure is a plurality of groups of anti-slip strips 103 which are arranged in parallel, and the anti-slip structure 100 can be effectively prevented from slipping in the process of tamping stones by arranging the anti-slip strips 103.
In particular, in the present embodiment, the counterbalance assembly 20 and the tamper assembly 10 are parallel to each other, which comprises a balance plate 202 with a mounting seat 201, wherein the balance plate 202 and the mounting seat 201 are arranged integrally, and a balance component 20 is sleeved on the surface of a tamper bar 102 in a sliding way, the guide blocks 203 are symmetrically arranged on one surface of the balance plate 202 far away from the mounting seat 201, the guide blocks 203 are fixedly or detachably connected with the balance plate 202, this guide block 203 cooperates with slide rail 204 to use (when the ground excavation needs to be changed and is filled, the successive layer is laid and is changed the filler, after laying and accomplishing, with two slide rails 204 of round pin parallel fixation along the length direction of ground, this slide rail 204 is confirmed according to actual conditions, can be wood head strip or cement strip, its purpose lets tamping structure 100 tamp according to the route that slide rail 204 laid and consolidate), and then can ensure the effect of ramming, avoids repeated ramming, perhaps leaks to tamp.
In addition, the distance between the slide rails 204 corresponds to the distance between the two guide blocks 203, so that the guide blocks 203 are ensured to move along the inner side walls of the slide rails 204 in the ramming process; while the distance between the two guide blocks 203 is greater than the length of the tamper disc 101, preventing interference with the vertical movement of the tamper disc 101.
Specifically, in this embodiment, the bearing assembly 50 includes a first bearing tray 501, a second bearing tray 502, a third bearing tray 503, and a bearing guide rod 504, wherein the bearing guide rod 504 is connected between the first bearing tray 501 and the mounting seat 201 of the balance assembly 20, the second bearing tray 502 and the third bearing tray 503 are respectively slidably sleeved on the bearing guide rod 504, a connection rod 505 is further disposed between the second bearing tray 502 and the third bearing tray 503, the connection rod 505 is parallel to the bearing guide rod 504, and the connection rod 505 is fixedly connected to the second bearing tray 502 and slidably connected to the third bearing tray 503; a first return spring 506 is sleeved on the bearing guide rod 504 between the second bearing plate 502 and the third bearing plate 503 to ensure that the second bearing plate 502 and the third bearing plate 503 are driven simultaneously, in addition, an anti-falling cap 507 is arranged at the end part of the connecting rod 505 far away from the second bearing plate 502 to prevent the third bearing plate 503 from falling off from the connecting rod 505, and one end of the tamper rod 102 far away from the tamper plate 101 is fixedly connected to the third bearing plate 503.
In this embodiment, the driving assembly 40 is located between the first carrying tray 501 and the second carrying tray 502, and the second carrying tray 502 and the third carrying tray 503 are driven by the driving assembly 40, and at the same time, the tamper bar 102 moves simultaneously with the vertical movement of the third carrying tray 503 on the carrying guide bar 504, so as to drive the tamper tray 101 to rise and fall for compacting and tamping, and to tamp the ground to be compacted.
Specifically, the driving assembly 40 includes a driving motor 401, and is connected to a driving rod at an output end of the driving motor 401 through a transmission assembly 402, one end of the driving rod, which is far away from the transmission assembly 402, is connected to a cam 403, a connecting rod 404 is rotatably connected to the cam 403, one end of the connecting rod 404, which is far away from the cam 403, is rotatably connected to a connecting lug 405, and the connecting lug 405 is fixed to the second bearing plate 502. The transmission assembly 402 may be a gear transmission or a belt transmission. A motor support is fixedly mounted on the first bearing disc 501, the driving motor 401 is fixed on the motor support, a driving rod support is fixed on the other surface of the first bearing disc 501, which is far away from the motor support, and a driving rod is mounted through a bearing. The driving motor 401 operates to drive the transmission assembly 402 to move, so as to synchronously drive the driving rod to rotate, and the cam 403 is fixedly connected to the driving rod, preferably in a key connection. The cam 403 rotates with the rotation of the driving rod, and drives the connecting rod 404 to move up and down, and preferably, the connecting rod 404 is hinged with the cam 403 and the connecting lug 405 respectively. With the rotation of the cam 403, the second carrier plate 502 and the third carrier plate 503 are driven to move up and down on the carrier guide rod 504.
In this embodiment, the buffering assembly 30 is a buffering spring 301, which is sleeved on the tamper bar 102 and located between the mounting seat 201 and the third carrying plate 503. In addition, a second return spring 508 is sleeved on the connecting rod 505 and is located between the third bearing plate 503 and the anti-falling cap 507.
The working process of the utility model is as follows:
taking foundation replacement as an example for explanation, when the ground needs to be compacted, the compacting plate 101 is placed at a position to be compacted, the guide block 203 on the balance plate 202 is aligned with the slide rail 204 which is placed in advance, so that the guide block and the slide rail 204 can slide in cooperation, the driving assembly 40 drives the second bearing plate 502 and the third bearing plate 503, and simultaneously the tamping rod 102 moves along with the vertical movement of the third bearing plate 503 on the bearing guide rod 504, thereby driving the compacting plate 101 to rise and fall to perform compacting movement, and compacting the ground which needs to be compacted. Therefore, when the third bearing plate 503 is driven by the driving assembly 40 to approach the tamper plate 101, the first return spring 506 is compressed to generate a reaction force, which is beneficial to reducing the vibration of the third bearing plate 503 on the tamper plate, and when the third bearing plate 503 is driven by the driving assembly 40 to be away from the tamper plate 101, the first return spring 506 recovers the deformation, which is beneficial to returning the tamper plate 101 to the initial position, thereby being beneficial to protecting the tamper plate 101 and the bearing plate, prolonging the service life of the tamper plate 101 and reducing the maintenance cost.
It will be understood that when an element is referred to as being "secured to" another element, it can be directly on the other element or intervening elements may also be present. When a component is referred to as being "connected" to another component, it can be directly connected to the other component or intervening components may also be present. When a component is referred to as being "disposed on" another component, it can be directly on the other component or intervening components may also be present. The terms "vertical," "horizontal," "left," "right," and the like as used herein are for illustrative purposes only.
In the description of the present invention, it is to be noted that, unless otherwise explicitly specified or limited, the terms "mounted", "provided" and "connected" are to be interpreted broadly, and may be, for example, fixedly connected, detachably connected, or integrally connected; may be mechanically connected, may be electrically connected or may be in communication with each other; either directly or indirectly through intervening media, either internally or in any other relationship. The specific meaning of the above terms in the present invention can be understood according to specific situations by those skilled in the art.
Although embodiments of the present invention have been shown and described, it will be appreciated by those skilled in the art that various changes, modifications, substitutions and alterations can be made in these embodiments without departing from the principles and spirit of the invention. The present invention is not limited to the specific embodiments disclosed herein, and all embodiments falling within the scope of the claims of the present application belong to the scope of the present invention, and in short, the scope of protection is defined by the claims and their equivalents.

Claims (10)

1. The utility model provides a passageway is traded and is filled with ramming structure which characterized in that: the device comprises a tamping assembly (10), a balance assembly (20), a buffering assembly (30) and a driving assembly (40), wherein the tamping assembly (10) penetrates through the balance assembly (20) and the buffering assembly (30) and is connected with the driving assembly (40); the tamping assembly (10) is in contact with the ground to tamp the corresponding ground, the balance assembly (20) is used for controlling the tamping trend of the tamping structure (100), the driving assembly (40) provides driving force for the tamping structure (100), and the tamping structure (100) further comprises a bearing assembly (50) used for bearing the driving assembly (40) and the tamping assembly (10).
2. The ramming structure for channel replacement according to claim 1, wherein: the tamping assembly (10) comprises a tamping plate (101) and a tamping rod (102) connected to the tamping plate (101), wherein one end of the tamping rod (102) far away from the tamping plate (101) is connected to the bearing assembly (50).
3. The ramming structure for channel replacement according to claim 2, wherein: the surface of the tamping disc (101) far away from the tamping rod (102) is provided with an anti-slip structure.
4. The ramming structure for channel replacement according to claim 1, wherein: the balance assembly (20) and the tamping assembly (10) are parallel to each other and comprise a balance disc, and a mounting seat (201) is integrally arranged on one end face of the balance disc.
5. The ramming structure for channel replacement according to claim 4, wherein: and the other end surface of the balance disc, which is far away from the mounting seat (201), is symmetrically provided with guide blocks (203).
6. The ramming structure for channel replacement according to claim 5, wherein: the distance between the guide blocks (203) is greater than the length of the tamper assembly (10).
7. The ramming structure for channel replacement according to claim 1, wherein: the bearing assembly (50) comprises a first bearing disc (501), a second bearing disc (502), a third bearing disc (503) and a bearing guide rod (504), wherein the bearing guide rod (504) is connected between the first bearing disc (501) and the balance assembly (20), and the second bearing disc (502) and the third bearing disc (503) are respectively sleeved on the bearing guide rod (504) in a sliding manner.
8. The ramming structure for channel replacement according to claim 7, wherein: second bear dish (502) with be provided with connecting rod (505) between third bears dish (503), connecting rod (505) with bear guide bar (504) parallel arrangement, just connecting rod (505) fixed connection bear dish (502) on the second, with third bears dish (503) sliding connection, its tip is provided with anticreep cap (507).
9. The ramming structure for channel replacement according to claim 7, wherein: a first return spring (506) is sleeved on a bearing guide rod (504) positioned between the second bearing plate (502) and the third bearing plate (503).
10. The ramming structure for channel replacement according to claim 1, wherein: the buffering assembly (30) is a buffering spring (301) which is sleeved on the tamping rod (102) and is positioned between the mounting seat (201) and the third bearing plate (503).
CN202022273854.0U 2020-10-13 2020-10-13 A compacted structure for channel replacement Expired - Fee Related CN213897076U (en)

Priority Applications (1)

Application Number Priority Date Filing Date Title
CN202022273854.0U CN213897076U (en) 2020-10-13 2020-10-13 A compacted structure for channel replacement

Applications Claiming Priority (1)

Application Number Priority Date Filing Date Title
CN202022273854.0U CN213897076U (en) 2020-10-13 2020-10-13 A compacted structure for channel replacement

Publications (1)

Publication Number Publication Date
CN213897076U true CN213897076U (en) 2021-08-06

Family

ID=77112817

Family Applications (1)

Application Number Title Priority Date Filing Date
CN202022273854.0U Expired - Fee Related CN213897076U (en) 2020-10-13 2020-10-13 A compacted structure for channel replacement

Country Status (1)

Country Link
CN (1) CN213897076U (en)

Cited By (1)

* Cited by examiner, † Cited by third party
Publication number Priority date Publication date Assignee Title
CN114606926A (en) * 2022-03-18 2022-06-10 广州忆海网络科技有限公司 Ground leveling and tamping equipment for foundation piles driven in construction site

Cited By (2)

* Cited by examiner, † Cited by third party
Publication number Priority date Publication date Assignee Title
CN114606926A (en) * 2022-03-18 2022-06-10 广州忆海网络科技有限公司 Ground leveling and tamping equipment for foundation piles driven in construction site
CN114606926B (en) * 2022-03-18 2023-11-03 明达海洋工程有限公司 Construction site foundation pile driving ground leveling and tamping equipment

Similar Documents

Publication Publication Date Title
CN111101500B (en) A construction site rammer
CN213897076U (en) A compacted structure for channel replacement
CN111560942A (en) Rammed broken stone pier reinforcement structure supported by close-packed three-dimensional grids and construction method thereof
CN211713941U (en) Tamping equipment for foundation treatment
CN211713943U (en) Rammer compactor for base layer construction
CN118547555A (en) Highway engineering ramming device
CN220266598U (en) Slope compacting and filling structure
CN216379476U (en) A tamping unit for earthwork
CN220598397U (en) Foundation reinforcing device
CN212104009U (en) Hydraulic engineering construction is with foundation tamping unit who has stable structure
CN215252146U (en) A high-efficiency leveling machine for highway pavement
CN215051836U (en) Tamping device for earthwork engineering
CN116479857A (en) Small-size foundation construction tamps leveling device
CN212506215U (en) An integrated equipment for foundation pouring and compaction
CN221297817U (en) Compaction equipment for building engineering
CN211472466U (en) Tamping device for building construction
CN222631990U (en) Afforestation road surface lays ramming structure
CN221421895U (en) A foundation compacting device for civil engineering
CN208136894U (en) A kind of multi-functional electric pick head and its manufactured tamping unit
CN222557714U (en) A device for improving the compaction of roadbed and inspection well edge
CN206902686U (en) A kind of dynamic compaction machinery of soil-stone embankment
CN113152217A (en) A pavement compaction device that can change the force intensity for civil engineering construction
CN222878676U (en) Building foundation ramming device
CN219808661U (en) Leveling equipment for terrace
CN219219184U (en) Round vibrating rammer for mini-excavator

Legal Events

Date Code Title Description
GR01 Patent grant
GR01 Patent grant
CF01 Termination of patent right due to non-payment of annual fee
CF01 Termination of patent right due to non-payment of annual fee

Granted publication date: 20210806