CN213890941U - A kind of forming machine for power cord connector - Google Patents

A kind of forming machine for power cord connector Download PDF

Info

Publication number
CN213890941U
CN213890941U CN202022946569.0U CN202022946569U CN213890941U CN 213890941 U CN213890941 U CN 213890941U CN 202022946569 U CN202022946569 U CN 202022946569U CN 213890941 U CN213890941 U CN 213890941U
Authority
CN
China
Prior art keywords
shield
power cord
support frame
forming machine
plate
Prior art date
Legal status (The legal status is an assumption and is not a legal conclusion. Google has not performed a legal analysis and makes no representation as to the accuracy of the status listed.)
Expired - Fee Related
Application number
CN202022946569.0U
Other languages
Chinese (zh)
Inventor
蓝永金
文模权
Current Assignee (The listed assignees may be inaccurate. Google has not performed a legal analysis and makes no representation or warranty as to the accuracy of the list.)
Xiamen Nengcheng Electronic Technology Co ltd
Original Assignee
Xiamen Nengcheng Electronic Technology Co ltd
Priority date (The priority date is an assumption and is not a legal conclusion. Google has not performed a legal analysis and makes no representation as to the accuracy of the date listed.)
Filing date
Publication date
Application filed by Xiamen Nengcheng Electronic Technology Co ltd filed Critical Xiamen Nengcheng Electronic Technology Co ltd
Priority to CN202022946569.0U priority Critical patent/CN213890941U/en
Application granted granted Critical
Publication of CN213890941U publication Critical patent/CN213890941U/en
Expired - Fee Related legal-status Critical Current
Anticipated expiration legal-status Critical

Links

Images

Landscapes

  • Injection Moulding Of Plastics Or The Like (AREA)

Abstract

本申请涉及一种电源线接头用成型机,涉及电源线生产的技术领域,其包括机架、升降台、射出成型机构和料筒,所述机架上设置有注塑模具,其特征在于:还包括护罩,所述护罩设置于升降台靠近工作人员的一侧上,所述护罩竖直设置,所述护罩的竖直侧边均朝向远离工作人员的方向弯折设置。本申请具有避免电源线接头用成型机工作时,热气会直接作用在工作人员身上的效果。

Figure 202022946569

The present application relates to a molding machine for power cord connectors, and relates to the technical field of power cord production. It includes a frame, a lifting table, an injection molding mechanism and a barrel. An injection mold is provided on the frame, and is characterized in that: It includes a shield, the shield is arranged on the side of the lifting platform close to the worker, the shield is vertically arranged, and the vertical sides of the shield are bent and arranged in the direction away from the worker. The present application has the effect of preventing the hot air from directly acting on the staff when the power cord connector is working with the molding machine.

Figure 202022946569

Description

Forming machine for power line connector
Technical Field
The application relates to the technical field of power cord production, in particular to power cord connector forming equipment.
Background
The power line is a wire that transmits current. The usual way of current transfer is point-to-point transfer. The power line can be divided into an AC power line and a DC power line according to the purpose, in the related technology, the power line mainly comprises a copper wire, a metal joint, a sheath and a joint plastic-coated layer, the metal joint is arranged at the end part of the copper wire and used for connecting an electric appliance, the sheath is coated on the outer wall of the copper wire, the joint plastic-coated layer is coated on the outer wall of the metal joint, and the joint plastic-coated layer can form a complete power line joint after being coated on the metal joint.
In the related technology, a metal joint is welded with a copper wire, a sheath is molded by a plastic-coated extrusion mode, the joint is coated with plastic and needs to be molded by a molding machine for a power line joint after the sheath is molded, the molding machine generally adopts a plastic injection molding machine and mainly comprises a rack, a lifting platform, an injection molding mechanism and a material cylinder, a molding die needs to be arranged on the rack, the lifting platform is used for controlling the injection molding mechanism to lift up and down during working, so that the injection molding mechanism can be in butt joint with the die, and the material cylinder is arranged on the lifting platform and used for automatically feeding the injection molding machine.
In view of the above-mentioned related arts, the inventor of the present invention has recognized that, for general injection molding effect, the injection molding mechanism generally adopts thermoplastic molding, and emits a large amount of hot air during operation, and the hot air directly acts on the worker who operates the molding machine for power line connectors, causing the face of the worker to be dried and dehydrated quickly, causing discomfort to the worker, and thus needs to be improved.
Disclosure of Invention
In order to solve the problem that hot air can directly act on the body of a worker when a forming machine for a power line connector works, the application provides the forming machine for the power line connector.
The application provides a make-up machine for power cord connects adopts following technical scheme:
the utility model provides a power cord connects uses make-up machine, includes frame, elevating platform, jets out forming mechanism and feed cylinder, be provided with injection mold in the frame, still include the guard shield, the guard shield sets up on one side that the elevating platform is close to the staff, the vertical setting of guard shield, the vertical side of guard shield all is towards the direction setting of buckling of keeping away from the staff.
Through adopting above-mentioned technical scheme, utilize the frame to play the supporting effect, utilize the elevating platform to control ejection forming mechanism and feed cylinder synchronous lift, thereby make ejection forming mechanism can cooperate in order to reach the effect of moulding the package to the metal joint with the mould, utilize the guard shield can play the effect of stopping, the direct effect of using staff face of steam that produces when preventing ejection forming mechanism hot melt raw materials, thereby improve staff's work comfort level, buckle the setting through the both ends with the guard shield and can play the effect of leading hot gas flow direction, avoid steam direct flow to the both sides of frame on.
Optionally, a first support frame is arranged on the lifting platform, one side, close to the lifting platform, of the protective cover is attached to the first support frame, and the protective cover is connected with the first support frame in a bolt and nut clamping mode.
Through adopting above-mentioned technical scheme, the mode that utilizes bolt and nut's clamp to fix first support frame and guard shield as an organic whole, can reach the effect of dismantling connection guard shield and elevating platform, the guard shield of being convenient for is taken out and is installed.
Optionally, an adjusting groove is formed in the first support frame, the adjusting groove is vertically arranged, and a bolt for locking the shield penetrates through the adjusting groove.
Through adopting above-mentioned technical scheme, utilize the cooperation between adjustment tank and the bolt, can reach the effect of adjustment guard shield actual mounting height to make the clearance between the lower extreme of guard shield and the frame adjustable, the staff of the difference of being convenient for installs metal joint to the mould in.
Optionally, a curtain is arranged at the lower end of the shield, the curtain comprises a plurality of transparent silicon rubber sheets, each transparent silicon rubber sheet is vertically arranged, and the transparent silicon rubber sheets are arranged along the length direction of the lower side of the shield.
Through adopting above-mentioned technical scheme, utilize the silica gel piece can play the effect of sheltering from the clearance between guard shield lower extreme and the frame upper surface to the steam that produces when making the hot melt raw materials of injection moulding mechanism can directly not discharge from clearance department between guard shield lower extreme and the support upper surface.
Optionally, a handle is arranged on one side face, away from the lifting platform, of the protective cover, the handle is provided with two pieces, and the two handles are respectively arranged on two sides, bent towards the direction of the lifting platform, of the protective cover.
Through adopting above-mentioned technical scheme, utilize the cooperation between handle and the guard shield, the staff of being convenient for lifts the guard shield.
Optionally, the shield includes an upper plate, a lower plate, side plates and a connecting plate, the upper plate and the lower plate are fixed on the upper side and the lower side of the connecting plate by using a bolt locking manner, the side plates are provided with two pieces, and the two side plates are respectively fixed on the two ends of the connecting plate by using a bolt locking manner.
Through adopting above-mentioned technical scheme, through mainly falling into upper plate, hypoplastron and curb plate with the guard shield for the guard shield need not to choose for use great panel when production, and it is more convenient to draw materials, utilizes the connecting plate can play the effect of connecting upper plate, hypoplastron and curb plate, thereby reaches the effect that utilizes the little panel to constitute the bigger guard shield of area.
Optionally, be provided with the second support frame on the elevating platform, be provided with the joint groove on the second support frame, the vertical setting in joint groove, just the upper end in joint groove communicates with each other with the up end of second support frame, the guard shield is provided with the joint piece that slides the joint in the joint groove on being close to one side of elevating platform.
Through adopting above-mentioned technical scheme, utilize the second support frame that is provided with the joint groove and set up the cooperation between the joint piece on the guard shield for the guard shield can with elevating platform quick assembly disassembly, and, when the elevating platform descends to the lower position, the lower extreme of guard shield can support in the frame, and at this moment, the elevating platform can continue to descend, and the guard shield can not take place to interfere with the frame.
Optionally, the clamping block includes a connecting block and a fastening bolt, the connecting block is arranged in a shape like a letter "T" when overlooking, the fastening bolt is inserted into the protective cover and is in threaded connection with the connecting block, and a nut of the fastening bolt is located on one side of the protective cover away from the lifting platform.
Through adopting above-mentioned technical scheme, utilize fastening bolt can fix connecting block locking on the guard shield, realize being connected between joint piece and the guard shield.
In summary, the present application includes at least one of the following beneficial technical effects:
the hot air generated when the forming machine for the power line connector works can be prevented from directly acting on the body of a worker, and the discomfort of the worker is effectively reduced;
the power line connector can play a role in informing the flowing direction of hot air generated by a forming machine, so that overhigh temperature near a worker is avoided;
the structure is simple, the implementation is convenient, the forming machine can be additionally arranged on the existing forming machine for the power line connector, and the implementation cost is effectively reduced.
Drawings
Fig. 1 is a front view of a molding machine for a power cord connector according to a first embodiment of the present application;
FIG. 2 is a front view of the lift table and the injection molding mechanism of the first embodiment of the present application;
FIG. 3 is a front view of the shroud of the first embodiment of the present application;
fig. 4 is an exploded view of the shield of the first embodiment of the present application;
FIG. 5 is a schematic view of the installation of the shield according to the first embodiment of the present application;
FIG. 6 is an enlarged partial schematic view of A of FIG. 5;
FIG. 7 is a schematic view of the installation of the shield according to the second embodiment of the present application;
fig. 8 is a partially enlarged schematic view B of fig. 7.
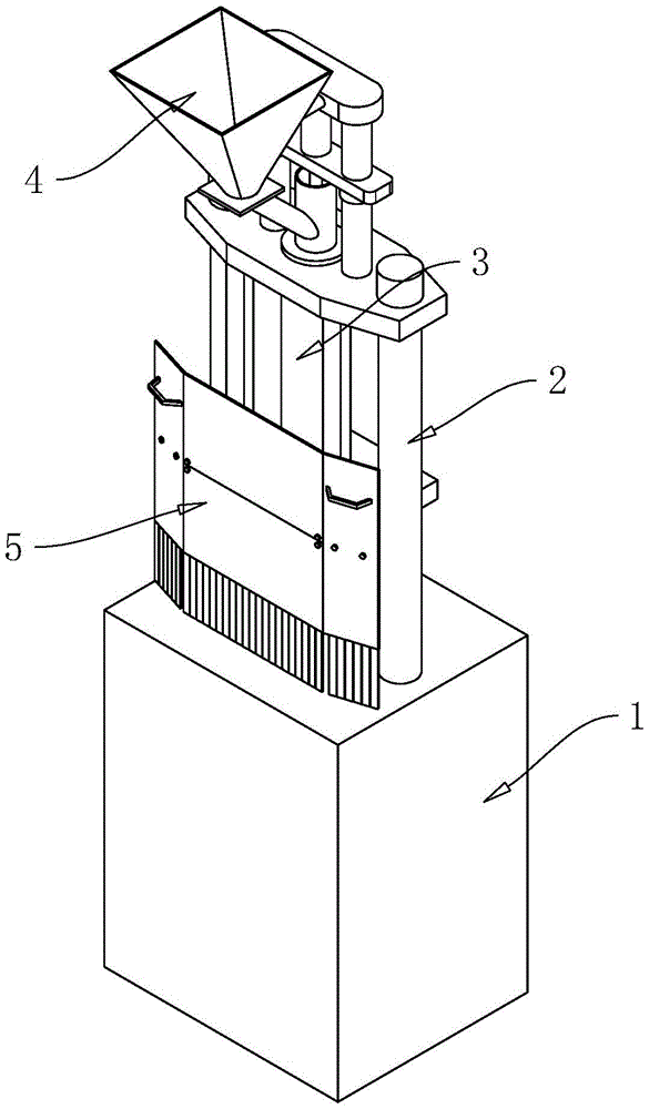
Reference numerals: 1. a frame; 2. a lifting platform; 21. a guide post; 22. an upper support plate; 23. a connecting rod; 24. a lower support plate; 3. an injection molding mechanism; 4. a charging barrel; 41. a shooting barrel; 42. heating the sleeve; 43. an extrusion assembly; 5. a shield; 51. curtain; 511. a transparent silicone sheet; 52. an upper plate; 53. a lower plate; 54. a side plate; 55. a connecting plate; 56. a handle; 57. a clamping block; 571. connecting blocks; 572. fastening a bolt; 6. a first support frame; 61. an adjustment groove; 7. a second support frame; 71. a clamping groove.
Detailed Description
The present application is described in further detail below with reference to figures 1-8.
Example 1:
the embodiment of the application discloses a forming machine for a power line connector, and referring to fig. 1, the forming machine for the power line connector comprises a frame 1, a lifting table 2, an injection forming mechanism 3, a charging barrel 4 and a shield 5; wherein, be provided with injection mold on frame 1, elevating platform 2 is used for controlling injection moulding mechanism 3 and injection mold cooperation, and feed cylinder 4 is used for giving injection moulding mechanism 3 automatic feed, and guard shield 5 is used for preventing that the steam that injection moulding mechanism 3 during operation produced from directly acting on the staff, and this guard shield 5 is made by transparent plastic plate.
Referring to fig. 2, the lifting platform 2 includes two guide posts 21, an upper support plate 22 and a lifting mechanism (not shown in the figure), the two guide posts 21 are respectively vertically arranged on two sides of the frame 1, the two guide posts 21 are inserted into the frame 1, two ends of the upper support plate 22 are respectively connected with upper ends of the two guide posts 21, the lifting mechanism is arranged in the frame 1 and connected with lower ends of the two guide posts 21, and the lifting mechanism is driven by a hydraulic cylinder to be used for pushing the guide posts 21 to lift; the upper end of the injection molding mechanism 3 is mounted on the upper support plate 22.
Referring to fig. 3, the injection molding mechanism 3 includes a shooting pot 41, a barrel 4, a heating sleeve 42 and an extrusion assembly 43, the upper end of the barrel 4 of the shooting pot 41 is fixed on the upper support plate 22, the upper end side wall of the barrel 4 of the shooting pot 41 is communicated with the discharge port of the barrel 4, the heating sleeve 42 is installed on the lower end of the barrel 4 of the shooting pot 41 for heating the barrel 4 of the shooting pot 41, and the extrusion assembly 43 is arranged on the upper end of the barrel 4 of the shooting pot 41 for pressing the raw material in the barrel 4 of the shooting pot 41, so as to achieve the effect of extruding the molten raw material in the barrel 4 of the shooting pot 41 from the lower end outlet of the barrel 4 of the shooting pot 41; wherein the extrusion assembly 43 is configured as a hydraulic cylinder extrusion structure or a screw extrusion structure.
The device comprises a rack 1, a plurality of connecting rods 23, an upper support plate 22, a lower support plate 24, a material injection barrel 41, a material injection barrel 4, a material injection barrel 41, a material injection barrel 4 and a material injection barrel, wherein the rack 1 is provided with the connecting rods 23, the upper ends of the connecting rods 23 are connected with the upper support plate 22, the lower support plate 24 is also arranged on the rack 1, the lower ends of the connecting rods 23 are connected with the lower support plate 24, and the lower support plate 24 is connected with the lower end of the material injection barrel 41; wherein the shield 5 is mounted on the lower support plate 24.
Referring to fig. 3 and 4, the shield 5 includes an upper plate 52, a lower plate 53, a side plate 54, a connecting plate 55 and a handle 56, wherein both ends of the connecting plate 55 are bent toward the direction of the guide post 21; wherein, upper plate 52 is provided with a slice, and the lower extreme of upper plate 52 utilizes the upper side of bolt and nut clamp fixed mode and connecting plate 55 to dismantle and be connected, hypoplastron 53 is provided with a slice, and the upper end of this piece hypoplastron 53 utilizes the bolt and nut clamp fixed mode and to dismantle with the downside of connecting plate 55 and be connected, curb plate 54 is provided with two, and two curb plate 54 panels all utilize the bolt and nut clamp fixed mode respectively with the both ends of connecting plate 55 setting of buckling to dismantle and be connected, handle 56 is provided with two, two handles 56 set up respectively on the side that guide post 21 was kept away from to two curb plates 54.
Wherein, the lower end of the shield 5 is also provided with a curtain 51, the curtain 51 comprises a plurality of transparent silicon sheets 511 which are vertically arranged, and the transparent silicon sheets 511 are arranged along the length direction of the lower side of the shield 5; when the lower support plate 24 moves to a lower position, the lower end of the curtain 51 abuts against the surface of the rack 1, and at this time, the lower support continues to move downward, so that the curtain 51 formed by the transparent silicone sheet 511 changes in flexibility, thereby preventing the lower end of the shield 5 from directly interfering with the rack 1.
When the shield 5 needs to be assembled, the upper plate 52, the lower plate 53 and the side plates 54 are only required to be sequentially mounted on the connecting plate 55 by using bolts and nuts, and at this time, the upper plate 52 and the lower plate 53 are both positioned between the two side plates 54.
Referring to fig. 5 and 6, a first support frame 6 is arranged on one side of the lower support plate 24 close to the worker, the cross section of the first support frame 6 is arranged in an L shape, one side edge of the first support frame 6 which is horizontally arranged is fixed on the lower support plate 24, and one side edge of the first support frame 6 which is vertically arranged is overlapped with one side surface of the lower support plate 24 close to the worker; wherein, be provided with a plurality of regulation grooves 61 of arranging along 6 length direction of first support frame on a side of the vertical setting of first support frame 6, each is said the equal vertical setting of regulation groove 61, it has a plurality of bolts to peg graft on guard shield 5, each regulation groove 61 is worn to establish respectively by the bolt body of each bolt, and equal threaded connection has the nut on the bolt body that each bolt wore to establish regulation groove 61, utilize the bolt, cooperation between nut and the regulation groove 61, can install guard shield 5 detachable on first support frame 6, make guard shield 5 can adjust the height according to actual need simultaneously.
The implementation principle of the embodiment 1 is as follows:
when the power cord connects with make-up machine during operation, the power cord connects and produces a large amount of heats with the make-up machine opportunity, take place the air current in the air and flow, this air current can form steam with the heat mixture, blow out when steam towards the staff first half, utilize guard shield 5 can play the effect of interception steam, thereby avoid the staff directly to receive the steam influence, and, when the hot air blows guard shield 5, steam can be along the reverse flow of buckling of guard shield 5 both sides, thereby avoid steam directly from blowing the staff both sides.
Example 2:
referring to fig. 7 and 8, the difference between this embodiment and embodiment 1 is that a second support frame 7 is disposed on the lower support platform, the cross section of the second support frame 7 is in an "L" shape, one side of the second support frame 7, which is horizontally disposed, is fixed on the lower support plate 24, and one side of the second support frame 7, which is vertically disposed, coincides with one side of the lower support plate 24, which is close to the worker; wherein, a plurality of clamping grooves 71 arranged along the length direction of the second support frame 7 are arranged on one side edge of the vertical arrangement of the second support frame 7, each clamping groove 71 is vertically arranged, the upper end of each clamping groove 71 is communicated with the upper end face of the second support frame 7, a plurality of clamping blocks 57 with cross sections in T-shaped arrangement are arranged on one side of the shield 5 close to the second support frame 7, and each clamping block 57 is respectively clamped with each clamping groove 71 in a sliding manner.
Referring to fig. 8, the clamping block 57 includes a connecting block 571 and a fastening bolt 572, and the cross section of the connecting block 571 is in a "T" shape; specifically, the connecting block 571 is attached to the shield 5, the fastening bolt 572 is inserted into the shield 5, and the bolt body of the fastening bolt 572 is in threaded connection with the connecting block 571, at this time, the nut of the fastening bolt 572 is in clamping connection with one side face of the shield 5 away from the connecting block 571.
Among them, it should be noted that, in the present embodiment, the lower end of the shield 5 is not required to be provided with the curtain 51 to prevent the shield 5 from making hard interference with the rack 1.
The implementation principle of the embodiment 2 is as follows:
when backup pad 24 moves down, lower backup pad 24 moves down can be followed to guard shield 5, takes place the butt until the lower extreme of guard shield 5 and frame 1, and at this moment, if lower backup pad 24 continues to move down, utilize the joint relation of sliding between joint piece 57 and the joint groove 71, guard shield 5 can remain motionless to make guard shield 5 can not take place hard with frame 1 and interfere, ensure guard shield 5's safety in utilization.
The above embodiments are preferred embodiments of the present application, and the protection scope of the present application is not limited by the above embodiments, so: all equivalent changes made according to the structure, shape and principle of the present application shall be covered by the protection scope of the present application.

Claims (8)

1.一种电源线接头用成型机,包括机架(1)、升降台(2)、射出成型机构(3)和料筒(4),所述机架(1)上设置有注塑模具,其特征在于:还包括护罩(5),所述护罩(5)设置于升降台(2)靠近工作人员的一侧上,所述护罩(5)竖直设置,所述护罩(5)的竖直侧边均朝向远离工作人员的方向弯折设置。1. A molding machine for a power cord connector, comprising a frame (1), a lift table (2), an injection molding mechanism (3) and a barrel (4), wherein an injection mold is provided on the frame (1), It is characterized in that: it further comprises a protective cover (5), the protective cover (5) is arranged on the side of the lifting platform (2) close to the worker, the protective cover (5) is arranged vertically, and the protective cover (5) is arranged vertically. 5) The vertical sides are bent away from the staff. 2.根据权利要求1所述的一种电源线接头用成型机,其特征在于:所述升降台(2)上设置有第一支撑架(6),所述护罩(5)靠近升降台(2)的一侧与第一支撑架(6)贴合,所述护罩(5)利用螺栓螺母夹紧的方式与第一支撑架(6)连接。2. A power cord connector forming machine according to claim 1, characterized in that: a first support frame (6) is provided on the lift table (2), and the shield (5) is close to the lift table One side of (2) is fitted with the first support frame (6), and the shield (5) is connected to the first support frame (6) by clamping with bolts and nuts. 3.根据权利要求2所述的一种电源线接头用成型机,其特征在于:所述第一支撑架(6)上设置有调节槽(61),所述调节槽(61)竖直设置,用于锁付护罩(5)的螺栓穿设过调节槽(61)。3 . The forming machine for a power cord connector according to claim 2 , wherein: the first support frame ( 6 ) is provided with an adjustment groove ( 61 ), and the adjustment groove ( 61 ) is vertically arranged. 4 . , the bolts used to lock the guard (5) pass through the adjustment slot (61). 4.根据权利要求1所述的一种电源线接头用成型机,其特征在于:所述护罩(5)的下端设置有帘幕(51),所述帘幕(51)包括若干片透明硅胶片(511),各所述透明硅胶片(511)竖直设置,且各所述透明硅胶片(511)沿护罩(5)的下侧边长度方向排布。4. A power cord connector forming machine according to claim 1, characterized in that: the lower end of the shield (5) is provided with a curtain (51), and the curtain (51) comprises a plurality of transparent Silicone sheets (511), each of the transparent silicone sheets (511) is arranged vertically, and each of the transparent silicone sheets (511) is arranged along the length direction of the lower side of the shield (5). 5.根据权利要求1所述的一种电源线接头用成型机,其特征在于:所述护罩(5)远离升降台(2)的一侧面上设置有把手(56),所述把手(56)设置有两件,两所述把手(56)分别设置有护罩(5)朝向升降台(2)方向弯折的两侧上。5. A power cord connector forming machine according to claim 1, characterized in that: a handle (56) is provided on one side of the shield (5) away from the lifting platform (2), and the handle ( 56) Two pieces are provided, and the two handles (56) are respectively provided with two sides of the protective cover (5) bent toward the direction of the lifting platform (2). 6.根据权利要求1所述的一种电源线接头用成型机,其特征在于:所述护罩(5)包括上板(52)、下板(53)、侧板(54)和连接板(55),所述上板(52)和下板(53)之间利用螺栓锁付的方式固定在连接板(55)的上下两侧上,所述侧板(54)设置有两片,两所述侧板(54)利用螺栓锁付的方式分别固定于连接板(55)的两端上。6. A power cord connector forming machine according to claim 1, wherein the shield (5) comprises an upper plate (52), a lower plate (53), a side plate (54) and a connecting plate (55), the upper plate (52) and the lower plate (53) are fixed on the upper and lower sides of the connecting plate (55) by means of bolt locking, and the side plate (54) is provided with two pieces, The two side plates (54) are respectively fixed on both ends of the connecting plate (55) by means of bolt locking. 7.根据权利要求1所述的一种电源线接头用成型机,其特征在于:所述升降台(2)上设置有第二支撑架(7),所述第二支撑架(7)上设置有卡接槽(71),所述卡接槽(71)竖直设置,且所述卡接槽(71)的上端与第二支撑架(7)的上端面相通,所述护罩(5)靠近升降台(2)的一侧上设置有于卡接槽(71)滑移卡接的卡接块(57)。7 . The forming machine for a power cord connector according to claim 1 , wherein a second support frame ( 7 ) is provided on the lifting platform ( 2 ), and the second support frame ( 7 ) is arranged on the second support frame ( 7 ). 8 . A snap-fit slot (71) is provided, the snap-fit slot (71) is vertically arranged, and the upper end of the snap-fit slot (71) communicates with the upper end surface of the second support frame (7). 5) A clamping block (57) for sliding and clamping in the clamping groove (71) is arranged on the side close to the lifting platform (2). 8.根据权利要求7所述的一种电源线接头用成型机,其特征在于:所述卡接块(57)包括连接块(571)和紧固螺栓(572),所述连接块(571)的俯视呈“T”字形状设置,所述紧固螺栓(572)插接在护罩(5)上且与连接块(571)螺纹连接,所述紧固螺栓(572)的螺母位于护罩(5)远离升降台(2)的一侧上。8 . The forming machine for a power cord connector according to claim 7 , wherein the clamping block ( 57 ) comprises a connecting block ( 571 ) and a fastening bolt ( 572 ), and the connecting block ( 571 ) ) is arranged in a "T" shape in plan view, the fastening bolts (572) are inserted on the shield (5) and are threadedly connected with the connecting block (571), and the nuts of the fastening bolts (572) are located in the protective cover (572). The cover (5) is on the side away from the lift table (2).
CN202022946569.0U 2020-12-08 2020-12-08 A kind of forming machine for power cord connector Expired - Fee Related CN213890941U (en)

Priority Applications (1)

Application Number Priority Date Filing Date Title
CN202022946569.0U CN213890941U (en) 2020-12-08 2020-12-08 A kind of forming machine for power cord connector

Applications Claiming Priority (1)

Application Number Priority Date Filing Date Title
CN202022946569.0U CN213890941U (en) 2020-12-08 2020-12-08 A kind of forming machine for power cord connector

Publications (1)

Publication Number Publication Date
CN213890941U true CN213890941U (en) 2021-08-06

Family

ID=77102023

Family Applications (1)

Application Number Title Priority Date Filing Date
CN202022946569.0U Expired - Fee Related CN213890941U (en) 2020-12-08 2020-12-08 A kind of forming machine for power cord connector

Country Status (1)

Country Link
CN (1) CN213890941U (en)

Similar Documents

Publication Publication Date Title
CN213890941U (en) A kind of forming machine for power cord connector
CN210361733U (en) Hot press is used in ecological plate production
CN210211042U (en) Rubber flat vulcanizing machine
CN212312745U (en) A shoe upper thermoforming machine
CN201095177Y (en) Plastic product forming machine
CN222607584U (en) Aluminum flat tube production extrusion equipment
CN217499064U (en) Novel photovoltaic tile glass forming die
CN219191262U (en) Laminating device is used in cap production
CN218462723U (en) Baking equipment of PVDC plastic wrap production
CN208881212U (en) A kind of plastic honeycomb board edge sealing equipment
KR102524894B1 (en) apparatus for cutting extrusion formed product of plastic
CN211984105U (en) Vamp modular system
CN212127959U (en) Forming die is used in toughened glass board production
CN219883095U (en) Full-automatic friction brake block hot-press forming machine
CN211868406U (en) Forming mechanism of inferior gram force board
CN211105708U (en) Hot melting device
CN216139311U (en) Injection molding device for electric appliance shell production line
CN215589728U (en) Pipe wire surface heating drying tunnel
CN223186842U (en) Glass fiber composite material forming machine
CN217225966U (en) Refractory material forming device with temperature control function
CN207077785U (en) A kind of guider for heating compounding machine
CN223252299U (en) Lifting type extrusion molding machine
CN212979168U (en) Plastic extruder convenient to dismantle maintenance
CN222891538U (en) Automatic flat vulcanizing machine for cable material production
CN217370108U (en) Thermal forming die

Legal Events

Date Code Title Description
GR01 Patent grant
GR01 Patent grant
CF01 Termination of patent right due to non-payment of annual fee
CF01 Termination of patent right due to non-payment of annual fee

Granted publication date: 20210806