CN213872958U - An energy-saving air-conditioning unit with rotary dehumidification - Google Patents

An energy-saving air-conditioning unit with rotary dehumidification Download PDF

Info

Publication number
CN213872958U
CN213872958U CN202022969595.5U CN202022969595U CN213872958U CN 213872958 U CN213872958 U CN 213872958U CN 202022969595 U CN202022969595 U CN 202022969595U CN 213872958 U CN213872958 U CN 213872958U
Authority
CN
China
Prior art keywords
section
air
dehumidification
runner
surface cooling
Prior art date
Legal status (The legal status is an assumption and is not a legal conclusion. Google has not performed a legal analysis and makes no representation as to the accuracy of the status listed.)
Active
Application number
CN202022969595.5U
Other languages
Chinese (zh)
Inventor
毛海军
Current Assignee (The listed assignees may be inaccurate. Google has not performed a legal analysis and makes no representation or warranty as to the accuracy of the list.)
Elco Engineering Technology Co ltd
Original Assignee
Elko Construction Engineering Jiangsu Co ltd
Priority date (The priority date is an assumption and is not a legal conclusion. Google has not performed a legal analysis and makes no representation as to the accuracy of the date listed.)
Filing date
Publication date
Application filed by Elko Construction Engineering Jiangsu Co ltd filed Critical Elko Construction Engineering Jiangsu Co ltd
Priority to CN202022969595.5U priority Critical patent/CN213872958U/en
Application granted granted Critical
Publication of CN213872958U publication Critical patent/CN213872958U/en
Active legal-status Critical Current
Anticipated expiration legal-status Critical

Links

Images

Landscapes

  • Drying Of Gases (AREA)

Abstract

为了解决锂电池的生产环境要求车间环境干燥度需要实现露点温度‑50℃的要求,为实现超低露点环境的要求,本实用新型提出一种节能带转轮除湿的空调机组,通过将新风经过一次表冷除湿,再经过一次转轮除湿,跟回风混合后再经过二次表冷降温,然后抽取部分送风用于二次转轮除湿的再生风,将转轮吸附的水汽通过再生风有效带走,经过二次转轮吸附水分后的再生风,其干燥程度仍远低于普通的室外空气,所以可以将经过二次转轮的再生风再经过一次转轮,带走一次转轮吸附的水分,该空调机组同时满足高露点和超低露点两种生产环境要求,提供不同的除湿模式,从而节约了能源,同步解决了再生风的干燥除湿问题。

Figure 202022969595

In order to meet the requirements of the production environment of lithium batteries, the dryness of the workshop environment needs to achieve a dew point temperature of ‑50°C, and in order to achieve the requirements of an ultra-low dew point environment, the utility model proposes an energy-saving air conditioning unit with rotary dehumidification. A surface cooling dehumidification, then a runner dehumidification, mixed with the return air, and then a secondary surface cooling to cool down, and then part of the supply air is extracted for the regeneration air used for the second runner dehumidification, and the water vapor absorbed by the runner is passed through the regeneration air. Effectively take away the regenerative air after the secondary runner absorbs moisture, and its dryness is still much lower than that of ordinary outdoor air, so the regenerative air that has passed through the secondary runner can be passed through the runner again to take away the primary runner. Absorbed moisture, the air conditioning unit meets both high dew point and ultra-low dew point production environment requirements, provides different dehumidification modes, thus saving energy and simultaneously solving the problem of drying and dehumidification of regenerative air.

Figure 202022969595

Description

Energy-saving air conditioning unit with rotating wheel dehumidification function
Technical Field
The utility model relates to an air conditioner technical field, it is comparatively concrete, involve an energy-conserving air conditioning unit who takes runner dehumidification.
Background
The common methods for removing moisture in humid air in the existing air conditioner are as follows: cooling dehumidification, liquid absorbent dehumidification, solid adsorbent dehumidification, rotating wheel dehumidification, membrane dehumidification, and the like; the air conditioning unit with the rotary wheel dehumidification function can enable indoor temperature and humidity to reach high control precision, but the existing air conditioning unit with the rotary wheel dehumidification function is unreasonable in design and low in energy utilization rate.
The common outdoor air is used as the regeneration air for dehumidification of the common rotating wheel, and because the dew point temperature of a plurality of environments is-50 ℃, the common outdoor air can not effectively take away the moisture adsorbed on the rotating wheel, and the moisture on the rotating wheel can be effectively taken away only by relatively drier air, so that how to obtain the drier air becomes the problem to be solved at present.
SUMMERY OF THE UTILITY MODEL
In view of the above, in order to solve the problems that the production environment of lithium batteries requires that the dryness of the workshop environment needs to meet the requirement of the dew point temperature of-50 ℃, and the requirement of the ultralow dew point environment is met, the utility model provides an energy-saving air conditioning unit with rotating wheel dehumidification, which dehumidifies fresh air through primary surface cooling, dehumidifies the fresh air through primary rotating wheel, cools the fresh air through secondary surface cooling after mixing with return air, extracts part of regenerated air for secondary rotating wheel dehumidification, effectively takes away the water vapor adsorbed by the rotating wheel through the regenerated air, and the dryness of the regenerated air after the moisture is adsorbed by the secondary rotating wheel is still far lower than that of common outdoor air, so that the regenerated air passing through the secondary rotating wheel passes through the primary rotating wheel, takes away the moisture adsorbed by the primary rotating wheel, and the air conditioning unit meets the requirements of the high dew point and ultralow dew point production environments simultaneously, and provides different dehumidification modes, thereby saving energy and synchronously solving the drying and dehumidifying problems of the regenerated wind.
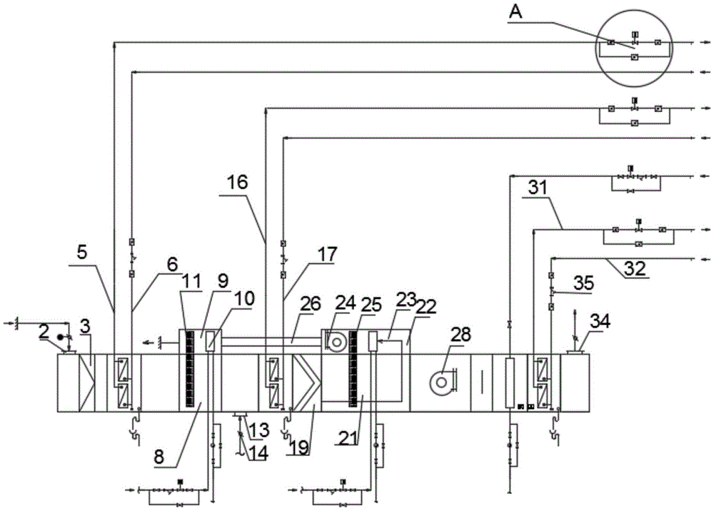
The utility model provides an energy-conserving air conditioning unit who takes runner dehumidification, includes from left to right in proper order new trend section 1, preceding table cold section 4, one-level runner dehumidification section 7, return air section 12, well table cold section 15, well effect filter segment 18, second grade runner dehumidification section 20, fan section 27, back heating section 29, back table cold section 30 and air supply section 33, one-level runner dehumidification section 7 has one-level processing district 8 and one-level regeneration zone 9, second grade runner dehumidification section 20 has second grade processing district 21 and second grade regeneration zone 22, its characterized in that: the air conditioning unit adopting the rotary wheel dehumidification technology comprises a first working condition and a second working condition, wherein in the first working condition, fresh air flow is divided into two parts after passing through a front surface cooling section 4, a primary rotary wheel dehumidification section 7 and a return air section 12, one part enters a room after passing through a primary treatment area 8, a middle surface cooling section 15, a middle effect filtering section 18, a secondary rotary wheel dehumidification section 20, a fan section 27, a rear heating section 29, a rear surface cooling section 30 and an air supply section 33, the other part is discharged outside the room after passing through a primary regeneration area 9, in the second working condition, fresh air flow is divided into two parts after passing through the front surface cooling section 4, the primary runner dehumidification section 7, the return air section 12, the middle surface cooling section 15, the middle effect filtering section 18 and the secondary runner dehumidification section 20, one part enters the room after passing through the secondary treatment section 21, the fan section 27, the rear heating section 29, the rear surface cooling section 30 and the air supply section 33, and the other part is conveyed to the primary regeneration section 9 through the secondary regeneration section 22 to dehumidify the primary regeneration section 9 and then is discharged out of the room.
Further, new trend section 1 is equipped with new trend entry 2 and primary filter 3, new trend air current passes through new trend entry 2 and gets into the air conditioning box, arrives preceding table cold section 4 after filtering through primary filter 3.
Further, preceding surface cooling section 4 includes first refrigerated water wet return 5 and first refrigerated water supply pipe 6, and well surface cooling section 15 includes second refrigerated water wet return 16 and second refrigerated water supply pipe 17, and back surface cooling section 30 includes third refrigerated water wet return 31 and third refrigerated water supply pipe 32, and the refrigerated water inlet temperature of first refrigerated water supply pipe 6, second refrigerated water supply pipe 17 and third refrigerated water supply pipe 32 is 7 ℃, and the refrigerated water leaving water temperature of first refrigerated water wet return 5, second refrigerated water wet return 16 and third refrigerated water wet return 31 is 12 ℃.
Furthermore, a vapor filter 35 is arranged on each of the first chilled water supply pipe 6, the second chilled water supply pipe 17 and the third chilled water supply pipe 32, an electric control valve 36 and an auxiliary branch 37 are arranged on each of the first chilled water return pipe 5, the second chilled water return pipe 16 and the third chilled water return pipe 31, two first manual valves 38 are arranged on the left and right of the electric control valve 36, the second manual valve 39 is located on the auxiliary branch 37, two ends of the auxiliary branch 37 surround the electric control valve 36 and the first manual valves 38, and when the electric control valve 36 fails, the first manual valve 38 is closed, the second manual valve 39 is opened for maintenance, and the normal operation of the air conditioning unit does not need to be stopped.
Further, one-level regeneration zone 9 includes first heating coil 10 and one-level runner regeneration position 11, one-level treatment zone 8 includes one-level runner treatment position, return air section 12 is equipped with return air inlet 13, return air inlet 13 connects the return air duct, be equipped with air regulation valve 14 on the return air duct, divide into two strands after the fresh air current after the one-level runner treatment position dehumidification treatment mixes with the return air current, one strand lets in first heating coil 10 and heats after entering one-level runner regeneration position 11 and carry out the drying to one-level runner regeneration position 11 outdoor, another strand gets into middle cooling section 15 and carries out processing on next step.
Furthermore, the temperature of the fresh air flow before mixing is 23 ℃, the flow rate is 0.15g/kg, the temperature of the fresh air flow after mixing is 27 ℃, and the flow rate is 0.45g/kg, so that the heating energy consumption of the first heating coil 10 is reduced.
Further, the intermediate-efficiency filter section 18 is provided with an intermediate-efficiency filter 19.
Further, second grade regeneration zone 22 includes second heating coil 23, first fan 24 and second grade runner regeneration position 25, second grade treatment zone 21 includes second grade runner treatment position, the new trend air current that gets into well cold section 15 filters the back through well effect filter 19 of well effect fillter section 18, send to second grade runner treatment position dehumidification, new trend air current divide into two strands afterwards, one strand lets in second heating coil 23 and heats the back and gets into second grade runner regeneration position 25 and arrange to discharge one-level runner dehumidification section 7 through first fan 24 after regenerating position 25 carries out the drying to second grade runner, another strand of new trend air current gets into fan section 27 and carries out processing on next step.
Further, the secondary regeneration area 22 is communicated with the primary regeneration area 9 through a regeneration air pipe 26, and fresh air flow discharged by the first fan 24 is sent to the primary regeneration area 9 through the regeneration air pipe 26.
Furthermore, the fan section 27 is provided with a second fan 28, the air supply section 33 is provided with an air supply outlet 34, the air supply outlet 34 is communicated with the indoor space, and the processed fresh air flow enters the indoor space after sequentially passing through the rear heating section 29, the rear surface cooling section 30 and the air supply section 33 through the second fan 28.
The utility model discloses a theory of operation: because the rotating wheel needs to circularly adsorb water vapor in air, the rotating wheel needs regenerated air to take away the water vapor on the cold surface of the rotating wheel, the water vapor on the surface of the rotating wheel material needs to be taken away, the relative humidity of the regenerated air needs to be very dry, the air generally needs to be heated to about 200 ℃, if the absolute moisture content is 0.02g/kg, the water vapor on the surface of the rotating wheel cannot be taken away even if the outdoor air is heated to 200 ℃, because the heated outdoor temperature cannot meet the relative drying condition, the fresh air flow introduced into the air supply of the secondary rotating wheel dehumidification section 20 is used in the secondary rotating wheel dehumidification section 20 and then used in the primary rotating wheel dehumidification section 7, the regenerated air after the water is adsorbed by the secondary rotating wheel has the drying degree far lower than that of the common outdoor air, so the regenerated air passing through the secondary rotating wheel can pass through the rotating wheel once again to take away the water adsorbed by the primary rotating wheel, the air conditioning unit meets the requirements of two production environments of high dew point and low dew point at the same time, and different dehumidification modes are provided, so that energy is saved, and the problem of drying and dehumidifying of regenerated air is synchronously solved.
Drawings
Fig. 1 is a system structure diagram of the energy-saving air conditioning unit with rotary dehumidification of the utility model.
Fig. 2 is a partial enlarged view of a of the energy-saving air conditioning unit with rotary dehumidification according to the present invention.
Fig. 3 is a front view of the energy-saving dehumidification air conditioning unit with rotating wheels.
Fig. 4 is a three-dimensional structure diagram of the energy-saving air conditioning unit with rotating wheel dehumidification of the utility model.
Description of the main elements
Figure BDA0002829199290000041
Figure BDA0002829199290000051
The following detailed description of the invention will be further described in conjunction with the above-identified drawings.
Detailed Description
As shown in fig. 1, it is a system structure diagram of the energy-saving air conditioning unit with rotary dehumidification of the present invention; as shown in fig. 2, a partial enlarged view of a of the energy-saving air conditioning unit with rotary dehumidification according to the present invention is shown; as shown in fig. 3, it is a front view of the energy-saving air conditioning unit with rotary dehumidification of the present invention; as shown in fig. 4, it is a three-dimensional structure diagram of the energy-saving air conditioning unit with rotary dehumidification according to the present invention.
The utility model provides an energy-conserving air conditioning unit who takes runner dehumidification, includes from left to right in proper order new trend section 1, preceding table cold section 4, one-level runner dehumidification section 7, return air section 12, well table cold section 15, well effect filter segment 18, second grade runner dehumidification section 20, fan section 27, back heating section 29, back table cold section 30 and air supply section 33, one-level runner dehumidification section 7 has one-level processing district 8 and one-level regeneration zone 9, second grade runner dehumidification section 20 has second grade processing district 21 and second grade regeneration zone 22, its characterized in that: the air conditioning unit adopting the rotary wheel dehumidification technology comprises a first working condition and a second working condition, wherein in the first working condition, fresh air flow is divided into two parts after passing through a front surface cooling section 4, a primary rotary wheel dehumidification section 7 and a return air section 12, one part enters a room after passing through a primary treatment area 8, a middle surface cooling section 15, a middle effect filtering section 18, a secondary rotary wheel dehumidification section 20, a fan section 27, a rear heating section 29, a rear surface cooling section 30 and an air supply section 33, the other part is discharged outside the room after passing through a primary regeneration area 9, in the second working condition, fresh air flow is divided into two parts after passing through the front surface cooling section 4, the primary runner dehumidification section 7, the return air section 12, the middle surface cooling section 15, the middle effect filtering section 18 and the secondary runner dehumidification section 20, one part enters the room after passing through the secondary treatment section 21, the fan section 27, the rear heating section 29, the rear surface cooling section 30 and the air supply section 33, and the other part is conveyed to the primary regeneration section 9 through the secondary regeneration section 22 to dehumidify the primary regeneration section 9 and then is discharged out of the room.
Fresh air section 1 is equipped with fresh air entry 2 and primary filter 3, fresh air flow passes through fresh air entry 2 and gets into the air conditioning box, and it reaches preceding table cold section 4 after filtering through primary filter 3.
Preceding surface cold section 4 includes first refrigerated water wet return 5 and first refrigerated water delivery pipe 6, and well surface cold section 15 includes second refrigerated water wet return 16 and second refrigerated water delivery pipe 17, and back surface cold section 30 includes third refrigerated water wet return 31 and third refrigerated water delivery pipe 32, and the refrigerated water inlet temperature of first refrigerated water delivery pipe 6, second refrigerated water delivery pipe 17 and third refrigerated water delivery pipe 32 is 7 ℃, and the refrigerated water outlet temperature of first refrigerated water wet return 5, second refrigerated water wet return 16 and third refrigerated water wet return 31 is 12 ℃.
The first chilled water supply pipe 6, the second chilled water supply pipe 17 and the third chilled water supply pipe 32 are all provided with a vapor filter 35, the first chilled water return pipe 5, the second chilled water return pipe 16 and the third chilled water return pipe 31 are all provided with an electric control valve 36 and an auxiliary branch 37, the left side and the right side of the electric control valve 36 are provided with two first manual valves 38, the second manual valve 39 is located in the auxiliary branch 37, two ends of the auxiliary branch 37 surround the electric control valve 36 and the first manual valve 38, and when the electric control valve 36 fails, the first manual valve 38 is closed, the second manual valve 39 is opened for maintenance, and the normal operation of the air conditioning unit does not need to be stopped.
One-level regeneration zone 9 includes first heating coil 10 and one-level runner regeneration position 11, one-level treatment zone 8 includes that one-level runner handles the position, return air section 12 is equipped with return air inlet 13, return air pipeline is connected to return air inlet 13, be equipped with air regulation valve 14 on the return air pipeline, the fresh air current after handling the position dehumidification with one-level runner is divided into two strands after mixing with the return air current, one strand lets in first heating coil 10 and heats after entering one-level runner regeneration position 11 and carry out the drying to one-level runner regeneration position 11 outdoor, cold section 15 carries out processing on next step in the entering of another strand.
The temperature of the fresh air flow before mixing is 23 ℃, the flow rate is 0.15g/kg, the temperature of the fresh air flow after mixing is 27 ℃, and the flow rate is 0.45g/kg, so that the heating energy consumption of the first heating coil 10 is reduced.
The intermediate filter section 18 is provided with an intermediate filter 19.
The second grade regeneration zone 22 includes second heating coil 23, first fan 24 and second grade runner regeneration position 25, second grade processing zone 21 includes the second grade runner and handles the position, the new trend air current that gets into well cold section 15 filters the back through the well effect filter 19 of well effect filter segment 18, send to second grade runner treatment position dehumidification, new trend air current divide into two strands afterwards, the strand lets in second heating coil 23 and heats the back and gets into second grade runner regeneration position 25 and arrange to discharge one-level runner dehumidification section 7 through first fan 24 after drying second grade runner regeneration position 25, another new trend air current gets into fan section 27 and carries out processing on next step.
The secondary regeneration area 22 is communicated with the primary regeneration area 9 through a regeneration air pipe 26, and fresh air flow discharged by the first fan 24 is sent to the primary regeneration area 9 through the regeneration air pipe 26.
The fan section 27 is provided with a second fan 28, the air supply section 33 is provided with an air supply outlet 34, the air supply outlet 34 is communicated with the indoor space, and the processed fresh air flow sequentially enters the indoor space after passing through the rear heating section 29, the rear surface cooling section 30 and the air supply section 33 through the second fan 28.
The utility model discloses a theory of operation: because the rotating wheel needs to circularly adsorb water vapor in air, the rotating wheel needs regenerated air to take away the water vapor on the cold surface of the rotating wheel, the water vapor on the surface of the rotating wheel material needs to be taken away, the relative humidity of the regenerated air needs to be very dry, the air generally needs to be heated to about 200 ℃, if the absolute moisture content is 0.02g/kg, the water vapor on the surface of the rotating wheel cannot be taken away even if the outdoor air is heated to 200 ℃, because the heated outdoor temperature cannot meet the relative drying condition, the fresh air flow introduced into the air supply of the secondary rotating wheel dehumidification section 20 is used in the secondary rotating wheel dehumidification section 20 and then used in the primary rotating wheel dehumidification section 7, the regenerated air after the water is adsorbed by the secondary rotating wheel has the drying degree far lower than that of the common outdoor air, so the regenerated air passing through the secondary rotating wheel can pass through the rotating wheel once again to take away the water adsorbed by the primary rotating wheel, the air conditioning unit meets the requirements of two production environments of high dew point and low dew point at the same time, and different dehumidification modes are provided, so that energy is saved, and the problem of drying and dehumidifying of regenerated air is synchronously solved.
The above-mentioned embodiments only represent some embodiments of the present invention, and the description thereof is specific and detailed, but not to be construed as limiting the scope of the present invention. It should be noted that, for those skilled in the art, without departing from the spirit of the present invention, several variations and modifications can be made, which are within the scope of the present invention. Therefore, the protection scope of the present invention should be subject to the appended claims.

Claims (10)

1.一种节能带转轮除湿的空调机组,依次从左到右包括新风段(1)、前表冷段(4)、一级转轮除湿段(7)、回风段(12)、中表冷段(15)、中效过滤段(18)、二级转轮除湿段(20)、风机段(27)、后加热段(29)、后表冷段(30)和送风段(33),所述一级转轮除湿段(7)具有一级处理区(8)和一级再生区(9),所述二级转轮除湿段(20)具有二级处理区(21)和二级再生区(22),其特征在于:转轮除湿的空调机组包括第一工况和第二工况,在所述第一工况,新风气流经过前表冷段(4)、一级转轮除湿段(7)、回风段(12)后分成两股,一股经过一级处理区(8)、中表冷段(15)、中效过滤段(18)、二级转轮除湿段(20)、风机段(27)、后加热段(29)、后表冷段(30)和送风段(33)进入室内,另外一股经过所述一级再生区(9)后排出室外,在所述第二工况,新风气流经过前表冷段(4)、一级转轮除湿段(7)、回风段(12)、中表冷段(15)、中效过滤段(18)和二级转轮除湿段(20)后分成两股,一股经过二级处理区(21)、风机段(27)、后加热段(29)、后表冷段(30)和送风段(33)进入室内,另一股经过所述二级再生区(22)输送至一级再生区(9)对一级再生区(9)进行除湿后排出室外。1. An energy-saving air-conditioning unit with rotary dehumidification, comprising, from left to right, a fresh air section (1), a front surface cooling section (4), a first-stage rotary dehumidification section (7), a return air section (12), Middle surface cooling section (15), medium efficiency filter section (18), secondary runner dehumidification section (20), fan section (27), rear heating section (29), rear surface cooling section (30) and air supply section (33), the primary runner dehumidification section (7) has a primary treatment zone (8) and a primary regeneration zone (9), and the secondary runner dehumidification section (20) has a secondary treatment zone (21) ) and a secondary regeneration zone (22), characterized in that: the air-conditioning unit for rotary dehumidification includes a first working condition and a second working condition, and in the first working condition, the fresh air flow passes through the front surface cooling section (4), The first-stage runner dehumidification section (7) and the return air section (12) are divided into two sections, and one section passes through the first-stage treatment section (8), the middle-surface cooling section (15), the middle-efficiency filter section (18), and the second-stage The runner dehumidification section (20), the fan section (27), the rear heating section (29), the rear surface cooling section (30) and the air supply section (33) enter the room, and the other one passes through the primary regeneration zone (9). ) and then discharged to the outside. In the second working condition, the fresh air flow passes through the front surface cooling section (4), the first-stage runner dehumidification section (7), the return air section (12), the middle surface cooling section (15), the middle surface cooling section (15), the middle surface cooling section (15). The high-efficiency filter section (18) and the secondary runner dehumidification section (20) are divided into two strands, and one strand passes through the secondary treatment section (21), the fan section (27), the post-heating section (29), and the post-surface cooling section (21). 30) and the air supply section (33) enter the room, and the other one passes through the secondary regeneration zone (22) and is transported to the primary regeneration zone (9) to dehumidify the primary regeneration zone (9) and then discharged outside. 2.如权利要求1所述的节能带转轮除湿的空调机组,其特征在于:新风段(1)设有新风入口(2)和初效过滤器(3),所述新风气流通过新风入口(2)进入空调箱,在通过初效过滤器(3)进行过滤后到达前表冷段(4)。2. The energy-saving air-conditioning unit with rotary dehumidification as claimed in claim 1, characterized in that: the fresh air section (1) is provided with a fresh air inlet (2) and a primary filter (3), and the fresh air flow passes through the fresh air inlet (2) Enter the air-conditioning box, and reach the front cooling section (4) after being filtered through the primary filter (3). 3.如权利要求1所述的节能带转轮除湿的空调机组,其特征在于:前表冷段(4)包括第一冷冻水回水管(5)和第一冷冻水供水管(6),中表冷段(15)包括第二冷冻水回水管(16)和第二冷冻水供水管(17),后表冷段(30)包括第三冷冻水回水管(31)和第三冷冻水供水管(32),第一冷冻水供水管(6)、第二冷冻水供水管(17)和第三冷冻水供水管(32)的冷冻水进水温度均为7℃,第一冷冻水回水管(5)、第二冷冻水回水管(16)和第三冷冻水回水管(31)的冷冻水出水温度均为12℃。3. The energy-saving air-conditioning unit with rotary dehumidification as claimed in claim 1, characterized in that: the front surface cooling section (4) comprises the first chilled water return pipe (5) and the first chilled water supply pipe (6), The middle surface cooling section (15) includes a second chilled water return pipe (16) and a second chilled water supply pipe (17), and the rear surface cooling section (30) includes a third chilled water return pipe (31) and a third chilled water supply pipe (17). The water inlet temperature of the water supply pipe (32), the first frozen water water supply pipe (6), the second frozen water water supply pipe (17) and the third frozen water water supply pipe (32) are all 7°C. The chilled water outlet temperature of the return pipe (5), the second chilled water return pipe (16) and the third chilled water return pipe (31) is all 12°C. 4.如权利要求1所述的节能带转轮除湿的空调机组,其特征在于:第一冷冻水供水管(6)、第二冷冻水供水管(17)和第三冷冻水供水管(32)上均设置有一汽水过滤器(35),第一冷冻水回水管(5)、第二冷冻水回水管(16)和第三冷冻水回水管(31)上均设置有电动控制阀(36)和辅助支路(37),电动控制阀(36)左边和右边的设置有两个第一手动阀门(38),第二手动阀门(39)位于辅助支路(37),辅助支路(37)的两端包围电动控制阀(36)和第一手动阀门(38),当电动控制阀(36)故障时关闭第一手动阀门(38)开启第二手动阀门(39)进行检修而不需要停止空调机组的正常工作。4. The energy-saving air-conditioning unit with rotary dehumidification as claimed in claim 1, characterized in that: the first chilled water supply pipe (6), the second chilled water supply pipe (17) and the third chilled water supply pipe (32) ) is provided with a soda water filter (35), the first chilled water return pipe (5), the second chilled water return pipe (16) and the third chilled water return pipe (31) are all provided with electric control valves (36). ) and the auxiliary branch (37), two first manual valves (38) are provided on the left and right of the electric control valve (36), and the second manual valve (39) is located in the auxiliary branch (37), and the auxiliary branch Both ends of (37) surround the electric control valve (36) and the first manual valve (38). When the electric control valve (36) fails, close the first manual valve (38) and open the second manual valve (39) for maintenance. There is no need to stop the normal operation of the air conditioning unit. 5.如权利要求1所述的节能带转轮除湿的空调机组,其特征在于:一级再生区(9)包括第一加热盘管(10)和一级转轮再生部位(11),一级处理区(8)包括一级转轮处理部位,回风段(12)设有回风口(13),回风口(13)连接回风管道,回风管道上设有风量调节阀(14),将一级转轮处理部位除湿处理后的新风气流与回风气流混合后分为两股,一股通入第一加热盘管(10)进行加热后进入一级转轮再生部位(11)对一级转轮再生部位(11)进行干燥后排出室外,另一股进入中表冷段(15)进行下一步处理。5. The energy-saving air-conditioning unit with runner dehumidification according to claim 1, wherein the primary regeneration zone (9) comprises a first heating coil (10) and a primary runner regeneration part (11), a The primary treatment area (8) includes a primary runner treatment part, the air return section (12) is provided with an air return port (13), the air return port (13) is connected to a return air duct, and an air volume regulating valve (14) is arranged on the return air duct , the fresh air flow and the return air flow after the dehumidification treatment of the primary runner treatment part are mixed and divided into two parts, one is passed into the first heating coil (10) for heating and then enters the primary runner regeneration part (11) The first-stage runner regeneration part (11) is dried and discharged to the outside, and the other part enters the middle surface cooling section (15) for the next step. 6.如权利要求1所述的节能带转轮除湿的空调机组,其特征在于:混合前的新风气流温度为23℃,流量为0.15g/kg,混合后的新风气流温度为27℃,流量为0.45g/kg。6. the air-conditioning unit of energy-saving belt runner dehumidification as claimed in claim 1, is characterized in that: the fresh air flow temperature before mixing is 23 ℃, and flow rate is 0.15g/kg, and the fresh air airflow temperature after mixing is 27 ℃, flow rate It is 0.45g/kg. 7.如权利要求1所述的节能带转轮除湿的空调机组,其特征在于:中效过滤段(18)设有中效过滤器(19)。7. The energy-saving air-conditioning unit with rotary dehumidification according to claim 1, characterized in that: the medium-efficiency filter section (18) is provided with a medium-efficiency filter (19). 8.如权利要求1所述的节能带转轮除湿的空调机组,其特征在于:二级再生区(22)包括第二加热盘管(23)、第一风机(24)和二级转轮再生部位(25),二级处理区(21)包括二级转轮处理部位,进入中表冷段(15)的新风气流经过中效过滤段(18)的中效过滤器(19)过滤后,送至二级转轮处理部位除湿处理,随后新风气流分为两股,一股通入第二加热盘管(23)进行加热后进入二级转轮再生部位(25)对二级转轮再生部位(25)进行干燥后通过第一风机(24)排至排出一级转轮除湿段(7),另一股新风气流进入风机段(27)进行下一步处理。8. The energy-saving air-conditioning unit with rotary dehumidification according to claim 1, wherein the secondary regeneration zone (22) comprises a second heating coil (23), a first fan (24) and a secondary rotary wheel The regeneration part (25), the secondary treatment area (21) includes a secondary runner treatment part, and the fresh air flow entering the middle surface cooling section (15) is filtered by the medium efficiency filter (19) of the medium efficiency filter section (18) , sent to the secondary runner processing part for dehumidification treatment, and then the fresh air flow is divided into two parts, one is passed into the second heating coil (23) for heating, and then enters the secondary runner regeneration part (25) for the secondary runner. After the regeneration part (25) is dried, it is discharged to the first stage runner dehumidification section (7) through the first fan (24), and another fresh air flow enters the fan section (27) for further processing. 9.如权利要求1所述的节能带转轮除湿的空调机组,其特征在于:二级再生区(22)与一级再生区(9)通过再生风管(26)连通,第一风机(24)排出的新风气流经过再生风管(26)送至一级再生区(9)。9. The energy-saving air-conditioning unit with rotary dehumidification according to claim 1, characterized in that: the secondary regeneration zone (22) is communicated with the primary regeneration zone (9) through the regeneration air duct (26), and the first fan ( 24) The exhausted fresh air flow is sent to the primary regeneration zone (9) through the regeneration air duct (26). 10.如权利要求1所述的节能带转轮除湿的空调机组,其特征在于:风机段(27)设有第二风机(28),送风段(33)设有送风口(34),送风口(34)连通室内,通过第二风机(28)将处理的新风气流依次进过后加热段(29)、后表冷段(30)和送风段(33)后进入室内。10. The energy-saving air-conditioning unit with rotary dehumidification according to claim 1, characterized in that: the fan section (27) is provided with a second fan (28), and the air supply section (33) is provided with an air supply port (34), The air supply port (34) communicates with the room, and the treated fresh air flow enters the room in sequence through the rear heating section (29), the rear surface cooling section (30) and the air supply section (33) through the second fan (28).
CN202022969595.5U 2020-12-10 2020-12-10 An energy-saving air-conditioning unit with rotary dehumidification Active CN213872958U (en)

Priority Applications (1)

Application Number Priority Date Filing Date Title
CN202022969595.5U CN213872958U (en) 2020-12-10 2020-12-10 An energy-saving air-conditioning unit with rotary dehumidification

Applications Claiming Priority (1)

Application Number Priority Date Filing Date Title
CN202022969595.5U CN213872958U (en) 2020-12-10 2020-12-10 An energy-saving air-conditioning unit with rotary dehumidification

Publications (1)

Publication Number Publication Date
CN213872958U true CN213872958U (en) 2021-08-03

Family

ID=77066785

Family Applications (1)

Application Number Title Priority Date Filing Date
CN202022969595.5U Active CN213872958U (en) 2020-12-10 2020-12-10 An energy-saving air-conditioning unit with rotary dehumidification

Country Status (1)

Country Link
CN (1) CN213872958U (en)

Cited By (2)

* Cited by examiner, † Cited by third party
Publication number Priority date Publication date Assignee Title
CN112443905A (en) * 2020-12-10 2021-03-05 艾尔科建设工程(江苏)有限公司 Energy-saving air conditioning unit with rotating wheel dehumidification function
CN118882143A (en) * 2024-08-30 2024-11-01 凯融科技集团有限公司 A combined air conditioning unit for purification of industrial air conditioning system

Cited By (2)

* Cited by examiner, † Cited by third party
Publication number Priority date Publication date Assignee Title
CN112443905A (en) * 2020-12-10 2021-03-05 艾尔科建设工程(江苏)有限公司 Energy-saving air conditioning unit with rotating wheel dehumidification function
CN118882143A (en) * 2024-08-30 2024-11-01 凯融科技集团有限公司 A combined air conditioning unit for purification of industrial air conditioning system

Similar Documents

Publication Publication Date Title
CN106338113B (en) Freeze runner mixing dehumidification device
KR101749194B1 (en) Air-conditioner capable of heating and humidity control and the method thereof
CN205678834U (en) A high-efficiency waste heat regeneration air conditioner
CN202719696U (en) A dehumidification and regeneration type air handling unit driven by a heat pump
CN102635906A (en) Heat pump regeneration rotating wheel type total heat recovery humidity-adjusting and temperature-controlling fresh air handling unit and control method thereof
CN102635905A (en) Combined heat pump type low-temperature total heat recovery fresh air handling unit with regeneration rotating wheel for dehumidification
CN102705921A (en) Heat pump driven rotating wheel dehumidification and regeneration type air treatment unit
KR102538252B1 (en) Air conditioner and the method thereof
CN102506475A (en) Heat pump system of heat humidity independent control driven by condensation waste heat and based on solid dehumidification
CN203518067U (en) Novel rotary dehumidifier
US20190162431A1 (en) Humidity Control Unit and Method
CN213872958U (en) An energy-saving air-conditioning unit with rotary dehumidification
CN105698363A (en) A high-efficiency dehumidification and cooling air-conditioning device based on CO2 heat pump
CN113661362B (en) Drying systems for product air with very low dew points
CN202648011U (en) Heat pump regeneration rotary wheel type full-heat recovery moisture-conditioning temperature-control fresh air unit
CN103075764B (en) Double-cold source dehumidification air-conditioning unit
CN105805868A (en) Regenerative and recuperative dehumidifying heat pump system and running method thereof
CN108224628A (en) With reference to heat pump driven standpipe indirect evaporating-cooling and the air-conditioner set of solution dehumidification
CN111998437B (en) Temperature and humidity independent control air conditioning system with fresh air
CN108253557A (en) Multistage subregion dehumidification system for runner and its operation method
CN107238263A (en) A kind of integral type high temperature drying dehumidification machine
CN201637009U (en) Low-energy consumption combined dehumidifier
CN112443905A (en) Energy-saving air conditioning unit with rotating wheel dehumidification function
CN105588235B (en) A kind of rotary wheel dehumidifying air-conditioner set and its application method that can prevent surface cooler bursting by freezing
CN220379856U (en) Multi-dew-point air supply rotary dehumidifier system and double-rotary dehumidifier

Legal Events

Date Code Title Description
GR01 Patent grant
GR01 Patent grant
CP03 Change of name, title or address

Address after: Room 703, 705, 706, building 4, No. 666, Fengting Avenue, Weiting Town, Suzhou Industrial Park, Jiangsu Province, 215000

Patentee after: Elco Engineering Technology Co.,Ltd.

Address before: Room 703, 705 and 706, building 4, No. 666, Fengting Avenue, Suzhou Industrial Park, 215000, Jiangsu Province

Patentee before: Elko Construction Engineering (Jiangsu) Co.,Ltd.

CP03 Change of name, title or address