CN213853874U - A high-efficiency air purification spray tower - Google Patents

A high-efficiency air purification spray tower Download PDF

Info

Publication number
CN213853874U
CN213853874U CN202022835993.8U CN202022835993U CN213853874U CN 213853874 U CN213853874 U CN 213853874U CN 202022835993 U CN202022835993 U CN 202022835993U CN 213853874 U CN213853874 U CN 213853874U
Authority
CN
China
Prior art keywords
filter plate
circulating water
box
spray tower
air
Prior art date
Legal status (The legal status is an assumption and is not a legal conclusion. Google has not performed a legal analysis and makes no representation as to the accuracy of the status listed.)
Expired - Fee Related
Application number
CN202022835993.8U
Other languages
Chinese (zh)
Inventor
陈文智
高正标
梁健梅
Current Assignee (The listed assignees may be inaccurate. Google has not performed a legal analysis and makes no representation or warranty as to the accuracy of the list.)
Foshan Lanyu Environmental Protection Technology Co ltd
Original Assignee
Foshan Lanyu Environmental Protection Technology Co ltd
Priority date (The priority date is an assumption and is not a legal conclusion. Google has not performed a legal analysis and makes no representation as to the accuracy of the date listed.)
Filing date
Publication date
Application filed by Foshan Lanyu Environmental Protection Technology Co ltd filed Critical Foshan Lanyu Environmental Protection Technology Co ltd
Priority to CN202022835993.8U priority Critical patent/CN213853874U/en
Application granted granted Critical
Publication of CN213853874U publication Critical patent/CN213853874U/en
Expired - Fee Related legal-status Critical Current
Anticipated expiration legal-status Critical

Links

Images

Landscapes

  • Treating Waste Gases (AREA)

Abstract

本实用新型公开了一种高效空气净化喷淋塔,包括喷淋塔本体,喷淋塔本体的一侧设有保护箱,保护箱内设有循环水泵,循环水泵上连接有过滤机构,过滤机构包括容纳箱,容纳箱与保护箱之间滑动连接有滑动机构,容纳箱内设有一级滤板,一级滤板的一侧设有空滤板,一级滤板与空滤板之间设有二级滤板,喷淋塔本体内设有收集槽,收集槽与保护箱之间贯穿设有收集管。本实用新型通过喷淋塔上相应机构的设置,对喷淋塔内循环水进行过滤,使循环水中存在的杂质和残留的微量有害物质得到有效吸附,减少循环水内杂质的增多对喷淋塔净化的影响,使喷淋塔能够对空气进行高效的净化,增加空气的净化效率,一定程度上提高周围的空气质量和大气环境。

Figure 202022835993

The utility model discloses a high-efficiency air purification spray tower, which comprises a spray tower body, a protection box is arranged on one side of the spray tower body, a circulating water pump is arranged in the protection box, and a filter mechanism is connected to the circulating water pump. It includes an accommodating box, a sliding mechanism is slidably connected between the accommodating box and the protection box, a first-stage filter plate is arranged in the accommodating box, an air filter plate is arranged on one side of the first-stage filter plate, and an air filter plate is arranged between the first-stage filter plate and the air filter plate. There is a secondary filter plate, a collection tank is arranged in the spray tower body, and a collection pipe is arranged between the collection tank and the protection box. The utility model filters the circulating water in the spraying tower through the setting of the corresponding mechanism on the spraying tower, so that the impurities existing in the circulating water and the residual trace harmful substances can be effectively adsorbed, and the increase of impurities in the circulating water is reduced. The influence of purification enables the spray tower to efficiently purify the air, increase the air purification efficiency, and improve the surrounding air quality and atmospheric environment to a certain extent.

Figure 202022835993

Description

High-efficient air purification spray column
Technical Field
The utility model belongs to the technical field of air purification, concretely relates to high-efficient air purification spray column.
Background
The air purifying spray tower is to introduce acid mist waste gas into the purifying tower via wind pipe, the waste gas and sodium hydroxide absorbing liquid are made to contact fully to absorb and neutralize in gas-liquid two phases via the packing layer, the acid mist waste gas is purified and exhausted to atmosphere via the defogging plate, the packing layer inside the spray tower is used as the mass transfer equipment of gas-liquid two-phase contact member, the packing support plate is installed in the bottom of the packing tower, the packing is set on the support plate in disorder mode, the packing plate is installed over the packing to avoid being blown by the ascending gas flow, the spray liquid is sprayed onto the packing from the tower top via the liquid distributor and flows down along the surface of the packing, the gas is fed from the tower bottom, and after being distributed via the gas distributor, the gas and the liquid are made to flow reversely and pass through the gap of the packing layer continuously, and the gas-liquid two phases are contacted closely to transfer mass.
In the use process of the existing air purification spray tower, because a mechanism for filtering circulating water is lacked, the circulating water in the spray tower is recycled for the second time without being filtered, impurities and residual trace toxic substances in the circulating water are accumulated and increased little by little due to each circulation purification, meanwhile, the circulating water flowing back to the bottom of the tower possibly receives the secondary fusion of the impurities on the way, so that the circulating water is polluted, the air purification effect of the spray tower is gradually poor, the air is not effectively purified and discharged to the atmosphere, and the surrounding air quality and the atmospheric environment are influenced.
Therefore, in view of the above technical problems, it is necessary to provide a highly efficient air purification spray tower.
SUMMERY OF THE UTILITY MODEL
An object of the utility model is to provide a high-efficient air purification spray column to solve above-mentioned current spray column and lack a mechanism to the circulating water is filterable, during air-purifying, probably there is impurity or remaining acidic material in the circulating water, when leading to the circulating water to spray once more, to the problem of the purifying effect variation of air.
In order to achieve the above object, an embodiment of the present invention provides the following technical solutions:
the utility model provides a high-efficient air purification spray column, includes the spray column body, one side of spray column body is equipped with the guard box, be equipped with circulating water pump in the guard box, the last filter mechanism that is connected with of circulating water pump, filter mechanism is including holding the case, sliding connection has slide mechanism between holding case and the guard box, it is equipped with the one-level filter plate to hold the incasement, one side of one-level filter plate is equipped with empty filter plate, be equipped with the second grade filter plate between one-level filter plate and the empty filter plate, this internal collecting vat that is equipped with of spray column, it is equipped with the collecting pipe to run through between collecting vat and the guard box.
Further, slide mechanism includes the loading board, loading board sliding connection is in the guard box, the loading board is near digging a pair of guide rail groove on the one side that holds the case, and during the long-term use, the person of facilitating the use removes and holds the case, clears up the change to inside.
Furthermore, one side of the containing box, which is close to the bearing plate, is connected with a plurality of fixing pieces, and the fixing pieces are connected with small pulleys in a rotating mode.
Furthermore, the collecting pipe is close to one of holding the case and serves and be equipped with the splashproof net, plays the unhurried current effect to the circulating water of this internal collection of spray column, is difficult for splashing and causing the influence to other equipment when making the circulating water of outflow in the collecting pipe play.
Furthermore, one-level filter plate, empty filter plate and second grade filter plate both sides all are equipped with the link up piece, it has movable chamber to chisel in the link up piece, be equipped with the block bobble in the link up piece, be connected with strong spring between block bobble and the link up piece, carry out the block to one-level filter plate, empty filter plate and second grade filter plate through the block bobble of equidimension not, the person of facilitating the use dismantles.
Furthermore, the containing box is provided with a clamping groove matched with the clamping small balls in a chiseling mode, so that the containing box is suitable for clamping small balls with different sizes and plays a role in fixing.
Compared with the prior art, the utility model has the advantages of it is following:
the utility model discloses a setting of corresponding mechanism on the spray column filters the circulating water in the spray column, makes the impurity that exists in the circulating water and remaining trace harmful substance obtain effective absorption, reduces the influence that increase of impurity was purified to the spray column in the circulating water, makes the spray column carry out the efficient to the air and purifies, increases the purification efficiency of air, improves air quality and atmospheric environment on every side to a certain extent.
Drawings
In order to more clearly illustrate the embodiments of the present invention or the technical solutions in the prior art, the drawings needed to be used in the description of the embodiments or the prior art will be briefly described below, it is obvious that the drawings in the following description are only some embodiments described in the present invention, and for those skilled in the art, other drawings can be obtained according to the drawings without creative efforts.
Fig. 1 is a sectional view of a side view of a high efficiency air purification spray tower according to an embodiment of the present invention;
fig. 2 is a sectional view of a front view of a high efficiency air purification spray tower according to an embodiment of the present invention;
fig. 3 is a schematic structural diagram of a point a in fig. 1 according to an embodiment of the present invention;
fig. 4 is a schematic structural diagram of a portion B in fig. 1 according to an embodiment of the present invention;
fig. 5 is a schematic structural diagram of a point C in fig. 1 according to an embodiment of the present invention;
fig. 6 is a perspective view of an efficient air purification spray tower according to an embodiment of the present invention.
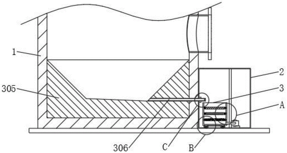
In the figure: 1. the spray tower comprises a spray tower body, 2 parts of a protection box, 3 parts of a filtering mechanism, 301 parts of a containing box, 302 parts of a primary filtering plate, 303 parts of an empty filtering plate, 304 parts of a secondary filtering plate, 305 parts of a collecting tank, 306 parts of a collecting pipe, 307 parts of a splash-proof net cover, 308 parts of a connecting piece, 309 parts of a clamping ball, 310 parts of a strong spring, 4 parts of a sliding mechanism, 401 parts of a bearing plate, 402 parts of a guide rail groove, 403 parts of a fixing piece and 404 parts of a small pulley.
Detailed Description
The present invention will be described in detail below with reference to embodiments shown in the drawings. However, the present invention is not limited to the embodiments, and the structural, method, or functional changes made by those skilled in the art according to the embodiments are all included in the scope of the present invention.
The utility model discloses a high-efficient air purification spray column, refer to fig. 1-6 and show, including spray column body 1, one side of spray column body 1 is equipped with guard box 2, plays the guard action to filter mechanism 3, is equipped with circulating water pump in the guard box 2, is connected with filter mechanism 3 on the circulating water pump, filters the recycling to the water after 1 inner loop of spray column body, and filter mechanism 3 is including holding case 301, and the effect is placed in the installation, and sliding connection has slide mechanism 4 between holding case 301 and the guard box 2, and the person of facilitating the use removes and holds case 301 and change the maintenance.
Referring to fig. 1-3, a first-stage filter plate 302 is arranged in a containing box 301, an empty filter plate 303 is arranged on one side of the first-stage filter plate 302, a second-stage filter plate 304 is arranged between the first-stage filter plate 302 and the empty filter plate 303, the density of the empty filter plate 303 is smaller than that of the first-stage filter plate 302, a better filtering effect is achieved on circulating water, a collecting tank 305 is arranged in a spray tower body 1, the bottom surface of the collecting tank 305 inclines towards a collecting pipe 306, the circulating water dropping in the spray tower body 1 can be conveniently collected and quickly flows into the containing box 301, the collecting pipe 306 penetrates between the collecting tank 305 and a protection box 2, a clamping groove matched with the clamping ball 309 is formed in the containing box 301, the clamping balls 309 in different sizes are adapted, and a fixing effect is achieved at the same time.
The empty filter plate 303 is filled with a certain amount of acid removing agent to remove trace acid substances possibly existing in water and reduce secondary pollution caused by circulating water to a spraying process, the two sides of the first-stage filter plate 302, the empty filter plate 303 and the second-stage filter plate 304 are respectively provided with a connecting piece 308, movable cavities are formed in the first-stage filter plate 302 and the connecting piece 308, clamping small balls 309 are arranged in the connecting pieces 308, strong springs 310 are connected between the clamping small balls 309 and the connecting pieces 308, the sizes of the connecting pieces 308, the clamping small balls 309 and the strong springs 310 which are respectively connected to the empty filter plate 303 and the second-stage filter plate 304 are sequentially increased, the first-stage filter plate 302, the empty filter plate 303 and the second-stage filter plate 304 are respectively clamped through the clamping small balls 309 in different sizes, and a user can conveniently detach the empty filter plate 303.
Referring to fig. 1-4, the sliding mechanism 4 includes a bearing plate 401, which plays a role of bearing the filtering mechanism 3, and facilitates the movement of the accommodating box 301, the bearing plate 401 is slidably connected in the protection box 2, a pair of guide rail grooves 402 is cut on one surface of the bearing plate 401 close to the accommodating box 301, so that the small pulley 404 moves along a certain path, which facilitates the movement of the accommodating box 301 by a user, the inside of the accommodating box 301 is cleaned and replaced, the one surface of the accommodating box 301 close to the bearing plate 401 is connected with a plurality of fixing members 403, the small pulley 404 is rotatably connected between the pair of fixing members 403, the small pulley 404 is connected in the guide rail grooves 402 in a rolling manner, which plays a connecting role, and the accommodating box 301 can slide on the bearing plate 401.
Specifically, be equipped with rubber suction cup in the guard box 2, hold and be equipped with the rubber pad on the one side that case 301 is close to rubber suction cup, convenience of customers puts into the fixed of guard box 2 after removing holding case 301, reduces simultaneously and holds case 301 gliding phenomenon to appear on loading board 401 in the use.
Referring to fig. 1-2, an anti-splash net 307 is disposed at one end of the collecting pipe 306 close to the accommodating tank 1, and plays a role in slowing the flow of the circulating water collected in the spray tower body 1, so that the circulating water flowing out of the collecting pipe 306 is not easy to splash and affect other devices.
During the specific use, the user will hold case 301 and outwards pull out, install one-level filter plate 302, empty filter plate 303 and second grade filter plate 304 according to the order, the propelling movement resets after injecting the circulating water earlier in holding case 301 into, circulating water pump can be with holding the circulating water that the incasement 301 was injected earlier draw to spray column body 1 in, after the contact absorption in spray column body 1, the circulating water flows into to collecting vat 305 along spray column body 1, flow into holding case 301 through collecting pipe 306 along collecting vat 305, after first-level filter plate 302, second grade filter plate 304 and the empty filter plate 303 that is filled with a certain amount of deacidification filter, draw the use once more by circulating water pump.
According to the technical scheme provided by the utility model, the utility model discloses following beneficial effect has:
the utility model discloses a setting of corresponding mechanism on the spray column filters spray column inner circulating water, makes the impurity that exists in the circulating water and remaining trace harmful substance obtain effective absorption, reduces the influence that increase of impurity was purified to the spray column in the circulating water, makes the spray column can carry out the efficient to the air and purify, increases the purification efficiency of air, improves air quality and atmospheric environment on every side to a certain extent.
It is obvious to a person skilled in the art that the invention is not restricted to details of the above-described exemplary embodiments, but that it can be implemented in other specific forms without departing from the spirit or essential characteristics of the invention. The present embodiments are therefore to be considered in all respects as illustrative and not restrictive, the scope of the invention being indicated by the appended claims rather than by the foregoing description, and all changes which come within the meaning and range of equivalency of the claims are therefore intended to be embraced therein. Any reference sign in a claim should not be construed as limiting the claim concerned.
Furthermore, it should be understood that although the present description refers to embodiments, not every embodiment may contain only a single embodiment, and such description is for clarity only, and those skilled in the art should integrate the description, and the embodiments may be combined as appropriate to form other embodiments understood by those skilled in the art.

Claims (6)

1. The utility model provides a high-efficient air purification spray column, includes spray column body (1), its characterized in that, one side of spray column body (1) is equipped with guard box (2), be equipped with circulating water pump in guard box (2), last filter mechanism (3) of being connected with of circulating water pump, filter mechanism (3) are including holding case (301), sliding connection has slide mechanism (4) between holding case (301) and guard box (2), it is equipped with one-level filter plate (302) in case (301) to hold, one side of one-level filter plate (302) is equipped with empty filter plate (303), be equipped with second grade filter plate (304) between one-level filter plate (302) and empty filter plate (303), be equipped with collecting vat (305) in spray column body (1), it is equipped with collecting pipe (306) to run through between collecting vat (305) and guard box (2).
2. The spray tower for purifying air as claimed in claim 1, wherein said sliding mechanism (4) comprises a bearing plate (401), said bearing plate (401) is slidably connected in said protection box (2), and a pair of guide rail grooves (402) are cut on a surface of said bearing plate (401) near said containing box (301).
3. The spray tower for purifying air with high efficiency as claimed in claim 1, wherein a plurality of fixing members (403) are connected to one surface of the accommodating box (301) close to the bearing plate (401), a small pulley (404) is rotatably connected between a pair of the fixing members (403), and the small pulley (404) is connected in the guide rail groove (402) in a rolling manner.
4. A high efficiency air cleaning spray tower as claimed in claim 1 wherein a splash guard (307) is provided at the end of the collection pipe (306) adjacent the containment box (301).
5. The efficient air purification spray tower of claim 1, wherein the first-stage filter plate (302), the empty filter plate (303) and the second-stage filter plate (304) are provided with joint pieces (308) on two sides, movable cavities are drilled in the joint pieces (308), small clamping balls (309) are arranged in the joint pieces (308), and strong springs (310) are connected between the small clamping balls (309) and the joint pieces (308).
6. The spray tower of claim 1, wherein the receiving box (301) has a matching engaging groove for the engaging ball (309).
CN202022835993.8U 2020-12-01 2020-12-01 A high-efficiency air purification spray tower Expired - Fee Related CN213853874U (en)

Priority Applications (1)

Application Number Priority Date Filing Date Title
CN202022835993.8U CN213853874U (en) 2020-12-01 2020-12-01 A high-efficiency air purification spray tower

Applications Claiming Priority (1)

Application Number Priority Date Filing Date Title
CN202022835993.8U CN213853874U (en) 2020-12-01 2020-12-01 A high-efficiency air purification spray tower

Publications (1)

Publication Number Publication Date
CN213853874U true CN213853874U (en) 2021-08-03

Family

ID=77065828

Family Applications (1)

Application Number Title Priority Date Filing Date
CN202022835993.8U Expired - Fee Related CN213853874U (en) 2020-12-01 2020-12-01 A high-efficiency air purification spray tower

Country Status (1)

Country Link
CN (1) CN213853874U (en)

Similar Documents

Publication Publication Date Title
KR100854510B1 (en) Air Purifier for Rail Track
CN103752118A (en) Integrated wet dust removal device for sweeper and integrated wet dust removal method thereof
CN213853874U (en) A high-efficiency air purification spray tower
CN206935009U (en) Plastic granulating waste gas cleaning system
CN105771502A (en) High-voltage static dust collector for exhaust gas of setting machine, and static dust collecting method thereof
CN104492243A (en) Flue gas desulphurization system and flue gas desulphurization process
CN110548359A (en) Wet dust removal demisting device and wet dust removal demisting method thereof
CN219804404U (en) Exhaust treatment device for die casting machine convenient to maintain
CN215463155U (en) Spray treatment tower with peculiar smell elimination function
CN218980909U (en) Flue gas cooling and deoiling system
CN216092883U (en) Dust extraction of cutting device for door core board
CN215539427U (en) Air purification device for waste plastic cracking recovery plant
CN212703437U (en) Environment-friendly anti-static dust removal filtering device
CN211913155U (en) Novel air purification equipment
CN204107303U (en) Viscose rayon waste gas recovery adsorption system
CN209885295U (en) Convenient clearance water tank
CN202122893U (en) Oil smoke-removing and dust-removing dual-purpose machine
CN112263889A (en) Multifunctional biological boiler flue gas particulate matter purifying device
CN219252120U (en) Smoke dust treatment device
CN112675656A (en) Waste gas collecting and treating device and method for assembly type building production system
CN208356364U (en) A kind of weldering cigarette filter drum type precipitator filter cylinder
CN221471241U (en) Flue gas purification device for softening rubber
CN221602235U (en) Flue gas cooling electrostatic precipitator
CN207324510U (en) The absorption of integrated VOC exhaust gas, photodissociation, catalyzing, oxidizing and purifying device
CN213699206U (en) High-temperature waste gas purifying equipment

Legal Events

Date Code Title Description
GR01 Patent grant
GR01 Patent grant
CF01 Termination of patent right due to non-payment of annual fee
CF01 Termination of patent right due to non-payment of annual fee

Granted publication date: 20210803