CN213835589U - A clean metal surface treatment device - Google Patents

A clean metal surface treatment device Download PDF

Info

Publication number
CN213835589U
CN213835589U CN202022976884.8U CN202022976884U CN213835589U CN 213835589 U CN213835589 U CN 213835589U CN 202022976884 U CN202022976884 U CN 202022976884U CN 213835589 U CN213835589 U CN 213835589U
Authority
CN
China
Prior art keywords
surface treatment
metal surface
treatment device
electroplating pool
electroplating
Prior art date
Legal status (The legal status is an assumption and is not a legal conclusion. Google has not performed a legal analysis and makes no representation as to the accuracy of the status listed.)
Expired - Fee Related
Application number
CN202022976884.8U
Other languages
Chinese (zh)
Inventor
林惠娟
黎应伦
董永全
刘宁波
王尧容
Current Assignee (The listed assignees may be inaccurate. Google has not performed a legal analysis and makes no representation or warranty as to the accuracy of the list.)
Jiaxun Technology Shenzhen Co ltd
Original Assignee
Jiaxun Technology Shenzhen Co ltd
Priority date (The priority date is an assumption and is not a legal conclusion. Google has not performed a legal analysis and makes no representation as to the accuracy of the date listed.)
Filing date
Publication date
Application filed by Jiaxun Technology Shenzhen Co ltd filed Critical Jiaxun Technology Shenzhen Co ltd
Priority to CN202022976884.8U priority Critical patent/CN213835589U/en
Application granted granted Critical
Publication of CN213835589U publication Critical patent/CN213835589U/en
Expired - Fee Related legal-status Critical Current
Anticipated expiration legal-status Critical

Links

Images

Landscapes

  • Electroplating Methods And Accessories (AREA)

Abstract

本申请涉及金属表面处理的领域,尤其是涉及一种清洁型金属表面处理装置,其包括电镀池,电镀池顶部设置有若干个升降组件,沿竖直方向伸缩的升降组件底部设置有吊拉件;电镀池内滑动连接有过滤板,过滤板顶部与吊拉件底部连接。本申请具有便于工作人员取出完成电镀的工件的效果。

Figure 202022976884

The application relates to the field of metal surface treatment, and in particular to a clean metal surface treatment device, which includes an electroplating pool, a plurality of lifting components are arranged on the top of the plating pool, and a lifting member is arranged at the bottom of the lifting component extending and retracting in the vertical direction. ; A filter plate is slidably connected in the electroplating pool, and the top of the filter plate is connected with the bottom of the hanging piece. The present application has the effect of facilitating workers to take out the electroplated workpiece.

Figure 202022976884

Description

Clean type metal surface treatment device
Technical Field
The application relates to the field of metal surface treatment, in particular to a cleaning type metal surface treatment device.
Background
Currently, surface treatment is a process of artificially forming a surface layer on the surface of a base material, which has mechanical, physical and chemical properties different from those of the base. The purpose of the surface treatment is to meet the requirements of corrosion resistance, wear resistance, decoration or other special functions of the product. For metal castings, mechanical polishing, chemical treatment, surface heat treatment, surface spraying and the like are common surface treatment methods, and electroplating also belongs to one of the surface treatments.
In the prior art, when metal is electroplated, a workpiece is put into electroplating solution in an electroplating pool, the electroplating solution is electrified, metal ions in the electroplating solution move to a cathode under the action of potential difference to form a coating, the electrification is stopped after the workpiece is electroplated, and the workpiece is taken out.
In view of the above-mentioned related technologies, the inventor believes that the way for the worker to take out the workpiece is generally to take out the workpiece after the plating solution is discharged or to salvage the workpiece after the plating is completed in the plating tank, and both methods are inconvenient and troublesome for the worker to operate.
SUMMERY OF THE UTILITY MODEL
In order to facilitate the staff to take out the work piece of accomplishing the electroplating, this application provides a clean type metal surface treatment device.
The application provides a clean type metal surface treatment device adopts following technical scheme:
a cleaning type metal surface treatment device comprises an electroplating pool, wherein the top of the electroplating pool is provided with a plurality of lifting assemblies, and the bottoms of the lifting assemblies which stretch along the vertical direction are provided with hanging pieces; the electroplating pool is internally connected with a filter plate in a sliding mode, and the top of the filter plate is connected with the bottom of the hanging piece.
Through adopting above-mentioned technical scheme, the staff puts the work piece that needs electroplate on the filter, then adjusts lifting unit's flexible degree and slides the filter to the plating solution in, when the work piece of accomplishing the electroplating is taken out to needs, adjusts lifting unit's flexible degree once more, makes the filter up move, until its top and plating solution separation, then the staff takes away the work piece convenient and fast.
Optionally, lifting unit includes pivot, rolling wheel and rolling rope, the electroplating bath top is provided with a plurality of backup pads, the pivot is rotated and is connected in the backup pad, rolling wheel fixed connection is in the pivot, the rolling wheel is located to the rolling rope cover, wherein one end and the hanging of rolling rope draw a fixed connection.
Through adopting above-mentioned technical scheme, rotate the pivot, the rolling wheel rotates thereupon to receive, put the coiling rope, hang and draw piece and filter and change the position in vertical direction along with the receipts of coiling rope, put, thereby the staff of being convenient for takes out the work piece.
Optionally, electroplating bath top is provided with a plurality of auxiliary, one the auxiliary corresponds a rolling rope, the auxiliary includes gyro wheel, roller bearing and a plurality of riser, the riser bottom is connected in electroplating bath top, the roller bearing rotates to be connected in the riser, gyro wheel fixed connection is in the roller bearing outer wall, the rolling rope sling is established outside the gyro wheel.
By adopting the technical scheme, when the rolling rope is wound and unwound, the winding rope slides on the surface of the roller, the roller synchronously rotates along with the roller, and the friction between the winding rope and the electroplating pool when the winding rope is wound and unwound is reduced, so that the service life of the winding rope is prolonged.
Optionally, the lifting piece comprises a circular ring and a matching hook, and one end of the winding rope, which is far away from the winding wheel, is connected with the circular ring; the filter top is provided with a plurality of screw hole, one the screw hole corresponds a cooperation hook, wherein one end threaded connection in filter of cooperation hook, the other end and the filter top of cooperation hook are connected, the cooperation hook is located to the ring cover.
By adopting the technical scheme, when the hoisting piece needs to be installed, the matching hook is connected to the filter plate in a threaded manner, a space for the circular ring to enter is reserved between the other end of the matching hook and the filter plate, the matching hook is continuously rotated after the circular ring is sleeved with the matching hook, the end part of the matching hook is abutted against the top of the filter plate, and at the moment, the circular ring cannot be easily separated from the matching hook; when the ring and the matching hook are required to be separated, the matching hook is rotated to enable the end part of the matching hook to be separated from the top of the filter plate by a distance for the ring to leave.
Optionally, a plurality of vertical guide grooves are formed in the inner side face of the electroplating pool, a plurality of guide blocks are fixedly connected to the side edges of the filter plates, and the guide blocks are connected to the corresponding guide grooves in a sliding mode.
Through adopting above-mentioned technical scheme, the filter is pulled to the rolling rope, and the guide block slides in the guide way, and the guide way plays guide and spacing effect, makes the filter motion more steady.
Optionally, a plurality of suspension plating pieces are arranged at the top of the electroplating tank, and two dovetail grooves which are arranged oppositely are formed at the top of the electroplating tank; hang and plate the piece and include horizontal pole and two montants, one the montant corresponds a dovetail, montant sliding connection is in the dovetail, the horizontal pole is connected with two montants, the horizontal pole can be dismantled and be connected with a plurality of connecting wires that are used for binding the work piece.
Through adopting above-mentioned technical scheme, when only needing to electroplate a small amount of work pieces after the work piece is full to pendulum at the filter top, the usable piece that plates that hangs of staff passes through the connecting wire to fix the work piece on the horizontal pole, then slides montant to assigned position, in soaking the plating solution to the work piece, accomplishes and electroplates the back, only needs to pull up the connecting wire, unpack connecting wire and work piece apart can.
Optionally, a plurality of thread positioning holes are formed in the wall of the dovetail groove, the thread positioning holes penetrate through the side wall of the electroplating pool, bolts are connected to the positions, corresponding to the thread positioning holes, of the electroplating pool, and the end portions of the bolts abut against the vertical rods.
Through adopting above-mentioned technical scheme, after the montant that slides to the assigned position, can insert corresponding screw hole with the bolt, utilize the bolt further fixed montant's position.
Optionally, a plurality of driving members are arranged at the top of the electroplating pool, one driving member corresponds to one rotating shaft, and the rotating shaft is connected with the driving member for rotating the rotating shaft.
Through adopting above-mentioned technical scheme, utilize the driving piece to rotate the pivot, the staff operation of being convenient for has also improved degree of automation.
In summary, the present application includes at least one of the following beneficial technical effects:
1. the working personnel put the workpiece to be electroplated on the filter plate, then rotate the rotating shaft to discharge the winding rope, slide the filter plate into the electroplating solution, when the workpiece to be electroplated needs to be taken out, rotate the rotating shaft again to take up the winding rope, enable the filter plate to move upwards until the top of the filter plate is separated from the electroplating solution, and then the working personnel take away the workpiece, which is convenient and fast;
2. when only needing to electroplate a small amount of work pieces after putting the work piece when the filter top, the usable piece that plates of hanging of staff passes through the connecting wire to be fixed the work piece on the horizontal pole, then slides montant to assigned position, soaks the plating solution to the work piece in, accomplishes and electroplates the back, only needs to pull up the connecting wire, unpack connecting wire and work piece apart can.
Drawings
Fig. 1 is a schematic structural diagram of a cleaning type metal surface treatment apparatus according to an embodiment of the present disclosure.
Fig. 2 is a partially enlarged schematic view of a portion a in fig. 1.
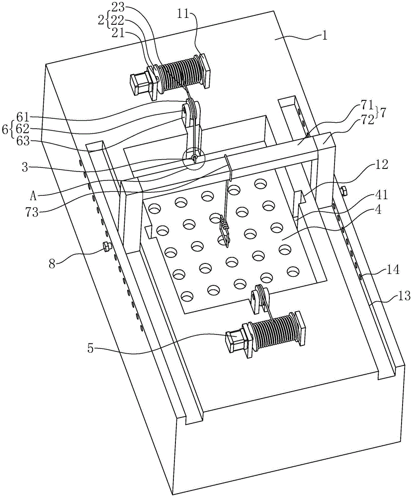
Description of reference numerals: 1. an electroplating pool; 11. a support plate; 12. a guide groove; 13. a dovetail groove; 14. a threaded locating hole; 2. a lifting assembly; 21. a rotating shaft; 22. a winding wheel; 23. winding the rope; 3. a hanging and pulling piece; 31. a circular ring; 32. a mating hook; 4. a filter plate; 41. a guide block; 5. a motor; 6. an auxiliary member; 61. a roller; 62. a roller; 63. a vertical plate; 7. hanging the plated part; 71. a cross bar; 72. a vertical rod; 73. a connecting wire; 8. and (4) bolts.
Detailed Description
The present application is described in further detail below with reference to figures 1-2.
The embodiment of the application discloses clean type metal surface treatment device. Referring to fig. 1, a cleaning type metal surface treatment apparatus includes a plating tank 1, and the plating tank 1 is a hollow, non-top rectangular parallelepiped shape. The top of the electroplating pool 1 is provided with two lifting components 2, and the two lifting components 2 are symmetrically arranged at the top of the electroplating pool 1; the lifting component 2 is fixedly connected with a hanging and pulling piece 3. Electroplating pool 1 sliding connection has filter 4, and four sides of filter 4 and electroplating pool 1's inside wall butt, filter 4 top and hang and draw 3 bottoms to be connected.
Lifting unit 2 subassembly includes pivot 21, wind-up wheel 22 and receipts winding rope 23, a plurality of backup pads 11 of 1 top fixedly connected with in electroplating bath, and a lifting unit 2 corresponds two backup pads 11, and backup pad 11 is vertical setting, has the interval between two backup pads 11. One end of the rotating shaft 21 is rotatably connected to one of the supporting plates 11, the other end of the rotating shaft 21 is rotatably connected to the other supporting plate 11, and the rotating shaft 21 is horizontally arranged. The winding wheel 22 is sleeved and fixedly connected to the outer wall of the rotating shaft 21. The winding rope 23 is sleeved on the outer wall of the winding wheel 22, one end of the winding rope 23 is fixedly connected to the outer wall of the winding wheel 22, and the other end of the winding rope 23 is connected with the hanging pull piece 3.
The top of the electroplating pool 1 is fixedly connected with a plurality of driving parts, in this embodiment, the driving parts are motors 5, one motor 5 corresponds to one rotating shaft 21, and the output shaft of the motor 5 is connected with the end part of the rotating shaft 21 through a coupler.
The driving motor 5 rotates the rotating shaft 21, the winding rope 23 is wound and unwound along with the rotation of the winding wheel 22, and the hanging and pulling piece 3 connected with the winding rope 23 pulls the filter plate 4, so that the position of the filter plate 4 in the vertical direction is changed. When the plating solution is exposed from the top of the filter plate 4, the worker can take away the workpiece after the plating.
The top of the electroplating pool 1 is connected with a plurality of auxiliary pieces 6, the auxiliary pieces 6 are close to the opening of the electroplating pool 1, and one auxiliary piece 6 corresponds to one winding rope 23. The auxiliary member 6 includes gyro wheel 61, roller 62 and two risers 63, and there is the interval between two risers 63 bottom fixed connection in 1 tops of electroplating bath, and wherein one end of roller 62 is rotated and is connected in one of them riser 63 side, and the other end of roller 62 is rotated and is connected in the side of another riser 63, and roller 62 is the level setting. The roller 61 is sleeved and fixedly connected to the outer wall of the roller 62, and the winding rope 23 is sleeved on the outer wall of the roller 61. The rolling rope 23 slides on the surface of the roller 61, the rolling rope 23 is elevated, the contact between the rolling rope 23 and the top and the inner side wall of the electroplating pool 1 is reduced, meanwhile, the friction between the rolling rope 23 and the electroplating pool 1 when being folded and unfolded is also reduced, and the service life of the rolling rope 23 is prolonged.
Referring to fig. 1 and 2, the lifting and pulling element 3 comprises a circular ring 31 and a matching hook 32, and one end of the winding rope 23 far away from the winding wheel 22 is fixedly connected with the circular ring 31. A plurality of screw hole has been seted up at 4 tops of filter, and a screw hole corresponds a cooperation hook 32, and wherein one end threaded connection of cooperation hook 32 corresponds screw hole department in filter 4, and the kink of cooperation hook 32 is located to ring 31 cover, and the other end of cooperation hook 32 supports tightly with 4 tops of filter. When the connection between the ring 31 and the matching hook 32 needs to be locked, the ring 31 is sleeved on the matching hook 32, then the matching hook 32 is rotated, so that the end part of the matching hook 32 is tightly abutted against the top of the filter plate 4, and at the moment, the ring 31 cannot be easily separated from the matching hook 32. When it is desired to separate the engagement hook 32 from the ring 31, the engagement hook 32 is turned so that a space exists between its end and the top of the filter plate 4, and the ring 31 is separated from the engagement hook 32 from the above space.
Referring to fig. 1, guide grooves 12 are respectively formed in four side surfaces of an electroplating pool 1, the guide grooves 12 are vertically arranged, and the guide grooves 12 penetrate through the top of the electroplating pool 1. Four sides of the filter plate 4 are fixedly connected with guide blocks 41 respectively, one guide block 41 corresponds to one guide groove 12, and the guide blocks 41 are slidably connected with the corresponding guide grooves 12.
The top of the electroplating pool 1 is connected with a plurality of hanging-plating parts 7, two dovetail grooves 13 are formed in the top of the electroplating pool 1, a space exists between the two dovetail grooves 13, the dovetail grooves 13 are horizontally arranged, and the groove wall of one end of each dovetail groove 13 is communicated with the outer side face of the electroplating pool 1. The hanging and plating piece 7 comprises a cross rod 71 and two vertical rods 72, wherein one vertical rod 72 corresponds to one dovetail groove 13, the bottom of the vertical rod 72 is matched with the dovetail groove 13, the vertical rod 72 is inserted and connected in the dovetail groove 13 in a sliding manner, one end of the cross rod 71 is fixedly connected to one side surface of the vertical rod 72, and the other end of the cross rod 71 is fixedly connected to the other side surface of the vertical rod 72. The cross rod 71 is detachably connected with a plurality of connecting wires 73 for binding the workpiece, the worker binds the workpiece by using the connecting wires 73, then the connecting wires 73 are bound on the cross rod 71, then the vertical rods 72 slide into the dovetail grooves 13, and at the moment, the workpiece is soaked in the electroplating pool 1 for electroplating. After the electroplating is finished, the connecting wire 73 is pulled or the suspension plating piece 7 slides out of the dovetail groove 13, and the workpiece is separated from the electroplating pool 1.
A plurality of threaded positioning holes 14 are formed in the groove wall of the dovetail groove 13, the threaded positioning holes 14 penetrate through the outer side wall of the electroplating pool 1, and the threaded positioning holes 14 are arranged on the groove wall of the dovetail groove 13 at equal intervals. The electroplating pool 1 is in threaded connection with a plurality of bolts 8 corresponding to the threaded positioning holes 14, one vertical rod 72 corresponds to one bolt 8, and the end part of each bolt 8 abuts against the side surface of the corresponding vertical rod 72.
The implementation principle of the cleaning type metal surface treatment device in the embodiment of the application is as follows: driving motor 5 rotates pivot 21, and the rotation of wind-up wheel 22 drives it and packs up and receive rope 23 to pull up filter 4, make filter 4 and plating solution separation, the staff puts the work piece at 4 tops of filter, then driving motor 5 once more, put into the plating solution filter 4. In addition, the cross rod 71 can be provided with a corresponding connecting wire 73, then a workpiece is bound on the connecting wire 73, the vertical rod 72 slides into the corresponding dovetail groove 13, after the vertical rod is moved to the corresponding position, the bolt 8 is tightly abutted against the side surface of the vertical rod 72, the position of the whole hanging and plating piece 7 is fixed, and the workpiece is soaked in the electroplating solution; after the electroplating is finished, the connecting wire 73 is pulled up or the suspended plating piece 7 is removed; the two modes are convenient for the workers to take and place the workpiece.
The above embodiments are preferred embodiments of the present application, and the protection scope of the present application is not limited by the above embodiments, so: all equivalent changes made according to the structure, shape and principle of the present application shall be covered by the protection scope of the present application.

Claims (8)

1.一种清洁型金属表面处理装置,其特征在于:包括电镀池(1),所述电镀池(1)顶部设置有若干个升降组件(2),沿竖直方向伸缩的所述升降组件(2)底部设置有吊拉件(3);所述电镀池(1)内滑动连接有过滤板(4),所述过滤板(4)顶部与吊拉件(3)底部连接。1. a cleaning type metal surface treatment device is characterized in that: comprise electroplating pond (1), the top of described electroplating pond (1) is provided with several lift assemblies (2), the described lift assemblies that are telescopic along the vertical direction (2) A hanging member (3) is arranged at the bottom; a filter plate (4) is slidably connected in the electroplating pool (1), and the top of the filter plate (4) is connected with the bottom of the hanging member (3). 2.根据权利要求1所述的一种清洁型金属表面处理装置,其特征在于:所述升降组件(2)包括转轴(21)、收卷轮(22)和收卷绳(23),所述电镀池(1)顶部设置有若干块支撑板(11),所述转轴(21)转动连接于支撑板(11),所述收卷轮(22)固定连接于转轴(21),所述收卷绳(23)套设于收卷轮(22),所述收卷绳(23)的其中一端与吊拉件(3)固定连接。2. A clean metal surface treatment device according to claim 1, characterized in that: the lifting assembly (2) comprises a rotating shaft (21), a winding wheel (22) and a winding rope (23), The top of the electroplating pool (1) is provided with several supporting plates (11), the rotating shaft (21) is rotatably connected to the supporting plate (11), the winding wheel (22) is fixedly connected to the rotating shaft (21), and the The winding rope (23) is sleeved on the winding wheel (22), and one end of the winding rope (23) is fixedly connected with the hanging member (3). 3.根据权利要求2所述的一种清洁型金属表面处理装置,其特征在于:所述电镀池(1)顶部设置有若干个辅助件(6),一个所述辅助件(6)对应一根收卷绳(23),所述辅助件(6)包括滚轮(61)、滚轴(62)和若干块竖板(63),所述竖板(63)底部连接于电镀池(1)顶部,所述滚轴(62)转动连接于竖板(63),所述滚轮(61)固定连接于滚轴(62)外壁,所述收卷绳(23)套设在滚轮(61)外。3. A cleaning type metal surface treatment device according to claim 2, characterized in that: the top of the electroplating pool (1) is provided with a plurality of auxiliary parts (6), and one auxiliary part (6) corresponds to one auxiliary part (6). A winding rope (23), the auxiliary member (6) includes a roller (61), a roller (62) and several vertical plates (63), the bottom of the vertical plate (63) is connected to the electroplating pool (1) At the top, the roller (62) is rotatably connected to the vertical plate (63), the roller (61) is fixedly connected to the outer wall of the roller (62), and the winding rope (23) is sleeved outside the roller (61). . 4.根据权利要求2所述的一种清洁型金属表面处理装置,其特征在于:所述吊拉件(3)包括圆环(31)和配合钩(32),所述收卷绳(23)远离收卷轮(22)的一端与圆环(31)连接;所述过滤板(4)顶部设置有若干个螺纹孔,一个所述螺纹孔对应一个配合钩(32),所述配合钩(32)的其中一端螺纹连接于过滤板(4),所述配合钩(32)的另一端与过滤板(4)顶部连接,所述圆环(31)套设于配合钩(32)。4. A cleaning type metal surface treatment device according to claim 2, characterized in that: the lifting member (3) comprises a ring (31) and a matching hook (32), and the winding rope (23) ) one end away from the winding wheel (22) is connected with the ring (31); the top of the filter plate (4) is provided with a number of threaded holes, one of the threaded holes corresponds to a matching hook (32), and the matching hook One end of (32) is threadedly connected to the filter plate (4), the other end of the matching hook (32) is connected to the top of the filter plate (4), and the ring (31) is sleeved on the matching hook (32). 5.根据权利要求1所述的一种清洁型金属表面处理装置,其特征在于:所述电镀池(1)内侧面开设有若干个竖直的导向槽(12),所述过滤板(4)侧边固定连接有若干个导向块(41),所述导向块(41)滑动连接于对应的导向槽(12)。5. A cleaning type metal surface treatment device according to claim 1, characterized in that: a plurality of vertical guide grooves (12) are provided on the inner side of the electroplating pool (1), and the filter plate (4) ) sides are fixedly connected with a plurality of guide blocks (41), and the guide blocks (41) are slidably connected to the corresponding guide grooves (12). 6.根据权利要求1所述的一种清洁型金属表面处理装置,其特征在于:所述电镀池(1)顶部设置有若干个吊镀件(7),所述电镀池(1)顶部开设有两条相对设置的燕尾槽(13);所述吊镀件(7)包括横杆(71)和两根竖杆(72),一根所述竖杆(72)对应一条燕尾槽(13),所述竖杆(72)滑动连接于燕尾槽(13),所述横杆(71)与两根竖杆(72)连接,所述横杆(71)可拆卸连接有若干条用于绑定工件的连接线(73)。6. A kind of cleaning type metal surface treatment device according to claim 1 is characterized in that: the top of described electroplating pool (1) is provided with several hanging plating pieces (7), and the top of described electroplating pool (1) is provided with There are two oppositely arranged dovetail grooves (13); the hanging plating piece (7) comprises a horizontal bar (71) and two vertical bars (72), one of the vertical bars (72) corresponds to a dovetail groove (13) ), the vertical rod (72) is slidably connected to the dovetail groove (13), the horizontal rod (71) is connected with two vertical rods (72), and the horizontal rod (71) is detachably connected with several strips for The connecting line (73) of the binding artifact. 7.根据权利要求6所述的一种清洁型金属表面处理装置,其特征在于:所述燕尾槽(13)槽壁开设有若干个螺纹定位孔(14),所述螺纹定位孔(14)穿设于电镀池(1)侧壁,所述电镀池(1)对应螺纹定位孔(14)处连接有螺栓(8),所述螺栓(8)的端部抵紧竖杆(72)。7. A cleaning type metal surface treatment device according to claim 6, characterized in that: the groove wall of the dovetail groove (13) is provided with a plurality of threaded positioning holes (14), and the threaded positioning holes (14) A bolt (8) is connected to the electroplating pool (1) corresponding to the threaded positioning hole (14), and the end of the bolt (8) is pressed against the vertical rod (72). 8.根据权利要求2所述的一种清洁型金属表面处理装置,其特征在于:所述电镀池(1)顶部设置有若干个驱动件,一个所述驱动件对应一根转轴(21),所述转轴(21)与用于使其转动的驱动件连接。8. A cleaning type metal surface treatment device according to claim 2, characterized in that: the top of the electroplating pool (1) is provided with a plurality of driving parts, and one of the driving parts corresponds to a rotating shaft (21), The rotating shaft (21) is connected with a driving member for rotating it.
CN202022976884.8U 2020-12-08 2020-12-08 A clean metal surface treatment device Expired - Fee Related CN213835589U (en)

Priority Applications (1)

Application Number Priority Date Filing Date Title
CN202022976884.8U CN213835589U (en) 2020-12-08 2020-12-08 A clean metal surface treatment device

Applications Claiming Priority (1)

Application Number Priority Date Filing Date Title
CN202022976884.8U CN213835589U (en) 2020-12-08 2020-12-08 A clean metal surface treatment device

Publications (1)

Publication Number Publication Date
CN213835589U true CN213835589U (en) 2021-07-30

Family

ID=76997805

Family Applications (1)

Application Number Title Priority Date Filing Date
CN202022976884.8U Expired - Fee Related CN213835589U (en) 2020-12-08 2020-12-08 A clean metal surface treatment device

Country Status (1)

Country Link
CN (1) CN213835589U (en)

Similar Documents

Publication Publication Date Title
CN112795975B (en) Chromium plating production line and production process applied to same
CN110804719B (en) Lifting appliance for hot galvanizing
CN112779589B (en) A kind of high-efficiency galvanizing rack plating production line and its process
CN116732590A (en) Electroplating device and electroplating process thereof
CN117166029B (en) Rust-proof automatic coating device for machining pin shaft of loading machine
CN206982417U (en) A flat polishing equipment for electroplating
CN213835589U (en) A clean metal surface treatment device
CN112226716B (en) Hot galvanizing suspension device
CN221459691U (en) Hot galvanizing zinc plating device
CN211034931U (en) Rail moving device for hoisting plate girder
CN220643311U (en) Electrode electroplating device
CN214991968U (en) Auxiliary device is electroplated on sheet metal surface
CN215925119U (en) Full-automatic gantry type E-shaped electroplating production line
CN211324117U (en) Decorative lamp showing stand
CN213266656U (en) Turbidity-resistant acid-resistant galvanizing device
CN205313707U (en) Electroplating production line titanium basket installation device
CN211546711U (en) Swing mechanism for electroplating
CN218372598U (en) Automatic lower hanging machine for electroplating pull head
CN210030945U (en) Machining equipment for cross-recessed pan head self-tapping screw assembly
CN113373487A (en) Metal plating process for mold erosion
CN219449908U (en) Work piece hanger of electrophoresis application of magnet
CN218203142U (en) An electroplating rack
CN222362179U (en) A hanger for electroplating metal parts
CN112974448A (en) Cleaning equipment for laboratory
CN223535264U (en) Clean type metal surface treatment device

Legal Events

Date Code Title Description
GR01 Patent grant
GR01 Patent grant
CF01 Termination of patent right due to non-payment of annual fee

Granted publication date: 20210730

CF01 Termination of patent right due to non-payment of annual fee