CN213832460U - Package for articles - Google Patents

Package for articles Download PDF

Info

Publication number
CN213832460U
CN213832460U CN202022799805.0U CN202022799805U CN213832460U CN 213832460 U CN213832460 U CN 213832460U CN 202022799805 U CN202022799805 U CN 202022799805U CN 213832460 U CN213832460 U CN 213832460U
Authority
CN
China
Prior art keywords
panel
flap
main
main panel
package according
Prior art date
Legal status (The legal status is an assumption and is not a legal conclusion. Google has not performed a legal analysis and makes no representation as to the accuracy of the status listed.)
Expired - Fee Related
Application number
CN202022799805.0U
Other languages
Chinese (zh)
Inventor
胡宇枫
谷育
郭静
卢思翰
Current Assignee (The listed assignees may be inaccurate. Google has not performed a legal analysis and makes no representation or warranty as to the accuracy of the list.)
Gree Electric Appliances Inc of Zhuhai
Original Assignee
Gree Electric Appliances Inc of Zhuhai
Priority date (The priority date is an assumption and is not a legal conclusion. Google has not performed a legal analysis and makes no representation as to the accuracy of the date listed.)
Filing date
Publication date
Application filed by Gree Electric Appliances Inc of Zhuhai filed Critical Gree Electric Appliances Inc of Zhuhai
Priority to CN202022799805.0U priority Critical patent/CN213832460U/en
Application granted granted Critical
Publication of CN213832460U publication Critical patent/CN213832460U/en
Expired - Fee Related legal-status Critical Current
Anticipated expiration legal-status Critical

Links

Images

Landscapes

  • Cartons (AREA)

Abstract

本实用新型公开了一种包装,包括供产品平置的主面板,主面板两侧分别设有第一侧面板和第二侧面板两侧面板,主面板一端形成底面板,底面板两端分别和两侧面板末端固接;产品的长颈部末端卡接在底面板和第一侧面板相接的角落处,产品的弯头部末端抵接在第一侧面板上,弯头部和长颈部连接处抵接在第二侧面板上。本实用新型所述的包装,成本低,且便于改装。

Figure 202022799805

The utility model discloses a package, which comprises a main panel on which products are placed horizontally, a first side panel and a second side panel are respectively provided on both sides of the main panel, one end of the main panel forms a bottom panel, and two ends of the bottom panel are respectively It is fixed with the ends of the two side panels; the end of the long neck of the product is snapped at the corner where the bottom panel and the first side panel meet, the end of the elbow part of the product abuts on the first side panel, the elbow part and the long The neck joint abuts against the second side panel. The package of the utility model has the advantages of low cost and easy modification.

Figure 202022799805

Description

Package for articles
Technical Field
The utility model belongs to the packing field especially relates to a package.
Background
Most of water purifiers in the market are provided with a plurality of accessories, mainly comprising hardware such as a water faucet and a valve, and the accessories are irregular in shape, so that great difficulty is brought to packing.
Most current purifier package assembly parts, gooseneck tap only use simple single corrugated paper box packing or adopt the cotton piece fluting buffering of pearl, only use simple single corrugated paper box packing actual drop to verify the problem that the tap warp can appear. The main water purifier with such abnormal problems has heavy weight, and falls into corners, edges and small side surfaces around.
The gooseneck faucet of the water purifier is placed in a packaging box after a pearl wool block is adopted to be provided with a shape opening, the faucet can be well protected, and multiple independent bags of accessories are placed in a foam tank or a specification rubber bag.
SUMMERY OF THE UTILITY MODEL
An object of the utility model is to provide a package to solve with high costs, unable general, be difficult to the problem of packing.
In order to achieve the above object, the specific technical solution of the package of the present invention is as follows:
a package comprises a main panel for placing a product horizontally, wherein two sides of the main panel are respectively provided with a first side panel and a second side panel, a bottom panel is formed at one end of the main panel, and two ends of the bottom panel are respectively fixedly connected with the tail ends of the two side panels.
Furthermore, the tail end of the long neck of the product is clamped at the corner where the bottom panel and the first side panel are connected, the tail end of the elbow part of the product abuts against the first side panel, and the joint of the elbow part and the long neck abuts against the second side panel.
Furthermore, the side panel is bent along the crease line to be provided with a flap, and the flap is fixedly bonded with the bottom panel.
Furthermore, a bayonet is arranged on the main panel, and the convex part of the product is clamped with the bayonet.
Furthermore, a wing plate extending out of the main panel is arranged on one side of the side panel, which is far away from the bottom panel.
Furthermore, a baffle plate is arranged on one side of the long neck part of the main panel, and the baffle plate is erected on the main panel and forms a positioning space with the adjacent panel.
Furthermore, the main panel is provided with a crease line on one side of the baffle plate, and is provided with a cut line on the other side of the baffle plate.
Furthermore, the baffle comprises a first baffle, the crease line of the first baffle is positioned on one side of the long neck part close to the second side panel, and the bottom panel, the second side panel and the first baffle enclose a first positioning space.
Furthermore, the baffle includes the second baffle, and the indentation line of second baffle is located long neck portion and is close to first side panel one side, and elbow portion, second baffle and first side panel enclose into second location space.
Furthermore, the main panel is provided with a top panel which is far away from the bottom panel and is arranged opposite to the bottom panel, a circle of baffle is formed in the center of the main panel, and the baffle is parallel to the opposite panel.
The utility model discloses a packing has following advantage: adopt integral type folding forming's paper card, solved the shape that uses purifier gooseneck tap, valve as the representative different, small in size, the integration of the many and miscellaneous accessories of quantity is placed, makes whole packing material, packing step reduce, and whole scheme is with low costs simultaneously, and the feasibility is high. Meanwhile, the package can also be used for other products with a plurality of accessories, such as a water dispenser, a dust collector and the like.
Drawings
FIG. 1 is a schematic view of the structure of a package according to example 1;
FIG. 2 is a schematic view of the structure of the package of example 2;
fig. 3 is a schematic view of the packaging structure of example 3.
The notation in the figure is:
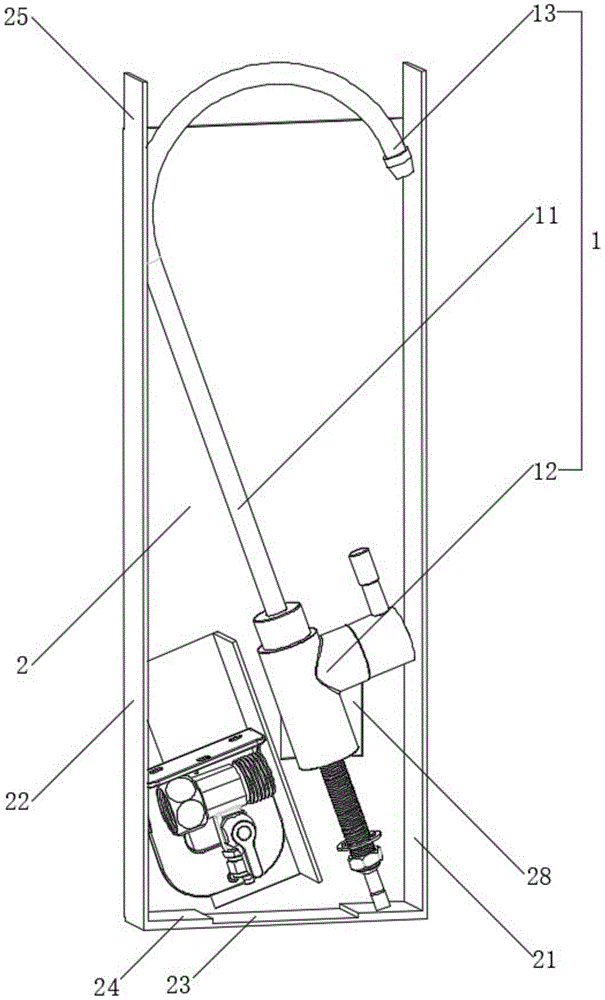
1. a gooseneck faucet; 11. a long neck; 12. a projection; 13. a bent portion; 2. a main panel; 21. a first side panel; 22. a second side panel; 23. a bottom panel; 24. a flap; 25. a wing plate; 26. a first baffle plate; 27. a second baffle; 28. a bayonet; 29. a top panel.
Detailed Description
In order to better understand the purpose, structure and function of the present invention, the following description of the present invention will be made in detail with reference to the accompanying drawings.
The utility model discloses a packing for product such as packing gooseneck tap 1. As is known, the product comprises a long neck 11. The long neck part 11 is provided with a convex part 12 such as a valve, and the tail end of the long neck part 11 is provided with an elbow part 13.
Example 1:
a package, as shown in figure 1, comprises a main panel 2 for a gooseneck faucet 1 to be horizontally arranged, two sides of the main panel 2 are respectively provided with a first side panel 21 and a second side panel 22, a bottom panel 23 is formed at one end of the main panel 2, and two ends of the bottom panel 23 are respectively fixedly connected with the tail ends of the two side panels; the tail end of the long neck part 11 of the gooseneck tap 1 is clamped at the corner where the bottom panel 23 and the first side panel 21 are connected, the tail end of the elbow part 13 of the gooseneck tap 1 abuts against the first side panel 21, and the joint of the elbow part 13 and the long neck part 11 abuts against the second side panel 22.
In order to realize the fixation of the two side panels and the bottom panel 23, the side panels are bent with flaps 24 along the crease lines, and the flaps 24 and the bottom panel 23 are fixedly bonded.
The main panel 2 is provided with a bayonet 28, and the valve part of the gooseneck faucet 1 is clamped with the bayonet 28. The side of the side panel, which is far away from the bottom panel 23, is provided with a wing panel 25 extending out of the main panel 2, and the wing panel 25 is bent along the crease line so as to facilitate the paper package to be pulled out from the box body.
Example 2:
a package, as shown in fig. 2, differs from the package of example 1 in that, in addition to the gooseneck tap 1, the various parts of the gooseneck tap 1 are packaged. Therefore, the main panel 2 is provided with a baffle plate on the long neck portion 11 side, the baffle plate stands on the main panel 2 and forms a positioning space with the adjacent panel, and the positioning space is used for placing accessories such as a three-way valve, a support plate and the like.
The main panel 2 of the main panel 1 is provided with a crease line at one side of the baffle plate, and is provided with a cut line at the other side of the baffle plate, so that the cut line cuts the baffle plate from the main panel 2, and the baffle plate is bent along the crease line and is erected on the main panel 2.
The baffle plates comprise a first baffle plate 26 and a second baffle plate 27, the crease line of the first baffle plate 26 is positioned on one side of the long neck part 11 close to the second side panel 22, and the bottom panel 23, the second side panel 22 and the first baffle plate 26 enclose a first positioning space. The crease line of the second baffle 27 is located on one side of the long neck 11 close to the first side panel 21, and the elbow part 13, the second baffle 27 and the first side panel 21 enclose a second positioning space.
In the case of the example 3, the following examples are given,
a package, as shown in fig. 3, differs from the package of embodiment 1 in that the main panel 2 is provided, away from the bottom panel 23, with a top panel 29 disposed opposite the bottom panel 23, and that the main panel 2 is centrally formed with a ring of flaps parallel to the opposite panels.
It is to be understood that the present invention has been described with reference to certain embodiments, and that various changes or equivalents may be substituted for elements thereof by those skilled in the art without departing from the spirit and scope of the invention. In addition, many modifications may be made to adapt a particular situation or material to the teachings of the invention without departing from the essential scope thereof. Therefore, the present invention is not limited to the specific embodiments disclosed herein, and all embodiments falling within the scope of the claims of the present application are intended to be covered by the present invention.

Claims (10)

1. The packaging is characterized by comprising a main panel (2) for flatly placing a product, wherein two sides of the main panel (2) are respectively provided with a first side panel (21) and a second side panel (22), a bottom panel (23) is formed at one end of the main panel (2), and two ends of the bottom panel (23) are respectively fixedly connected with the tail ends of the two side panels.
2. The packaging according to claim 1, wherein the end of the long neck (11) of the product is snapped in the corner where the bottom panel (23) meets the first side panel (21), the end of the elbow (13) of the product abuts against the first side panel (21), and the junction of the elbow (13) and the long neck (11) abuts against the second side panel (22).
3. The package according to claim 1, wherein the side panels are folded along the score lines with flaps (24), the flaps (24) being adhesively secured to the bottom panel (23).
4. The package according to claim 1, wherein the main panel (2) has a bayonet (28) formed thereon, and the projection (12) of the long neck portion (11) is engaged with the bayonet (28).
5. The package according to claim 1, wherein the side panel, remote from the bottom panel (23), is provided with a flap (25) extending beyond the main panel (2).
6. The package according to claim 1, wherein the main panel (2) is provided with a baffle plate on the side of the long neck (11), the baffle plate standing on the main panel (2) and forming a positioning space with the adjacent panel.
7. The package according to claim 5, wherein the main panel (2) is provided with a crease line on one side of the flap and a cut line on the remaining side of the flap.
8. The package of claim 6, wherein the flap comprises a first flap (26), the score line of the first flap (26) is located on a side of the elongated neck (11) adjacent to the second side panel (22), and the bottom panel (23), the second side panel (22) and the first flap (26) enclose the first positioning space.
9. The package according to claim 6, wherein the flap comprises a second flap (27), the score line of the second flap (27) being located on the side of the elongated neck (11) adjacent to the first side panel (21), the elbow portion (13), the second flap (27) and the first side panel (21) enclosing a second positioning space.
10. The package according to claim 6, wherein the main panel (2) is provided, away from the bottom panel (23), with a top panel (29) arranged opposite the bottom panel (23), the main panel (2) being centrally formed with a ring of flaps parallel to the opposite panel.
CN202022799805.0U 2020-11-28 2020-11-28 Package for articles Expired - Fee Related CN213832460U (en)

Priority Applications (1)

Application Number Priority Date Filing Date Title
CN202022799805.0U CN213832460U (en) 2020-11-28 2020-11-28 Package for articles

Applications Claiming Priority (1)

Application Number Priority Date Filing Date Title
CN202022799805.0U CN213832460U (en) 2020-11-28 2020-11-28 Package for articles

Publications (1)

Publication Number Publication Date
CN213832460U true CN213832460U (en) 2021-07-30

Family

ID=76994060

Family Applications (1)

Application Number Title Priority Date Filing Date
CN202022799805.0U Expired - Fee Related CN213832460U (en) 2020-11-28 2020-11-28 Package for articles

Country Status (1)

Country Link
CN (1) CN213832460U (en)

Similar Documents

Publication Publication Date Title
CN213832460U (en) Package for articles
CN109850309A (en) Paper card packaging structure and household appliance
CN216916644U (en) Green packing cultivated in a pot that plants
CN206375099U (en) A kind of E types packing box
CN205131842U (en) Even wrap packing carton
CN212048236U (en) A portable combined flower and green plant packaging with display function
CN223341167U (en) Packaging box with self-contained divider and hook bottom
CN208761097U (en) A kind of portable cosmetic packaging box blank
CN208963535U (en) A kind of portable packing box
CN216186789U (en) Adhesive self-bottom-buckling portable box
CN211593270U (en) Packing box lining
CN217754525U (en) Packing box (Chinese character' jiangsu
CN215795713U (en) Packing box of air conditioner split internal unit
CN213057876U (en) Double-layer packaging box
CN221820507U (en) Novel printing paper box
CN223001904U (en) Quarter grid flip packing box
CN220032659U (en) Folding split charging type food packaging box
CN209834088U (en) Fixed effectual foldable split charging mechanism
CN208842783U (en) Scooter packing box
CN216469084U (en) A hexagonal packaging box
CN221563799U (en) Variant packing carton
CN213800568U (en) A long hanging visual carton
CN209337151U (en) Convenient carton
CN216509714U (en) Double-deck elastic packaging carton
JP3163927U (en) Cardboard box

Legal Events

Date Code Title Description
GR01 Patent grant
GR01 Patent grant
CF01 Termination of patent right due to non-payment of annual fee
CF01 Termination of patent right due to non-payment of annual fee

Granted publication date: 20210730