CN213812513U - a weighing machine - Google Patents

a weighing machine Download PDF

Info

Publication number
CN213812513U
CN213812513U CN202022794746.8U CN202022794746U CN213812513U CN 213812513 U CN213812513 U CN 213812513U CN 202022794746 U CN202022794746 U CN 202022794746U CN 213812513 U CN213812513 U CN 213812513U
Authority
CN
China
Prior art keywords
medicine
weighing
drug delivery
drug
spiral
Prior art date
Legal status (The legal status is an assumption and is not a legal conclusion. Google has not performed a legal analysis and makes no representation as to the accuracy of the status listed.)
Expired - Fee Related
Application number
CN202022794746.8U
Other languages
Chinese (zh)
Inventor
武婧
蔡佳洁
胡雨晨
朱文涛
张锦华
Current Assignee (The listed assignees may be inaccurate. Google has not performed a legal analysis and makes no representation or warranty as to the accuracy of the list.)
Suzhou University
Original Assignee
Suzhou University
Priority date (The priority date is an assumption and is not a legal conclusion. Google has not performed a legal analysis and makes no representation as to the accuracy of the date listed.)
Filing date
Publication date
Application filed by Suzhou University filed Critical Suzhou University
Priority to CN202022794746.8U priority Critical patent/CN213812513U/en
Application granted granted Critical
Publication of CN213812513U publication Critical patent/CN213812513U/en
Expired - Fee Related legal-status Critical Current
Anticipated expiration legal-status Critical

Links

Images

Landscapes

  • Basic Packing Technique (AREA)

Abstract

本实用新型公开了一种称重给药机,包括储药室、水平螺旋振动装置和称重装置,所述水平螺旋振动装置包括螺旋给药盘和贴附螺旋给药盘设置的震动器,所述螺旋给药盘包括进药口、螺旋通道和出药口,所述进药口与储药室连通,所述出药口设置在称重装置的上方,所述称重装置能够预设承重阈值以及测量实时从水平螺旋振动装置中落入药品的重量,通过预设承重阈值与测量的实时重量作比较生成控制信号,并将控制信号传递给震动器。本实用新型实现药品的振动下药,控制给药的精度;采用称重装置根据预设给药值,实现定量给药,提高了药品称量的效率,在对药品称量后直接出药,不需要人工操作将称量后的药品转移。

Figure 202022794746

The utility model discloses a weighing drug delivery machine, which comprises a drug storage chamber, a horizontal spiral vibration device and a weighing device. The spiral medicine tray includes a medicine inlet, a spiral channel and a medicine outlet, the medicine inlet communicates with the medicine storage chamber, and the medicine outlet is arranged above the weighing device, and the weighing device can be preset The load-bearing threshold and the real-time measurement of the weight of the medicine dropped from the horizontal helical vibration device, the control signal is generated by comparing the preset load-bearing threshold with the measured real-time weight, and the control signal is transmitted to the vibrator. The utility model realizes the vibration dispensing of the medicine, and controls the precision of the medicine; the weighing device is adopted to realize the quantitative medicine according to the preset medicine value, which improves the medicine weighing efficiency, and the medicine is directly dispensed after the medicine is weighed, and the medicine is not dispensed directly. Manual operation is required to transfer the weighed medicines.

Figure 202022794746

Description

Weighing medicine feeder
Technical Field
The utility model relates to a medicine is weighed and is dosed equipment field, concretely relates to machine of dosing weighs.
Background
In the laboratory, need use the experiment medicine in ration according to the experiment requirement, consequently need take out the experiment medicine and use weighing equipment to weigh, in the long-term experimentation, discover the defect:
when an experiment is carried out, more than ten kinds of medicines are possibly needed to be used, the same medicine needs to be weighed for multiple times for use, the medicine weighing times are multiple, the weighing process is complex, and more time is consumed in the experiment due to weighing;
disclosure of Invention
The to-be-solved technical problem of the utility model is to provide a machine of dosing of weighing can realize weighing supply of medicine to adopt the mode of vibration to give medicine, realize dosing.
In order to solve the technical problem, the utility model provides a machine of dosing weighs, including medicine storage chamber, horizontal spiral vibrating device and weighing device, horizontal spiral vibrating device includes that the spiral gives the electromagnetic shaker that the batch pan set up with attached spiral, the spiral is given the batch pan and is included into medicine mouth, helical coiled passage and play medicine mouth, it communicates with medicine storage chamber to advance the medicine mouth, it sets up the top at weighing device to go out the medicine mouth, weighing device can predetermine the bearing threshold value and measure the weight that falls into the medicine in real time from horizontal spiral vibrating device, makes comparison generation control signal through predetermineeing the bearing threshold value and measuring real-time weight to give the electromagnetic shaker with control signal transmission.
The utility model discloses a preferred embodiment, further include the weighing device includes weighing platform, weighing sensor and control system, the weighing platform is used for bearing the medicine that falls into from horizontal spiral vibrating device, weighing sensor sets up the below at the weighing platform, including threshold value setting module, threshold value comparison module, signalling module in the control system.
The utility model discloses a preferred embodiment, further include the medicine conveying device, the medicine conveying device sets up in horizontal spiral vibrating device below, the medicine conveying device includes the medicine conveying box and sets up the medicine screw rod that send in the medicine conveying box, weighing device sets up the bottom of medicine conveying box.
The utility model discloses a preferred embodiment, further include one side of sending the medicine screw rod is connected with and send the medicine motor, send the rotational speed of medicine motor to divide into fast, medium speed, slow three fender.
The utility model discloses a preferred embodiment, further include spiral medicine feeding disk and send medicine device between set up and send the medicine pipeline to be provided with the valve of dosing.
The utility model discloses a preferred embodiment, further include the upper and lower both ends of medicine storage chamber are provided with medicine storage chamber and enter medicine mouth and medicine storage chamber play medicine mouth respectively, medicine storage chamber enters medicine mouth department and is provided with the bin gate of upset, medicine storage chamber play medicine mouth and the spiral give medicine tray advance medicine mouth intercommunication.
In a preferred embodiment of the present invention, the spiral medicine feeding plate further comprises a spiral channel extending from the medicine inlet to the medicine outlet and gradually narrowing.
The utility model discloses a preferred embodiment, further include quick-witted case be provided with a plurality of independent medicine rooms, horizontal spiral vibrating device, weighing device and send the medicine device in the machine case, be provided with on the machine case with the medicine hole of advancing of medicine room intercommunication and the play medicine hole that send the medicine device intercommunication to and the operation control cabinet with horizontal spiral vibrating device, weighing device and send medicine device electricity intercommunication respectively, be provided with operating button and display screen on the operation control cabinet.
The utility model has the advantages that:
the utility model adopts the horizontal spiral vibration device to realize the vibration medicine feeding of the medicine, realizes the medicine feeding switch by controlling the switch of the vibrator, and controls the medicine feeding precision; adopt weighing device according to predetermineeing the value of dosing, realize the ration and dose, improved the efficiency that the medicine was weighed to directly go out the medicine after weighing the medicine, do not need manual operation to shift the medicine after weighing.
Drawings
FIG. 1 is a schematic view of the internal structure of the weighing medicine feeder of the present invention;
fig. 2 is an external structure schematic diagram of the weighing medicine feeder of the present invention.
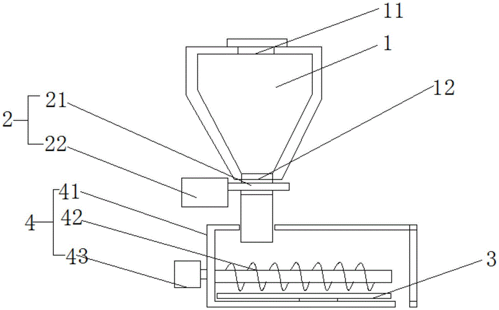
The reference numbers in the figures illustrate: 1. a medicine storage chamber; 11. a medicine inlet of the medicine storage chamber; 12. a medicine outlet of the medicine storage chamber; 2. a horizontal spiral vibration device; 21. a spiral dosing tray; 22. a vibrator; 3. a weighing device; 4. a drug delivery device; 41. a medicine delivery box; 42. a medicine feeding screw rod; 43. a medicine feeding motor; 5. a chassis; 51. a medicine inlet hole; 52. a medicine outlet hole; 53. the console is operated.
Detailed Description
The present invention is further described with reference to the following drawings and specific embodiments so that those skilled in the art can better understand the present invention and can implement the present invention, but the embodiments are not to be construed as limiting the present invention.
Referring to fig. 1, an embodiment of the weighing and dosing machine of the present invention comprises a medicine storage chamber 1, a horizontal spiral vibration device 2 and a weighing device 3, wherein the horizontal spiral vibration device 2 comprises a spiral medicine feeding tray 21 and a vibrator 22 attached to the spiral medicine feeding tray 21, the vibrator 22 vibrates after being communicated with a power supply to transmit vibration to the spiral medicine feeding tray 21, the spiral medicine feeding tray 21 is horizontally arranged, under the static condition of the vibrator 22, medicines in the spiral medicine feeding tray 21 are also in a static state, under the vibration condition of the vibrator 22, the spiral medicine feeding tray 21 vibrates along with the vibrator, the medicines fall from the spiral medicine feeding tray 21 due to vibration, the spiral medicine feeding tray 21 comprises a medicine inlet, a spiral channel and a medicine outlet, the medicine inlet is communicated with the medicine storage chamber 1, the medicine outlet is arranged above the weighing device 3, and the medicine outlet is not connected with the weighing device 3, guarantee weighing device 3 not influenced by the vibration, weighing device 3 can predetermine the bearing threshold value and measure the weight that falls into the medicine in real time from horizontal spiral vibrating device, and through predetermine the bearing threshold value and compare with the real-time weight of measurement and generate control signal to give electromagnetic shaker 22 with control signal transmission.
Specifically, the upper and lower both ends of medicine storage chamber 1 are provided with medicine storage chamber and advance medicine mouth 11 and medicine storage chamber play medicine mouth 12 respectively, medicine storage chamber advances medicine mouth 11 department and is provided with the bin gate of upset, medicine storage chamber goes out medicine mouth 12 and the spiral and gives the medicine inlet intercommunication of batch pan 21, advances medicine mouth 11 through medicine storage chamber and adds the medicine in to medicine storage chamber 1.
Specifically, weighing device 3 includes weighing platform, weighing sensor and control system, weighing platform is used for bearing the medicine that falls into from horizontal spiral vibrating device, weighing sensor sets up the below at weighing platform, including threshold value setting module, threshold value comparison module, signal emission module in the control system, according to the experiment demand input predetermined value of dosing in threshold value setting module, detect actual value of dosing through weighing sensor, threshold value comparison module compares threshold value comparison module and actual value of dosing, when actual value of dosing is less than predetermined value of dosing, signal emission module is to the electromagnetic shaker conveying turn-on signal, when actual value of dosing equals predetermined value of dosing, signal emission module electromagnetic shaker conveying turn-off signal.
In the present embodiment, the medicine feeder 4 is further provided, the medicine feeder 4 is provided below the horizontal screw vibration device 2, the medicine feeder 4 includes a medicine feeding box 41 and a medicine feeding screw 42 provided in the medicine feeding box 41, the weighing device 3 is provided at the bottom of the medicine feeding box 41, and medicines falling from the horizontal screw vibration device 2 enter the medicine feeding box 41 of the medicine feeder 4 and fall on the weighing device 3 at the bottom of the medicine feeding box 41.
Specifically, one side of the medicine feeding screw rod 42 is connected with a medicine feeding motor 43, the rotating speed of the medicine feeding motor 43 is divided into three stages of high speed, medium speed and low speed, and the medicine feeding speed of the medicine feeding device 4 can be adjusted by controlling the rotating speed of the medicine feeding motor 43.
In weighing device 3, when the actual value of dosing that measures reached preset value of dosing, electromagnetic shaker 22 stopped vibrations, in order to guarantee under the circumstances that electromagnetic shaker 22 closed, can not have the medicine to fall into from spiral dosing tray 21 and send device 4, spiral dosing tray 21 and send and set up between the device 4 and send the medicine pipeline, send the medicine pipeline to fix on spiral dosing tray 21 and send device 4 to disconnect from, hang in the top of the medicine inlet of sending device 4 send the device 4 to send and be provided with the valve of dosing on the medicine pipeline, through the switch of control valve of dosing to the switch of control pipeline of sending medicine.
Specifically, in order to accurately control the dosage, the spiral dosing tray 21 gradually narrows from the medicine inlet to the medicine outlet, so as to prevent the medicine outlet from vibrating to cause too large dosage.
Referring to fig. 2, in order to achieve weighing of multiple drugs simultaneously by the administration machine of the embodiment, the administration machine further includes a case 5, a plurality of independent drug storage chambers 1, a horizontal spiral vibration device 2, a weighing device 3 and a drug delivery device 4 are arranged in the case 5, a drug inlet hole 51 communicated with each independent drug storage chamber 1 and a drug outlet hole 52 communicated with each independent drug delivery device 4 are arranged on the case 5, and an operation console 53 respectively electrically communicated with the independent horizontal spiral vibration device 2, the weighing device 3 and the drug delivery device 4 is arranged on the case 5, an operation button and a display screen are arranged on the operation console 53, and the plurality of independent drug storage chambers 1, the horizontal spiral vibration device 2, the weighing device 3 and the drug delivery device 4 are respectively connected with different operation consoles 53 and work simultaneously without affecting each other.
The above-mentioned embodiments are merely preferred embodiments for fully illustrating the present invention, and the scope of the present invention is not limited thereto. Equivalent substitutes or changes made by the technical personnel in the technical field on the basis of the utility model are all within the protection scope of the utility model. The protection scope of the present invention is subject to the claims.

Claims (8)

1.一种称重给药机,其特征在于,包括储药室、水平螺旋振动装置和称重装置,所述水平螺旋振动装置包括螺旋给药盘和贴附螺旋给药盘设置的震动器,所述螺旋给药盘包括进药口、螺旋通道和出药口,所述进药口与储药室连通,所述出药口设置在称重装置的上方,所述称重装置能够预设承重阈值以及测量实时从水平螺旋振动装置中落入药品的重量,通过预设承重阈值与测量的实时重量作比较生成控制信号,并将控制信号传递给震动器。1. a weighing drug delivery machine, is characterized in that, comprises medicine storage chamber, horizontal spiral vibration device and weighing device, and described horizontal spiral vibration device comprises the vibrator that spiral drug delivery disk and the attachment screw drug delivery disk are provided with , the spiral dosing disc includes a medicine inlet, a spiral channel and a medicine outlet, the medicine inlet is communicated with the medicine storage chamber, and the medicine outlet is arranged above the weighing device, and the weighing device can pre- Set the load-bearing threshold and measure the real-time weight of the medicine dropped from the horizontal helical vibration device, generate a control signal by comparing the preset load-bearing threshold with the measured real-time weight, and transmit the control signal to the vibrator. 2.如权利要求1所述的称重给药机,其特征在于,所述称重装置包括称重台、称重传感器和控制系统,所述称重台用于承载从水平螺旋振动装置中落入的药品,所述称重传感器设置在称重台的下方,所述控制系统内包括阈值设定模块、阈值比较模块、信号发射模块。2. The weighing drug delivery machine according to claim 1, wherein the weighing device comprises a weighing platform, a load cell and a control system, and the weighing platform is used to carry the load from the horizontal helical vibration device. For fallen medicines, the weighing sensor is arranged below the weighing platform, and the control system includes a threshold value setting module, a threshold value comparison module, and a signal emission module. 3.如权利要求1所述的称重给药机,其特征在于,还包括送药装置,所述送药装置设置在水平螺旋振动装置下方,所述送药装置包括送药箱和设置在送药箱中的送药螺杆,所述称重装置设置在所述送药箱的底部。3. The weighing drug delivery machine according to claim 1, further comprising a drug delivery device, the drug delivery device is arranged below the horizontal helical vibration device, and the drug delivery device comprises a drug delivery box and a The medicine delivery screw in the medicine delivery box, and the weighing device is arranged at the bottom of the medicine delivery box. 4.如权利要求3所述的称重给药机,其特征在于,所述送药螺杆的一侧连接有送药电机,所述送药电机的转速分为快速、中速、慢速三挡。4. The weighing drug delivery machine according to claim 3, wherein a drug feeding motor is connected to one side of the drug feeding screw, and the rotation speed of the drug feeding motor is divided into three categories: fast, medium and slow. block. 5.如权利要求3所述的称重给药机,其特征在于,所述螺旋给药盘与送药装置之间设置送药管道,在所述送药管道上设置有给药阀。5 . The weighing drug delivery machine according to claim 3 , wherein a drug delivery pipeline is set between the screw drug delivery disc and the drug delivery device, and a drug delivery valve is provided on the drug delivery pipeline. 6 . 6.如权利要求1所述的称重给药机,其特征在于,所述储药室的上下两端分别设置有储药室进药口和储药室出药口,所述储药室进药口处设置有翻转的仓门,所述储药室出药口与螺旋给药盘的进药口连通。6. The weighing drug delivery machine according to claim 1, wherein the upper and lower ends of the medicine storage room are respectively provided with a medicine storage room medicine inlet and a medicine storage room medicine outlet, and the medicine storage room The medicine inlet is provided with an overturned warehouse door, and the medicine outlet of the medicine storage chamber is communicated with the medicine inlet of the spiral medicine plate. 7.如权利要求1所述的称重给药机,其特征在于,所述螺旋给药盘从进药口向出药口方向延伸的螺旋通道逐渐变窄。7 . The weighing drug delivery machine according to claim 1 , wherein the spiral channel extending from the drug inlet to the drug outlet direction of the screw drug drug disk gradually narrows. 8 . 8.如权利要求3所述的称重给药机,其特征在于,还包括机箱,在所述机箱内设置有多个独立的储药室、水平螺旋振动装置、称重装置和送药装置,所述机箱上设置有与储药室连通的进药孔和送药装置连通的出药孔,以及分别与水平螺旋振动装置、称重装置和送药装置电连通的操作控制台,所述操作控制台上设置有操控按钮和显示屏。8. The weighing drug delivery machine according to claim 3, characterized in that, further comprising a case, in which a plurality of independent drug storage rooms, a horizontal spiral vibration device, a weighing device and a drug delivery device are arranged The case is provided with a medicine inlet hole that communicates with the medicine storage chamber and a medicine outlet hole that communicates with the medicine delivery device, and an operation console that is electrically connected to the horizontal helical vibration device, the weighing device and the medicine delivery device, respectively. The operation console is provided with control buttons and a display screen.
CN202022794746.8U 2020-11-27 2020-11-27 a weighing machine Expired - Fee Related CN213812513U (en)

Priority Applications (1)

Application Number Priority Date Filing Date Title
CN202022794746.8U CN213812513U (en) 2020-11-27 2020-11-27 a weighing machine

Applications Claiming Priority (1)

Application Number Priority Date Filing Date Title
CN202022794746.8U CN213812513U (en) 2020-11-27 2020-11-27 a weighing machine

Publications (1)

Publication Number Publication Date
CN213812513U true CN213812513U (en) 2021-07-27

Family

ID=76939890

Family Applications (1)

Application Number Title Priority Date Filing Date
CN202022794746.8U Expired - Fee Related CN213812513U (en) 2020-11-27 2020-11-27 a weighing machine

Country Status (1)

Country Link
CN (1) CN213812513U (en)

Similar Documents

Publication Publication Date Title
CN201033636Y (en) Chinese medicine automatic weighing and dispensing system
CN206476138U (en) A kind of powder mixed bag assembling device
KR920701795A (en) Device for quantitative measurement of fluids and its measuring method and its application
CN107673083A (en) Screw type material feeding device and its controller based on variable rate learning
CN204623859U (en) There is the rotary grid feeder of quantifying feed and crawl feed supplement function
JPS6250624A (en) Device and method of feeding granular material, such as coaland other bulk material
CN213812513U (en) a weighing machine
CN107512597A (en) The more component material baiting methods of screw based on variable Rate study
US11971292B2 (en) Combinatorial weighing device
WO2022105765A1 (en) Multi-rice-bin feeding device and feeding method therefor
CN107812550A (en) One kind rice huller paddy husk rice all-in-one
US12269631B2 (en) Concentrate filling system
CN206569298U (en) Automatic Combined scale device
JP2010164370A (en) Semi-automatic combination balance
JP4576136B2 (en) Multistage shutter type weighing damper device and material supply device using the same
CN201580586U (en) Automatic packaging system for hot pot fried ingredients
JPS5991315A (en) Weigher
CN108996261A (en) The automatic feeding storehouse of new-energy automobile magnet steel feed proportioning equipment
CN203439280U (en) Automatic Chinese herbal medicine powder filling device
CN207123321U (en) Automatic device of making up the prescription
CN104807525B (en) A kind of high-precision Weightlessness balance
CN100593108C (en) Combined scale
CN209117148U (en) A kind of electronic scale facilitating injection particles capsule
CN206683744U (en) Mix scale
CN212307401U (en) Automatic dispensing cabinet for common bulk traditional Chinese medicine decoction pieces

Legal Events

Date Code Title Description
GR01 Patent grant
GR01 Patent grant
CF01 Termination of patent right due to non-payment of annual fee
CF01 Termination of patent right due to non-payment of annual fee

Granted publication date: 20210727