CN213804611U - Paper-making meshes belt cleaning device - Google Patents
Paper-making meshes belt cleaning device Download PDFInfo
- Publication number
- CN213804611U CN213804611U CN202022213570.2U CN202022213570U CN213804611U CN 213804611 U CN213804611 U CN 213804611U CN 202022213570 U CN202022213570 U CN 202022213570U CN 213804611 U CN213804611 U CN 213804611U
- Authority
- CN
- China
- Prior art keywords
- cleaning
- scraper
- cleaning roller
- nozzle
- collecting tank
- Prior art date
- Legal status (The legal status is an assumption and is not a legal conclusion. Google has not performed a legal analysis and makes no representation as to the accuracy of the status listed.)
- Expired - Fee Related
Links
- 238000004140 cleaning Methods 0.000 title claims abstract description 127
- XLYOFNOQVPJJNP-UHFFFAOYSA-N water Substances O XLYOFNOQVPJJNP-UHFFFAOYSA-N 0.000 claims abstract description 33
- 238000005406 washing Methods 0.000 claims description 15
- 239000000463 material Substances 0.000 claims description 5
- VYPSYNLAJGMNEJ-UHFFFAOYSA-N Silicium dioxide Chemical compound O=[Si]=O VYPSYNLAJGMNEJ-UHFFFAOYSA-N 0.000 claims description 4
- -1 polytetrafluoroethylene Polymers 0.000 claims description 4
- 229920001343 polytetrafluoroethylene Polymers 0.000 claims description 4
- 239000004810 polytetrafluoroethylene Substances 0.000 claims description 4
- 239000000741 silica gel Substances 0.000 claims description 4
- 229910002027 silica gel Inorganic materials 0.000 claims description 4
- 230000002000 scavenging effect Effects 0.000 claims description 3
- 238000000034 method Methods 0.000 abstract description 8
- 230000008569 process Effects 0.000 abstract description 8
- 230000000694 effects Effects 0.000 abstract description 4
- 239000012535 impurity Substances 0.000 description 12
- 239000010410 layer Substances 0.000 description 4
- 238000006467 substitution reaction Methods 0.000 description 3
- 230000009471 action Effects 0.000 description 2
- 238000012986 modification Methods 0.000 description 2
- 230000004048 modification Effects 0.000 description 2
- RYGMFSIKBFXOCR-UHFFFAOYSA-N Copper Chemical compound [Cu] RYGMFSIKBFXOCR-UHFFFAOYSA-N 0.000 description 1
- 238000010521 absorption reaction Methods 0.000 description 1
- 238000000889 atomisation Methods 0.000 description 1
- 230000009286 beneficial effect Effects 0.000 description 1
- 238000010276 construction Methods 0.000 description 1
- 229910052802 copper Inorganic materials 0.000 description 1
- 239000010949 copper Substances 0.000 description 1
- 239000000835 fiber Substances 0.000 description 1
- 239000003292 glue Substances 0.000 description 1
- 230000005484 gravity Effects 0.000 description 1
- 230000006872 improvement Effects 0.000 description 1
- 230000000737 periodic effect Effects 0.000 description 1
- 239000004033 plastic Substances 0.000 description 1
- 229920003023 plastic Polymers 0.000 description 1
- 229920000728 polyester Polymers 0.000 description 1
- 230000001737 promoting effect Effects 0.000 description 1
- 239000007921 spray Substances 0.000 description 1
- 229910001220 stainless steel Inorganic materials 0.000 description 1
- 239000010935 stainless steel Substances 0.000 description 1
- 239000000126 substance Substances 0.000 description 1
- 239000002344 surface layer Substances 0.000 description 1
Images
Landscapes
- Paper (AREA)
Abstract
The utility model discloses a paper-making net cleaning device, belonging to the field of paper-making equipment, comprising a bracket crossing over a paper-making net, wherein two cleaning rollers arranged in parallel are sequentially fixed on the bracket through support columns, the cleaning rollers are provided with driving motors, and the cleaning rollers comprise a cleaning roller I and a cleaning roller II; the papermaking net sequentially passes through the upper surface of the cleaning roller I and the lower surface of the cleaning roller II along the advancing direction; the cleaning roller I is provided with a scraper which is in contact with the outer surface of the left side of the cleaning roller I along the length direction, the cleaning roller II is provided with a scraper which is in contact with the outer surface of the right side of the cleaning roller II along the length direction, the scraper is sequentially connected with a scraper seat and a collecting tank, a cleaning water pipe is connected above the collecting tank along the length direction of the scraper, nozzles I and nozzles II are arranged on the cleaning water pipe at intervals, and an outlet of the collecting tank is communicated with a collecting tank; the cleaning device of the scheme is simple in cleaning process and good in cleaning effect.
Description
Technical Field
The utility model relates to a papermaking equipment field, specificly relate to a paper-making meshes belt cleaning device.
Background
The paper-making meshes is the important accessory in the papermaking equipment, play the key role to the paper quality, can divide into paper-making copper net according to the material difference, stainless steel paper-making meshes, plastics paper-making meshes, polyester paper-making meshes, in the use, partly remaining paper material, the fibre, impurity etc. easily adhere to in the mesh of paper-making meshes, influence follow-up paper-making quality, consequently, need to carry out periodic cleaning to paper-making meshes, paper-making meshes are mostly high pressure water pipe manual washing among the prior art, the clearance process is wasted time and energy, and the easy problem that washs not thorough exists, and the process that partial automatic control's spray pipe washed, it remains to exist impurity equally after the washing, wash not thorough scheduling problem, influence the use of paper-making meshes and then influence the paper quality, consequently, need to design a washing process simply, wash thorough paper-making meshes belt cleaning device urgently.
SUMMERY OF THE UTILITY MODEL
Not enough to prior art, the to-be-solved technical problem of the utility model is to provide a simple process and cleaning performance are good paper-making meshes cleaning equipment.
In order to solve the above problem, the utility model provides a following technical scheme: a paper-making mesh cleaning device comprises a support crossing over a paper-making mesh, wherein two cleaning rollers arranged in parallel are sequentially fixed on the support through support columns, the cleaning rollers are provided with driving motors, and each cleaning roller comprises a cleaning roller I and a cleaning roller II; the papermaking net sequentially passes through the upper surface of the cleaning roller I and the lower surface of the cleaning roller II along the advancing direction; the cleaning roller I is provided with a scraper which is in contact with the outer surface of the left side of the cleaning roller I along the length direction, the cleaning roller II is provided with a scraper which is in contact with the outer surface of the right side of the cleaning roller II along the length direction, the scraper is sequentially connected with a scraper seat and a collecting tank, the collecting tank is arranged in parallel with the scraper, a cleaning water pipe is connected above the collecting tank along the length direction of the scraper, the cleaning water pipe is communicated with a cleaning pump through a pipeline, a nozzle I and a nozzle II are arranged on the cleaning water pipe at intervals, the opening of the nozzle I faces the contact position of the scraper and the cleaning roller, and the opening of the nozzle II faces the collecting tank; the outlet of the collecting tank is communicated with a collecting tank.
The device is arranged in the advancing process of the papermaking net, so that the papermaking net sequentially passes through the upper surface of the cleaning roller I and the lower surface of the cleaning roller II, and the roller surface of the cleaning roller is smoother than the wire surface of the papermaking net, so that dirt which is not tightly adsorbed on the wire surface can be adhered to the cleaning roller when the cleaning roller is wetted, and the purpose of removing the dirt on the wire surface is achieved; and be located the nozzle I of scraper top, can wash the impurity that adheres to in the cleaning roller roll surface and drop and collect through scraper and collecting vat, and nozzle II can send into the export with the impurity of collecting in the collecting vat, and then realizes that the paper-making meshes washs.
For further improving belt cleaning device's cleaning performance, the technical scheme of the utility model still include, I right side of cleaning roller is equipped with atomizing water pipe, and atomizing water pipe passes through pipeline and scavenging pump intercommunication, and the paper-making meshes top is arranged in to atomizing water pipe, and atomizing water pipe is equipped with the opening and towards the atomizer of paper-making meshes. Through the atomization effect of atomized water pipe, can wet in advance before paper-making meshes and cleaning roller contact, make the impurity of piling up in the paper-making meshes mesh break away from with the mesh under the effect of water, the absorption and the washing of the follow-up cleaning roller of being convenient for.
As preferred, the technical scheme of the utility model still include, the scraper sets up along the cleaning roller surface downward sloping, and the radian phase-match of scraper and cleaning roller contact department is with the scraper to the scraper radian. The scraper and the collecting tank are obliquely and downwards arranged and are arranged in parallel with the edge of the collecting tank, so that collected impurities can quickly flow to an outlet of the collecting tank under the action of gravity and water flow, and the cleaning efficiency is improved; in addition, the radian of the scraper is matched with the radian of the contact part of the scraper and the cleaning roller, namely the obliquely arranged scraper is always in contact with the outer surface of the cleaning roller.
Preferably, the technical solution of the present invention further includes that the inclination angle of the scraper to the horizontal direction is 5 ° to 15 °.
For further improvement cleaning performance and cleaning efficiency, the technical scheme of the utility model still include, nozzle I and nozzle II all set up along the vertical direction slope, and the incline direction is unanimous with the export direction of collecting vat, avoids impurity to influence the cleaning performance because of piling up.
The technical proposal of the utility model also includes that the inclination angles of the nozzle I and the nozzle II and the vertical direction are 5-60 degrees.
Preferably, the technical solution of the present invention further includes that the nozzle i and the nozzle ii are one or a combination of a fan nozzle, a needle nozzle, and a high pressure nozzle.
For promoting the cleaning performance, the technical scheme of the utility model still include, the cleaning roller top layer is equipped with the silica gel layer, and the material of scraper is polytetrafluoroethylene, and silica gel layer glues stickness better, can effectively adsorb impurity, and the scraper wearability of polytetrafluoroethylene material is better, can effectively promote scraper and belt cleaning device's life.
The utility model has the advantages that: compared with the prior art, the utility model aims at providing a simple process and paper-making meshes cleaning equipment that cleaning performance is good, for realizing above-mentioned technological effect:
firstly, according to the technical scheme, the cleaning roller I and the cleaning roller II are sequentially arranged in the advancing direction of the papermaking net, so that the papermaking net sequentially passes through the upper surface of the cleaning roller I and the lower surface of the cleaning roller II, the papermaking net is fully contacted with the surface of the cleaning roller under the action of self tension, impurities on the two sides of the papermaking net are fully adsorbed under the condition that the cleaning roller is wetted, meanwhile, a cleaning water pipe and a scraper are arranged on one side of the cleaning roller, and a nozzle of the cleaning water pipe can effectively flush the impurities on the surface of the cleaning roller and collect the impurities through the scraper and a collecting tank, so that the papermaking net is thoroughly cleaned;
secondly, this technical scheme is through the mode that the washing roller adsorbs, the scraper is collected and the washing water pipe is washed, washs paper-making meshes impurity, and whole process flow is simple, need not manual operation, has avoided the manual work to wash the problem that has caused the washing not thorough, labour saving and time saving.
Drawings
In order to more clearly illustrate the embodiments of the present invention or the technical solutions in the prior art, the drawings used in the description of the embodiments or the prior art will be briefly described below, and it is obvious for those skilled in the art that other drawings can be obtained according to the drawings without creative efforts.
FIG. 1 is a schematic view showing the construction of a wire washing apparatus according to an embodiment;
FIG. 2 is a schematic right-side view of the cleaning roller II in FIG. 1;
fig. 3 is a schematic structural view of the cleaning water pipe.
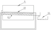
Wherein, 1 is the paper-making meshes, 2 is the support, 3 is the support column, 4 is driving motor, 5 is cleaning roller I, 6 is cleaning roller II, 7 is the atomizing water pipe, 8 is the scavenging pump, 9 is atomizing nozzle, 10 is the scraper, 11 is the scraper seat, 12 is the collecting vat, 13 is the cleaning water pipe, 14 is nozzle I, 15 is nozzle II, 16 is the collecting pit.
Detailed Description
In order to make the technical solutions in the present invention better understood, the technical solutions in the embodiments of the present invention will be clearly and completely described below with reference to the accompanying drawings in the embodiments of the present invention, and it is obvious that the described embodiments are only some embodiments of the present invention, but not all embodiments. Based on the embodiments in the present invention, all other embodiments obtained by a person skilled in the art without creative efforts shall belong to the protection scope of the present invention.
In the description of the present invention, it is to be understood that the terms "central," "lateral," "upper," "lower," "front," "rear," "left," "right," "vertical," "horizontal," "top," "bottom," "inner," "outer," and the like are used in the orientation or positional relationship indicated in the drawings, which are for simplicity of description, and are not intended to indicate or imply that the device or element so indicated must have a particular orientation, be constructed and operated in a particular orientation, and thus, are not to be considered as limiting.
As can be seen from the attached drawing, the paper-making net cleaning device comprises a support 2 crossing over a paper-making net 1, two cleaning rollers arranged in parallel are sequentially fixed on the support 2 through support columns 3, the cleaning rollers are provided with driving motors 4, and each cleaning roller comprises a cleaning roller I5 and a cleaning roller II 6;
an atomized water pipe 7 is arranged on the right side of the cleaning roller I5, the atomized water pipe 7 is communicated with a cleaning pump 8 through a pipeline, the atomized water pipe 7 is arranged above the paper-making net 1, and the atomized water pipe 7 is provided with an atomizing nozzle 9 with an opening facing the paper-making net 1;
the papermaking net 1 sequentially passes through the upper surface of the cleaning roller I5 and the lower surface of the cleaning roller II 6 along the advancing direction; the cleaning roller I5 is provided with a scraper 10 which is in contact with the outer surface of the left side of the cleaning roller I5 along the length direction, the cleaning roller II 6 is provided with a scraper 10 which is in contact with the outer surface of the right side of the cleaning roller II 6 along the length direction, the surface layer of the cleaning roller is provided with a silica gel layer, the scraper 10 is made of polytetrafluoroethylene, the scraper is sequentially connected with a scraper seat 11 and a collecting tank 12, the collecting tank 12 is arranged in parallel with the scraper 10, the scraper 10 is arranged in a downward inclination manner along the outer surface of the cleaning roller, the inclination angle between the scraper 10 and the horizontal direction is 5 degrees, and the radian of the scraper 10 is matched with the radian of the contact part between the scraper 10 and the cleaning roller;
a cleaning water pipe 13 is connected above the collecting tank 12 along the length direction of the scraper 10, the cleaning water pipe 13 is communicated with the cleaning pump 8 through a pipeline, a nozzle I14 and a nozzle II 15 are arranged on the cleaning water pipe 13 at intervals, the opening of the nozzle I14 faces the contact position of the scraper 10 and the cleaning roller, and the opening of the nozzle II 15 faces the collecting tank 12; nozzle I14 and nozzle II 15 all set up along the vertical direction slope, and the angle of inclination of nozzle I14, nozzle II 15 and vertical direction is 30, and the direction of inclination is unanimous with the export direction of collecting vat 12, and nozzle I14 and nozzle II 15 are fan-shaped nozzle, and the export intercommunication of collecting vat 12 has collecting pit 16.
The paper-making meshes belt cleaning device of this application has cleaning process simple, the good beneficial effect of cleaning performance.
Although the present invention has been described in detail by referring to the drawings in conjunction with the preferred embodiments, the present invention is not limited thereto. Various equivalent modifications or substitutions can be made on the embodiments of the present invention by those skilled in the art without departing from the spirit and substance of the present invention, and these modifications or substitutions are intended to be within the scope of the present invention/any person skilled in the art can easily conceive of changes or substitutions within the technical scope of the present invention. Therefore, the protection scope of the present invention shall be subject to the protection scope of the claims.
Claims (8)
1. A paper-making meshes belt cleaning device which characterized in that: the cleaning device comprises a support crossing a papermaking net, wherein two parallel cleaning rollers are sequentially fixed on the support through supporting columns, the cleaning rollers are provided with driving motors, and each cleaning roller comprises a cleaning roller I and a cleaning roller II; the papermaking net sequentially passes through the upper surface of the cleaning roller I and the lower surface of the cleaning roller II along the advancing direction; the cleaning roller I is provided with a scraper which is in contact with the outer surface of the left side of the cleaning roller I along the length direction, the cleaning roller II is provided with a scraper which is in contact with the outer surface of the right side of the cleaning roller II along the length direction, the scraper is sequentially connected with a scraper seat and a collecting tank, the collecting tank is arranged in parallel with the scraper, a cleaning water pipe is connected above the collecting tank along the length direction of the scraper, the cleaning water pipe is communicated with a cleaning pump through a pipeline, nozzles I and nozzles II are arranged on the cleaning water pipe at intervals, the openings of the nozzles I face the contact position of the scraper and the cleaning roller, and the openings of the nozzles II face the collecting tank; and the outlet of the collecting tank is communicated with a collecting tank.
2. A wire washing apparatus according to claim 1, wherein: cleaning roller I right side is equipped with atomizing water pipe, and atomizing water pipe passes through pipeline and scavenging pump intercommunication, and paper-making meshes top is arranged in to atomizing water pipe, atomizing water pipe is equipped with the opening towards the atomizing nozzle of paper-making meshes.
3. A wire washing apparatus according to claim 1, wherein: the scraper is arranged along the outer surface of the cleaning roller in a downward inclined mode, and the radian of the scraper is matched with that of the contact position of the scraper and the cleaning roller.
4. A wire washing apparatus according to claim 3, wherein: the inclination angle of the scraper and the horizontal direction is 5-15 degrees.
5. A wire washing apparatus according to claim 1, wherein: and the nozzles I and II are obliquely arranged along the vertical direction, and the oblique direction is consistent with the outlet direction of the collecting tank.
6. A wire washing apparatus according to claim 5, wherein: the inclination angles of the nozzle I and the nozzle II with the vertical direction are 5-60 degrees.
7. A wire washing apparatus according to claim 1, wherein: the nozzle I and the nozzle II are one or a combination of a fan-shaped nozzle, a needle-shaped nozzle and a high-pressure nozzle.
8. A wire washing apparatus according to claim 1, wherein: the cleaning roller top layer is equipped with the silica gel layer, the material of scraper is polytetrafluoroethylene.
Priority Applications (1)
| Application Number | Priority Date | Filing Date | Title |
|---|---|---|---|
| CN202022213570.2U CN213804611U (en) | 2020-10-08 | 2020-10-08 | Paper-making meshes belt cleaning device |
Applications Claiming Priority (1)
| Application Number | Priority Date | Filing Date | Title |
|---|---|---|---|
| CN202022213570.2U CN213804611U (en) | 2020-10-08 | 2020-10-08 | Paper-making meshes belt cleaning device |
Publications (1)
| Publication Number | Publication Date |
|---|---|
| CN213804611U true CN213804611U (en) | 2021-07-27 |
Family
ID=76957172
Family Applications (1)
| Application Number | Title | Priority Date | Filing Date |
|---|---|---|---|
| CN202022213570.2U Expired - Fee Related CN213804611U (en) | 2020-10-08 | 2020-10-08 | Paper-making meshes belt cleaning device |
Country Status (1)
| Country | Link |
|---|---|
| CN (1) | CN213804611U (en) |
Cited By (1)
| Publication number | Priority date | Publication date | Assignee | Title |
|---|---|---|---|---|
| CN117418412A (en) * | 2023-11-13 | 2024-01-19 | 江苏凡泰纸业有限公司 | Paper making net cleaning mechanism |
-
2020
- 2020-10-08 CN CN202022213570.2U patent/CN213804611U/en not_active Expired - Fee Related
Cited By (1)
| Publication number | Priority date | Publication date | Assignee | Title |
|---|---|---|---|---|
| CN117418412A (en) * | 2023-11-13 | 2024-01-19 | 江苏凡泰纸业有限公司 | Paper making net cleaning mechanism |
Similar Documents
| Publication | Publication Date | Title |
|---|---|---|
| CN209697532U (en) | A kind of photovoltaic panel cleaning device of sewage recovering mechanism | |
| CN106667381A (en) | Cleaning robot | |
| CN209792055U (en) | Copper strips washs and drying device | |
| CN213155682U (en) | Water supply device of ground cleaning appliance | |
| CN213804611U (en) | Paper-making meshes belt cleaning device | |
| CN220804632U (en) | Fishing net belt cleaning device | |
| CN216551337U (en) | Paper machine suction shifting roller with spraying mechanism | |
| CN211079613U (en) | A high-efficiency cloth washing device | |
| CN217524977U (en) | Surface cleaning device with good wetting effect | |
| CN206082842U (en) | Wet -type flexible moving polar plate electrostatic precipitator of rotatory brush in area | |
| CN206008155U (en) | A kind of paper making water filters inclined wire automatic clearing apparatuss | |
| CN217365711U (en) | Water spraying mechanism and floor washing machine thereof | |
| CN206587555U (en) | Feed intake the removal device of tail gas dust | |
| CN216677515U (en) | Spray washing tower capable of being used for waste water reuse function | |
| CN209506917U (en) | A kind of cleaning device of leather wringing stretched machine | |
| CN213233261U (en) | Environment-friendly cleaning device | |
| CN213963290U (en) | Automatic boot washing machine | |
| CN206880635U (en) | Clean robot | |
| CN108380575A (en) | A kind of photovoltaic board cleaning machine | |
| CN210657754U (en) | Paper machine fourdrinier wire belt cleaning device | |
| CN207839467U (en) | A kind of self-stripping unit | |
| CN114855383B (en) | Energy-saving efficient wool washing machine | |
| CN206736339U (en) | A kind of photovoltaic welding belt washing copper strips machine | |
| CN217378390U (en) | Papermaking clothing purger | |
| CN207078129U (en) | A kind of automation cleaning line for vehicle cleaning |
Legal Events
| Date | Code | Title | Description |
|---|---|---|---|
| GR01 | Patent grant | ||
| GR01 | Patent grant | ||
| CF01 | Termination of patent right due to non-payment of annual fee |
Granted publication date: 20210727 |
|
| CF01 | Termination of patent right due to non-payment of annual fee |