CN213799214U - Electric motor coach - Google Patents

Electric motor coach Download PDF

Info

Publication number
CN213799214U
CN213799214U CN202022206164.3U CN202022206164U CN213799214U CN 213799214 U CN213799214 U CN 213799214U CN 202022206164 U CN202022206164 U CN 202022206164U CN 213799214 U CN213799214 U CN 213799214U
Authority
CN
China
Prior art keywords
air
air inlet
battery compartment
door
battery
Prior art date
Legal status (The legal status is an assumption and is not a legal conclusion. Google has not performed a legal analysis and makes no representation as to the accuracy of the status listed.)
Active
Application number
CN202022206164.3U
Other languages
Chinese (zh)
Inventor
吴二东
马少华
Current Assignee (The listed assignees may be inaccurate. Google has not performed a legal analysis and makes no representation or warranty as to the accuracy of the list.)
Zhengzhou Shenlan Power Technology Co Ltd
Original Assignee
Zhengzhou Shenlan Power Technology Co Ltd
Priority date (The priority date is an assumption and is not a legal conclusion. Google has not performed a legal analysis and makes no representation as to the accuracy of the date listed.)
Filing date
Publication date
Application filed by Zhengzhou Shenlan Power Technology Co Ltd filed Critical Zhengzhou Shenlan Power Technology Co Ltd
Priority to CN202022206164.3U priority Critical patent/CN213799214U/en
Application granted granted Critical
Publication of CN213799214U publication Critical patent/CN213799214U/en
Active legal-status Critical Current
Anticipated expiration legal-status Critical

Links

Images

Classifications

    • YGENERAL TAGGING OF NEW TECHNOLOGICAL DEVELOPMENTS; GENERAL TAGGING OF CROSS-SECTIONAL TECHNOLOGIES SPANNING OVER SEVERAL SECTIONS OF THE IPC; TECHNICAL SUBJECTS COVERED BY FORMER USPC CROSS-REFERENCE ART COLLECTIONS [XRACs] AND DIGESTS
    • Y02TECHNOLOGIES OR APPLICATIONS FOR MITIGATION OR ADAPTATION AGAINST CLIMATE CHANGE
    • Y02TCLIMATE CHANGE MITIGATION TECHNOLOGIES RELATED TO TRANSPORTATION
    • Y02T10/00Road transport of goods or passengers
    • Y02T10/60Other road transportation technologies with climate change mitigation effect
    • Y02T10/70Energy storage systems for electromobility, e.g. batteries

Landscapes

  • Arrangement Or Mounting Of Propulsion Units For Vehicles (AREA)
  • Cooling, Air Intake And Gas Exhaust, And Fuel Tank Arrangements In Propulsion Units (AREA)
  • Body Structure For Vehicles (AREA)

Abstract

The utility model relates to an electric motor coach, including the automobile body, the automobile body bottom sets up the battery compartment, arranges the battery package in the battery compartment, sets up battery compartment heat dissipation wind channel on the automobile body, and it includes wind channel outside the roof and wind channel in the automobile body, and the wind channel has the air intake of arranging forward windward, and the wind channel includes air supply channel section and air exhaust channel section in the automobile body, and air supply channel section intercommunication the wind channel outside the roof with the battery compartment, air exhaust channel section one end with the battery compartment intercommunication, other end intercommunication have the air outlet, and this air outlet setting is in bottom surface of the automobile body or trailing flank. When the passenger car runs forwards, natural wind flows into the air duct outside the car roof through the air inlet, enters the battery compartment through the air supply channel section, and is discharged through the air exhaust channel section, so that the battery pack in the battery compartment is cooled. Because the speed when the vehicle is moving ahead can guarantee enough amount of wind gets into in the battery compartment heat dissipation wind channel, need not set up radiator fan again and drive the gas flow to inner structure can be simplified.

Description

Electric motor coach
Technical Field
The utility model relates to an electric motor coach.
Background
Along with the gradual upgrade of green energy and environmental protection theory, city public transit adopts pure electric drive mostly, the cabin body design that generally adopts to distribute, the battery compartment is arranged in vehicle chassis or vehicle rear, can set up the grid on the hatch door of battery compartment usually, be used for dispelling the heat to the battery package, the hatch door grid is arranged in the automobile body side more, for example, the chinese utility model patent that the authorization bulletin number is CN201951221U discloses passenger train power battery cabin heat radiation structure, it sets up side wall and wind gap at the automobile body side wall, enclose the air outlet after the back is set up, this kind of battery compartment heat radiation structure's business turn over wind gap is staggered and is arranged, can't effectively utilize the driving in-process by vehicle and ambient air formation convection heat dissipation, need dispose radiator fan and realize the heat dissipation cooling, the energy consumption has been increased.
SUMMERY OF THE UTILITY MODEL
An object of the utility model is to provide an electric motor coach to the heat dissipation grid cloth of battery compartment leads to needing to dispose radiator fan's technical problem in the vehicle side wall among the solution prior art.
In order to achieve the above object, the utility model provides an [ electric ] motor coach's technical scheme is: an electric motor coach comprising:
a vehicle body having a length extending in a front-rear direction;
the battery compartment is arranged at the bottom of the vehicle body;
the battery pack is fixedly arranged in the battery cabin;
the battery compartment heat dissipation air duct is arranged on the vehicle body and comprises a vehicle roof outer air duct and a vehicle body inner air duct which are communicated;
the roof outer air duct is positioned at the top of the vehicle body and is provided with an air inlet which is arranged facing the wind forwards and used for introducing natural wind when the electric motor coach runs forwards;
the air duct in the vehicle body comprises an air supply channel section and an air exhaust channel section, the air supply channel section is communicated with the air duct outside the vehicle roof and the battery compartment, one end of the air exhaust channel section is communicated with the battery compartment, the other end of the air exhaust channel section is communicated with an air outlet, and the air outlet is arranged on the bottom surface or the rear side surface of the vehicle body.
The beneficial effects are that: the utility model provides an on the [ electric ] motor coach, utilize battery compartment heat dissipation wind channel to dispel the heat the cooling to the battery compartment, the air intake in the outer wind channel of roof is arranged forward the windward, the air outlet setting of passageway section of airing exhaust is on automobile body bottom or trailing flank, when the passenger train traveles forward, during the natural wind pours into the outer wind channel of roof into through the air intake to in the passageway section of supplying air gets into the battery compartment, then discharge through the passageway section of airing exhaust, realize the heat dissipation cooling to battery under-deck battery package. Because the speed of the vehicle in the process of advancing can ensure that enough air quantity enters the battery compartment heat dissipation air duct, a heat dissipation fan is not needed to be arranged to drive air to flow, and the internal structure can be simplified.
As a further improvement, an air inlet door is movably assembled at the air inlet and is driven to open and close by an air inlet door opening and closing mechanism, the air inlet door opening and closing mechanism is controlled by a control module, when the temperature of the battery pack rises to a first set value, the battery pack needs to be cooled and radiated, and the control module controls the air inlet door opening and closing mechanism to act to drive the air inlet door to open; when the temperature of the battery pack is reduced to a second set value, the battery compartment needs to be kept warm, and the control module controls the air inlet door opening and closing mechanism to act to drive the air inlet door to be closed.
The beneficial effects are that: utilize control module according to battery package temperature control air inlet air door switching, introduce natural wind when needs are dispelled the heat, close the air intake when needs are cold-proof, conveniently realize automatic control, improve entire system's automation.
As a further improvement, the air outlet is movably assembled with the air outlet door, the air outlet door is driven to be opened and closed by the air outlet door opening and closing mechanism, and the air outlet door opening and closing mechanism is controlled by the control module, so that the air outlet door and the air inlet door are synchronously opened and closed.
The beneficial effects are that: an air outlet door is arranged at the air outlet to form effective control on the air outlet.
As further improvement, air inlet door closing mechanism and/or air outlet door closing mechanism include the air door motor, the air inlet door passes through the articulated assembly of air inlet articulated shaft and/or the air outlet door passes through the articulated assembly of air outlet articulated shaft and locates at the air outlet, the corresponding air door of air door motor drive is around corresponding articulated shaft gyration.
The beneficial effects are that: the corresponding air door rotates through the corresponding hinged shaft, the opening and closing are conveniently driven by the air door motor, the structure is simple, and the realization is convenient.
As a further improvement, the electric motor coach comprises a whole coach VCU, and the control module is integrated with the whole coach VCU.
The beneficial effects are that: the air inlet air door opening and closing mechanism and/or the air outlet air door opening and closing mechanism are controlled by the whole VCU integrated control module, and a control module does not need to be additionally and independently arranged.
As a further improvement, the air inlet of the air duct outside the vehicle roof is arranged in a manner that the air inlet is gradually inclined backwards from top to bottom.
The beneficial effects are that: the air inlet is obliquely arranged, so that the rainproof face is conveniently realized.
As a further improvement, two battery cabins are arranged along the left and right width directions of the vehicle body, the two battery cabins are communicated, one battery cabin is communicated with the air supply channel section in a butt joint mode so as to be communicated with the air duct outside the vehicle roof through the air supply channel section, and the other battery cabin is communicated with the air exhaust channel section in a butt joint mode.
The beneficial effects are that: two battery compartments are arranged, so that the battery packs can be fully arranged according to the width of the vehicle body, and a heat dissipation air duct of the battery compartments can be conveniently arranged.
As a further improvement, the roof outer duct is located at a rear end position of the vehicle body roof.
The beneficial effects are that: the outer air duct of the car roof is arranged at the rear end position, so that the influence of turbulence is reduced as much as possible, and the wind resistance is reduced.
Drawings
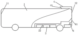
Fig. 1 is a schematic structural diagram of an embodiment of an electric motor coach (a right battery compartment is partially shown on the rear side);
FIG. 2 is a partial schematic view of the electric motor coach shown in FIG. 1 showing a left battery compartment;
FIG. 3 is a schematic view of the motor control for the intake damper of FIG. 1;
fig. 4 is a schematic diagram of the distribution of the battery compartments on both sides of the electric motor coach shown in fig. 1 on the coach body (the flow direction of wind is shown by the dotted arrows).
Description of reference numerals:
in fig. 1: 1-vehicle body, 11-vehicle head, 12-vehicle tail, 21-right battery compartment, 3-battery pack, 4-vehicle roof outer air duct, 41-air inlet and 5-air supply channel section.
In fig. 2: 1-vehicle body, 11-vehicle head, 12-vehicle tail, 22-left battery compartment, 3-battery pack, 4-vehicle roof external air duct, 41-air inlet, 6-air exhaust channel section and 61-air outlet.
In fig. 3: 4-a roof external air duct, 41-an air inlet, 42-an air inlet door, 43-an air inlet door motor, 7-a whole vehicle VCU, 8-a battery pack temperature acquisition line.
In fig. 4: 1-vehicle body, 3-battery pack, 21-right battery compartment, 22-left battery compartment and 23-battery compartment partition.
Detailed Description
In order to make the objects, technical solutions and advantages of the present invention more clearly understood, the present invention is further described in detail below with reference to the accompanying drawings and embodiments. It should be understood that the specific embodiments described herein are for purposes of illustration only and are not intended to limit the invention, i.e., the described embodiments are only some, but not all embodiments of the invention. The components of embodiments of the present invention, as generally described and illustrated in the figures herein, may be arranged and designed in a wide variety of different configurations.
Thus, the following detailed description of the embodiments of the present invention, presented in the accompanying drawings, is not intended to limit the scope of the invention, as claimed, but is merely representative of selected embodiments of the invention. Based on the embodiment of the present invention, all other embodiments obtained by the person skilled in the art without creative work belong to the protection scope of the present invention.
It is noted that relational terms such as "first" and "second," and the like, may be used solely to distinguish one entity or action from another entity or action without necessarily requiring or implying any actual such relationship or order between such entities or actions. Also, the terms "comprises," "comprising," or any other variation thereof, are intended to cover a non-exclusive inclusion, such that a process, method, article, or apparatus that comprises a list of elements does not include only those elements but may include other elements not expressly listed or inherent to such process, method, article, or apparatus. Without further limitation, elements recited by the phrase "comprising an … …" do not exclude the inclusion of such elements in processes or methods.
In the description of the present invention, unless otherwise expressly specified or limited, the terms "mounted," "connected," and "connected" when they are used are to be construed broadly, e.g., as meaning either a fixed connection, a removable connection, or an integral connection; can be mechanically or electrically connected; either directly or indirectly through intervening media, or may be interconnected between two elements. The specific meaning of the above terms in the present invention can be understood by those skilled in the art from the specific situation.
In the description of the present invention, it should be noted that, unless explicitly stated or limited otherwise, the term "provided" may be used in a broad sense, for example, the object of "provided" may be a part of the body, or may be arranged separately from the body and connected to the body, and the connection may be a detachable connection or a non-detachable connection. The specific meaning of the above terms in the present invention can be understood by those skilled in the art from the specific situation.
The present invention will be described in further detail with reference to examples.
The utility model provides an [ electric ] motor coach's embodiment 1:
as shown in fig. 1 to 4, [ electric ] motor coach includes automobile body 1, length extends along the fore-and-aft direction, 1 front end of automobile body is locomotive 11, the rear end is rear of a vehicle 12, 1 bottom of automobile body is provided with two battery cabins, two battery cabins are arranged along width direction about 1 of automobile body, left side battery cabin 22 and right side battery cabin 21 promptly, as shown in fig. 3, set up battery cabin baffle 23 between two battery cabins, but communicate each other between two battery cabins, two battery cabins all are close to 1 rear end of automobile body and arrange, be fixed with battery package 3 respectively in every battery cabin, be equipped with battery cabin heat dissipation channel on the automobile body 1, it is used for introducing natural wind and cools down the battery cabin.
In this embodiment, the battery compartment heat dissipation channel specifically includes an external roof air duct 4 and an internal vehicle air duct, the external roof air duct 4 and the internal vehicle air duct are arranged in a communicating manner, the external roof air duct 4 is located at the rear end of the top of the vehicle body 1, and the internal vehicle air duct is located inside the vehicle body 1 and also located at the rear part of the vehicle body 1.
The roof outer duct 4 has an air inlet 41 disposed facing forward and into the wind to introduce natural wind when the vehicle body 1 travels forward. In fact, the air inlet 41 is disposed to be gradually inclined backward from top to bottom to form a waterproof structure. The air inlet 41 is hinged with an air inlet door 42 through an air inlet hinge shaft, the air inlet hinge shaft extends along the horizontal direction and is correspondingly arranged at the middle position of the air inlet door 42, the air inlet door 42 is driven to be opened and closed by an air inlet door opening and closing mechanism, the air inlet door opening and closing mechanism specifically comprises an air inlet door motor 43, and the air inlet door motor 43 drives the air inlet door 42 to rotate so as to open and close the air inlet 41.
The air duct in the vehicle body comprises an air supply channel section 5 and an air exhaust channel section 6, wherein one end of the air supply channel section 5 is in butt joint communication with the air duct 4 outside the vehicle roof, as shown in fig. 1, the other end of the air supply channel section is in butt joint communication with the battery compartment 21 on the right side, as shown in fig. 2, one end of the air exhaust channel section 6 is communicated with the battery compartment 22 on the left side, the other end of the air exhaust channel section is communicated with an air outlet 61, and the air outlet 61 is arranged on the rear side face of the vehicle body 1.
Like the air inlet 41, an air outlet door is movably assembled at the air outlet 61 through an air exhaust hinge shaft, the air outlet door is driven to be opened and closed by an air outlet door opening and closing mechanism, and the air outlet door opening and closing mechanism is specifically an air outlet door motor.
In this embodiment, in order to realize automatic control, the air inlet door 42 and the air outlet door motor are controlled by a control module integrated on the vehicle VCU7, and the vehicle VCU7 controls the opening and closing of the air door according to the temperature data of the battery pack 3 collected by the battery pack temperature collection line 8.
When the vehicle body 1 runs forwards, natural wind enters the battery compartment heat dissipation air duct through the air inlet 41, enters the battery compartment through the roof outer air duct 4 and the air supply duct section 5, and is discharged through the air exhaust duct section 6 and the air outlet 61, so that cooling and heat dissipation of the battery pack 3 are realized.
When the temperature of the battery pack 3 is reduced to a second set value, the battery compartment needs to be kept warm, the control module controls the air inlet door motor 43 and the air outlet door motor to act, the air inlet door 42 and the air outlet door are driven to be closed, the heat dissipation channel of the battery compartment is closed, and therefore warm keeping is achieved.
When the battery compartment heat dissipation air duct is conducted, and the electric motor coach runs forwards, the air inlet is arranged facing the wind forwards, convection heat dissipation is conveniently formed in the battery compartment heat dissipation channel, a heat dissipation fan does not need to be independently arranged, and the air flow rate is utilized to realize quick flow of air. In addition, in the embodiment, the air door is arranged to control the air inlet and the air outlet to be closed, so that rainwater can be effectively prevented from entering the battery compartment. And when the battery pack needs to be insulated, the VCU of the whole vehicle controls the air inlet and the air outlet of the outside air on the roof to be closed, so that the insulation effect on the battery pack in the battery compartment is formed.
The utility model provides an [ electric ] motor coach's embodiment 2:
the difference from example 1 is mainly that: in embodiment 1, the air outlet is provided on the rear side surface of the vehicle body. In this embodiment, the air outlet may be disposed on the bottom surface of the vehicle body to form a top-in-bottom-out heat dissipation mode.
The utility model provides an [ electric ] motor coach's embodiment 3:
the difference from example 1 is mainly that: in embodiment 1, the air door motors are respectively arranged at the air outlet and the air inlet to control the corresponding air doors to be closed. In this embodiment, also can only set up air inlet door in air inlet department, can save air outlet door in air outlet department, at this moment, will notice and set up the grid of ventilating in air outlet department to the formation blocks.
The utility model provides an [ electric ] motor coach's embodiment 4:
the difference from example 1 is mainly that: in embodiment 1, a control module is integrated on the vehicle VCU for controlling the corresponding air door switch according to the temperature collected by the battery pack temperature collection line. In this embodiment, the control module may be provided separately and not separately from the vehicle VCU.
The utility model provides an [ electric ] motor coach's embodiment 5:
the difference from example 1 is mainly that: in embodiment 1, set up air inlet door corresponding to the air intake for close the air intake, in order to play water-proof effects. In this embodiment, the air intake damper may be omitted, and the bottom wall of the roof outer duct may be formed to extend from rear to front and downward, so as to shield rain.
The utility model provides an [ electric ] motor coach's embodiment 6:
the difference from example 1 is mainly that: in example 1, two battery compartments were provided at the bottom of the vehicle body. In this embodiment, the bottom of the vehicle body is only provided with one battery compartment, and at this time, the air supply channel section and the air exhaust channel section are in butt joint communication with the same battery compartment, so that the influence of the direct discharge of the incoming cold air on the heat dissipation efficiency is avoided.
The utility model provides an [ electric ] motor coach's embodiment 7:
the difference from example 1 is mainly that: in embodiment 1, the roof outer duct is located at the vehicle roof rear end. In this embodiment, the monitoring device may be disposed at the rear end of the top of the electric motor coach, and at this time, the roof outer air duct needs to be moved forward according to actual needs as long as the air inlet of the roof outer air duct is arranged forward and windward.
The utility model provides an [ electric ] motor coach's embodiment 8:
the difference from example 1 is mainly that: in embodiment 1, the air inlet door opening and closing mechanism and the air outlet door closing mechanism are both air door motors. In this embodiment, the one end of air inlet door and air outlet door passes through the articulated shaft and articulates in corresponding wind gap department, and at this moment, air inlet door closing mechanism and air outlet door closing mechanism are electric putter, and electric putter's one end articulates in corresponding wind gap department, and the other end then is connected with corresponding air door is articulated, and when electric putter was overhanging, steerable corresponding air door was closed, and when electric putter shrink, can control the air door and open.
The utility model provides an [ electric ] motor coach's embodiment 9:
the difference from example 1 is mainly that: in embodiment 1, the air inlet door and the air outlet door are correspondingly hinged at the corresponding air outlets. In this embodiment, the air inlet door and the air outlet door can be designed to be assembled in a sliding manner, and at the moment, the electric push rod can be arranged to drive the corresponding air door to move horizontally so as to control the opening and closing of the air door.
Finally, it should be noted that the above mentioned embodiments are only preferred embodiments of the present invention, and not intended to limit the present invention, and although the present invention has been described in detail with reference to the foregoing embodiments, it will be apparent to those skilled in the art that modifications may be made without inventive effort to the technical solutions described in the foregoing embodiments, or equivalents may be substituted for some of the technical features. Any modification, equivalent replacement, or improvement made within the spirit and principle of the present invention should be included in the protection scope of the present invention.

Claims (8)

1. Electric motor coach, comprising:
a vehicle body having a length extending in a front-rear direction;
the battery compartment is arranged at the bottom of the vehicle body;
the battery pack is fixedly arranged in the battery cabin;
it is characterized by also comprising:
the battery compartment heat dissipation air duct is arranged on the vehicle body and comprises a vehicle roof outer air duct and a vehicle body inner air duct which are communicated;
the roof outer air duct is positioned at the top of the vehicle body and is provided with an air inlet which is arranged facing the wind forwards and used for introducing natural wind when the electric motor coach runs forwards;
the air duct in the vehicle body comprises an air supply channel section and an air exhaust channel section, the air supply channel section is communicated with the air duct outside the vehicle roof and the battery compartment, one end of the air exhaust channel section is communicated with the battery compartment, the other end of the air exhaust channel section is communicated with an air outlet, and the air outlet is arranged on the bottom surface or the rear side surface of the vehicle body.
2. The electric motor coach as claimed in claim 1, wherein the air inlet is movably provided with an air inlet door, the air inlet door is driven to open and close by an air inlet door opening and closing mechanism, the air inlet door opening and closing mechanism is controlled by the control module, when the temperature of the battery pack rises to a first set value, the battery pack needs to be cooled and radiated, and the control module controls the air inlet door opening and closing mechanism to act to drive the air inlet door to open; when the temperature of the battery pack is reduced to a second set value, the battery compartment needs to be kept warm, and the control module controls the air inlet door opening and closing mechanism to act to drive the air inlet door to be closed.
3. The electric motor coach as claimed in claim 2, wherein the air outlet is movably mounted with the air outlet door, the air outlet door is driven to open and close by an air outlet door opening and closing mechanism, and the air outlet door opening and closing mechanism is controlled by the control module, so that the air outlet door and the air inlet door are synchronously opened and closed.
4. The electric motor coach as claimed in claim 3, wherein the air inlet door opening/closing mechanism and/or the air outlet door opening/closing mechanism comprises an air door motor, the air inlet door is hinged and assembled at the air inlet through an air inlet hinge shaft and/or the air outlet door is hinged and assembled at the air outlet through an air outlet hinge shaft, and the air door motor drives the corresponding air door to rotate around the corresponding hinge shaft.
5. The electric motor coach according to any one of claims 2 to 4, wherein the electric motor coach comprises a complete vehicle VCU, and the control module is integrated with the complete vehicle VCU.
6. The electric motor coach as claimed in any one of claims 1 to 4, wherein the air inlet of the roof outer duct is arranged to be gradually inclined rearward from top to bottom.
7. The electric motor coach as claimed in any one of claims 1 to 4, wherein two battery compartments are arranged in the left-right width direction of the coach body, two battery compartments are communicated, one battery compartment is in butt-joint communication with the air supply passage section to be communicated with the outside air duct through the air supply passage section, and the other battery compartment is in butt-joint communication with the air exhaust passage section.
8. The electric motor coach according to any one of claims 1 to 4, wherein the roof outer duct is located at a rear end position of the vehicle body roof.
CN202022206164.3U 2020-09-30 2020-09-30 Electric motor coach Active CN213799214U (en)

Priority Applications (1)

Application Number Priority Date Filing Date Title
CN202022206164.3U CN213799214U (en) 2020-09-30 2020-09-30 Electric motor coach

Applications Claiming Priority (1)

Application Number Priority Date Filing Date Title
CN202022206164.3U CN213799214U (en) 2020-09-30 2020-09-30 Electric motor coach

Publications (1)

Publication Number Publication Date
CN213799214U true CN213799214U (en) 2021-07-27

Family

ID=76957202

Family Applications (1)

Application Number Title Priority Date Filing Date
CN202022206164.3U Active CN213799214U (en) 2020-09-30 2020-09-30 Electric motor coach

Country Status (1)

Country Link
CN (1) CN213799214U (en)

Cited By (1)

* Cited by examiner, † Cited by third party
Publication number Priority date Publication date Assignee Title
CN114312272A (en) * 2020-09-30 2022-04-12 郑州深澜动力科技有限公司 an electric bus

Cited By (1)

* Cited by examiner, † Cited by third party
Publication number Priority date Publication date Assignee Title
CN114312272A (en) * 2020-09-30 2022-04-12 郑州深澜动力科技有限公司 an electric bus

Similar Documents

Publication Publication Date Title
US8944199B2 (en) Working vehicle
CN201951221U (en) Heat radiation structure of power storage battery compartment of passenger car
US20200189397A1 (en) Wind-powered electric vehicle power regeneration system
CN213799214U (en) Electric motor coach
CN107187402B (en) Method and device for controlling air intake volume of hybrid electric vehicle grille
US7836705B2 (en) Roof with intergrated device for ventilating and cooling a motor vehicle passenger compartment
CN201841914U (en) Side air conditioner of loader
CN113335027A (en) Full-automatic combined overhead exhaust system of power supply vehicle and control method thereof
CN115626050A (en) Pure electric vehicle and active air inlet grille air guide structure thereof
CN109927535B (en) Wind scooper
CN212022251U (en) Air conditioning system of passenger car
CN106218736A (en) A kind of electric automobile dropping resistance increasing journey
CN2889768Y (en) Middle-size passenger car air conditioner with double evaporator, refrigerating and fresh air and heating device
CN113771597B (en) Electronic sightseeing vehicle of wind accuse heat dissipation with adjustable
CN217455590U (en) Anti-wind-channeling double-air-door structure
CN114312272A (en) an electric bus
CN209870021U (en) An air conditioning exhaust cooling recovery system for photovoltaic vehicles
CN113500888A (en) Split front-mounted pure electric vehicle air conditioning box structure
CN207842653U (en) A kind of wind scooper
CN208069608U (en) A kind of automobile snow removing dust-extraction unit
CN102745146A (en) Effective heat preserving method for passenger car by protective layer
CN110435393B (en) New energy automobile air conditioner tail suction type air intake system
CN110843483A (en) Multifunctional skylight for new energy automobile
KR101364514B1 (en) Air conditioner for an Automobile
CN223407758U (en) Air conditioning box assembly for electric three-wheeled boxcar

Legal Events

Date Code Title Description
GR01 Patent grant
GR01 Patent grant