CN213794467U - Bidirectional planing tool rest device of numerical control planer - Google Patents

Bidirectional planing tool rest device of numerical control planer Download PDF

Info

Publication number
CN213794467U
CN213794467U CN202022849328.4U CN202022849328U CN213794467U CN 213794467 U CN213794467 U CN 213794467U CN 202022849328 U CN202022849328 U CN 202022849328U CN 213794467 U CN213794467 U CN 213794467U
Authority
CN
China
Prior art keywords
tool holder
adjusting
rotating
adjustment
fixing
Prior art date
Legal status (The legal status is an assumption and is not a legal conclusion. Google has not performed a legal analysis and makes no representation as to the accuracy of the status listed.)
Expired - Fee Related
Application number
CN202022849328.4U
Other languages
Chinese (zh)
Inventor
丁鑫龙
Current Assignee (The listed assignees may be inaccurate. Google has not performed a legal analysis and makes no representation or warranty as to the accuracy of the list.)
Nanjing Sanchuan Equipment Technology Co Ltd
Original Assignee
Nanjing Sanchuan Equipment Technology Co Ltd
Priority date (The priority date is an assumption and is not a legal conclusion. Google has not performed a legal analysis and makes no representation as to the accuracy of the date listed.)
Filing date
Publication date
Application filed by Nanjing Sanchuan Equipment Technology Co Ltd filed Critical Nanjing Sanchuan Equipment Technology Co Ltd
Priority to CN202022849328.4U priority Critical patent/CN213794467U/en
Application granted granted Critical
Publication of CN213794467U publication Critical patent/CN213794467U/en
Expired - Fee Related legal-status Critical Current
Anticipated expiration legal-status Critical

Links

Images

Landscapes

  • Milling, Drilling, And Turning Of Wood (AREA)

Abstract

本实用新型公开了一种数控刨床双向刨削刀架装置,涉及数控刨床技术领域,为解决现有的数控刨床刀具安装后的调节性能还不够完善,不能很好的对切割方向进行调节的问题。所述刀架连接固定主架一侧的中间位置处安装有传动丝杆,所述刀架连接固定主架的上方安装有丝杆传动电机,所述传动丝杆的外侧安装有移动调节机构,所述移动调节机构的一侧安装有刀杆固定架,所述刀杆固定架的内部安装有固定安装刀具,所述刀杆固定架外侧的两端均安装有转动固定螺栓,所述移动调节机构另一侧的内部设置有调节转动槽,所述调节转动槽的内部安装有调节转动连接盘,所述调节转动连接盘的内侧安装有刀架调节电机。

Figure 202022849328

The utility model discloses a two-way planing tool holder device of a numerical control planer, which relates to the technical field of numerical control planers, in order to solve the problem that the adjustment performance of the existing numerical control planer tools after installation is not perfect, and the cutting direction cannot be adjusted well . A transmission screw rod is installed at the middle position of one side of the tool holder connected to the fixed main frame, a screw transmission motor is installed above the tool holder connected to the fixed main frame, and a moving adjustment mechanism is installed on the outer side of the transmission screw rod. A cutter bar fixing frame is installed on one side of the moving adjustment mechanism, a fixed installation tool is installed inside the cutter bar fixing frame, and rotating fixing bolts are installed on both ends of the outer side of the cutter bar fixing frame. The inside of the other side of the mechanism is provided with an adjustment rotation groove, an adjustment rotation connection plate is installed inside the adjustment rotation groove, and a tool holder adjustment motor is installed on the inner side of the adjustment rotation connection plate.

Figure 202022849328

Description

Bidirectional planing tool rest device of numerical control planer
Technical Field
The utility model relates to a numerical control planer technical field specifically is a two-way planing knife rest device of numerical control planer.
Background
A numerically controlled planer is a machine capable of machining large mechanical parts, and is a linear motion machine tool for planing the plane, groove or formed surface of a workpiece with a planer tool. The tool is simpler to machine by using a planer, but the productivity is lower (except for machining long and narrow planes), so that the tool is mainly used for single-piece and small-batch production and machine repair workshops, and is often replaced by a milling machine in large-batch production. Planing machines are mainly classified into a squaring machine, a double housing planer, a single arm planer, a specialized planer (e.g., an edge planer for planing the edge of a large steel plate, a planing punch, a planer for planing a workpiece having a complicated shape), and the like according to the structure and performance. The shaper is named because the ram and the tool rest are shaped like a cow head, and the planer tool is arranged on the tool rest of the ram to do longitudinal reciprocating motion and is mainly used for cutting various planes and grooves. The planer is named after a gantry type frame structure consisting of a top beam and an upright post, and a worktable drives a workpiece to do linear reciprocating motion through the gantry frame, so that the planer is mainly used for machining large planes (particularly long and narrow planes) and also used for machining grooves or planes of a plurality of small and medium parts at the same time.
However, the adjustment performance of the existing numerical control planer tool after installation is not perfect enough, and the cutting direction cannot be well adjusted; therefore, the existing requirements are not met, and a bidirectional planing tool rest device of the numerical control planer is provided for the requirements.
SUMMERY OF THE UTILITY MODEL
An object of the utility model is to provide a two-way planing tool rest device of numerical control planer to the regulation performance after the current numerical control planer cutter installation that proposes in solving above-mentioned background is still not enough perfect, can not be fine carry out the problem of adjusting to the cutting direction.
In order to achieve the above object, the utility model provides a following technical scheme: the utility model provides a two-way planing tool rest device of numerical control planer, includes that the fixed body frame is connected to the knife rest, the intermediate position department that the fixed body frame one side was connected to the knife rest installs the transmission lead screw, screw drive motor is installed to the top of the fixed body frame is connected to the knife rest, remove adjustment mechanism is installed in the outside of transmission lead screw, remove one side of adjustment mechanism and install the cutter arbor mount, the internally mounted of cutter arbor mount has the fixed mounting cutter, the rotation fixing bolt is all installed at the both ends in the cutter arbor mount outside, the inside of removing the adjustment mechanism opposite side is provided with adjusts the rotation groove, the internally mounted who adjusts the rotation groove has the regulation and rotates the connection pad, adjust the inboard of rotating the connection pad and install knife rest adjusting motor.
Preferably, an output shaft of the screw rod transmission motor is in transmission connection with a transmission screw rod, and the movement adjusting mechanism is in sliding connection with the transmission screw rod.
Preferably, one end of the rotating fixing bolt extends into the cutter bar fixing frame, the rotating fixing bolt is rotatably connected with the cutter bar fixing frame through threads, and a cutter mounting fixing groove is formed in the cutter bar fixing frame.
Preferably, a screw rod rotating sliding groove is formed in the middle position inside the moving adjusting mechanism, a sliding stabilizing block is installed on one side of the moving adjusting mechanism, and the sliding stabilizing block is connected with the tool rest to fix the main frame in a sliding mode.
Preferably, the output shaft of the tool rest adjusting motor is in transmission connection with the adjusting rotary connecting disc, the outer side of the adjusting rotary connecting disc is provided with a limiting fixing bolt, and one end of the limiting fixing bolt penetrates through the moving adjusting mechanism and extends into the adjusting rotary connecting disc.
Preferably, the middle position of the front end of the adjusting rotary connecting disc is provided with a rotary disc, the adjusting rotary connecting disc is provided with four fixed limiting holes, and the number of the fixed limiting holes is four.
Compared with the prior art, the beneficial effects of the utility model are that:
1. the utility model discloses an install the removal adjustment mechanism, can make the regulation performance of knife rest more stable perfect, through being provided with the cutter arbor mount, the cutter can insert the inside of cutter arbor mount, uses and rotates fixing bolt to carry out spacing fixed, and the stability of installation is higher, and the rotation of transmission lead screw drives the up-and-down motion of removal adjustment mechanism and adjusts;
2. the utility model discloses an install knife rest adjustment motor and adjust and rotate the connection pad, the output shaft through knife rest adjustment motor drives to adjust and rotates the connection pad, can adjust the position of whole cutter arbor mount when the pivoted, and structural performance is simple perfect more, and the regulation performance after having solved current numerical control planer cutter installation is still not enough perfect, can not be fine carry out the problem of adjusting to the cutting direction.
Drawings
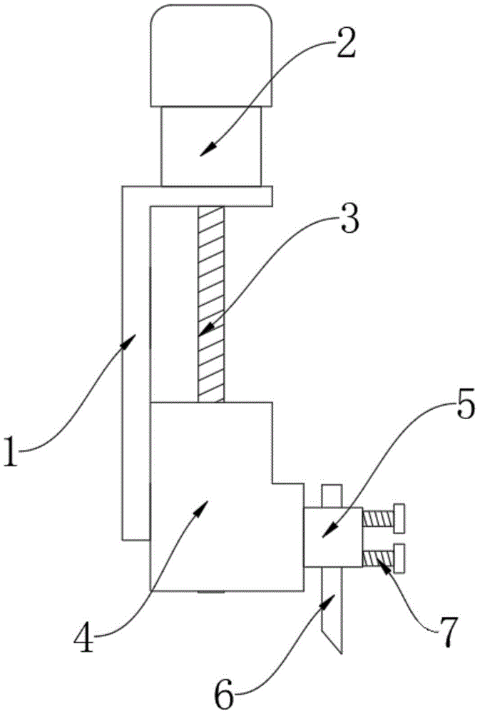
Fig. 1 is a front view of a bidirectional planing tool rest device of a numerically controlled planer of the present invention;
fig. 2 is a schematic structural view of the movement adjusting mechanism of the present invention;
fig. 3 is a schematic structural view of the adjusting rotary connection pad of the present invention.
In the figure: 1. the tool rest is connected with and fixed with the main frame; 2. the screw rod drives the electrical machinery; 3. a transmission screw rod; 4. a movement adjustment mechanism; 5. a cutter bar fixing frame; 6. fixedly mounting a cutter; 7. rotating the fixing bolt; 8. the screw rod rotates the sliding groove; 9. sliding the stabilizing block; 10. adjusting the rotating groove; 11. a cutter mounting fixing groove; 12. a tool rest adjusting motor; 13. adjusting a rotary connecting disc; 14. limiting and fixing the bolt; 15. rotating the disc; 16. fixing the limiting hole.
Detailed Description
The technical solutions in the embodiments of the present invention will be described clearly and completely with reference to the accompanying drawings in the embodiments of the present invention, and it is obvious that the described embodiments are only some embodiments of the present invention, not all embodiments.
Referring to fig. 1-3, the present invention provides an embodiment: the utility model provides a two-way planing knife rest device of numerical control planer, connect fixed body frame 1 including the knife rest, the intermediate position department of 1 one side of fixed body frame is connected to the knife rest installs transmission lead screw 3, lead screw drive motor 2 is installed to the top of fixed body frame 1 is connected to the knife rest, remove adjustment mechanism 4 is installed in the outside of transmission lead screw 3, move one side of adjustment mechanism 4 and install cutter arbor mount 5, the internally mounted of cutter arbor mount 5 has fixed mounting cutter 6, the rotation fixing bolt 7 is all installed at the both ends in the 5 outside of cutter arbor mount, the inside of removing 4 opposite sides of adjustment mechanism is provided with adjusts rotation groove 10, the internally mounted of adjusting rotation groove 10 adjusts rotation connection pad 13, adjust the inboard of rotation connection pad 13 and install knife rest adjusting motor 12, can make rotation regulation performance more stable perfect.
Further, the output shaft of the screw rod transmission motor 2 is in transmission connection with the transmission screw rod 3, the movable adjusting mechanism 4 is in sliding connection with the transmission screw rod 3, the sliding performance is more stable and perfect, and the adjustment is more convenient.
Further, the one end of rotating fixing bolt 7 extends to the inside of cutter arbor mount 5, and rotates fixing bolt 7 and pass through the screw thread rotation with cutter arbor mount 5 and be connected, and rotation regulation performance is more stable perfect, and the inside of cutter arbor mount 5 is provided with cutter installation fixed slot 11, and the spacing performance of cutter arbor is better.
Further, a screw rod rotating sliding groove 8 is formed in the middle position inside the moving adjusting mechanism 4, a sliding stabilizing block 9 is installed on one side of the moving adjusting mechanism 4, the sliding stabilizing block 9 is connected with the tool rest to fix the main frame 1 in a sliding mode, and flexibility is high.
Further, the output shaft of the tool rest adjusting motor 12 is in transmission connection with the adjusting rotary connecting disc 13, the limiting fixing bolt 14 is installed on the outer side of the adjusting rotary connecting disc 13, one end of the limiting fixing bolt 14 penetrates through the moving adjusting mechanism 4 and extends into the adjusting rotary connecting disc 13, and therefore the limiting structural performance can be better guaranteed.
Furthermore, the middle position of the front end of the adjusting rotary connecting disc 13 is provided with a rotary disc 15, the adjusting rotary connecting disc 13 is provided with four fixed limiting holes 16, and the four fixed limiting holes 16 can be fixed after rotating in the direction, so that the structural performance is simpler and more perfect.
The working principle is as follows: during the use, install fixed mounting cutter 6 in the inside of cutter arbor mount 5, can select whether to install the pad blade as required, use and rotate fixing bolt 7 and fix fixed mounting cutter 6, rotate fixing bolt 7, the one end of rotating fixing bolt 7 is fixed with the laminating of fixed mounting cutter 6, can begin to use after fixed the completion, when needs change position, start knife rest adjusting motor 12, the output shaft of knife rest adjusting motor 12 drives and adjusts rotation connection pad 13 and rotate, the rotation of adjusting rotation connection pad 13 drives cutter arbor mount 5 and rotates and adjust the position, the output shaft through lead screw drive motor 2 drives transmission lead screw 3 and rotates, the rotation of transmission lead screw 3 drives and removes the up-and-down motion of adjustment mechanism 4 and adjusts.
It is obvious to a person skilled in the art that the invention is not restricted to details of the above-described exemplary embodiments, but that it can be implemented in other specific forms without departing from the spirit or essential characteristics of the invention. The present embodiments are therefore to be considered in all respects as illustrative and not restrictive, the scope of the invention being indicated by the appended claims rather than by the foregoing description, and all changes which come within the meaning and range of equivalency of the claims are therefore intended to be embraced therein. Any reference sign in a claim should not be construed as limiting the claim concerned.

Claims (6)

1.一种数控刨床双向刨削刀架装置,包括刀架连接固定主架(1),其特征在于:所述刀架连接固定主架(1)一侧的中间位置处安装有传动丝杆(3),所述刀架连接固定主架(1)的上方安装有丝杆传动电机(2),所述传动丝杆(3)的外侧安装有移动调节机构(4),所述移动调节机构(4)的一侧安装有刀杆固定架(5),所述刀杆固定架(5)的内部安装有固定安装刀具(6),所述刀杆固定架(5)外侧的两端均安装有转动固定螺栓(7),所述移动调节机构(4)另一侧的内部设置有调节转动槽(10),所述调节转动槽(10)的内部安装有调节转动连接盘(13),所述调节转动连接盘(13)的内侧安装有刀架调节电机(12)。1. A two-way planing tool holder device for a CNC planer, comprising a tool holder connecting and fixing a main frame (1), characterized in that: a drive screw is installed at the middle position of one side of the tool holder connecting and fixing the main frame (1). (3), a screw drive motor (2) is installed above the tool holder connected to the fixed main frame (1), and a movement adjustment mechanism (4) is installed on the outer side of the drive screw (3). A cutter bar fixing frame (5) is installed on one side of the mechanism (4), a fixed installation tool (6) is installed inside the cutter bar fixing frame (5), and both ends of the outer side of the cutter bar fixing frame (5) are installed Both are installed with rotating fixing bolts (7), the other side of the moving adjustment mechanism (4) is provided with an adjustment rotation groove (10), and an adjustment rotation connection plate (13) is installed inside the adjustment rotation groove (10). ), a tool rest adjusting motor (12) is installed on the inner side of the adjusting and rotating connecting plate (13). 2.根据权利要求1所述的一种数控刨床双向刨削刀架装置,其特征在于:所述丝杆传动电机(2)的输出轴与传动丝杆(3)传动连接,所述移动调节机构(4)与传动丝杆(3)滑动连接。2. A CNC planer bidirectional planing tool holder device according to claim 1, characterized in that: the output shaft of the screw drive motor (2) is drivingly connected with the drive screw (3), and the movement adjustment The mechanism (4) is slidably connected with the drive screw (3). 3.根据权利要求1所述的一种数控刨床双向刨削刀架装置,其特征在于:所述转动固定螺栓(7)的一端延伸至刀杆固定架(5)的内部,且转动固定螺栓(7)与刀杆固定架(5)通过螺纹转动连接,所述刀杆固定架(5)的内部设置有刀具安装固定槽(11)。3. A CNC planer two-way planing tool holder device according to claim 1, characterized in that: one end of the rotating fixing bolt (7) extends to the inside of the tool bar fixing frame (5), and the rotating fixing bolt (7) It is connected with the tool holder fixing frame (5) by screw thread rotation, and the tool holder fixing frame (5) is provided with a tool installation fixing groove (11) inside. 4.根据权利要求1所述的一种数控刨床双向刨削刀架装置,其特征在于:所述移动调节机构(4)内部的中间位置处设置有丝杆转动滑动槽(8),所述移动调节机构(4)的一侧安装有滑动稳定块(9),且滑动稳定块(9)与刀架连接固定主架(1)滑动连接。4. A two-way planing tool holder device for a numerically controlled planer according to claim 1, characterized in that: a screw rotating sliding groove (8) is provided at a middle position inside the moving adjustment mechanism (4), and the A sliding stabilizing block (9) is installed on one side of the moving adjustment mechanism (4), and the sliding stabilizing block (9) is slidably connected with the tool rest connecting and fixing main frame (1). 5.根据权利要求1所述的一种数控刨床双向刨削刀架装置,其特征在于:所述刀架调节电机(12)的输出轴与调节转动连接盘(13)传动连接,所述调节转动连接盘(13)的外侧安装有限位固定螺栓(14),且限位固定螺栓(14)的一端贯穿移动调节机构(4)并延伸至调节转动连接盘(13)的内部。5. A two-way planing tool holder device for a numerically controlled planer according to claim 1, characterized in that: the output shaft of the tool holder adjusting motor (12) is drivingly connected to the adjusting rotating connecting plate (13), and the adjusting A limit fixing bolt (14) is installed on the outer side of the rotating connecting plate (13), and one end of the limiting fixing bolt (14) penetrates the moving adjusting mechanism (4) and extends to the inside of the adjusting rotating connecting plate (13). 6.根据权利要求1所述的一种数控刨床双向刨削刀架装置,其特征在于:所述调节转动连接盘(13)前端的中间位置处设置有转动圆盘(15),所述调节转动连接盘(13)上设置有固定限位孔(16),且固定限位孔(16)设置有四个。6. A two-way planing tool holder device for a numerically controlled planer according to claim 1, characterized in that: a rotating disc (15) is provided at the middle position of the front end of the adjusting rotating connecting plate (13), and the adjusting The rotating connecting plate (13) is provided with fixed limit holes (16), and four fixed limit holes (16) are provided.
CN202022849328.4U 2020-12-01 2020-12-01 Bidirectional planing tool rest device of numerical control planer Expired - Fee Related CN213794467U (en)

Priority Applications (1)

Application Number Priority Date Filing Date Title
CN202022849328.4U CN213794467U (en) 2020-12-01 2020-12-01 Bidirectional planing tool rest device of numerical control planer

Applications Claiming Priority (1)

Application Number Priority Date Filing Date Title
CN202022849328.4U CN213794467U (en) 2020-12-01 2020-12-01 Bidirectional planing tool rest device of numerical control planer

Publications (1)

Publication Number Publication Date
CN213794467U true CN213794467U (en) 2021-07-27

Family

ID=76941760

Family Applications (1)

Application Number Title Priority Date Filing Date
CN202022849328.4U Expired - Fee Related CN213794467U (en) 2020-12-01 2020-12-01 Bidirectional planing tool rest device of numerical control planer

Country Status (1)

Country Link
CN (1) CN213794467U (en)

Cited By (1)

* Cited by examiner, † Cited by third party
Publication number Priority date Publication date Assignee Title
CN118650191A (en) * 2024-08-21 2024-09-17 江苏长友特钢机械有限公司 A planing device for processing mining machinery parts

Cited By (2)

* Cited by examiner, † Cited by third party
Publication number Priority date Publication date Assignee Title
CN118650191A (en) * 2024-08-21 2024-09-17 江苏长友特钢机械有限公司 A planing device for processing mining machinery parts
CN118650191B (en) * 2024-08-21 2024-11-29 江苏长友特钢机械有限公司 Planing device for processing mining machinery accessories

Similar Documents

Publication Publication Date Title
CN210587353U (en) A horizontal top processing device for thin-walled blades
CN210080808U (en) Vertical and horizontal five-axis rotary machining device
CN213794467U (en) Bidirectional planing tool rest device of numerical control planer
CN211052763U (en) Full-automatic chamfering device for stainless steel bolts
CN115609021A (en) Lathe with main shaft and fly cutter head driven simultaneously
CN211516854U (en) Milling machine tool
CN211516328U (en) Mechanically-clamped cyclone milling cutter
CN203236275U (en) Lifting mechanism of gantry-movable numerically controlled drilling and milling machine power head
CN207952824U (en) Numerical control rotation divides milling machine
CN218696374U (en) A positioning fixture for CNC gantry milling machine processing
CN208163889U (en) A kind of multifunctional solid wood process equipment of milling and planing
CN211565111U (en) Diversified adjustable blade disc
CN206425595U (en) A kind of efficiently multi-faceted milling machine
CN208662629U (en) A kind of nC vertical milling machine mechanical arm
CN213614504U (en) A precision cutting device for machine tool platen processing
CN208895559U (en) A kind of utility knife holder structure
CN208929231U (en) A kind of double main shafts walk core type numerically controlled lathe
CN215698292U (en) Milling cutter disc axle center distance adjusting device
CN117961190B (en) High-precision flange inner wall key groove machining device
CN218193675U (en) Intelligent grooving machine head driving device
CN221389869U (en) Boring device for processing tungsten-copper alloy
CN106181429A (en) A heavy cutting engraving and milling machine
CN219853564U (en) Automatic change tool setting end face and mill device
CN219188878U (en) Sleeve peeling machine with chamfer
CN219924622U (en) Boring device for transfer case shell of tractor

Legal Events

Date Code Title Description
GR01 Patent grant
GR01 Patent grant
CF01 Termination of patent right due to non-payment of annual fee

Granted publication date: 20210727

CF01 Termination of patent right due to non-payment of annual fee