CN213785269U - Potato cleaning machine with peeling function - Google Patents

Potato cleaning machine with peeling function Download PDF

Info

Publication number
CN213785269U
CN213785269U CN202022373147.9U CN202022373147U CN213785269U CN 213785269 U CN213785269 U CN 213785269U CN 202022373147 U CN202022373147 U CN 202022373147U CN 213785269 U CN213785269 U CN 213785269U
Authority
CN
China
Prior art keywords
peeling
fixedly connected
pipe
box
hole
Prior art date
Legal status (The legal status is an assumption and is not a legal conclusion. Google has not performed a legal analysis and makes no representation as to the accuracy of the status listed.)
Expired - Fee Related
Application number
CN202022373147.9U
Other languages
Chinese (zh)
Inventor
赵海霞
于梦恬
张宇
魏昆
Current Assignee (The listed assignees may be inaccurate. Google has not performed a legal analysis and makes no representation or warranty as to the accuracy of the list.)
Qingdao University of Science and Technology
Original Assignee
Qingdao University of Science and Technology
Priority date (The priority date is an assumption and is not a legal conclusion. Google has not performed a legal analysis and makes no representation as to the accuracy of the date listed.)
Filing date
Publication date
Application filed by Qingdao University of Science and Technology filed Critical Qingdao University of Science and Technology
Priority to CN202022373147.9U priority Critical patent/CN213785269U/en
Application granted granted Critical
Publication of CN213785269U publication Critical patent/CN213785269U/en
Expired - Fee Related legal-status Critical Current
Anticipated expiration legal-status Critical

Links

Images

Landscapes

  • Apparatuses For Bulk Treatment Of Fruits And Vegetables And Apparatuses For Preparing Feeds (AREA)

Abstract

本实用新型公开了一种具有去皮功能的土豆清洗机,属于食品加工机械技术领域,包括清洗箱、第一外接水管、蓄水管、第一喷头、第一通孔、进料斗、第二通孔、带孔管、轴承、第一皮带轮、第一电机、第二皮带轮、第一污水口、去皮箱、第三通孔、下料管、去皮筛网、第二电机、去皮装置、第二外接水管、第二喷头、出料滑道、第三外接水管、第三喷头、第二污水口、第二滤网、挡水板。去皮的土豆逐渐向下运动,最后落入出料滑道中,达到了自动出料的效果,去皮完成的土豆顺着出料滑道滑行,被第三喷头喷出的水再次清洗,干净去皮的土豆就会从出料滑道滑出,解决了目前市场类似装置无法自动出料与清理、去皮的效果。

Figure 202022373147

The utility model discloses a potato washing machine with peeling function, belonging to the technical field of food processing machinery, comprising a washing box, a first external water pipe, a water storage pipe, a first spray head, a first through hole, a feeding hopper, a first Second through hole, holed pipe, bearing, first pulley, first motor, second pulley, first sewage outlet, peeling box, third through hole, feeding pipe, peeling screen, second motor, removing The leather device, the second external water pipe, the second nozzle, the discharge chute, the third external water pipe, the third nozzle, the second sewage outlet, the second filter screen, and the water baffle. The peeled potatoes move downward gradually, and finally fall into the discharge chute, achieving the effect of automatic discharge. The peeled potatoes slide along the discharge chute, and are washed again by the water sprayed by the third nozzle. The peeled potatoes will slide out from the discharge chute, which solves the problem that similar devices in the market cannot automatically discharge, clean and peel.

Figure 202022373147

Description

Potato cleaning machine with peeling function
Technical Field
The utility model relates to a potato cleaning machine field specifically is a potato cleaning machine with peel function.
Background
At present, the peeling method of potatoes, namely dusk, is roughly divided into three methods, namely mechanical peeling, steam peeling and chemical peeling, wherein the three peeling methods have the working principle that the mechanical peeling is carried out in a cylindrical container, and the purpose of peeling is achieved by rubbing the surface of tubers in a medium-speed or high-speed rotation by virtue of a disc with abrasive materials, a roller or a special rubber roller; peeling with steam, heating the surface of the tuber with high-pressure steam in a high-pressure container, opening the container, and suddenly releasing pressure to separate the skin and pulp of the tuber; chemical peeling, in an alkali-resistant container, adding an alkali solution, heating, adding tubers, corroding the surface of the tubers with the alkali solution after a period of time, repeatedly washing with high-pressure water, and peeling the tubers in a mechanical peeling machine.
However, most of the existing potato cleaning machines in the current market do not have a peeling function, the potato cleaning machines with the peeling function cannot automatically feed materials, the cleaning and peeling effects are not good enough, and in order to solve the problem, a potato cleaning machine which is simple in structure, convenient to operate and has the peeling function needs to be designed.
SUMMERY OF THE UTILITY MODEL
In order to solve the above problem, the utility model adopts the following technical scheme: the utility model provides a potato cleaning machine with peel function which characterized in that: the automatic water-saving washing machine comprises a washing box, first external water pipes, water storage pipes, first spray heads, first through holes, a feed hopper, second through holes, a perforated pipe, a bearing, a first belt pulley, a first motor, a second belt pulley, a first sewage port, a peeling box, a third through hole, a discharging pipe, a peeling screen, a second motor, a peeling device, a second external water pipe, a second spray head, a discharging slideway, a third external water pipe, a third spray head, a second sewage port, a second filter screen and a water baffle plate, wherein the top of the washing box is fixedly connected with two first external water pipes, the bottom ends of the two first external water pipes penetrate through and extend into the washing box, the bottom between the two first external water pipes is fixedly connected with the water storage pipes communicated with the inside of the washing box, the bottom of the water storage pipes is fixedly provided with the first spray heads which are arranged at equal intervals, and the left side wall of the inside of the washing box is provided with the first through holes, the top of the left side of the cleaning box is fixedly connected with a feed hopper communicated with the inside of the cleaning box, the right side wall of the inside of the cleaning box is provided with a second through hole, the cleaning box is communicated with the feed hopper through the second through hole, a perforated pipe is inserted between the first through hole and the second through hole, the perforated pipe is sleeved with two bearings fixedly connected with the perforated pipe, the two bearings are respectively positioned inside the first through hole and the second through hole, the two bearings are respectively fixedly connected with the inner walls of the first through hole and the second through hole, the perforated pipe is sleeved with a first belt pulley fixedly connected with the perforated pipe, the bottom wall of the inner bottom wall of the cleaning box is fixedly provided with a first motor, the output shaft of the first motor is fixedly connected with a second belt pulley, the first belt pulley is connected with the second belt pulley through belt transmission, and the left bottom of the cleaning box is provided with a first sewage port, the peeling machine is characterized in that the right side of the cleaning box is fixedly connected with a peeling box, the top of the left side of the peeling box is provided with a third through hole, the left side wall inside the peeling box is fixedly connected with a blanking pipe, the blanking pipe is communicated with the cleaning box through the second through hole and the third through hole, the right end of the perforated pipe is connected with the left side of the blanking pipe through the second through hole and the third through hole and extends to the inside of the blanking pipe, a peeling screen is fixedly connected between the left side wall and the right side wall inside the peeling box, the inner top wall of the peeling box is fixedly connected with a second motor, an output shaft of the second motor is fixedly connected with a peeling device, the peeling device is positioned inside the peeling screen, the top of the peeling box is fixedly connected with a second outer water receiving pipe, the bottom end of the second outer water receiving pipe penetrates through and extends to the inside of the peeling box, and the bottom end of the second outer water receiving pipe is fixedly connected with a second spray head, the second spray head is located at the top of the right side of the peeling device, the bottom of the peeling screen is fixedly connected with a discharge slide way communicated with the inside of the peeling screen, the right end of the discharge slide way penetrates through and extends to the outside of the peeling box, the right side of the peeling box is fixedly connected with a third external water pipe, the left end of the third external water pipe penetrates through and extends to the inside of the peeling box, the left end of the third external water pipe is fixedly connected with a third spray head, the bottom end of the third spray head penetrates through and extends to the inside of the discharge slide way, and a second sewage port is formed in the bottom of the right side of the peeling box.
The peeling device comprises a fan-shaped block, the fan-shaped block is fixedly connected to an output shaft of the second motor, a sand disc fan-shaped plate is fixedly connected to the bottom of the fan-shaped block, water outlet holes which are uniformly distributed are formed in the sand disc fan-shaped plate, and first filter screens are fixedly connected to the water outlet holes.
Two second filter screens are arranged at the bottom of the discharging slide way.
The bottom of the cleaning box is inclined downwards from right to left in front view shape, and the bottom of the peeling box is inclined downwards from left to right in front view shape.
The top fixedly connected with breakwater of first motor, the left side of breakwater is crooked down.
The invention has the beneficial effects that: when potatoes need to be cleaned and peeled, the potatoes are poured into a cleaning box through a feed hopper, the potatoes enter a perforated pipe along the feed hopper, the perforated pipe can allow water to enter the perforated pipe so as to clean the potatoes, then a first motor is electrified to work and drives a second belt pulley to rotate through a belt, the perforated pipe also rotates along with the first motor, a first spray nozzle is opened, the potatoes are washed by the water while rolling in the perforated pipe, the effect of uniform washing is achieved, due to the inclination of the perforated pipe, the potatoes move rightwards, the cleaned muddy water falls to the bottom of the cleaning box and flows out from a first sewage port, the primarily cleaned potatoes enter a blanking pipe through the right end of the perforated pipe, a second motor is electrified to work, a second motor drives a peeling device to rotate, the potatoes fall between a peeling screen and a sand disc sector plate along the blanking pipe, and the effect of peeling of the potatoes can be ensured by clamping the potatoes, the device can continuously peel off the potatoes, the second spray nozzle is opened, water flows out of the water outlet hole to perform secondary cleaning on the potatoes, the potatoes are peeled by friction between the peeling screen and the sand disc sector plate, the peeled potatoes gradually move downwards along with the rotation of the peeling device and finally fall into the discharging slide way, the automatic discharging effect is achieved, the third spray nozzle is opened, the peeled potatoes slide along the discharging slide way and are cleaned again by water sprayed by the third spray nozzle, and the chips and sewage fall to the bottom of the peeling box through the second filter screen and are discharged from the second sewage port, the clean peeled potatoes slide out of the discharging slide way, and the problems that similar devices in the current market cannot automatically discharge and clean the peeling effect is poor are solved.
The following describes the present invention in further detail with reference to the accompanying drawings.
Drawings
Fig. 1 is a schematic view of a front view cross section of a potato washing machine with peeling function of the present invention.
Fig. 2 is a schematic view of the structure of the perforated pipe of the potato cleaning machine with peeling function of the present invention.
Fig. 3 is a schematic view of the front sectional view of the peeling device of the potato washing machine with peeling function of the present invention.
Fig. 4 is a schematic view of a front view structure of a sand disc sector plate of the potato cleaning machine with peeling function.
Fig. 5 is a schematic view of a peeling screen of a potato washing machine with peeling function.
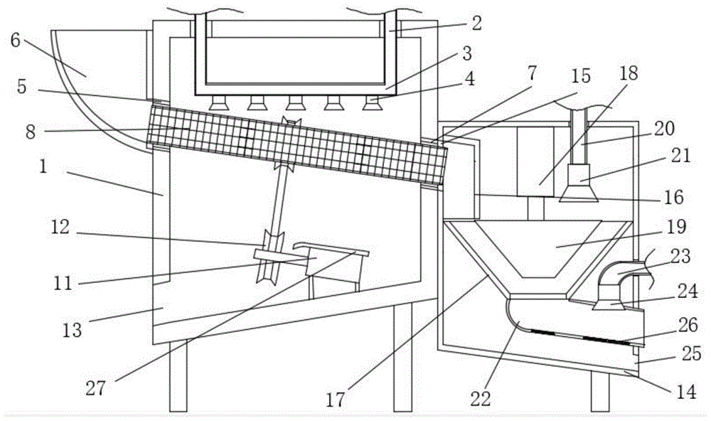
In the figure: 1. a cleaning tank; 2. a first external water pipe; 3. a water storage pipe; 4. a first nozzle; 5. a first through hole; 6. a feed hopper; 7. a second through hole; 8. a perforated tube; 9. a bearing; 10. a first pulley; 11. a first motor; 12. a second pulley; 13. a first sewage port; 14. a peeling box; 15. a third through hole; 16. a discharging pipe; 17. peeling and screening; 18. a second motor; 19. a peeling device; 20. a second outer water receiving pipe; 21. a second nozzle; 22. a discharge chute; 23. a third external water pipe; 24. a third spray head; 25. a second sewage port; 26. a second filter screen; 27. a water baffle.
Detailed Description
Referring to the attached drawings, namely figure 1, figure 2, figure 3, figure 4 and figure 5, the potato washing machine with the peeling function is characterized in that: comprises a cleaning box (1), first external water pipes (2), a water storage pipe (3), a first spray head (4), a first through hole (5), a feed hopper (6), a second through hole (7), a perforated pipe (8), a bearing (9), a first belt pulley (10), a first motor (11), a second belt pulley (12), a first sewage port (13), a peeling box (14), a third through hole (15), a discharge pipe (16), a peeling screen (17), a second motor (18), a peeling device (19), a second external water pipe (20), a second spray head (21), a discharge slideway (22), a third external water pipe (23), a third spray head (24), a second sewage port (25), a second filter screen (26) and a water baffle plate (27), wherein the top of the cleaning box (1) is fixedly connected with two first external water pipes (2), and the bottom ends of the two first external water pipes (2) penetrate through and extend to the interior of the cleaning box (1), the bottom fixedly connected with between two first external water pipes (2) is communicated with the inside of the water storage pipe (3), the bottom of the water storage pipe (3) is fixedly provided with first spray heads (4) which are arranged equidistantly, the left side wall inside the cleaning box (1) is provided with a first through hole (5), the left top of the cleaning box (1) is fixedly connected with a feed hopper (6) communicated with the inside of the cleaning box, the right side wall inside the cleaning box (1) is provided with a second through hole (7), the cleaning box (1) is communicated with the feed hopper (6) through the second through hole (7), a perforated pipe (8) is inserted between the first through hole (5) and the second through hole (7), the perforated pipe (8) is sleeved with two bearings (9) fixedly connected with the perforated pipe, and the two bearings (9) are respectively positioned inside the first through hole (5) and the second through hole (7), the two bearings (9) are respectively fixedly connected with the inner walls of the first through hole (5) and the second through hole (7), a first belt pulley (10) fixedly connected with the first belt pulley is sleeved on the perforated pipe (8), a first motor (11) is fixedly installed on the inner bottom wall of the cleaning box (1), a second belt pulley (12) is fixedly connected to an output shaft of the first motor (11), the first belt pulley (10) is connected with the second belt pulley (12) through belt transmission, a first sewage port (13) is formed in the left bottom of the cleaning box (1), a leather removing box (14) is fixedly connected to the right side of the cleaning box (1), a third through hole (15) is formed in the left top of the leather removing box (14), a blanking pipe (16) is fixedly connected to the left side wall inside the leather removing box (14), and the blanking pipe (16) is communicated with the cleaning box (1) through the second through hole (7), the right end of the perforated pipe (8) is connected with the left side of the blanking pipe (16) through a second through hole (7) and a third through hole (15) and extends to the interior of the blanking pipe (16), a peeling screen (17) is fixedly connected between the left side wall and the right side wall of the interior of the peeling box (14), a second motor (18) is fixedly connected to the inner top wall of the peeling box (14), a peeling device (19) is fixedly connected to the output shaft of the second motor (18), the peeling device (19) is located inside the peeling screen (17), a second outer water receiving pipe (20) is fixedly connected to the top of the peeling box (14), the bottom end of the second outer water receiving pipe (20) penetrates through and extends to the interior of the peeling box (14), a second spray head (21) is fixedly connected to the bottom end of the second outer water receiving pipe (20), and the second spray head (21) is located on the top of the right side of the peeling device (19), the peeling machine is characterized in that a discharging slide way (22) communicated with the inside of the peeling screen (17) is fixedly connected to the bottom of the peeling screen (17), the right end of the discharging slide way (22) penetrates through and extends to the outside of the peeling box (14), a third external water pipe (23) is fixedly connected to the right side of the peeling box (14), the left end of the third external water pipe (23) penetrates through and extends to the inside of the peeling box (14), a third spray head (24) is fixedly connected to the left end of the third external water pipe (23), the bottom end of the third spray head (24) penetrates through and extends to the inside of the discharging slide way (22), and a second sewage port (25) is formed in the bottom of the right side of the peeling box (14).
Peeling apparatus (19) includes sector (1901), sector (1901) fixed connection is on the output shaft of second motor (18), the bottom fixedly connected with sand table sector plate (1902) of sector (1901), seted up evenly distributed's apopore (1903) on sand table sector plate (1902), equal fixedly connected with first filter screen (1904) on apopore (1903).
Two second filter screens (26) are arranged at the bottom of the discharging slide way (22).
The bottom of the cleaning box (1) is inclined downwards from right to left in front view shape, and the bottom of the peeling box (14) is inclined downwards from left to right in front view shape.
The top of the first motor (11) is fixedly connected with a water baffle (27), and the left side of the water baffle (27) bends downwards.
The working principle is as follows: when potatoes need to be cleaned and peeled, the potatoes are firstly poured into a cleaning box (1) through a feed hopper (6) and enter a perforated pipe (8) along the feed hopper (6), a first motor (11) is electrified to work, a second belt pulley (12) is driven to rotate through a belt, the perforated pipe (8) rotates along with the potato, a first spray head (4) is opened, the potatoes are washed by water while rolling in the perforated pipe (8), the potatoes move rightwards due to the inclination of the perforated pipe (8), the cleaned muddy water falls to the bottom of the cleaning box (1) and flows out from a first sewage port (13), the preliminarily cleaned potatoes enter a blanking pipe (16) through the right end of the perforated pipe (8), a second motor (18) is electrified to work, the second motor (18) drives a peeling device (19) to rotate, the potatoes fall between a sector screen (17) and an abrasive disc screen plate (1902) along the blanking pipe (16), the second spray head (21) is opened, water flows out from the water outlet hole (1903), potatoes are peeled by friction between the peeling screen (17) and the sand tray sector plate (1902), the potatoes rotate along with the peeling device (19), the peeled potatoes gradually move downwards and finally fall into the discharging slide way (22), the third spray head (24) is opened, the peeled potatoes slide along the discharging slide way (22) and are washed by water sprayed by the third spray head (24) again, and the removed chips and sewage fall to the bottom of the peeling box (14) through the second filter screen (26) and are discharged from the second sewage port (25), so that the problems of incapability of automatic discharging and uneven peeling are solved.

Claims (5)

1. The utility model provides a potato cleaning machine with peel function which characterized in that: comprises a cleaning box (1), first external water pipes (2), a water storage pipe (3), a first spray head (4), a first through hole (5), a feed hopper (6), a second through hole (7), a perforated pipe (8), a bearing (9), a first belt pulley (10), a first motor (11), a second belt pulley (12), a first sewage port (13), a peeling box (14), a third through hole (15), a discharge pipe (16), a peeling screen (17), a second motor (18), a peeling device (19), a second external water pipe (20), a second spray head (21), a discharge slideway (22), a third external water pipe (23), a third spray head (24), a second sewage port (25), a second filter screen (26) and a water baffle plate (27), wherein the top of the cleaning box (1) is fixedly connected with two first external water pipes (2), and the bottom ends of the two first external water pipes (2) penetrate through and extend to the interior of the cleaning box (1), the bottom fixedly connected with between two first external water pipes (2) is communicated with the inside of the water storage pipe (3), the bottom of the water storage pipe (3) is fixedly provided with first spray heads (4) which are arranged equidistantly, the left side wall inside the cleaning box (1) is provided with a first through hole (5), the left top of the cleaning box (1) is fixedly connected with a feed hopper (6) communicated with the inside of the cleaning box, the right side wall inside the cleaning box (1) is provided with a second through hole (7), the cleaning box (1) is communicated with the feed hopper (6) through the second through hole (7), a perforated pipe (8) is inserted between the first through hole (5) and the second through hole (7), the perforated pipe (8) is sleeved with two bearings (9) fixedly connected with the perforated pipe, and the two bearings (9) are respectively positioned inside the first through hole (5) and the second through hole (7), the two bearings (9) are respectively fixedly connected with the inner walls of the first through hole (5) and the second through hole (7), a first belt pulley (10) fixedly connected with the first belt pulley is sleeved on the perforated pipe (8), a first motor (11) is fixedly installed on the inner bottom wall of the cleaning box (1), a second belt pulley (12) is fixedly connected to an output shaft of the first motor (11), the first belt pulley (10) is connected with the second belt pulley (12) through belt transmission, a first sewage port (13) is formed in the left bottom of the cleaning box (1), a leather removing box (14) is fixedly connected to the right side of the cleaning box (1), a third through hole (15) is formed in the left top of the leather removing box (14), a blanking pipe (16) is fixedly connected to the left side wall inside the leather removing box (14), and the blanking pipe (16) is communicated with the cleaning box (1) through the second through hole (7), the right end of the perforated pipe (8) is connected with the left side of the blanking pipe (16) through a second through hole (7) and a third through hole (15) and extends to the interior of the blanking pipe (16), a peeling screen (17) is fixedly connected between the left side wall and the right side wall of the interior of the peeling box (14), a second motor (18) is fixedly connected to the inner top wall of the peeling box (14), a peeling device (19) is fixedly connected to the output shaft of the second motor (18), the peeling device (19) is located inside the peeling screen (17), a second outer water receiving pipe (20) is fixedly connected to the top of the peeling box (14), the bottom end of the second outer water receiving pipe (20) penetrates through and extends to the interior of the peeling box (14), a second spray head (21) is fixedly connected to the bottom end of the second outer water receiving pipe (20), and the second spray head (21) is located on the top of the right side of the peeling device (19), the peeling machine is characterized in that a discharging slide way (22) communicated with the inside of the peeling screen (17) is fixedly connected to the bottom of the peeling screen (17), the right end of the discharging slide way (22) penetrates through and extends to the outside of the peeling box (14), a third external water pipe (23) is fixedly connected to the right side of the peeling box (14), the left end of the third external water pipe (23) penetrates through and extends to the inside of the peeling box (14), a third spray head (24) is fixedly connected to the left end of the third external water pipe (23), the bottom end of the third spray head (24) penetrates through and extends to the inside of the discharging slide way (22), and a second sewage port (25) is formed in the bottom of the right side of the peeling box (14).
2. The potato washing machine with peeling function as claimed in claim 1, wherein: peeling apparatus (19) includes sector (1901), sector (1901) fixed connection is on the output shaft of second motor (18), the bottom fixedly connected with sand table sector plate (1902) of sector (1901), seted up evenly distributed's apopore (1903) on sand table sector plate (1902), equal fixedly connected with first filter screen (1904) on apopore (1903).
3. The potato washing machine with peeling function as claimed in claim 1, wherein: two second filter screens (26) are arranged at the bottom of the discharging slide way (22).
4. The potato washing machine with peeling function as claimed in claim 1, wherein: the bottom of the cleaning box (1) is inclined downwards from right to left in front view shape, and the bottom of the peeling box (14) is inclined downwards from left to right in front view shape.
5. The potato washing machine with peeling function as claimed in claim 1, wherein: the top of the first motor (11) is fixedly connected with a water baffle (27), and the left side of the water baffle (27) bends downwards.
CN202022373147.9U 2020-10-22 2020-10-22 Potato cleaning machine with peeling function Expired - Fee Related CN213785269U (en)

Priority Applications (1)

Application Number Priority Date Filing Date Title
CN202022373147.9U CN213785269U (en) 2020-10-22 2020-10-22 Potato cleaning machine with peeling function

Applications Claiming Priority (1)

Application Number Priority Date Filing Date Title
CN202022373147.9U CN213785269U (en) 2020-10-22 2020-10-22 Potato cleaning machine with peeling function

Publications (1)

Publication Number Publication Date
CN213785269U true CN213785269U (en) 2021-07-27

Family

ID=76960846

Family Applications (1)

Application Number Title Priority Date Filing Date
CN202022373147.9U Expired - Fee Related CN213785269U (en) 2020-10-22 2020-10-22 Potato cleaning machine with peeling function

Country Status (1)

Country Link
CN (1) CN213785269U (en)

Cited By (1)

* Cited by examiner, † Cited by third party
Publication number Priority date Publication date Assignee Title
CN118902121A (en) * 2024-10-10 2024-11-08 浙江千家汇电器设备有限公司 Automatic potato peeling device and working method thereof

Cited By (1)

* Cited by examiner, † Cited by third party
Publication number Priority date Publication date Assignee Title
CN118902121A (en) * 2024-10-10 2024-11-08 浙江千家汇电器设备有限公司 Automatic potato peeling device and working method thereof

Similar Documents

Publication Publication Date Title
CN106723131B (en) Green walnut peeling device
CN208215453U (en) A kind of novel potato peeling slicer
CN204393270U (en) The full powder production line of one potato seed class
CN204180878U (en) A kind of bamboo shoots peeling cleaning machine
CN206284343U (en) Potato cleaning and peeling all-in-one machine
CN110841969A (en) Ginseng washs automation equipment
CN213785269U (en) Potato cleaning machine with peeling function
CN204393298U (en) A kind of automatic peeling machine for the production of the full powder of potato class
CN207505885U (en) A kind of radish peeling equipment
CN102342571A (en) Dehulling machine for tuberous and root-typed crops
CN206966194U (en) A kind of log washer
CN201718429U (en) Tuber and tuberous root crops peeling machine
CN107156879A (en) Apparatus for peeling off
CN109393508A (en) A kind of vertical coffee bean shelling device of compact efficient
CN216906746U (en) Agricultural product processing is with wasing peeling apparatus
CN108851112B (en) A coffee bean peeling and rinsing device
CN206825739U (en) A kind of high-efficiency washing device for regenerated plastics
CN209628594U (en) A kind of vertical coffee bean shelling device of compact efficient
CN109602039A (en) A kind of konjaku processing cleaning and peeling equipment
CN211185786U (en) A high-efficiency brush type peeling machine
CN209825142U (en) Inner-thorn type roller peeling machine
CN102585019B (en) Full automatic starch separator
CN218898222U (en) Vertical centrifugal hair roller potato peeling machine
CN113693120A (en) Shellfish is with clean and hierarchical integrated device
CN223473034U (en) A high-efficiency konjac peeling machine

Legal Events

Date Code Title Description
GR01 Patent grant
GR01 Patent grant
CF01 Termination of patent right due to non-payment of annual fee
CF01 Termination of patent right due to non-payment of annual fee

Granted publication date: 20210727