CN213778731U - High-efficient heat dissipation and high strength's radiator - Google Patents

High-efficient heat dissipation and high strength's radiator Download PDF

Info

Publication number
CN213778731U
CN213778731U CN202022550140.XU CN202022550140U CN213778731U CN 213778731 U CN213778731 U CN 213778731U CN 202022550140 U CN202022550140 U CN 202022550140U CN 213778731 U CN213778731 U CN 213778731U
Authority
CN
China
Prior art keywords
water
pipe
sleeve
heat dissipation
radiator
Prior art date
Legal status (The legal status is an assumption and is not a legal conclusion. Google has not performed a legal analysis and makes no representation as to the accuracy of the status listed.)
Expired - Fee Related
Application number
CN202022550140.XU
Other languages
Chinese (zh)
Inventor
文银
Current Assignee (The listed assignees may be inaccurate. Google has not performed a legal analysis and makes no representation or warranty as to the accuracy of the list.)
Kunshan Hengpu Hardware Co ltd
Original Assignee
Kunshan Hengpu Hardware Co ltd
Priority date (The priority date is an assumption and is not a legal conclusion. Google has not performed a legal analysis and makes no representation as to the accuracy of the date listed.)
Filing date
Publication date
Application filed by Kunshan Hengpu Hardware Co ltd filed Critical Kunshan Hengpu Hardware Co ltd
Priority to CN202022550140.XU priority Critical patent/CN213778731U/en
Application granted granted Critical
Publication of CN213778731U publication Critical patent/CN213778731U/en
Expired - Fee Related legal-status Critical Current
Anticipated expiration legal-status Critical

Links

Images

Landscapes

  • Cooling Or The Like Of Electrical Apparatus (AREA)

Abstract

本实用新型公开了一种高效散热且高强度的散热器,包括散热板,所述散热板上等距阵列有散热齿,所述通孔内设置有注水管,所述注水管的一侧连通有冷水槽且冷水槽的另一侧连通有出水槽,所述冷水槽的一端设置有进水管,所述进水管通过第一螺纹段连通有过滤装置,所述过滤装置的一端连通有第一水管,所述出水槽的一侧连通有第出水管,所述第出水管上套接有第一套筒,所述第一套筒上设置有第二螺纹段,所述第一套筒螺纹连接有第二套筒,所述第二套筒上设置有第二水管。本实用新型能够快速对高温设备进行降温,同时通过过滤装置的设置,可以最大化减少冷水内杂质进入注水管形成的水垢,一定程度延长了本实用新型的使用寿命。

Figure 202022550140

The utility model discloses a high-efficiency heat-dissipating and high-strength radiator, comprising a heat-dissipating plate, the heat-dissipating plate is provided with heat-dissipating teeth in an equidistant array, a water injection pipe is arranged in the through hole, and one side of the water injection pipe communicates with each other. There is a cold water tank and the other side of the cold water tank is connected with a water outlet, one end of the cold water tank is provided with a water inlet pipe, the water inlet pipe is connected with a filter device through the first threaded section, and one end of the filter device is connected with a first A water pipe, one side of the water outlet is connected with a first water outlet pipe, a first sleeve is sleeved on the first water outlet pipe, a second threaded section is arranged on the first sleeve, and the first sleeve is threaded A second sleeve is connected, and the second sleeve is provided with a second water pipe. The utility model can quickly cool down the high-temperature equipment, and at the same time, through the arrangement of the filtering device, the scale formed by the impurities in the cold water entering the water injection pipe can be minimized, and the service life of the utility model is prolonged to a certain extent.

Figure 202022550140

Description

High-efficient heat dissipation and high strength's radiator
Technical Field
The utility model relates to a machining equipment technical field specifically is a radiator of high-efficient heat dissipation and high strength.
Background
The heat sink is a component for dissipating heat, and is a generic name of a series of devices for conducting and releasing heat, and the range of use of the heat sink is also very wide. At present, the radiators mainly comprise a heating radiator and a computer radiator, wherein the heating radiator can be divided into a plurality of types according to materials and working modes, and the computer radiator can be divided into a plurality of types according to purposes and installation methods. Development speed in recent years is very rapid, but some radiators can not carry out rapid cooling to the higher equipment of temperature in the use, can only cool down through its simple heat-conduction of itself, and this kind of mode cooling effect is poor for the equipment that is in the high temperature can not rapid cooling, thereby causes certain harm to equipment, influences the normal work of equipment even, therefore we need propose a high-efficient heat dissipation and high strength radiator.
SUMMERY OF THE UTILITY MODEL
An object of the utility model is to provide a radiator of high-efficient heat dissipation and high strength, when with the warm apparatus high temperature, the heat dissipation tooth is cooled down to it earlier through the thermal characteristics of transmission itself, secondly set up the through-hole in the heat dissipation tooth, is provided with the water injection pipe in the through-hole, flows in through cold water in the water injection pipe, falls down the bulk temperature of equipment rapidly, the utility model discloses carry out the water-cooling to equipment for a long time, can make the intraductal incrustation scale that forms of water injection, influence the utility model discloses follow-up cooling effect, through filter equipment's setting, in can the maximize impurity that reduces in the cold water gets into the water injection pipe, prolonged to a certain extent the utility model discloses a life to solve the problem that proposes in the above-mentioned background art.
In order to achieve the above object, the utility model provides a following technical scheme: a high-efficiency heat-dissipation and high-strength heat radiator comprises a heat radiation plate, wherein heat radiation teeth are arranged on the heat radiation plate in an equidistant mode, through holes are formed in the heat radiation teeth, water injection pipes are arranged in the through holes, one side of each water injection pipe is communicated with a cold water tank, the other side of each cold water tank is communicated with a water outlet tank, one end of each cold water tank is provided with a water inlet pipe, a first thread section is arranged on each water inlet pipe, each water inlet pipe is communicated with a filtering device through the first thread section, one end of each filtering device is communicated with a first water pipe, one side of each water outlet tank is communicated with a second water outlet pipe, a first sleeve is sleeved on each second water outlet pipe, a second thread section is arranged on each first sleeve, each first sleeve is connected with a second sleeve through the second thread section in a threaded mode, each second water pipe penetrates through the second sleeves and extends to the insides of the second sleeves, the second water pipe is arranged right above the water outlet pipe.
Preferably, communicating pipes are arranged at two ends of the water injection pipe, and the water injection pipe is communicated with the cold water tank and the water outlet tank through the communicating pipes respectively.
Preferably, the filtering device comprises a filtering net and a filtering shell, wherein the filtering net is arranged in the filtering shell, and three groups of filtering nets are arranged.
Preferably, one end of the second water pipe, which is positioned in the second sleeve, is provided with a water inlet head, and the first water pipe is provided with a corresponding joint.
Preferably, the second water pipe is further sleeved with a sealing gasket, and the sealing gasket is a rubber sealing gasket.
Preferably, the surface of the heat dissipation plate is provided with a heat dissipation coating, and the heat dissipation coating is provided with a graphene heat dissipation coating.
Compared with the prior art, the beneficial effects of the utility model are that:
1. the utility model discloses a equidistant array has the heat dissipation tooth on the heating panel, and when with the temperature equipment high temperature, the heat dissipation tooth is cooled down to it earlier through the characteristics of itself heat transfer, secondly the through-hole has been seted up in the heat dissipation tooth, is provided with the water injection pipe in the through-hole, through the inflow outflow of cold water in the water injection pipe, can drop the whole temperature of equipment rapidly, has good cooling effect;
2. through filter equipment's setting, the utility model discloses carry out the water-cooling to equipment for a long time, can make the water injection intraductal incrustation scale that forms, influence the utility model discloses in follow-up cooling effect, through filter equipment can the maximize reduce the impurity entering water injection pipe in the cold water, prolonged to a certain extent the utility model discloses a life.
Drawings
Fig. 1 is a schematic structural view of the present invention;
fig. 2 is a schematic structural view of the heat dissipation tooth of the present invention;
FIG. 3 is a schematic structural view of a second water pipe according to the present invention;
fig. 4 is a schematic structural diagram of the connecting pipe of the present invention.
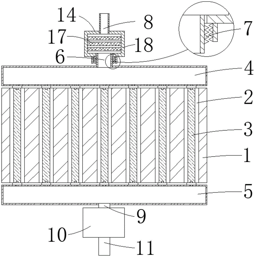
In the figure: 1. a heat dissipation plate; 2. a through hole; 3. a water injection pipe; 4. a cold water tank; 5. a water outlet groove; 6. a water inlet pipe; 7. a first thread segment; 8. a first water pipe; 9. a water outlet pipe; 10. a second sleeve; 11. a second water pipe; 12. a heat dissipating tooth; 13. a first sleeve; 14. a filtration device; 15. a second thread segment; 16. a communicating pipe; 17. a filter screen; 18. a filter shell; 19. a water inlet head; 20. a joint; 21. a gasket is provided.
Detailed Description
The technical solutions in the embodiments of the present invention will be described clearly and completely with reference to the accompanying drawings in the embodiments of the present invention, and it is obvious that the described embodiments are only some embodiments of the present invention, not all embodiments. Based on the embodiments in the present invention, all other embodiments obtained by a person skilled in the art without creative work belong to the protection scope of the present invention.
The utility model provides a technical scheme: referring to fig. 1, 2 and 4, a high-efficiency heat-dissipating and high-strength heat sink comprises a heat-dissipating plate 1, wherein heat-dissipating teeth 12 are arranged on the heat-dissipating plate 1 at equal intervals, through holes 2 are arranged in the heat-dissipating teeth 12, water injection pipes 3 are arranged in the through holes 2, communicating pipes 16 are arranged at two ends of the water injection pipes 3, the water injection pipes 3 are respectively communicated with a cold water tank 4 and a water outlet tank 5 through the communicating pipes 16, one side of each water injection pipe 3 is communicated with the cold water tank 4, and the other side of the cold water tank is communicated with the water outlet tank 5, the heat-dissipating teeth 12 are arranged on the heat-dissipating plate 1 at equal intervals, when a temperature device is heated, the heat-dissipating teeth 12 firstly cool the temperature device by virtue of the heat transfer characteristic of the heat, secondly, the through holes 2 are arranged in the heat-dissipating teeth 12, the water injection pipes 3 are arranged in the through holes 2, the water-cooling device is connected to a water inlet pipe 6 of the utility model, and cold water flows into the water injection pipes 3 due to the temperature difference, the water in the water injection pipe 3 can absorb the heat of high-temperature equipment, a large amount of heat energy can be absorbed in the process that cold water flows out of the water injection pipe 3, and finally the cold water is discharged from the water outlet pipe 9, so that the overall temperature of the equipment can be rapidly reduced, and a good cooling effect is achieved;
as shown in fig. 1, one end of the cold water tank 4 is provided with a water inlet pipe 6, the water inlet pipe 6 is provided with a first thread section 7, the water inlet pipe 6 is communicated with a filtering device 14 through the first thread section 7, one end of the filtering device 14 is communicated with a first water pipe 8, the filtering device 14 comprises a filtering net 17 and a filtering shell 18, the filtering net 17 is arranged in the filtering shell 18, and the filtering net 17 is provided with three groups, the utility model can cool the equipment for a long time, so that scale can be formed in the water injection pipe 3, the subsequent cooling effect of the utility model is influenced, and through the arrangement of the filtering device 14, impurities in the cold water can be maximally reduced to enter the water injection pipe 3, thereby prolonging the service life of the utility model to a certain extent;
as shown in fig. 3, one side of the water outlet tank 5 is communicated with a second water outlet pipe 9, the second water outlet pipe 9 is sleeved with a first sleeve 13, the first sleeve 13 is provided with a second thread section 15, the first sleeve is in threaded connection with a second sleeve 10 through the second thread section 15, the second sleeve 10 is provided with a second water pipe 11, the second water pipe 11 passes through the second sleeve 10 and extends into the second sleeve 10, the second water pipe 11 is arranged right above the water outlet pipe 9, one end of the second water pipe 11, which is positioned in the second sleeve 10, is provided with a water inlet head 19, the first water pipe 8 is provided with a corresponding joint 20, the second water pipe 11 is further sleeved with a sealing washer 21, the sealing washer 21 is a rubber sealing washer, the water inlet head 19 and the joint can be tightly communicated through the threaded connection relationship between the first sleeve 13 and the second sleeve 10, the design can facilitate the connection with an external water conduit, simultaneously seal ring 21's design is its sealed effect of optimizing more, has guaranteed the utility model discloses the situation that water leakage sprinkled can not appear at the in-process of drainage.
Like figure 1 and income 2, heating panel 1 surface is provided with the thermal coating of fan, and the thermal coating of fan sets up to graphite alkene thermal coating of fan, further optimizes the utility model discloses a radiating effect has improved the utility model discloses a radiating efficiency.
The working principle is as follows: when the utility model is used for cooling high temperature equipment, firstly, the radiating teeth 12 are arranged on the radiating plate 1 through the equidistant array, when the temperature equipment is heated, the radiating teeth 12 are firstly cooled through the characteristic of transferring heat per se, secondly, the through hole 2 is arranged in the radiating teeth 12, the water injection pipe 3 is arranged in the through hole 2, the water cooling equipment is connected to the water inlet pipe 6 of the utility model, when cold water flows into the water injection pipe 3, the water in the water injection pipe 3 can absorb the heat of the high temperature equipment due to the temperature difference, the process that the cold water flows out from the water injection pipe 3 can absorb a large amount of heat energy, and finally, the water is discharged from the water outlet pipe 9, so that the whole temperature of the equipment can be rapidly reduced, the utility model has good cooling effect, the utility model carries out water cooling on the equipment for a long time, in order to prevent the water injection pipe 3 from condensing scale, the subsequent cooling effect of the utility model is influenced, and the setting of the filtering device 14, can maximize reduce in the impurity entering water injection pipe 3 in the cold water, prolong to a certain extent the utility model discloses a life.
Although embodiments of the present invention have been shown and described, it will be appreciated by those skilled in the art that changes, modifications, substitutions and alterations can be made in these embodiments without departing from the principles and spirit of the invention, the scope of which is defined in the appended claims and their equivalents.

Claims (6)

1.一种高效散热且高强度的散热器,包括散热板(1),其特征在于:所述散热板(1)上等距阵列有散热齿(12),所述散热齿(12)内开设有通孔(2),所述通孔(2)内设置有注水管(3),所述注水管(3)的一侧连通有冷水槽(4),且冷水槽的另一侧连通有出水槽(5),所述冷水槽(4)的一端设置有进水管(6),所述进水管(6)上设置有第一螺纹段(7),所述进水管(6)通过第一螺纹段(7)连通有过滤装置(14),所述过滤装置(14)的一端连通有第一水管(8),所述出水槽(5)的一侧连通有出水管(9),所述出水管(9)上套接有第一套筒(13),所述第一套筒(13)上设置有第二螺纹段(15),所述第一套筒通过第二螺纹段(15)螺纹连接有第二套筒(10),所述第二套筒(10)上设置有第二水管(11),所述第二水管(11)穿过第二套筒(10)并延伸至第二套筒(10)内部,所述第二水管(11)设置在出水管(9)的正上方。1. An efficient heat dissipation and high-strength radiator, comprising a heat dissipation plate (1), characterized in that: the heat dissipation plate (1) is provided with heat dissipation teeth (12) in an equidistant array, and inside the heat dissipation teeth (12) A through hole (2) is provided, a water injection pipe (3) is arranged in the through hole (2), one side of the water injection pipe (3) is communicated with a cold water tank (4), and the other side of the cold water tank is communicated with There is a water outlet tank (5), one end of the cold water tank (4) is provided with a water inlet pipe (6), the water inlet pipe (6) is provided with a first threaded section (7), and the water inlet pipe (6) passes through The first thread segment (7) is connected with a filter device (14), one end of the filter device (14) is connected with a first water pipe (8), and one side of the water outlet groove (5) is connected with a water outlet pipe (9) , the water outlet pipe (9) is sleeved with a first sleeve (13), the first sleeve (13) is provided with a second thread segment (15), and the first sleeve passes through the second thread The segment (15) is threadedly connected with a second sleeve (10), the second sleeve (10) is provided with a second water pipe (11), and the second water pipe (11) passes through the second sleeve (10) ) and extend to the inside of the second sleeve (10), the second water pipe (11) is arranged just above the water outlet pipe (9). 2.根据权利要求1所述的一种高效散热且高强度的散热器,其特征在于:所述注水管(3)的两端设置有连通管(16),所述注水管(3)通过连通管(16)分别与冷水槽(4)和出水槽(5)连通。2. A radiator with high heat dissipation and high strength according to claim 1, characterized in that: both ends of the water injection pipe (3) are provided with communicating pipes (16), and the water injection pipe (3) passes through The communication pipes (16) are respectively communicated with the cold water tank (4) and the water outlet tank (5). 3.根据权利要求1所述的一种高效散热且高强度的散热器,其特征在于:所述过滤装置(14)包括过滤网(17)和过滤壳(18),所述过滤网(17)设置在过滤壳(18)内,且过滤网(17)设置有三组。3. A radiator with high heat dissipation and high strength according to claim 1, characterized in that: the filter device (14) comprises a filter screen (17) and a filter shell (18), the filter screen (17) ) is arranged in the filter shell (18), and the filter screen (17) is arranged with three groups. 4.根据权利要求1所述的一种高效散热且高强度的散热器,其特征在于:所述第二水管(11)且位于第二套筒(10)内的一端设置有进水头(19),且第一水管(8)设置有相对应接头(20)。4. A radiator with high heat dissipation and high strength according to claim 1, characterized in that: one end of the second water pipe (11) and located in the second sleeve (10) is provided with a water inlet ( 19), and the first water pipe (8) is provided with a corresponding joint (20). 5.根据权利要求1所述的一种高效散热且高强度的散热器,其特征在于:所述第二水管(11)上还套接有密封垫圈(21),且密封垫圈(21)设置为橡胶密封垫圈。5. A radiator with high heat dissipation and high strength according to claim 1, characterized in that: the second water pipe (11) is also sleeved with a sealing gasket (21), and the sealing gasket (21) is provided with For the rubber sealing gasket. 6.根据权利要求1所述的一种高效散热且高强度的散热器,其特征在于:所述散热板(1)表面设置有扇热涂层,且扇热涂层设置为石墨烯扇热涂层。6. The radiator with high heat dissipation and high strength according to claim 1, characterized in that: the surface of the heat dissipation plate (1) is provided with a fan heat coating, and the fan heat coating is set as a graphene fan heat coating.
CN202022550140.XU 2020-11-06 2020-11-06 High-efficient heat dissipation and high strength's radiator Expired - Fee Related CN213778731U (en)

Priority Applications (1)

Application Number Priority Date Filing Date Title
CN202022550140.XU CN213778731U (en) 2020-11-06 2020-11-06 High-efficient heat dissipation and high strength's radiator

Applications Claiming Priority (1)

Application Number Priority Date Filing Date Title
CN202022550140.XU CN213778731U (en) 2020-11-06 2020-11-06 High-efficient heat dissipation and high strength's radiator

Publications (1)

Publication Number Publication Date
CN213778731U true CN213778731U (en) 2021-07-23

Family

ID=76914296

Family Applications (1)

Application Number Title Priority Date Filing Date
CN202022550140.XU Expired - Fee Related CN213778731U (en) 2020-11-06 2020-11-06 High-efficient heat dissipation and high strength's radiator

Country Status (1)

Country Link
CN (1) CN213778731U (en)

Similar Documents

Publication Publication Date Title
CN204858945U (en) Quick water cooling plant of converter
CN107256075A (en) Soldering formula CPU liquid cooling heat radiators with internal memory heat sink
CN213778731U (en) High-efficient heat dissipation and high strength's radiator
CN210660854U (en) Hydraulic oil circulation heat sink
CN216873015U (en) Six-water-channel large radiator assembly
CN209057054U (en) A motor cooling device
CN220087776U (en) Arc liquid cooling plate
CN217440432U (en) Hydraulic oil cooler for hydraulic system
CN102208381B (en) Circulation cooling pipeline of three-level power module of integrated gate commutated thyristor (IGCT)
CN207304299U (en) A water-cooled radiator for stepping and servo motors in a vacuum environment
CN214507771U (en) Water-cooling plate for double modules
CN212615730U (en) A cooling box and cooling system of a main shaft hoisting hydraulic station
CN209510450U (en) A kind of cooling device
CN207762058U (en) Hydraulic press hydraulic oil heat dissipation equipment
CN210664035U (en) High-temperature steam cooler convenient to fix
CN106951043A (en) Electronic equipment, circulating cooling system
CN216241326U (en) Double-shell water pump
TWM561776U (en) Water-cooled heat dissipation module
CN208188773U (en) A kind of computer housing water-cooled radiator
CN214426482U (en) Heat exchange tube structure of air-cooled heat exchanger tube bundle
CN223538167U (en) A high-efficiency heat sink
CN212673895U (en) A fast water cooling device
CN212745001U (en) Quick circulating cooling device for oil temperature of gear box
CN211422915U (en) Multifunctional air compressor waste heat recovery device
CN218998680U (en) Water cooling plate heat radiation structure welded through sealing ring

Legal Events

Date Code Title Description
GR01 Patent grant
GR01 Patent grant
CF01 Termination of patent right due to non-payment of annual fee

Granted publication date: 20210723

CF01 Termination of patent right due to non-payment of annual fee