CN213763433U - An adjustable rolling device for aluminum strip production - Google Patents

An adjustable rolling device for aluminum strip production Download PDF

Info

Publication number
CN213763433U
CN213763433U CN202022761102.9U CN202022761102U CN213763433U CN 213763433 U CN213763433 U CN 213763433U CN 202022761102 U CN202022761102 U CN 202022761102U CN 213763433 U CN213763433 U CN 213763433U
Authority
CN
China
Prior art keywords
mounting frame
rolling device
aluminum strip
motor
strip production
Prior art date
Legal status (The legal status is an assumption and is not a legal conclusion. Google has not performed a legal analysis and makes no representation as to the accuracy of the status listed.)
Active
Application number
CN202022761102.9U
Other languages
Chinese (zh)
Inventor
林顺飞
Current Assignee (The listed assignees may be inaccurate. Google has not performed a legal analysis and makes no representation or warranty as to the accuracy of the list.)
Dongguan Wansheng Composite Material Co ltd
Original Assignee
Dongguan Wansheng Composite Material Co ltd
Priority date (The priority date is an assumption and is not a legal conclusion. Google has not performed a legal analysis and makes no representation as to the accuracy of the date listed.)
Filing date
Publication date
Application filed by Dongguan Wansheng Composite Material Co ltd filed Critical Dongguan Wansheng Composite Material Co ltd
Priority to CN202022761102.9U priority Critical patent/CN213763433U/en
Application granted granted Critical
Publication of CN213763433U publication Critical patent/CN213763433U/en
Active legal-status Critical Current
Anticipated expiration legal-status Critical

Links

Images

Landscapes

  • Transmission Devices (AREA)

Abstract

本实用新型公开了一种可调的铝带生产用压轧装置,包括工作台、上轧辊、下轧辊,所述工作台的顶面设有第一安装架,所述下轧辊设于第一安装架的底部,所述下轧辊的两端与第一安装架的底部转动连接,所述上轧辊的两端均设有滑块,所述第一安装架的两侧设有供滑块安装的滑槽,所述上轧辊与两端的滑块转动连接,所述滑块的底部均设有弹簧,所述滑块的顶面均设有压块,所述压块的顶部均设有压杆,所述压杆的顶端穿过第一安装架的顶部且外露于第一安装架的顶面,所述第一安装架的顶面还设有推板,所述第一安装架的顶部还设有第二安装架,所述第二安装架上设有第一电机,所述第一电机的输出端连接有电动伸缩杆,所述电动伸缩杆的底端与推板的顶面连接。

Figure 202022761102

The utility model discloses an adjustable rolling device for aluminum strip production, which comprises a workbench, an upper roll and a lower roll. The bottom of the mounting frame, the two ends of the lower roller are connected with the bottom of the first mounting frame in rotation, the two ends of the upper roller are provided with sliding blocks, and the two sides of the first mounting frame are provided with sliding blocks for installation The upper roller is rotatably connected with the sliders at both ends, the bottoms of the sliders are provided with springs, the top surfaces of the sliders are provided with pressure blocks, and the tops of the pressure blocks are provided with pressure blocks. rod, the top end of the pressure rod passes through the top of the first installation frame and is exposed on the top surface of the first installation frame, the top surface of the first installation frame is further provided with a push plate, and the top of the first installation frame There is also a second mounting frame, the second mounting frame is provided with a first motor, the output end of the first motor is connected with an electric telescopic rod, and the bottom end of the electric telescopic rod is connected with the top surface of the push plate .

Figure 202022761102

Description

Adjustable rolling device for aluminum strip production
Technical Field
The utility model belongs to the technical field of the aluminium strip production technique and specifically relates to an adjustable is rolling device for aluminium strip production.
Background
The raw material of the aluminum strip is pure aluminum or aluminum alloy cast-rolled aluminum coil or hot-rolled aluminum coil, the aluminum strip is rolled into sheet aluminum coils with different thicknesses and widths by a cold rolling mill, then longitudinally cut into aluminum strips with different widths by a slitting machine according to the application, and then wound on a winding drum device for storage; the existing equipment for rolling the aluminum strip generally adopts a screw rod and a nut to adjust the distance between an upper roller and a lower roller so as to adjust the thickness of the rolled aluminum strip, but the adjustment mode has errors easily, the screw rods on the two sides of the rollers need to be adjusted independently, the time consumption is more, the heights of the two sides are difficult to keep consistent, the production quality of the aluminum strip is influenced, and therefore, the adjustable rolling device for producing the aluminum strip is provided.
SUMMERY OF THE UTILITY MODEL
The utility model discloses an it is not enough to overcome above-mentioned condition, aims at providing the technical scheme that can solve above-mentioned problem.
An adjustable rolling device for aluminum strip production comprises a workbench, an upper roller and a lower roller, wherein a first mounting frame is arranged on the top surface of the workbench, the lower roller is arranged at the bottom of the first mounting frame, two ends of the lower roller are rotatably connected with the bottom of the first mounting frame, sliders are arranged at two ends of the upper roller, sliding grooves for mounting the sliders are formed in two sides of the first mounting frame, the sliders are in sliding fit with the sliding grooves, the upper roller is rotatably connected with the sliders at two ends, springs are arranged at the bottoms of the sliders, the top ends of the springs are abutted against the bottom surfaces of the sliders, pressing blocks are arranged on the top surfaces of the sliders, pressing rods are arranged at the tops of the pressing blocks, the top ends of the pressing rods penetrate through the tops of the first mounting frame and are exposed out of the top surface of the first mounting frame, a push plate is further arranged on the top surface of the first mounting frame, the utility model discloses a push pedal, including first motor, second motor, electric telescopic handle, push pedal, first motor, electric telescopic handle's bottom and push pedal, the both ends of push pedal are connected with the top of single depression bar respectively, the top of first mounting bracket still is equipped with the second mounting bracket, be equipped with first motor on the second mounting bracket, the output of first motor is connected with electric telescopic handle, electric telescopic handle's bottom is connected with the top surface of push pedal, electric telescopic handle's input is connected with the output electricity of first motor.
Preferably, the front end face and the rear end face of the sliding block are both provided with guide blocks, the front end face and the rear end face of the sliding groove are provided with guide grooves, and the guide blocks are in sliding fit with the guide grooves.
Preferably, the cross section of the guide block can be T-shaped or V-shaped, and the cross section of the guide groove corresponds to the cross section of the guide block one to one.
Preferably, the top end of the pressure lever is fixedly connected with the top surface of the push plate through a first screw.
Preferably, the bottom of electric telescopic handle is equipped with the connecting plate, the connecting plate passes through the top surface fixed connection of second screw and push pedal.
Preferably, one side of the sliding block is provided with a first machine base, the first machine base is provided with a second motor, and a rotating shaft of the second motor is in transmission connection with one end of the upper roller.
Preferably, one side of the first mounting frame is provided with a second base, the second base is provided with a third motor, and a rotating shaft of the third motor is in transmission connection with one end of the lower roller.
Preferably, the bottom of the workbench is provided with two supporting feet.
The utility model has the advantages that: the utility model discloses novel structure through electric telescopic handle, push pedal, and the simultaneous control slider slides from top to bottom, and the slider drives the top roll motion, and the interval between adjustment top roll and the bottom roll, synchronous adjustment can guarantee that the slider sliding distance of both sides equals, guarantees that the lateral surface of top roll can contact completely with the surface of aluminium strip, also saves the time that is equipped with the adjustment simultaneously, improves work efficiency.
Additional aspects and advantages of the invention will be set forth in part in the description which follows and, in part, will be obvious from the description, or may be learned by practice of the invention.
Drawings
In order to more clearly illustrate the embodiments of the present invention or the technical solutions in the prior art, the drawings needed to be used in the description of the embodiments or the prior art will be briefly described below, it is obvious that the drawings in the following description are only some embodiments of the present invention, and for those skilled in the art, other drawings can be obtained according to these drawings without inventive exercise.
Fig. 1 is the utility model provides an adjustable aluminium strip production is with rolling device's schematic structure diagram.
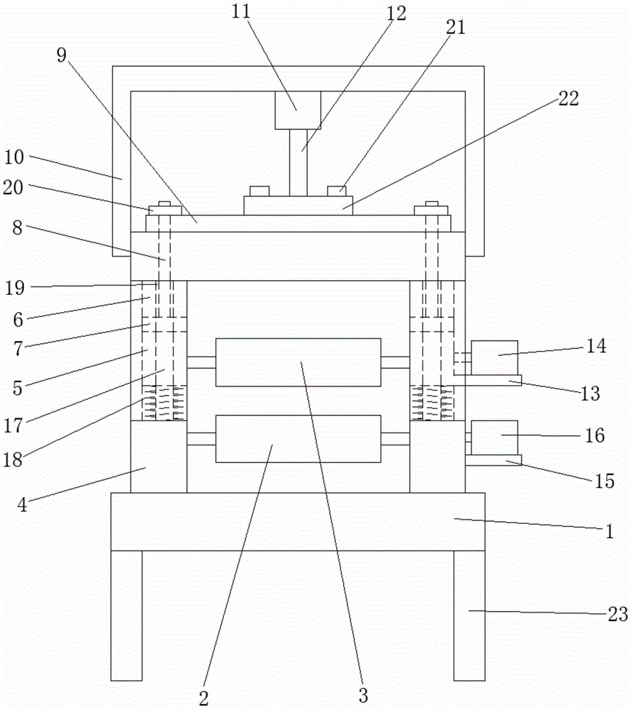
Shown in the figure: 1. the automatic rolling device comprises a workbench, 2, a lower roller, 3, an upper roller, 4, a first mounting frame, 5, a sliding block, 6, a sliding groove, 7, a pressing block, 8, a pressing rod, 9, a pushing plate, 10, a second mounting frame, 11, a first motor, 12, an electric telescopic rod, 13, a first machine base, 14, a second motor, 15, a second machine base, 16, a third motor, 17, a guide block, 18, a spring, 19, a guide groove, 20, a first screw, 21, a second screw, 22, a connecting plate, 23 and supporting legs.
Detailed Description
The technical solutions in the embodiments of the present invention will be described clearly and completely with reference to the accompanying drawings in the embodiments of the present invention, and it is obvious that the described embodiments are only some embodiments of the present invention, not all embodiments. Based on the embodiments in the present invention, all other embodiments obtained by a person skilled in the art without creative work belong to the protection scope of the present invention.
Referring to fig. 1, in an embodiment of the present invention, an adjustable rolling device for producing an aluminum strip includes a workbench 1, an upper roller 3, and a lower roller 2, wherein a first mounting frame 4 is disposed on a top surface of the workbench 1, the lower roller 2 is disposed at a bottom of the first mounting frame 4, two ends of the lower roller 2 are rotatably connected to a bottom of the first mounting frame 4, two ends of the upper roller 3 are both provided with sliders 5, two sides of the first mounting frame 4 are provided with sliding grooves 6 for mounting the sliders 5, the sliders 5 are slidably engaged with the sliding grooves 6, the upper roller 3 is rotatably connected to the sliders 5 at two ends, the bottom of the sliders 5 is both provided with springs 18, a top end of each spring 18 abuts against a bottom surface of the corresponding slider 5, a bottom end of each spring 18 abuts against a bottom surface of the corresponding sliding groove 6, a top surface of each slider 5 is provided with a pressing block 7, a top end of each pressing rod 7 is provided with a pressing rod 8, the top of first mounting bracket 4 is passed on depression bar 8's top and is exposed in the top surface of first mounting bracket 4, the top surface of first mounting bracket 4 still is equipped with push pedal 9, the both ends of push pedal 9 are connected with single depression bar 8's top respectively, the top of first mounting bracket 4 still is equipped with second mounting bracket 10, be equipped with first motor 11 on the second mounting bracket 10, first motor 11's output is connected with electric telescopic handle 12, electric telescopic handle 12's bottom is connected with the top surface of push pedal 9, electric telescopic handle 12's input is connected with first motor 11's output electricity.
Preferably, the front end face and the rear end face of the sliding block 5 are both provided with a guide block 17, the front end face and the rear end face of the sliding chute 6 are provided with a guide groove 19, and the guide block 17 is in sliding fit with the guide groove 19.
Preferably, the cross section of the guide block 17 can be T-shaped or V-shaped, and the cross section of the guide groove 19 corresponds to the cross section of the guide block 17 one by one; the sliding block 5 has stability when sliding up and down, the upper roller 3 is prevented from inclining, and errors are reduced.
Preferably, the top end of the pressure lever 8 is fixedly connected with the top surface of the push plate 9 through a first screw 20.
Preferably, a connecting plate 22 is arranged at the bottom end of the electric telescopic rod 12, and the connecting plate 22 is fixedly connected with the top surface of the push plate 9 through a second screw 21; the second motor 14 is used to drive the upper roll 3.
Preferably, a first machine base 13 is arranged on one side of the sliding block 5, a second motor 14 is arranged on the first machine base 13, and a rotating shaft of the second motor 14 is in transmission connection with one end of the upper roller 3.
Preferably, a second base 15 is arranged on one side of the first mounting frame 4, a third motor 16 is arranged on the second base 15, and a rotating shaft of the third motor 16 is in transmission connection with one end of the lower roller 2; the third motor 16 is used to drive the lower roll 2.
Preferably, two supporting feet 23 are arranged at the bottom of the workbench 1; for supporting the table 1.
Example (b):
through electric telescopic handle 12, push pedal 9, simultaneous control slider 5 slides from top to bottom, and slider 5 drives the motion of top roll 3, adjusts the interval between top roll 3 and the bottom roll 2, and synchronous adjustment can guarantee that the slider 5 sliding distance of both sides equals, guarantees that the lateral surface of top roll 3 can contact completely with the surface of aluminium strip, also saves the time that is equipped with the adjustment simultaneously, improves work efficiency.
It is obvious to a person skilled in the art that the invention is not restricted to details of the above-described exemplary embodiments, but that it can be implemented in other specific forms without departing from the spirit or essential characteristics of the invention. The present embodiments are therefore to be considered in all respects as illustrative and not restrictive, the scope of the invention being indicated by the appended claims rather than by the foregoing description, and all changes which come within the meaning and range of equivalency of the claims are therefore intended to be embraced therein. Any reference sign in a claim should not be construed as limiting the claim concerned.

Claims (8)

1.一种可调的铝带生产用压轧装置,包括工作台、上轧辊、下轧辊,其特征在于,所述工作台的顶面设有第一安装架,所述下轧辊设于第一安装架的底部,所述下轧辊的两端与第一安装架的底部转动连接,所述上轧辊的两端均设有滑块,所述第一安装架的两侧设有供滑块安装的滑槽,所述滑块与滑槽滑动配合,所述上轧辊与两端的滑块转动连接,所述滑块的底部均设有弹簧,所述弹簧的顶端与滑块的底面相抵,所述弹簧的底端与滑槽的底面相抵,所述滑块的顶面均设有压块,所述压块的顶部均设有压杆,所述压杆的顶端穿过第一安装架的顶部且外露于第一安装架的顶面,所述第一安装架的顶面还设有推板,所述推板的两端分别与单个压杆的顶端连接,所述第一安装架的顶部还设有第二安装架,所述第二安装架上设有第一电机,所述第一电机的输出端连接有电动伸缩杆,所述电动伸缩杆的底端与推板的顶面连接,所述电动伸缩杆的输入端与第一电机的输出端电连接。1. An adjustable rolling device for aluminum strip production, comprising a workbench, an upper roll, and a lower roll, characterized in that the top surface of the workbench is provided with a first mounting frame, and the lower roll is arranged on the first mounting frame. The bottom of a mounting frame, the two ends of the lower roller are rotatably connected to the bottom of the first mounting frame, the two ends of the upper roller are provided with sliding blocks, and the two sides of the first mounting frame are provided with sliding blocks for The installed chute, the sliding block is slidingly matched with the sliding groove, the upper roller is rotatably connected with the sliding block at both ends, the bottom of the sliding block is provided with a spring, and the top end of the spring is in contact with the bottom surface of the sliding block, The bottom end of the spring is in contact with the bottom surface of the chute, the top surface of the slider is provided with a pressure block, the top of the pressure block is provided with a pressure rod, and the top end of the pressure rod passes through the first mounting frame The top of the first mounting bracket is exposed on the top surface of the first mounting bracket. The top surface of the first mounting bracket is also provided with a push plate, and the two ends of the push plate are respectively connected to the top of a single pressure rod. There is also a second mounting frame on the top of the second mounting frame, a first motor is installed on the second mounting frame, an electric telescopic rod is connected to the output end of the first motor, and the bottom end of the electric telescopic rod is connected to the top of the push plate. The input end of the electric telescopic rod is electrically connected with the output end of the first motor. 2.根据权利要求1所述的一种可调的铝带生产用压轧装置,其特征在于,所述滑块的前端面与后端面均设有导向块,所述滑槽的前端面与后端面设有导向槽,所述导向块与导向槽滑动配合。2 . The adjustable rolling device for aluminum strip production according to claim 1 , wherein the front end surface and the rear end surface of the slider are provided with guide blocks, and the front end surface of the chute is connected to the sliding groove. 3 . The rear end surface is provided with a guide groove, and the guide block is slidably matched with the guide groove. 3.根据权利要求2所述的一种可调的铝带生产用压轧装置,其特征在于,所述导向块的横截面可为T字型、V字型,所述导向槽的横截面与导向块的横截面一一对应。3. The adjustable rolling device for aluminum strip production according to claim 2, wherein the cross-section of the guide block can be T-shaped or V-shaped, and the cross-section of the guide groove One-to-one correspondence with the cross section of the guide block. 4.根据权利要求1所述的一种可调的铝带生产用压轧装置,其特征在于,所述压杆的顶端通过第一螺丝与推板的顶面固定连接。4 . The adjustable pressing and rolling device for aluminum strip production according to claim 1 , wherein the top end of the pressing rod is fixedly connected to the top surface of the push plate through a first screw. 5 . 5.根据权利要求1所述的一种可调的铝带生产用压轧装置,其特征在于,所述电动伸缩杆的底端设有连接板,所述连接板通过第二螺丝与推板的顶面固定连接。5 . The adjustable rolling device for aluminum strip production according to claim 1 , wherein the bottom end of the electric telescopic rod is provided with a connecting plate, and the connecting plate is connected to a push plate through a second screw. 6 . fixed connection on the top surface. 6.根据权利要求1所述的一种可调的铝带生产用压轧装置,其特征在于,所述滑块的一侧设有第一机座,所述第一机座上设有第二电机,所述第二电机的转轴与上轧辊的一端传动连接。6 . The adjustable rolling device for aluminum strip production according to claim 1 , wherein a first stand is provided on one side of the sliding block, and a first stand is provided on the first stand. 7 . Two motors, the rotating shaft of the second motor is drivingly connected with one end of the upper roller. 7.根据权利要求1所述的一种可调的铝带生产用压轧装置,其特征在于,所述第一安装架的一侧设有第二机座,所述第二机座上设有第三电机,所述第三电机的转轴与下轧辊的一端传动连接。7 . The adjustable rolling device for aluminum strip production according to claim 1 , wherein a second stand is provided on one side of the first mounting frame, and a second stand is provided on the second stand. 8 . There is a third motor, and the rotating shaft of the third motor is drivingly connected with one end of the lower roller. 8.根据权利要求1所述的一种可调的铝带生产用压轧装置,其特征在于,所述工作台的底部设有两个支撑脚。8 . The adjustable rolling device for aluminum strip production according to claim 1 , wherein the bottom of the workbench is provided with two support feet. 9 .
CN202022761102.9U 2020-11-25 2020-11-25 An adjustable rolling device for aluminum strip production Active CN213763433U (en)

Priority Applications (1)

Application Number Priority Date Filing Date Title
CN202022761102.9U CN213763433U (en) 2020-11-25 2020-11-25 An adjustable rolling device for aluminum strip production

Applications Claiming Priority (1)

Application Number Priority Date Filing Date Title
CN202022761102.9U CN213763433U (en) 2020-11-25 2020-11-25 An adjustable rolling device for aluminum strip production

Publications (1)

Publication Number Publication Date
CN213763433U true CN213763433U (en) 2021-07-23

Family

ID=76891410

Family Applications (1)

Application Number Title Priority Date Filing Date
CN202022761102.9U Active CN213763433U (en) 2020-11-25 2020-11-25 An adjustable rolling device for aluminum strip production

Country Status (1)

Country Link
CN (1) CN213763433U (en)

Similar Documents

Publication Publication Date Title
CN210936515U (en) Coiling mechanism is used in belted steel production
CN213763433U (en) An adjustable rolling device for aluminum strip production
CN216606725U (en) Flattening leveler for hot-rolled coil
CN213059462U (en) A kind of coiling device for cold-rolled sheet
CN221086727U (en) Stainless steel coil processing, rolling and forming device
CN217756143U (en) High windage film processing coiling mechanism with adjustable rate of tension
CN213170730U (en) Horizontal compression roller device of splitting machine
CN221246535U (en) Metal leveling machine
CN221391380U (en) Plastic cutting device of quick cutting
CN221625364U (en) Electrolytic copper foil winding compression roller device
CN222137093U (en) Auxiliary table for cold rolled sheet production
CN223211363U (en) An easily detachable aluminum coil placement rack
CN222020749U (en) A high-precision positioning cutting mechanism
CN218402986U (en) Many graphite flake winding mechanisms that power was available
CN219807563U (en) Shaping die-cutting machine
CN221454498U (en) Cutting device
CN221086730U (en) Rolling device for aluminum coil production
CN218775779U (en) Operating room enclosure cutting device
CN220499363U (en) Advertisement design cutting device
CN219965990U (en) Rolling device for cold-rolled low alloy steel coil
CN112570453B (en) A segmenting device for cold rolled steel strip processing
CN217263694U (en) Winding mechanism for winding film machine for PE film production
CN221675360U (en) Metal sheet rolling machine
CN218778457U (en) Finished product rolling equipment is used in cloth production and processing
CN220808514U (en) Limiting pressing die mechanism for hot melt adhesive film

Legal Events

Date Code Title Description
GR01 Patent grant
GR01 Patent grant