CN213738372U - Universal hydraulic positioning device for installing brick core of steel ladle air brick - Google Patents
Universal hydraulic positioning device for installing brick core of steel ladle air brick Download PDFInfo
- Publication number
- CN213738372U CN213738372U CN202022125671.4U CN202022125671U CN213738372U CN 213738372 U CN213738372 U CN 213738372U CN 202022125671 U CN202022125671 U CN 202022125671U CN 213738372 U CN213738372 U CN 213738372U
- Authority
- CN
- China
- Prior art keywords
- brick
- chassis
- fixed
- supporting seat
- nut
- Prior art date
- Legal status (The legal status is an assumption and is not a legal conclusion. Google has not performed a legal analysis and makes no representation as to the accuracy of the status listed.)
- Active
Links
Images
Landscapes
- Furnace Housings, Linings, Walls, And Ceilings (AREA)
Abstract
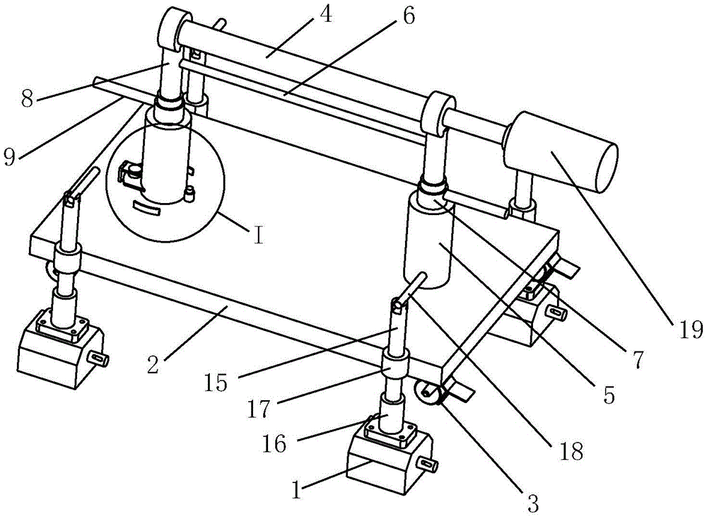
本实用新型涉及一种用于钢包透气砖砖芯安装的万向液压定位装置,包括磁力吸盘、底盘、小轮、升降机构、液压缸、推砖机构,小轮固定在底盘底部,升降机构固定在底盘四周,磁力吸盘固定在升降机构底部;推砖机构设置在底盘上,推砖机构用于举升液压缸;推砖机构包括两个支撑座、连杆、螺套、调节杆,一个支撑座与底盘连接,另一个支撑座通过扭转机构与底盘连接;调节杆底部套接在支撑座内,调节杆与螺套螺纹连接,两个调节杆通过连杆固定连接,调节杆顶部与液压缸缸体固定连接,液压缸的活塞杆与砖芯连接。优点是:整体结构简单合理,整体轻便易于移动,定位准确,利于现场应用。
The utility model relates to a universal hydraulic positioning device for the installation of a ladle breathable brick core, comprising a magnetic suction cup, a chassis, a small wheel, a lifting mechanism, a hydraulic cylinder and a brick pushing mechanism. Around the chassis, the magnetic suction cup is fixed at the bottom of the lifting mechanism; the brick pushing mechanism is set on the chassis, and the brick pushing mechanism is used to lift the hydraulic cylinder; the brick pushing mechanism includes two support seats, connecting rods, screw sleeves, adjusting rods, and one support The seat is connected with the chassis, and the other support seat is connected with the chassis through a torsion mechanism; the bottom of the adjusting rod is sleeved in the support seat, the adjusting rod is threadedly connected with the screw sleeve, the two adjusting rods are fixedly connected by connecting rods, and the top of the adjusting rod is connected with the hydraulic cylinder The cylinder body is fixedly connected, and the piston rod of the hydraulic cylinder is connected with the brick core. The advantages are: the overall structure is simple and reasonable, the whole is light and easy to move, and the positioning is accurate, which is conducive to on-site application.
Description
Claims (5)
Priority Applications (1)
| Application Number | Priority Date | Filing Date | Title |
|---|---|---|---|
| CN202022125671.4U CN213738372U (en) | 2020-09-24 | 2020-09-24 | Universal hydraulic positioning device for installing brick core of steel ladle air brick |
Applications Claiming Priority (1)
| Application Number | Priority Date | Filing Date | Title |
|---|---|---|---|
| CN202022125671.4U CN213738372U (en) | 2020-09-24 | 2020-09-24 | Universal hydraulic positioning device for installing brick core of steel ladle air brick |
Publications (1)
| Publication Number | Publication Date |
|---|---|
| CN213738372U true CN213738372U (en) | 2021-07-20 |
Family
ID=76845952
Family Applications (1)
| Application Number | Title | Priority Date | Filing Date |
|---|---|---|---|
| CN202022125671.4U Active CN213738372U (en) | 2020-09-24 | 2020-09-24 | Universal hydraulic positioning device for installing brick core of steel ladle air brick |
Country Status (1)
| Country | Link |
|---|---|
| CN (1) | CN213738372U (en) |
-
2020
- 2020-09-24 CN CN202022125671.4U patent/CN213738372U/en active Active
Similar Documents
| Publication | Publication Date | Title |
|---|---|---|
| CN112692799A (en) | Maintenance auxiliary assembly of large-scale pneumatic cylinder | |
| CN213106669U (en) | Wheel set driving device maintenance workbench | |
| CN115157176B (en) | Wind driven generator base bearing auxiliary dismounting tool and method | |
| CN113580044A (en) | Clamping device for maintaining electromechanical equipment | |
| CN216503156U (en) | Pipeline flange assembly mold | |
| CN213738372U (en) | Universal hydraulic positioning device for installing brick core of steel ladle air brick | |
| CN111547618B (en) | Hoisting and conveying device for replacing valve element of large ball valve | |
| CN216345468U (en) | Internal detector tool suitable for submarine pipeline magnetic flux leakage detection | |
| CN204414063U (en) | A kind of hand hoist of tool car | |
| CN112605161B (en) | Backing plate automatic placement device and pressure leveling method for wide and thick plates based on the device | |
| CN211541060U (en) | Guide shaft sleeve dismounting device | |
| CN221810030U (en) | Auxiliary supporting device for pipeline installation | |
| CN216370906U (en) | Synchronous adjustment supporting mechanism suitable for butt welding of gas transmission pipeline | |
| CN213004640U (en) | Iron casting grinding system | |
| CN214213577U (en) | Indoor water and electricity is with assembled pipeline location installing support | |
| CN205111191U (en) | Scissors formula liftable roller device | |
| CN112936171B (en) | Explosion valve shear cap assembly and disassembly tools | |
| CN209535780U (en) | A kind of locomotive air conditioner unit whole group transfer tooling | |
| CN221240224U (en) | Rotating shaft bracket for overhauling explosion-proof motor | |
| CN220075537U (en) | Centering adjusting device for vacuum shaping box | |
| CN220195255U (en) | Auxiliary support spraying frame for axle and gear box structure of motor car | |
| CN219724538U (en) | Multifunctional transport vehicle for sand distribution, connection pipe and overturning of magnesium reduction tank | |
| CN206219144U (en) | Riser head travel mechanism | |
| CN217200359U (en) | A self-propelled transfer device for storage tanks with adjustable bearing spacing | |
| CN215143571U (en) | Elbow pipe end rounding device |
Legal Events
| Date | Code | Title | Description |
|---|---|---|---|
| GR01 | Patent grant | ||
| GR01 | Patent grant | ||
| TR01 | Transfer of patent right |
Effective date of registration: 20250812 Address after: 114206 Liaoning City, Anshan Province, Haicheng City, the town of Wang Village, the village of eight Patentee after: HAICHENG FANGHONG FIREPROOF MATERIAL Co.,Ltd. Country or region after: China Address before: 114000 Liaoning Province, Anshan City, Xiuyan Manchu Autonomous County, Pianling Town, Huanggou Village Patentee before: Anshan mgdu refractory Co.,Ltd. Country or region before: China |
