CN213726718U - A kind of pretreatment drying traditional Chinese medicine crushing device - Google Patents

A kind of pretreatment drying traditional Chinese medicine crushing device Download PDF

Info

Publication number
CN213726718U
CN213726718U CN202022598833.6U CN202022598833U CN213726718U CN 213726718 U CN213726718 U CN 213726718U CN 202022598833 U CN202022598833 U CN 202022598833U CN 213726718 U CN213726718 U CN 213726718U
Authority
CN
China
Prior art keywords
box body
fixedly connected
traditional chinese
chinese medicine
rotating
Prior art date
Legal status (The legal status is an assumption and is not a legal conclusion. Google has not performed a legal analysis and makes no representation as to the accuracy of the status listed.)
Expired - Fee Related
Application number
CN202022598833.6U
Other languages
Chinese (zh)
Inventor
伊彩虹
Current Assignee (The listed assignees may be inaccurate. Google has not performed a legal analysis and makes no representation or warranty as to the accuracy of the list.)
Liaoning Baoyitang Science And Technology Development Co ltd
Original Assignee
Liaoning Baoyitang Science And Technology Development Co ltd
Priority date (The priority date is an assumption and is not a legal conclusion. Google has not performed a legal analysis and makes no representation as to the accuracy of the date listed.)
Filing date
Publication date
Application filed by Liaoning Baoyitang Science And Technology Development Co ltd filed Critical Liaoning Baoyitang Science And Technology Development Co ltd
Priority to CN202022598833.6U priority Critical patent/CN213726718U/en
Application granted granted Critical
Publication of CN213726718U publication Critical patent/CN213726718U/en
Expired - Fee Related legal-status Critical Current
Anticipated expiration legal-status Critical

Links

Images

Landscapes

  • Drying Of Solid Materials (AREA)
  • Crushing And Pulverization Processes (AREA)

Abstract

本实用新型公开了一种预处理烘干中药粉碎装置,包括箱体、电机和热风机,电机固定安装于箱体的侧壁上,热风机固定安装于箱体的支撑腿侧壁上,箱体的上端和下端均分别连通设有进料口和出料口,进料口和出料口上均设有密封盖,箱体的顶部上固定连接有分料机构,箱体内由上往下依次设有导流机构、破碎机构和搅拌机构,电机的输出轴末端转动贯穿箱体的侧壁设置并与破碎机构固定连接,导流机构、破碎机构和搅拌机构之间设有同一个传动机构,热风机的出气端与箱体的底部连通设置,热风机的进气端和出气端内均固定安装有第一防尘板。本实用新型不仅能有效地对中药进行粉碎,还能有效地提高中药的烘干效果。

Figure 202022598833

The utility model discloses a crushing device for pretreatment and drying traditional Chinese medicine, which comprises a box body, a motor and a hot air blower. The motor is fixedly installed on the side wall of the box body, and the hot air blower is fixedly installed on the side wall of the supporting leg of the box body. The upper and lower ends of the body are connected with a feeding port and a discharging port respectively, and both the feeding port and the discharging port are provided with a sealing cover. The top of the box body is fixedly connected with a material distribution mechanism. There is a diversion mechanism, a crushing mechanism and a stirring mechanism. The end of the output shaft of the motor rotates through the side wall of the box and is fixedly connected with the crushing mechanism. The same transmission mechanism is arranged between the diversion mechanism, the crushing mechanism and the stirring mechanism. The air outlet end of the hot air blower is arranged in communication with the bottom of the box body, and a first dustproof plate is fixedly installed in the air inlet end and the air outlet end of the hot air blower. The utility model can not only effectively pulverize the traditional Chinese medicine, but also can effectively improve the drying effect of the traditional Chinese medicine.

Figure 202022598833

Description

Traditional chinese medicine reducing mechanism is dried in preliminary treatment
Technical Field
The utility model relates to a traditional chinese medicine processing technology field especially relates to a traditional chinese medicine reducing mechanism is dried in preliminary treatment.
Background
Traditional chinese medicine need dry in the course of working, and then need a drying device, however, general drying device, it can not carry out the breakage to the traditional chinese medicine that adds effectively, and general drying device does not set up stirring structure and water conservancy diversion structure on it, and then can not carry out the stirring to traditional chinese medicine effectively, and can not accelerate effectively and dry the mobility of material back moist air current to make its stoving material effect not good.
Most of traditional Chinese medicine drying devices used in the current market can not effectively crush traditional Chinese medicines and can not effectively improve the drying effect of the traditional Chinese medicines.
SUMMERY OF THE UTILITY MODEL
The utility model aims at solving the problem that most traditional chinese medicine drying device can not smash traditional chinese medicine effectively among the prior art, and can not improve the phenomenon of the stoving effect of traditional chinese medicine effectively, and the traditional chinese medicine reducing mechanism of drying in advance who proposes, it can not only smash traditional chinese medicine effectively, can also improve the stoving effect of traditional chinese medicine effectively.
In order to achieve the above purpose, the utility model adopts the following technical scheme:
a crushing device for preprocessing and drying traditional Chinese medicine comprises a box body, a motor and an air heater, wherein the motor is fixedly arranged on the side wall of the box body, the air heater is fixedly arranged on the side wall of the supporting leg of the box body, the upper end and the lower end of the box body are respectively communicated with a feeding hole and a discharging hole, the feed inlet and the discharge outlet are both provided with sealing covers, the top of the box body is fixedly connected with a material distributing mechanism, a flow guide mechanism, a crushing mechanism and a stirring mechanism are sequentially arranged in the box body from top to bottom, the tail end of an output shaft of the motor is rotatably arranged through the side wall of the box body and is fixedly connected with the crushing mechanism, the air outlet end of the air heater is communicated with the bottom of the box body, and first dust-proof plates are fixedly mounted in the air inlet end and the air outlet end of the air heater.
Preferably, the material distribution mechanism comprises a plurality of connecting rods which are fixedly connected to the top of the box body, the lower ends of the connecting rods are fixedly connected with the same material distribution hopper, and the material distribution mechanism can effectively distribute the added traditional Chinese medicines.
Preferably, water conservancy diversion mechanism sets up the through-hole on the box inner wall including the intercommunication, fixed mounting has the second dust guard in the through-hole, the one end that the second dust guard kept away from the branch hopper rotates and is connected with the pivot, the one end that the second dust guard was kept away from in the pivot extends to outside the through-hole and with drive mechanism fixed connection, is located coaxial fixedly connected with flabellum in the pivot in the through-hole, and the setting of water conservancy diversion mechanism can accelerate the mobility of the interior air current of box effectively.
Preferably, the crushing mechanism includes two rotation columns that are all rotationally connected in the box, and two the one end of rotation column all rotates the lateral wall setting that runs through the box, the output shaft end of motor and one of them one end fixed connection who rotates the column are located equal coaxial fixedly connected with gear on two rotation columns outside the box, two mesh between the gear, lie in one of them rotation column outside the box and drive mechanism fixed connection, lie in equal coaxial fixedly connected with crushing roller on two rotation columns in the box, crushing mechanism's setting can be broken the traditional chinese medicine effectively.
Preferably, rabbling mechanism is including rotating the dwang of connecting in the box, the one end of dwang is rotated and is run through the setting of box lateral wall and with drive mechanism fixed connection, is located many puddlers of fixedly connected with on the dwang in the box, the setting of rabbling mechanism can carry out the stirring to the traditional chinese medicine in the material of drying effectively.
Preferably, drive mechanism includes a plurality of belt pulleys of equalling divide respectively with dwang, pivot and one of them coaxial fixed connection of rotation post, and is a plurality of through same belt transmission connection, drive mechanism's setting can improve the utilization ratio of motor effectively between the belt pulley.
Compared with the prior art, the beneficial effects of the utility model are that:
1. the utility model discloses a set up box, motor, air heater, first dust guard, connecting rod, branch hopper and through-hole etc. can smash traditional chinese medicine effectively, and the traditional chinese medicine after smashing is convenient for its subsequent material work that dries by the fire, and wherein drive mechanism's setting can improve the utilization ratio of motor effectively.
2. The utility model discloses a set up box, motor, air heater, first dust guard, connecting rod, branch hopper and through-hole etc. can improve the stoving effect of traditional chinese medicine effectively, wherein rabbling mechanism's setting can carry out the stirring effectively to the traditional chinese medicine that dries by the fire in the material, and the setting of water conservancy diversion mechanism can accelerate the mobility of the interior air current of box effectively in addition, and then is convenient for in time will dry by the fire the moist air current after the material and draw forth the box.
Drawings
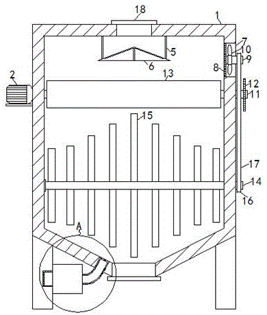
FIG. 1 is a perspective view of a pre-treatment drying traditional Chinese medicine crushing device provided by the utility model;
FIG. 2 is a top view of a pre-treatment drying traditional Chinese medicine crushing device provided by the utility model;
fig. 3 is a partially enlarged view of a portion a of fig. 1.
In the figure: the device comprises a box body 1, a motor 2, an air heater 3, a first dust guard 4, a connecting rod 5, a material distributing hopper 6, a through hole 7, a second dust guard 8, a rotating shaft 9, fan blades 10, a rotating column 11, a gear 12, a crushing roller 13, a rotating rod 14, a stirring rod 15, a belt pulley 16, a belt 17 and a sealing cover 18.
Detailed Description
The technical solutions in the embodiments of the present invention will be described clearly and completely with reference to the accompanying drawings in the embodiments of the present invention, and it is obvious that the described embodiments are only some embodiments of the present invention, not all embodiments.
Referring to fig. 1-3, a pre-treatment drying traditional Chinese medicine crushing device comprises a box body 1, a motor 2 and an air heater 3, wherein the motor 2 is fixedly arranged on the side wall of the box body 1, the air heater 3 is fixedly arranged on the side wall of a supporting leg of the box body 1, the upper end and the lower end of the box body 1 are respectively communicated with a feeding port and a discharging port, sealing covers 18 are respectively arranged on the feeding port and the discharging port, a material distributing mechanism is fixedly connected on the top of the box body 1, a flow guide mechanism is sequentially arranged in the box body 1 from top to bottom, crushing mechanism and rabbling mechanism, the terminal lateral wall setting that runs through box 1 that rotates of the output shaft of motor 2 and construct fixed connection with crushing, be equipped with same drive mechanism between water conservancy diversion mechanism, crushing mechanism and the rabbling mechanism, the end of giving vent to anger of air heater 3 sets up with the bottom intercommunication of box 1, equal fixed mounting has first dust guard 4 in the air inlet end of air heater 3 and the end of giving vent to anger.
Feed mechanism includes many equal fixed connection connecting rods 5 on 1 top of box, the same minute hopper 6 of lower extreme fixedly connected with of many connecting rods 5, feed mechanism's setting, can divide the material to the traditional chinese medicine of adding effectively, water conservancy diversion mechanism sets up through-hole 7 on the box 1 inner wall including the intercommunication, fixed mounting has second dust guard 8 in the through-hole 7, the one end that second dust guard 8 kept away from minute hopper 6 is rotated and is connected with pivot 9, the one end that second dust guard 8 was kept away from to pivot 9 extends to through-hole 7 outside and with drive mechanism fixed connection, be located coaxial fixedly connected with flabellum 10 on the pivot 9 of through-hole 7, water conservancy diversion mechanism's setting, can accelerate the mobility of the interior air current of box 1 effectively.
The crushing mechanism comprises two rotating columns 11 which are rotationally connected in the box body 1, one ends of the two rotating columns 11 are rotationally arranged to penetrate through the side wall of the box body 1, the tail end of an output shaft of the motor 2 is fixedly connected with one end of one rotating column 11, gears 12 are coaxially and fixedly connected on the two rotating columns 11 positioned outside the box body 1, the two gears 12 are meshed with each other, one rotating column 11 positioned outside the box body 1 is fixedly connected with the transmission mechanism, crushing rollers 13 are coaxially and fixedly connected on the two rotating columns 11 positioned in the box body 1, the crushing mechanism is arranged to effectively crush traditional Chinese medicines, the stirring mechanism comprises a rotating rod 14 which is rotationally connected in the box body 1, one end of the rotating rod 14 is rotationally arranged to penetrate through the side wall of the box body 1 and is fixedly connected with the transmission mechanism, a plurality of stirring rods 15 are fixedly connected on the rotating rod 14 positioned in the box body 1, and the stirring mechanism is arranged, can carry out the stirring to the traditional chinese medicine in the material of drying effectively, drive mechanism includes a plurality of belt pulleys 16 of equalling divide respectively with dwang 14, pivot 9 and one of them coaxial fixed connection of rotation post 11, connects through same root belt 17 transmission between a plurality of belt pulleys 16, and drive mechanism's setting can improve the utilization ratio of motor 2 effectively.
The working principle is as follows: in the utility model, when the worker needs to crush and dry the traditional Chinese medicine, the worker can open the upper sealing cover 18 and add the material to be crushed into the box body 1, in the process of adding the material, the material separating hopper 6 can effectively separate the material and further uniformly disperse the material on the two crushing rollers 13, then the worker closes the upper sealing cover 18 and starts the air heater 3 and the motor 2 to work, the motor 2 rotates to rotate the rotating column 11 fixedly connected with the motor 2, under the transmission action of the two gears 12, the two rotating columns 11 rotate and further drive the transmission mechanism to rotate, so that the rotating rod 14 and the rotating shaft 9 rotate, the two rotating columns 11 rotate relatively to effectively crush the material, the crushed material falls to the bottom of the box body 1, at the moment, the rotating rod 14 drives the stirring rod 15 to overturn the crushed material, in addition, the air heater 3 introduces clean hot air into the box body 1 to dry materials, the rotating shaft 9 drives the fan blades 10 to rotate, so that the wet hot air after drying materials can be effectively led out of the box body 1, the flowability of the hot air in the box body 1 is accelerated, the material drying effect of the materials is effectively improved, the arrangement of the first dustproof plate 4 and the second dustproof plate 8 can effectively reduce dust and the like from entering the box body 1, the crushed materials can be effectively prevented from coming out of the box body 1 during material drying, after the crushed materials are dried, the motor 2 and the air heater 3 are closed, and the sealing cover 18 below the motor is opened to unload the materials.
The above, only be the concrete implementation of the preferred embodiment of the present invention, but the protection scope of the present invention is not limited thereto, and any person skilled in the art is in the technical scope of the present invention, according to the technical solution of the present invention and the utility model, the concept of which is equivalent to replace or change, should be covered within the protection scope of the present invention.

Claims (6)

1.一种预处理烘干中药粉碎装置,包括箱体(1)、电机(2)和热风机(3),所述电机(2)固定安装于箱体(1)的侧壁上,所述热风机(3)固定安装于箱体(1)的支撑腿侧壁上,其特征在于,所述箱体(1)的上端和下端均分别连通设有进料口和出料口,所述进料口和出料口上均设有密封盖(18),所述箱体(1)的顶部上固定连接有分料机构,所述箱体(1)内由上往下依次设有导流机构、破碎机构和搅拌机构,所述电机(2)的输出轴末端转动贯穿箱体(1)的侧壁设置并与破碎机构固定连接,所述导流机构、破碎机构和搅拌机构之间设有同一个传动机构,所述热风机(3)的出气端与箱体(1)的底部连通设置,所述热风机(3)的进气端和出气端内均固定安装有第一防尘板(4)。1. A pretreatment drying traditional Chinese medicine pulverizing device, comprising a box body (1), a motor (2) and a hot air blower (3), the motor (2) is fixedly installed on the side wall of the box body (1), so The hot air blower (3) is fixedly installed on the side wall of the support leg of the box body (1), and it is characterized in that the upper end and the lower end of the box body (1) are respectively connected with a feeding port and a discharging port, so A sealing cover (18) is provided on both the feeding port and the discharging port, a material distribution mechanism is fixedly connected to the top of the box body (1), and guide guides are arranged in the box body (1) from top to bottom in order. A flow mechanism, a crushing mechanism and a stirring mechanism, the end of the output shaft of the motor (2) rotates through the side wall of the box (1) and is fixedly connected with the crushing mechanism. The same transmission mechanism is provided, the air outlet end of the hot air blower (3) is communicated with the bottom of the box (1), and the air inlet end and the air outlet end of the hot air blower (3) are fixedly installed with a first anti-air Dust plate (4). 2.根据权利要求1所述的一种预处理烘干中药粉碎装置,其特征在于,所述分料机构包括多根均固定连接于箱体(1)顶部上的连接杆(5),多根所述连接杆(5)的下端固定连接有同一个分料斗(6)。2. A pretreatment drying traditional Chinese medicine pulverizing device according to claim 1, characterized in that the material distributing mechanism comprises a plurality of connecting rods (5) that are all fixedly connected to the top of the box body (1). The lower end of the connecting rod (5) is fixedly connected with the same hopper (6). 3.根据权利要求2所述的一种预处理烘干中药粉碎装置,其特征在于,所述导流机构包括连通设置于箱体(1)内壁上的通孔(7),所述通孔(7)内固定安装有第二防尘板(8),所述第二防尘板(8)远离分料斗(6)的一端转动连接有转轴(9),所述转轴(9)远离第二防尘板(8)的一端延伸至通孔(7)外并与传动机构固定连接,位于所述通孔(7)内的转轴(9)上同轴固定连接有扇叶(10)。3. A pretreatment drying traditional Chinese medicine pulverizing device according to claim 2, characterized in that the diversion mechanism comprises a through hole (7) connected to the inner wall of the box body (1), the through hole (7) A second dust-proof plate (8) is fixedly installed inside, and the end of the second dust-proof plate (8) away from the hopper (6) is rotatably connected with a rotating shaft (9), and the rotating shaft (9) is far away from the second dust-proof plate (8). One end of the two dustproof plates (8) extends to the outside of the through hole (7) and is fixedly connected to the transmission mechanism, and a fan blade (10) is coaxially and fixedly connected to the rotating shaft (9) located in the through hole (7). 4.根据权利要求3所述的一种预处理烘干中药粉碎装置,其特征在于,所述破碎机构包括两根均转动连接于箱体(1)内的转动柱(11),两根所述转动柱(11)的一端均转动贯穿箱体(1)的侧壁设置,所述电机(2)的输出轴末端与其中一根转动柱(11)的一端固定连接,位于所述箱体(1)外的两根转动柱(11)上均同轴固定连接有齿轮(12),两个所述齿轮(12)之间相啮合,位于所述箱体(1)外的其中一根转动柱(11)与传动机构固定连接,位于所述箱体(1)内的两根转动柱(11)上均同轴固定连接有破碎辊(13)。4. A pretreatment drying traditional Chinese medicine crushing device according to claim 3, characterized in that the crushing mechanism comprises two rotating columns (11) both rotatably connected in the box (1), and the two One end of the rotating column (11) is arranged to rotate through the side wall of the box body (1). Gears (12) are coaxially and fixedly connected to the two rotating columns (11) outside (1), and the two gears (12) are engaged with each other, and one of the gears (12) is located outside the box body (1). The rotating column (11) is fixedly connected with the transmission mechanism, and crushing rollers (13) are fixed coaxially and fixedly connected to the two rotating columns (11) located in the box body (1). 5.根据权利要求4所述的一种预处理烘干中药粉碎装置,其特征在于,所述搅拌机构包括转动连接于箱体(1)内的转动杆(14),所述转动杆(14)的一端转动贯穿箱体(1)侧壁设置并与传动机构固定连接,位于所述箱体(1)内的转动杆(14)上固定连接有多根搅拌杆(15)。5. A pretreatment drying traditional Chinese medicine pulverizing device according to claim 4, characterized in that the stirring mechanism comprises a rotating rod (14) rotatably connected in the box (1), and the rotating rod (14) ) rotates through the side wall of the box body (1) and is fixedly connected with the transmission mechanism, and a plurality of stirring rods (15) are fixedly connected to the rotating rod (14) in the box body (1). 6.根据权利要求5所述的一种预处理烘干中药粉碎装置,其特征在于,所述传动机构包括多个均分别与转动杆(14)、转轴(9)和其中一根转动柱(11)同轴固定连接的皮带轮(16),多个所述皮带轮(16)之间通过同一根皮带(17)传动连接。6 . The pretreatment drying traditional Chinese medicine pulverizing device according to claim 5 , wherein the transmission mechanism comprises a plurality of rotating rods ( 14 ), a rotating shaft ( 9 ) and one of the rotating columns ( 11) The pulleys (16) are fixedly connected coaxially, and a plurality of the pulleys (16) are connected in a transmission through the same belt (17).
CN202022598833.6U 2020-11-11 2020-11-11 A kind of pretreatment drying traditional Chinese medicine crushing device Expired - Fee Related CN213726718U (en)

Priority Applications (1)

Application Number Priority Date Filing Date Title
CN202022598833.6U CN213726718U (en) 2020-11-11 2020-11-11 A kind of pretreatment drying traditional Chinese medicine crushing device

Applications Claiming Priority (1)

Application Number Priority Date Filing Date Title
CN202022598833.6U CN213726718U (en) 2020-11-11 2020-11-11 A kind of pretreatment drying traditional Chinese medicine crushing device

Publications (1)

Publication Number Publication Date
CN213726718U true CN213726718U (en) 2021-07-20

Family

ID=76823868

Family Applications (1)

Application Number Title Priority Date Filing Date
CN202022598833.6U Expired - Fee Related CN213726718U (en) 2020-11-11 2020-11-11 A kind of pretreatment drying traditional Chinese medicine crushing device

Country Status (1)

Country Link
CN (1) CN213726718U (en)

Cited By (2)

* Cited by examiner, † Cited by third party
Publication number Priority date Publication date Assignee Title
CN116750940A (en) * 2023-08-01 2023-09-15 中国长江三峡集团有限公司 A kind of sludge cloth turning and throwing equipment
CN117020386A (en) * 2023-09-01 2023-11-10 安徽宝泰特种材料有限公司 An explosive welding composite plate drug dispensing device

Cited By (2)

* Cited by examiner, † Cited by third party
Publication number Priority date Publication date Assignee Title
CN116750940A (en) * 2023-08-01 2023-09-15 中国长江三峡集团有限公司 A kind of sludge cloth turning and throwing equipment
CN117020386A (en) * 2023-09-01 2023-11-10 安徽宝泰特种材料有限公司 An explosive welding composite plate drug dispensing device

Similar Documents

Publication Publication Date Title
CN108380323A (en) A kind of feeding equipment of improved shutter clout processing
CN209952937U (en) Dry all-in-one of grinding is smashed to chinese-medicinal material
CN107940974A (en) Circulation Chinese medicine drying equipment in a kind of
CN213726718U (en) A kind of pretreatment drying traditional Chinese medicine crushing device
CN112718154A (en) Wheat bran reducing mechanism with stoving function
CN206262402U (en) Fodder mixing machine
CN110342781A (en) Biomass modified system and its working method for sludge dewatering
CN216322250U (en) Flour production and processing is with meticulous grinding sieving mechanism
CN110813486A (en) Garrulous device of sweetleaf inulin for throat-moistening candy production
CN212263472U (en) Raw material crushing device for adhesive powder production
CN220959318U (en) Eiderdown hair drying device
CN217636425U (en) A drying device in advance for collecting half wet state cellulose
CN211668111U (en) Crushing and drying device for production of high polymer materials
CN213000187U (en) Maize germ flour apparatus for producing
CN211290727U (en) Solid useless drying device for processing
CN212747255U (en) Hot drying device for material processing
CN209885935U (en) Asparagus cutting drying machine
CN207874336U (en) A kind of Chinese medicine manual cutting and grinding device
CN217217489U (en) Portable cotton straw reducing mechanism
CN212814115U (en) Extraction device for preparing pig bone soup-stock sauce
CN221619651U (en) A microbial fertilizer drying and crushing device
CN219723153U (en) Polymer material reducing mechanism
CN213668952U (en) Chinese herbal medicine finished product processing mixing arrangement
CN212039105U (en) Multifunctional ganoderma lucidum extracting tank
CN215947062U (en) Drying equipment for sludge crushing processing

Legal Events

Date Code Title Description
GR01 Patent grant
GR01 Patent grant
CF01 Termination of patent right due to non-payment of annual fee

Granted publication date: 20210720

CF01 Termination of patent right due to non-payment of annual fee