CN213704703U - A kind of folder gluer adding sticker mechanism - Google Patents

A kind of folder gluer adding sticker mechanism Download PDF

Info

Publication number
CN213704703U
CN213704703U CN202022066172.2U CN202022066172U CN213704703U CN 213704703 U CN213704703 U CN 213704703U CN 202022066172 U CN202022066172 U CN 202022066172U CN 213704703 U CN213704703 U CN 213704703U
Authority
CN
China
Prior art keywords
roller
winding
frame
gluer
pressing
Prior art date
Legal status (The legal status is an assumption and is not a legal conclusion. Google has not performed a legal analysis and makes no representation as to the accuracy of the status listed.)
Expired - Fee Related
Application number
CN202022066172.2U
Other languages
Chinese (zh)
Inventor
刘秀碧
尹向前
Current Assignee (The listed assignees may be inaccurate. Google has not performed a legal analysis and makes no representation or warranty as to the accuracy of the list.)
Dongguan Jialong Paper Products Co ltd
Original Assignee
Dongguan Jialong Paper Products Co ltd
Priority date (The priority date is an assumption and is not a legal conclusion. Google has not performed a legal analysis and makes no representation as to the accuracy of the date listed.)
Filing date
Publication date
Application filed by Dongguan Jialong Paper Products Co ltd filed Critical Dongguan Jialong Paper Products Co ltd
Priority to CN202022066172.2U priority Critical patent/CN213704703U/en
Application granted granted Critical
Publication of CN213704703U publication Critical patent/CN213704703U/en
Expired - Fee Related legal-status Critical Current
Anticipated expiration legal-status Critical

Links

Images

Landscapes

  • Adhesive Tape Dispensing Devices (AREA)

Abstract

本申请涉及贴胶设备的技术领域,尤其是涉及一种糊盒机加装贴不干胶机构,其包括固定架、放置辊、收卷组件以及切断组件,放置辊转动安装于固定架;收卷组件包括收卷架、第一收卷辊以及第二收卷辊,收卷架转动安装于固定架,第一收卷辊和第二收卷辊均转动安装于收卷架,第一收卷辊靠近收卷架的顶部设置,第二收卷辊靠近收卷架的底部设置;切断组件包括气缸、刀架以及切断刀,气缸缸体的一端铰接设置于固定架,气缸活塞杆的一端铰接设置于收卷架,刀架固定安装于固定架,切断刀固定安装于刀架,切断刀的刃口靠近第二收卷辊设置且位于第二收卷辊的下方。本申请具有便于工作人员对粘贴后的胶带进行切断的效果。

Figure 202022066172

The present application relates to the technical field of glue sticking equipment, in particular to a glue sticker mechanism for adding glue stickers to a folder gluer, which includes a fixing frame, a placing roller, a winding assembly and a cutting assembly, and the placing roller is rotatably installed on the fixing frame; The winding assembly includes a winding frame, a first winding roller and a second winding roller. The winding frame is rotatably installed on the fixed frame, and the first winding roller and the second winding roller are both rotatably installed on the winding frame. The winding roller is arranged near the top of the winding frame, and the second winding roller is arranged near the bottom of the winding frame; the cutting assembly includes a cylinder, a knife rest and a cutting knife, one end of the cylinder block is hingedly arranged on the fixed frame, and one end of the cylinder piston rod The cutting blade is hingedly arranged on the winding frame, the blade frame is fixedly installed on the fixing frame, the cutting knife is fixedly installed on the blade frame, and the cutting edge of the cutting blade is arranged close to the second winding roller and is located below the second winding roller. The present application has the effect of facilitating the cutting of the pasted adhesive tape by a worker.

Figure 202022066172

Description

Stick with paste box machine and install additional non-setting adhesive mechanism
Technical Field
The application relates to the field of rubberizing equipment, especially, relate to a stick with paste box machine and install non-setting adhesive mechanism additional.
Background
At present, the procedure of sticking the non-setting adhesive on the cut and formed paper board is needed in the production process of the paper box so as to adhere the formed paper board and finally form the required paper box product.
In view of the above-mentioned related technologies, the inventor believes that there is a defect that it is difficult for a worker to cut the self-adhesive tape after being pasted.
SUMMERY OF THE UTILITY MODEL
In order to facilitate the staff to cut off the sticky tape after pasting, this application provides a stick with paste box machine and install non-setting adhesive mechanism additional.
The application provides a stick with paste box machine and install non-setting adhesive mechanism additional adopts following technical scheme:
a self-adhesive sticker attaching mechanism of a box pasting machine comprises a fixing frame, a placing roller, a winding assembly and a cutting assembly, wherein the placing roller is rotatably arranged on the fixing frame;
the winding assembly comprises a winding frame, a first winding roller and a second winding roller, the winding frame is rotatably mounted on the fixing frame, the first winding roller and the second winding roller are rotatably mounted on the winding frame, the first winding roller is arranged close to the top of the winding frame, and the second winding roller is arranged close to the bottom of the winding frame;
the cutting-off assembly comprises an air cylinder, a knife rest and a cutting-off knife, one end of an air cylinder body is hinged to the fixing frame, one end of an air cylinder piston rod is hinged to the winding frame, the knife rest is fixedly installed on the fixing frame, the cutting-off knife is fixedly installed on the knife rest, and the cutting edge of the cutting-off knife is close to the second winding roller.
Through adopting above-mentioned technical scheme, when carrying out the rubberizing to the cardboard, at first place the cylinder of non-setting adhesive in and place the roller, drag the non-setting adhesive afterwards and make the non-setting adhesive around locating first wind-up roll and second wind-up roll, the second wind-up roll carries out the rubberizing to the cardboard and handles, the non-setting adhesive is pasted behind the cardboard, the motion through its piston rod of cylinder drive makes the non-setting adhesive after the rubberizing cut off the sword via cutting off, and then accomplish the rubberizing to the cardboard, at this in-process, it can cut off the non-setting adhesive tape after the rubberizing to carry out the motion through its piston rod of cylinder drive, thereby make staff's easy and.
Preferably, two limit rings which are arranged oppositely are arranged on the peripheral surface of the first winding roller.
Through adopting above-mentioned technical scheme, the spacing ring plays the direction limiting displacement when rolling the non-setting adhesive tape subsides for its horizontal direction's position is difficult for squinting when the non-setting adhesive tape rolls.
Preferably, the winding frame is fixedly provided with a horizontally arranged guide roller, and the guide roller is positioned between the first winding roller and the second winding roller.
Through adopting above-mentioned technical scheme, the setting up of guide roll makes the non-setting adhesive tape that is located between first wind-up roll and the second wind-up roll difficult for rocking when pasting the rolling.
Preferably, the rolling frame is installed and is supported the pressure frame, support the pressure frame and rotate the compression roller that supports that is installed the level setting, support the compression roller and be close to the setting of second rolling roller, when second rolling roller is to the rolling of non-setting adhesive tape, support the compression roller and support and press in the non-setting adhesive tape.
Through adopting above-mentioned technical scheme, support the compression roller and play the effect of pacifying supporting of the non-setting adhesive tape of rolling through second wind-up roll, and then be favorable to keeping the planarization when the non-setting adhesive tape is pasted.
Preferably, the fixing frame is rotatably provided with an adjusting rod, the adjusting rod is tightly abutted and fixed with the fixing frame through a bolt, and the adjusting rod is rotatably provided with an adjusting roller which is horizontally arranged.
Through adopting above-mentioned technical scheme, the non-setting adhesive tape is around locating first wind-up roll and second wind-up roll, at first around locating the dancer rools, and the dancer rools plays the tensioning effect to the non-setting adhesive tape, can adjust the tensioning degree of non-setting adhesive tape through the regulation to the regulating stem angle, and simultaneously, the bolt supports the fixed mode that tightly fixes and makes the fixed mode of adjusting the pole simple, and the practicality is strong.
Preferably, the outer peripheral surface of the adjusting roller is provided with two clamping rings which are arranged oppositely.
Through adopting above-mentioned technical scheme, the screens ring plays the direction limiting displacement when locating first wind-up roll and second wind-up roll around the self-adhesive tape for the difficult emergence skew around the position of the self-adhesive tape horizontal direction of locating the dancer rools outer peripheral face.
Preferably, the fixing frame is rotatably provided with a horizontally arranged limiting roller, and the limiting roller is positioned between the adjusting roller and the winding frame.
Through adopting above-mentioned technical scheme, spacing roller plays the limiting displacement when rolling to the non-setting adhesive tape for the non-setting adhesive tape that is located between dancer roll and the rolling frame is difficult for rocking when the rolling.
Preferably, the fixing frame is rotatably provided with a horizontally arranged pressing wheel, the pressing wheel is arranged close to one side of the paper feeding direction of the fixing frame, and when the adhesive paper board to be pasted is pasted with the non-setting adhesive, the pressing wheel tightly presses the paper board to be pasted.
Through adopting above-mentioned technical scheme, support when the wheel plays the cardboard rubberizing to press and smooth the effect, and then be favorable to promoting the planarization when the cardboard pastes the non-setting adhesive.
Preferably, the fixing frame is rotatably provided with a horizontally arranged pressing roller, the pressing roller is arranged at one side close to the paper outlet direction of the fixing frame, and the pressing roller is pressed against the glued paper board when the glued paper board is output.
Through adopting above-mentioned technical scheme, support the pressure roller and play the effect of pacifying of supporting after the cardboard rubberizing, and then be favorable to promoting the planarization of the state behind the cardboard rubberizing adhesive.
In summary, the present application includes at least one of the following beneficial technical effects:
in the process of pasting the adhesive on the paperboard, the piston rod of the cylinder is driven to move by the cylinder, so that the self-adhesive tape after pasting can be cut off, and the operation of workers is simple and convenient;
the limiting ring plays a role in guiding and limiting the adhesive tape when being pasted and rolled, so that the horizontal position of the adhesive tape is not easy to deviate when being rolled;
can adjust the tensioning degree of non-setting adhesive tape through the regulation to the regulating stem angle, simultaneously, the bolt supports the fixed mode of tight regulation pole and makes the fixed mode of adjusting the pole simple, and the practicality is strong.
Drawings
FIG. 1 is a schematic diagram of the overall structure of an embodiment of the present application;
FIG. 2 is a schematic partial sectional structural view of a winding frame in an embodiment of the application;
FIG. 3 is a schematic view showing the connection between the cutting blade and the blade holder in the embodiment of the present application;
fig. 4 is a partially enlarged schematic view of a portion a in fig. 3.
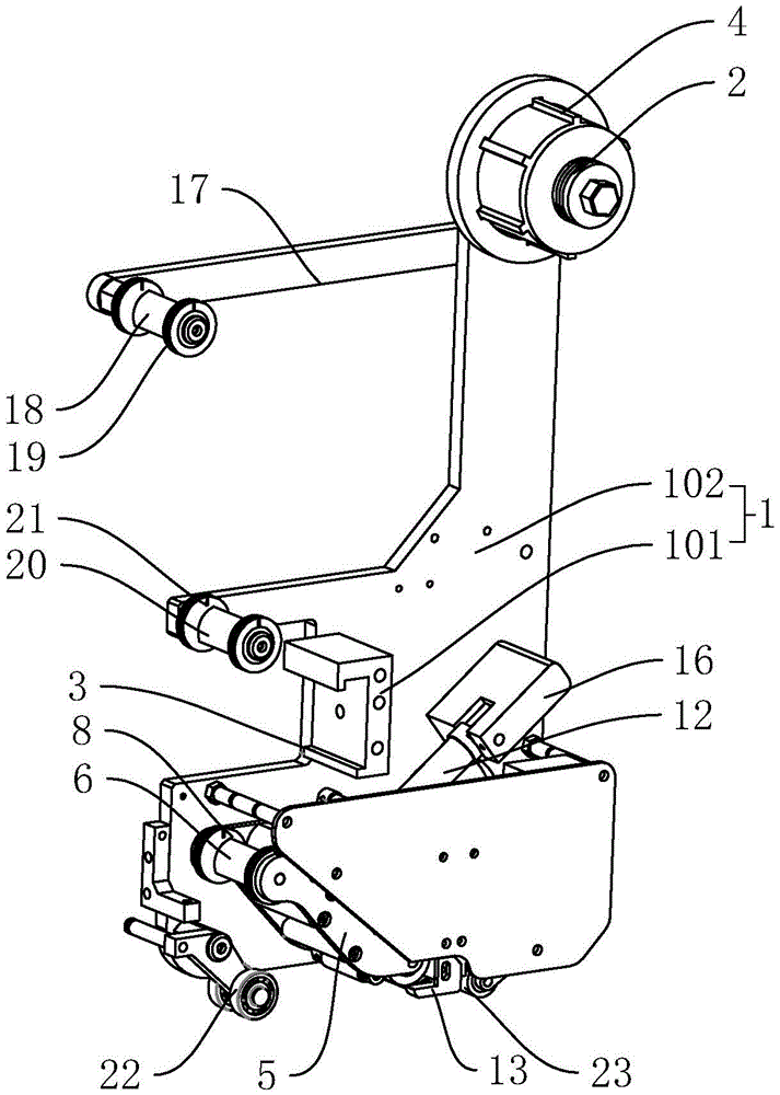
Description of reference numerals: 1. a fixed mount; 101. a sliding fixing part; 102. mounting a fixed part; 2. placing a roller; 3. a sliding groove; 4. anti-slip ribs; 5. a winding frame; 6. a first wind-up roll; 7. a second wind-up roll; 8. a limiting ring; 9. a guide roller; 10. a pressing frame; 11. pressing the roller; 12. a cylinder; 13. a tool holder; 14. a cutting knife; 15. a fixed shaft; 16. a hinged block; 17. adjusting a rod; 18. a regulating roller; 19. a position clamping ring; 20. a limiting roller; 21. a slip ring; 22. pressing the wheel; 23. and abutting against the roller.
Detailed Description
The present application is described in further detail below with reference to figures 1-4.
The embodiment of the application discloses stick with paste box machine and install sticker mechanism additional. Referring to fig. 1, stick with paste box machine and install non-setting adhesive mechanism additional and include mount 1, place roller 2, rolling subassembly and cut off the subassembly, and wherein, mount 1 is including the fixed part 101 that slides and installation fixed part 102, and the fixed part 101 that slides is seted up and is run through the sliding groove 3 of the fixed part 101 that slides along the horizontal direction, through the cooperation of sliding groove 3 and other parts for this mechanism can carry out the process of pasting the non-setting adhesive to the cardboard in different positions.
Continuing to refer to fig. 1, the installation fixing portion 102 is fixedly connected to the sliding fixing portion 101, the placing roller 2 is rotatably installed on the installation fixing portion 102 and is arranged near the top of the installation fixing portion 102, the placing roller 2 is used for placing the rolled adhesive sticker, and the outer peripheral surface of the placing roller 2 is provided with a plurality of anti-slip protruding ribs 4 which are uniformly distributed in the circumferential direction around the axis of the placing roller to enhance the stability of the rolled adhesive sticker when being placed.
Referring to fig. 1 and 2, the winding assembly comprises a winding frame 5, a first winding roller 6 and a second winding roller 7, the winding frame 5 is rotatably mounted on a mounting fixing portion 102, a rotating point of the winding frame 5 is close to the top of the winding frame 5, the winding frame 5 is arranged close to the bottom of the mounting fixing portion 102, the first winding roller 6 and the second winding roller 7 are both horizontally arranged and rotatably mounted on the winding frame 5, the first winding roller 6 is arranged close to the top of the winding frame 5, the second winding roller 7 is arranged close to the bottom of the winding frame 5, two limiting rings 8 which are oppositely arranged are matched with the outer peripheral surface of the first winding roller 6 in a sliding manner, the guiding and limiting function is achieved when the self-adhesive tape is rolled, the position of the self-adhesive tape in the horizontal direction is not prone to shifting when the self-adhesive tape is rolled, the material of the limiting ring 8 is selected to be rubber, and the position of the limiting ring 8 is stable after the first rolling roller 6 slides.
Continuing to refer to fig. 1 and 2, winding frame 5 fixed mounting has two guide rolls 9 that the level set up, two guide rolls 9 are located between first rolling and second winding roll 7, the setting of two guide rolls 9 makes the non-setting adhesive tape that is located between first winding roll 6 and second winding roll 7 be difficult for rocking when the rolling, winding frame 5 rotates and installs and supports pressure frame 10, support pressure frame 10 rotates and installs the pressure roller 11 that supports that sets up horizontally, support pressure roller 11 and be close to second winding roll 7 and set up, when second winding roll 7 carries out the rolling to the non-setting adhesive tape, support pressure roller 11 and support and press in the non-setting adhesive tape, so that the rolling process of second winding roll 7 to the non-setting adhesive tape is stable.
Referring to fig. 3 and 4, the cutting assembly includes an air cylinder 12, a knife rest 13 and a cutting knife 14, a horizontally disposed fixing shaft 15 is fixedly mounted on the winding frame 5, a hinge block 16 is fixedly connected to the mounting fixing portion 102, one end of a piston rod of the air cylinder 12 is rotatably mounted on the fixing shaft 15, one end of a cylinder body of the air cylinder 12 is rotatably mounted on the hinge block 16, the knife rest 13 is horizontally mounted on the mounting fixing portion 102, the cutting knife 14 is fixedly mounted on the knife rest 13, and a cutting edge of the cutting knife 14 is disposed close to the second winding roller 7, so that when the air cylinder 12 drives the piston rod to move, the winding frame 5 drives the second winding roller 7 to rotate together towards a cutting edge of the cutting knife 14, and further cuts the self-adhesive tape after being pasted, and the cutting edge of the cutting knife 14 is disposed obliquely downward, so.
Referring to fig. 3, an adjusting rod 17 is rotatably mounted on a mounting and fixing part 102, the adjusting rod 17 is tightly fixed with the mounting and fixing part 102 through bolts, the adjusting rod 17 is arranged close to a placing roller 2, a horizontally arranged adjusting roller 18 is rotatably mounted at one end of the adjusting rod 17 close to the principle mounting and fixing part 102, two clamping rings 19 are slidably fitted on the outer circumferential surface of the adjusting roller 18, the clamping rings 19 are made of rubber, so that the tension degree of the self-adhesive tape wound on a winding component can be adjusted along with the rotation of the adjusting rod 17, meanwhile, the clamping rings 19 play a role in limiting and guiding the self-adhesive tape in the horizontal direction, a limiting roller 20 is rotatably mounted on the mounting and fixing part 102, the limiting roller 20 is positioned between the adjusting roller 18 and the winding frame 5, the limiting roller 20 plays a role in limiting the self-adhesive tape winding, and the self-adhesive tape positioned between the adjusting roller 18 and the winding frame 5 is not, the peripheral surface of the adjusting roller 18 is matched with two sliding rings 21 in a sliding manner, and the sliding rings 21 are made of rubber so as to play a role in further limiting and guiding the adhesive tape in the horizontal direction.
Referring to fig. 3 and 4, for the smoothness when further guaranteeing the cardboard subsides the non-setting adhesive, installation fixed part 102 rotates the pressure wheel 22 that supports that the installation has the level to set up, support and press one side setting that wheel 22 is close to support body feed direction, when treating the rubberized cardboard and carry via the conveyer belt, support and press wheel 22 and support tightly and treat the rubberized cardboard, for the stability of further guaranteeing the cardboard post-gluing adhesive state, installation fixed part 102 rotates the butt roller 23 that the installation has the level to set up, one side setting that butt roller 23 is close to support body ejection of compact direction, when the cardboard after the rubberizing carries via the conveyer belt, the cardboard after the butt roller 23 supports tightly the rubberizing.
The implementation principle that stick with paste box machine and install sticker mechanism additional is: when the paperboard is pasted with adhesive, firstly, a glue cylinder of the adhesive is placed on the placing roller 2, then the adhesive is pulled to enable the adhesive to be wound on the first winding roller 6 and the second winding roller 7, the second winding roller 7 carries out pasting processing on the paperboard, after the adhesive is pasted on the paperboard, the motion of the piston rod of the air cylinder 12 is driven to enable the adhesive after pasting to be cut off through the cutting knife 14, then the pasting on the paperboard is completed, in the process, the piston rod of the air cylinder 12 is driven to move to cut off the adhesive tape after pasting, and therefore the operation of workers is simple and convenient.
The above embodiments are preferred embodiments of the present application, and the protection scope of the present application is not limited by the above embodiments, so: all equivalent changes made according to the structure, shape and principle of the present application shall be covered by the protection scope of the present application.

Claims (9)

1.一种糊盒机加装贴不干胶机构,其特征在于:包括固定架(1)、放置辊(2)、收卷组件以及切断组件,所述放置辊(2)转动安装于固定架(1);1. A glue sticker mechanism is added to a folder gluer, characterized in that: it comprises a fixing frame (1), a placing roller (2), a winding assembly and a cutting assembly, and the placing roller (2) is rotated and installed on a fixed rack(1); 所述收卷组件包括收卷架(5)、第一收卷辊(6)以及第二收卷辊(7),所述收卷架(5)转动安装于固定架(1),所述第一收卷辊(6)和第二收卷辊(7)均转动安装于收卷架(5),所述第一收卷辊(6)靠近收卷架(5)的顶部设置,所述第二收卷辊(7)靠近收卷架(5)的底部设置;The winding assembly includes a winding frame (5), a first winding roller (6) and a second winding roller (7), the winding frame (5) is rotatably mounted on the fixing frame (1), and the The first winding roller (6) and the second winding roller (7) are both rotatably mounted on the winding frame (5), and the first winding roller (6) is arranged close to the top of the winding frame (5), so The second winding roller (7) is arranged close to the bottom of the winding frame (5); 所述切断组件包括气缸(12)、刀架(13)以及切断刀(14),所述气缸(12)缸体的一端铰接设置于固定架(1),所述气缸(12)活塞杆的一端铰接设置于收卷架(5),所述刀架(13)固定安装于固定架(1),所述切断刀(14)固定安装于刀架(13),所述切断刀(14)的刃口靠近第二收卷辊(7)设置。The cutting assembly comprises an air cylinder (12), a knife rest (13) and a cutting knife (14). One end is hingedly arranged on the rewinding frame (5), the knife rest (13) is fixedly installed on the fixing frame (1), the cutting knife (14) is fixedly installed on the knife rest (13), and the cutting knife (14) The cutting edge is set close to the second winding roller (7). 2.根据权利要求1所述的一种糊盒机加装贴不干胶机构,其特征在于:所述第一收卷辊(6)的外周面安装有两正对设置的限位环(8)。2. A folder gluer installation and sticking sticker mechanism according to claim 1, characterized in that: the outer peripheral surface of the first rewinding roller (6) is provided with two oppositely arranged limit rings ( 8). 3.根据权利要求2所述的一种糊盒机加装贴不干胶机构,其特征在于:所述收卷架(5)固定安装有水平设置的导向辊(9),所述导向辊(9)位于第一收卷辊(6)和第二收卷辊(7)之间。3. A folder gluer installation and sticking sticker mechanism according to claim 2, characterized in that: the rewinding frame (5) is fixedly installed with a horizontally arranged guide roller (9), and the guide roller (9) is located between the first winding roll (6) and the second winding roll (7). 4.根据权利要求1所述的一种糊盒机加装贴不干胶机构,其特征在于:所述收卷架(5)安装有抵压架(10),所述抵压架(10)转动安装有水平设置的抵压辊(11),所述抵压辊(11)靠近第二收卷辊(7)设置,所述第二收卷辊(7)对不干胶胶带收卷时,所述抵压辊(11)抵压于不干胶胶带。4. A folder gluer installation and sticking sticker mechanism according to claim 1, characterized in that: a pressing frame (10) is installed on the rewinding frame (5), and the pressing frame (10) ) is rotated and installed with a horizontally arranged pressing roller (11), the pressing roller (11) is arranged close to the second winding roller (7), and the second winding roller (7) winds the self-adhesive tape When the pressing roller (11) is pressed against the self-adhesive tape. 5.根据权利要求1所述的一种糊盒机加装贴不干胶机构,其特征在于:所述固定架(1)转动安装有调节杆(17),所述调节杆(17)与固定架(1)通过螺栓抵紧固定,所述调节杆(17)转动安装有水平设置的调节辊(18)。5. A glue sticker mechanism for adding a gluer to a folder gluer according to claim 1, characterized in that: the fixing frame (1) is rotatably installed with an adjusting rod (17), and the adjusting rod (17) is connected with the adjusting rod (17). The fixing frame (1) is pressed and fixed by bolts, and the adjusting rod (17) is rotatably installed with a horizontally arranged adjusting roller (18). 6.根据权利要求5所述的一种糊盒机加装贴不干胶机构,其特征在于:所述调节辊(18)的外周面安装有正对设置的两卡位环(19)。6 . The self-adhesive mechanism for adding a gluer to a folder gluer according to claim 5 , wherein two snap rings ( 19 ) facing each other are installed on the outer peripheral surface of the adjusting roller ( 18 ). 7 . 7.根据权利要求6所述的一种糊盒机加装贴不干胶机构,其特征在于:所述固定架(1)转动安装有水平设置的限位辊(20),所述限位辊(20)位于调节辊(18)与收卷架(5)之间。7 . The self-adhesive mechanism for adding a gluer to a folder gluer according to claim 6 , wherein the fixing frame ( 1 ) is rotatably installed with a limit roller ( 20 ) arranged horizontally, and the limit roller ( 20 ) The roller (20) is located between the adjustment roller (18) and the take-up stand (5). 8.根据权利要求1所述的一种糊盒机加装贴不干胶机构,其特征在于:所述固定架(1)转动安装有水平设置的抵压轮(22),所述抵压轮(22)靠近固定架(1)进纸方向的一侧设置,待贴胶纸板贴不干胶时,所述抵压轮(22)抵紧待贴胶纸板。8 . The gluer attaching and sticking mechanism for a folder gluer according to claim 1 , wherein the fixing frame ( 1 ) is rotatably installed with a horizontally arranged pressing wheel ( 22 ), and the pressing The wheel (22) is disposed close to one side of the fixed frame (1) in the paper feeding direction, and when the adhesive cardboard is to be pasted with self-adhesive, the pressing wheel (22) presses against the to-be-adhesive cardboard. 9.根据权利要求8所述的一种糊盒机加装贴不干胶机构,其特征在于:所述固定架(1)转动安装有水平设置的抵压辊(11),所述抵压辊(11)靠近固定架(1)出纸方向的一侧设置,贴胶后的纸板输出时,所述抵压辊(11)抵紧贴胶后的纸板。9 . The self-adhesive mechanism for adding a gluer to a folder-gluer according to claim 8 , wherein the fixing frame ( 1 ) is rotatably installed with a horizontally-arranged pressing roller ( 11 ), and the pressing The roller (11) is arranged close to one side of the fixing frame (1) in the paper-out direction, and when the glued cardboard is output, the pressing roller (11) presses against the glued cardboard.
CN202022066172.2U 2020-09-18 2020-09-18 A kind of folder gluer adding sticker mechanism Expired - Fee Related CN213704703U (en)

Priority Applications (1)

Application Number Priority Date Filing Date Title
CN202022066172.2U CN213704703U (en) 2020-09-18 2020-09-18 A kind of folder gluer adding sticker mechanism

Applications Claiming Priority (1)

Application Number Priority Date Filing Date Title
CN202022066172.2U CN213704703U (en) 2020-09-18 2020-09-18 A kind of folder gluer adding sticker mechanism

Publications (1)

Publication Number Publication Date
CN213704703U true CN213704703U (en) 2021-07-16

Family

ID=76793950

Family Applications (1)

Application Number Title Priority Date Filing Date
CN202022066172.2U Expired - Fee Related CN213704703U (en) 2020-09-18 2020-09-18 A kind of folder gluer adding sticker mechanism

Country Status (1)

Country Link
CN (1) CN213704703U (en)

Cited By (2)

* Cited by examiner, † Cited by third party
Publication number Priority date Publication date Assignee Title
CN115609674A (en) * 2022-12-20 2023-01-17 苏州富合创兴汽车科技有限公司 Adjustable foam mechanical gluing device and working method thereof
CN116891038A (en) * 2023-09-11 2023-10-17 广东仕诚塑料机械有限公司 Adhesive tape winding device for packaging roll-shaped objects

Cited By (3)

* Cited by examiner, † Cited by third party
Publication number Priority date Publication date Assignee Title
CN115609674A (en) * 2022-12-20 2023-01-17 苏州富合创兴汽车科技有限公司 Adjustable foam mechanical gluing device and working method thereof
CN116891038A (en) * 2023-09-11 2023-10-17 广东仕诚塑料机械有限公司 Adhesive tape winding device for packaging roll-shaped objects
CN116891038B (en) * 2023-09-11 2024-04-09 广东仕诚塑料机械有限公司 Adhesive tape winding device for packaging roll-shaped objects

Similar Documents

Publication Publication Date Title
CN110282475B (en) A kind of automatic gluing method of double-sided adhesive tape
CN107187922B (en) Method and equipment for slitting adhesive tape parent roll
CN213704703U (en) A kind of folder gluer adding sticker mechanism
CN105235171A (en) Energy-saving film coating machine
CN108556470A (en) A kind of full-automatic gold stamping machine
CN112389794A (en) Label stripping equipment
CN111847045B (en) Automatic paper core placing device and rewinding machine
CN205202060U (en) Energy-saving film coating machine
CN206985305U (en) A precision automatic slitting machine
CN210763529U (en) A packaging paper tape printing slitting and winding device
CN210312728U (en) Automatic rubberizing device
CN110304481B (en) Automatic rubberizing device
CN213201808U (en) An efficient multi-brand slitting device
CN115818330A (en) Pole piece double-sided back gluing mechanism and pole piece double-sided back gluing method
CN207108047U (en) A kind of foamed cotton sheet material film rewinder
CN106697461B (en) Automatic adhesive tape sticking machine for long-rod plastic parts
CN209210040U (en) One kind is taped device
JP2001179861A (en) Method and apparatus for feeding tape adhered to corrugated fiberboard
CN215153229U (en) Unreeling unit for color spray printing
CN211545424U (en) Winding device of coating machine
CN119370651B (en) Linen winding device with adjustable tension
CN211544191U (en) Film feeding mechanism
CN220502149U (en) Cutting device for winding of coating machine
CN110790071B (en) Automatic pasting mechanism for dynamic balance pasting type balance block of automobile wheel
CN210940692U (en) Medical wrapping bag shaping film side cut device

Legal Events

Date Code Title Description
GR01 Patent grant
GR01 Patent grant
CF01 Termination of patent right due to non-payment of annual fee

Granted publication date: 20210716

CF01 Termination of patent right due to non-payment of annual fee