CN213687231U - Air conditioner air-out pipeline mouth of pipe protector - Google Patents
Air conditioner air-out pipeline mouth of pipe protector Download PDFInfo
- Publication number
- CN213687231U CN213687231U CN202020755411.2U CN202020755411U CN213687231U CN 213687231 U CN213687231 U CN 213687231U CN 202020755411 U CN202020755411 U CN 202020755411U CN 213687231 U CN213687231 U CN 213687231U
- Authority
- CN
- China
- Prior art keywords
- support
- air conditioner
- dead lever
- air
- rod
- Prior art date
- Legal status (The legal status is an assumption and is not a legal conclusion. Google has not performed a legal analysis and makes no representation as to the accuracy of the status listed.)
- Active
Links
- 230000001012 protector Effects 0.000 title claims abstract description 9
- 229910001220 stainless steel Inorganic materials 0.000 claims description 3
- 239000010935 stainless steel Substances 0.000 claims description 3
- 241000238631 Hexapoda Species 0.000 abstract description 6
- 239000000428 dust Substances 0.000 abstract description 6
- 238000004378 air conditioning Methods 0.000 abstract description 2
- 239000003570 air Substances 0.000 description 25
- 230000000694 effects Effects 0.000 description 2
- 239000000853 adhesive Substances 0.000 description 1
- 230000001070 adhesive effect Effects 0.000 description 1
- 230000004075 alteration Effects 0.000 description 1
- 239000012080 ambient air Substances 0.000 description 1
- 230000009286 beneficial effect Effects 0.000 description 1
- 230000005540 biological transmission Effects 0.000 description 1
- 230000001276 controlling effect Effects 0.000 description 1
- 238000001914 filtration Methods 0.000 description 1
- 238000012986 modification Methods 0.000 description 1
- 230000004048 modification Effects 0.000 description 1
- 230000001681 protective effect Effects 0.000 description 1
- 238000005057 refrigeration Methods 0.000 description 1
- 230000001105 regulatory effect Effects 0.000 description 1
- 238000006467 substitution reaction Methods 0.000 description 1
- XLYOFNOQVPJJNP-UHFFFAOYSA-N water Substances O XLYOFNOQVPJJNP-UHFFFAOYSA-N 0.000 description 1
Images
Landscapes
- Duct Arrangements (AREA)
Abstract
The utility model discloses an air conditioner air-out pipeline mouth of pipe protector, including first support, second support and dead lever, the lateral part of first support is provided with two L shape fixed strips, slidable mounting has the frame between two L shape fixed strips, install the filter screen in the frame, the both sides of first support and second support welded fastening respectively have head rod and second connecting rod, the one end of head rod and the one end of second connecting rod all with the lateral wall welded fastening of dead lever, the one end welded fastening of dead lever has splint, one side that the dead lever was kept away from to splint bonds and is fixed with the rubber pad. The utility model discloses a this protector can cover the air-out pipeline mouth of pipe in the season that central air conditioning does not use, reduces dust and insect entering to can assist fixedly to the air-out pipeline.
Description
Technical Field
The utility model belongs to the technical field of the air conditioner, concretely relates to air conditioner air-out pipeline mouth of pipe protector.
Background
Air conditioners are air conditioners. The device is used for manually regulating and controlling parameters such as temperature, humidity, flow rate and the like of ambient air in a building or a structure. Generally comprises a cold source device, a heat source device, a cold and hot medium delivery and distribution system, a terminal device and other auxiliary devices. The system mainly comprises a refrigeration host, a water pump, a fan and a pipeline system. The end device is responsible for specifically processing the air state by utilizing the cold and heat quantity from the transmission and distribution so as to enable the air parameters of the target environment to meet the requirements.
The existing air outlet pipeline of the central air conditioner is exposed indoors, and dust and insects can enter the pipeline from the pipe orifice in the open air outlet pipeline in seasons that the central air conditioner is not needed, so that the service life of the air conditioner is easily influenced.
SUMMERY OF THE UTILITY MODEL
An object of the utility model is to provide an air conditioner air-out pipeline mouth of pipe protector, through this protector, can be in the season that central air conditioning does not use, with the air-out pipeline mouth of pipe cover, reduce dust and insect entering to can assist fixedly to the air-out pipeline, with the problem of proposing in solving above-mentioned background art.
In order to achieve the above object, the utility model provides a following technical scheme:
the utility model provides an air conditioner air-out pipeline mouth of pipe protector, includes first support, second support and dead lever, the lateral part of first support is provided with two L shape fixed strips, slidable mounting has the frame between two L shape fixed strips, install the filter screen in the frame, the both sides of first support and second support welded fastening respectively have head rod and second connecting rod, the one end of head rod and the one end of second connecting rod all with the lateral wall welded fastening of dead lever, the one end welded fastening of dead lever has splint, one side that the dead lever was kept away from to splint the adhesive fastening has the rubber pad.
Preferably, the fixed rod comprises a sleeve, a movable rod and a spring, the movable rod is inserted in the sleeve in a sliding mode, two ends of the spring are fixedly welded with one end of the movable rod and the inner bottom of the sleeve respectively, one end, far away from the spring, of the movable rod is fixedly welded with one side, far away from the rubber pad, of the clamping plate, and the side wall of the sleeve is fixedly welded with one end of the first connecting rod and one end of the second connecting rod respectively.
Preferably, a sliding groove is formed in the inner wall of the sleeve, a sliding block is arranged on the side wall of the movable rod, and the sliding block is slidably mounted in the sliding groove.
Preferably, the inner wall of spout and the lateral wall of slider all set up to the smooth surface, the inner wall of spout and the lateral wall clearance sliding fit of slider, and the clearance is not more than 0.01 mm.
Preferably, a clamping groove is welded and fixed on one L-shaped fixing strip, and a clamping block is clamped in the clamping groove in a sliding manner.
Preferably, the filter screen is a stainless steel filter screen, and the mesh number of the filter screen is 325 meshes.
Compared with the prior art, the beneficial effects of the utility model are that:
1. through the use of the L-shaped fixing strips, the frame and the filter screen, the filter screen can be covered on the pipe orifice of the air outlet pipeline in seasons without using a central air conditioner, so that dust and insects can be reduced from entering the air outlet pipeline;
2. through the use of dead lever, can be when the air-out pipeline is placed on first support and second support, under the thrust effect through the spring, make the movable rod promote splint and carry out the centre gripping to the air-out pipeline, can improve the stability of air-out pipeline on first support and second support.
Drawings
Fig. 1 is a schematic structural view of the present invention;
fig. 2 is a schematic top view of the first bracket of the present invention;
FIG. 3 is a schematic cross-sectional view of the sleeve of the present invention;
fig. 4 is a schematic top sectional view of the casing of the present invention;
fig. 5 is a schematic side view of the L-shaped fixing strip of the present invention.
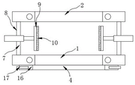
In the figure: 1. a first bracket; 2. a second bracket; 3. fixing the rod; 4. an L-shaped fixing strip; 5. a frame; 6. filtering with a screen; 7. a first connecting rod; 8. a second connecting rod; 9. a splint; 10. a rubber pad; 11. a sleeve; 12. a movable rod; 13. a spring; 14. a chute; 15. a slider; 16. a card slot; 17. and (7) clamping blocks.
Detailed Description
The technical solutions in the embodiments of the present invention will be described clearly and completely with reference to the accompanying drawings in the embodiments of the present invention, and it is obvious that the described embodiments are only some embodiments of the present invention, not all embodiments. Based on the embodiments in the present invention, all other embodiments obtained by a person skilled in the art without creative work belong to the protection scope of the present invention.
Referring to fig. 1-5, the present invention provides a technical solution:
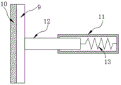
a protective device for an air conditioner air outlet pipeline orifice comprises a first support 1, a second support 2 and a fixed rod 3, wherein the first support 1 and the second support 2 are both n-shaped supports, the first support 1 and the second support 2 are installed on a roof through bolts, two L-shaped fixing strips 4 are arranged on the side portion of the first support 1, a frame 5 is installed between the two L-shaped fixing strips 4 in a sliding mode, a clamping groove 16 is fixedly welded on one L-shaped fixing strip 4, a clamping block 17 is slidably clamped in the clamping groove 16, the clamping groove 16 and the clamping block 17 are used for limiting the frame 5 between the two L-shaped fixing strips 4, a filter screen 6 is installed in the frame 5, the filter screen 6 covers the orifice of an air outlet pipeline and is attached to the orifice, the filter screen 6 is made of stainless steel, the mesh number of the filter screen 6 is set to be 325 meshes, dust and insects can be reduced from entering the pipeline from the orifice, a first connecting rod 7 and a second connecting rod 8 are respectively fixedly welded on the two sides of the first support, the one end of head rod 7 and the one end of second connecting rod 8 all with the lateral wall welded fastening of dead lever 3, the one end welded fastening of dead lever 3 has splint 9, and one side that dead lever 3 was kept away from to splint 9 bonds and is fixed with rubber pad 10, when splint 9 carries out the centre gripping fixed to the air-out pipeline, rubber pad 10 and air-out pipeline flexonics.
The fixed rod 3 comprises a sleeve 11, a movable rod 12 and a spring 13, the movable rod 12 is inserted in the sleeve 11 in a sliding manner, two ends of the spring 13 are respectively welded and fixed with one end of the movable rod 12 and the inner bottom of the sleeve 11, one end of the movable rod 12, far away from the spring 13, is welded and fixed with one side of the clamping plate 9, far away from the rubber pad 10, the side wall of the sleeve 11 is respectively welded and fixed with one end of the first connecting rod 7 and one end of the second connecting rod 8, through the use of the fixed rod 3, air outlet pipelines arranged on the first bracket 1 and the second bracket 2 can be clamped and fixed, the stability after the air outlet pipelines are installed can be improved, a sliding groove 14 is formed in the inner wall of the sleeve 11, a sliding block 15 is arranged on the side wall of the movable rod 12, the sliding block 15 is arranged in the sliding groove 14 in a sliding manner, the inner wall of the sliding groove, and the clearance is not more than 0.01mm, so that the movable rod 12 can slide in a straight line in the sleeve 11.
The structure principle is as follows: through the use of the L-shaped fixing strip 4, the frame 5 and the filter screen 6, the filter screen 6 can be covered on the pipe orifice of the air outlet pipeline in seasons that the central air conditioner is not needed, and dust and insects can be reduced from entering the air outlet pipeline; through the use of dead lever 3, can be when the air-out pipeline is placed on first support 1 and second support 2, under the thrust effect through spring 13, make movable rod 12 promote splint 9 and carry out the centre gripping to the air-out pipeline, can improve the stability of air-out pipeline on first support 1 and second support 2.
Although embodiments of the present invention have been shown and described, it will be appreciated by those skilled in the art that changes, modifications, substitutions and alterations can be made in these embodiments without departing from the principles and spirit of the invention, the scope of which is defined in the appended claims and their equivalents.
Claims (6)
1. The utility model provides an air conditioner air-out pipeline mouth of pipe protector, includes first support (1), second support (2) and dead lever (3), its characterized in that: the lateral part of first support (1) is provided with two L shape fixed strips (4), slidable mounting has frame (5) between two L shape fixed strips (4), install filter screen (6) in frame (5), the both sides of first support (1) and second support (2) welded fastening respectively have head rod (7) and second connecting rod (8), the one end of head rod (7) and the one end of second connecting rod (8) all with the lateral wall welded fastening of dead lever (3), the one end welded fastening of dead lever (3) has splint (9), one side welded fastening that dead lever (3) were kept away from in splint (9) has rubber pad (10).
2. The air conditioner air outlet pipeline opening protecting device of claim 1, characterized in that: the fixed rod (3) comprises a sleeve (11), a movable rod (12) and a spring (13), the movable rod (12) is inserted into the sleeve (11) in a sliding mode, two ends of the spring (13) are fixedly welded with one end of the movable rod (12) and the inner bottom of the sleeve (11) respectively, one end, far away from the spring (13), of the movable rod (12) is fixedly welded with one side, far away from the rubber pad (10), of the clamping plate (9), and the side wall of the sleeve (11) is fixedly welded with one end of the first connecting rod (7) and one end of the second connecting rod (8) respectively.
3. The air conditioner air-out pipe orifice protecting device according to claim 2, characterized in that: the inner wall of the sleeve (11) is provided with a sliding groove (14), the side wall of the movable rod (12) is provided with a sliding block (15), and the sliding block (15) is slidably mounted in the sliding groove (14).
4. The air conditioner air outlet pipeline opening protecting device of claim 3, characterized in that: the inner wall of spout (14) and the lateral wall of slider (15) all set up to the smooth surface, the inner wall of spout (14) and the lateral wall clearance sliding fit of slider (15), and the clearance is not more than 0.01 mm.
5. The air conditioner air outlet pipeline opening protecting device of claim 1, characterized in that: one L-shaped fixing strip (4) is welded and fixed with a clamping groove (16), and a clamping block (17) is clamped in the clamping groove (16) in a sliding mode.
6. The air conditioner air outlet pipeline opening protecting device of claim 1, characterized in that: the filter screen (6) is set to be a stainless steel filter screen, and the mesh number of the filter screen (6) is set to be 325 meshes.
Priority Applications (1)
| Application Number | Priority Date | Filing Date | Title |
|---|---|---|---|
| CN202020755411.2U CN213687231U (en) | 2020-05-09 | 2020-05-09 | Air conditioner air-out pipeline mouth of pipe protector |
Applications Claiming Priority (1)
| Application Number | Priority Date | Filing Date | Title |
|---|---|---|---|
| CN202020755411.2U CN213687231U (en) | 2020-05-09 | 2020-05-09 | Air conditioner air-out pipeline mouth of pipe protector |
Publications (1)
| Publication Number | Publication Date |
|---|---|
| CN213687231U true CN213687231U (en) | 2021-07-13 |
Family
ID=76723860
Family Applications (1)
| Application Number | Title | Priority Date | Filing Date |
|---|---|---|---|
| CN202020755411.2U Active CN213687231U (en) | 2020-05-09 | 2020-05-09 | Air conditioner air-out pipeline mouth of pipe protector |
Country Status (1)
| Country | Link |
|---|---|
| CN (1) | CN213687231U (en) |
-
2020
- 2020-05-09 CN CN202020755411.2U patent/CN213687231U/en active Active
Similar Documents
| Publication | Publication Date | Title |
|---|---|---|
| CN213687231U (en) | Air conditioner air-out pipeline mouth of pipe protector | |
| CN209926557U (en) | An exhaust device for a central air-conditioning system | |
| CN211977064U (en) | Outer quick-witted mount of air conditioner for building outer wall | |
| CN211290315U (en) | Heating ventilation air conditioner fixing device | |
| CN219433389U (en) | Waterproof electric control box structure of air conditioner outdoor unit | |
| CN216790368U (en) | Novel inside anti-cold bridge insulation construction of machine in air conditioning | |
| CN214120229U (en) | Humidification mechanism of machine in air conditioning | |
| CN211982433U (en) | A high temperature rectification device for a single warehouse cabinet | |
| CN213577814U (en) | An outdoor air-conditioning box rainproof structure | |
| CN213574756U (en) | Integrated stainless steel through-wall new fan | |
| CN202501684U (en) | Integrated automatic defrosting and antifreezing operation device for new exhaust heat exchange unit in winter | |
| CN208779674U (en) | Air-conditioning built-in air filter plate and its engaging structure that are easy to remove and wash | |
| CN216409150U (en) | Waterproof structure at shelf of air conditioner of energy-saving building | |
| CN221881648U (en) | Air conditioner fan of dustproof construction admits air | |
| CN216281775U (en) | Air conditioner external unit mounting frame with low-temperature frosting prevention function | |
| CN222718286U (en) | Energy-saving constant temperature air conditioning equipment | |
| CN221324670U (en) | Air supply structure of heating ventilation air conditioner | |
| CN211119724U (en) | An energy-saving air conditioner outer casing structure | |
| CN211503174U (en) | Laminar flow air supply ceiling | |
| CN204630053U (en) | Integral air-source water heater | |
| CN223036582U (en) | A heating, ventilation and air conditioning duct that is easy to install | |
| CN221196506U (en) | Self-locking quick connector | |
| CN215724034U (en) | Heat recovery device of heating ventilation air conditioning system | |
| CN214146706U (en) | Water seal for leak-proof air conditioner | |
| CN221780922U (en) | An anti-fracture air conditioner bracket isolation plate |
Legal Events
| Date | Code | Title | Description |
|---|---|---|---|
| GR01 | Patent grant | ||
| GR01 | Patent grant |