CN213673692U - Precision parts machining anchor clamps - Google Patents

Precision parts machining anchor clamps Download PDF

Info

Publication number
CN213673692U
CN213673692U CN202022036015.7U CN202022036015U CN213673692U CN 213673692 U CN213673692 U CN 213673692U CN 202022036015 U CN202022036015 U CN 202022036015U CN 213673692 U CN213673692 U CN 213673692U
Authority
CN
China
Prior art keywords
fixedly connected
base
precision parts
parts machining
clamping
Prior art date
Legal status (The legal status is an assumption and is not a legal conclusion. Google has not performed a legal analysis and makes no representation as to the accuracy of the status listed.)
Expired - Fee Related
Application number
CN202022036015.7U
Other languages
Chinese (zh)
Inventor
缪裕亮
吴旭东
Current Assignee (The listed assignees may be inaccurate. Google has not performed a legal analysis and makes no representation or warranty as to the accuracy of the list.)
Suzhou Songgeli Precision Technology Co ltd
Original Assignee
Suzhou Songgeli Precision Technology Co ltd
Priority date (The priority date is an assumption and is not a legal conclusion. Google has not performed a legal analysis and makes no representation as to the accuracy of the date listed.)
Filing date
Publication date
Application filed by Suzhou Songgeli Precision Technology Co ltd filed Critical Suzhou Songgeli Precision Technology Co ltd
Priority to CN202022036015.7U priority Critical patent/CN213673692U/en
Application granted granted Critical
Publication of CN213673692U publication Critical patent/CN213673692U/en
Expired - Fee Related legal-status Critical Current
Anticipated expiration legal-status Critical

Links

Images

Landscapes

  • Jigs For Machine Tools (AREA)

Abstract

本实用新型公开了一种精密零件加工夹具,包括基座,所述基座顶壁两侧中间位置对称固定连接有第一安装板,所述第一安装板上方两侧壁之间呈前后对称开设有螺纹槽,所述螺纹槽内螺纹连接有第一螺纹杆,所述基座中心位置上下两侧壁之间呈对称开设有限位槽,所述限位槽内滑动连接有第二螺纹杆。本实用新型,设置有稳定可靠的防滑夹持机构,实际进行精密零件加工夹持工作时,其夹持稳定性与夹持可靠性良好,实际应用价值高,此外设置有可调节式升降放置台机构,实际进行精密零件加工夹持工作时,其工作便利性良好,且具备辅助限位夹持功能。

Figure 202022036015

The utility model discloses a precision parts processing fixture, which comprises a base, a first mounting plate is symmetrically and fixedly connected at the middle positions on both sides of the top wall of the base, and the two side walls above the first mounting plate are symmetrical in front and back. A threaded groove is opened, a first threaded rod is threadedly connected in the threaded groove, a limiting groove is symmetrically formed between the upper and lower side walls of the base at the center position, and a second threaded rod is slidably connected in the limiting groove . The utility model is provided with a stable and reliable anti-skid clamping mechanism. When the precision parts processing and clamping work is actually performed, the clamping stability and clamping reliability are good, and the practical application value is high. In addition, an adjustable lifting and placing platform is provided. It is convenient to work and has the function of auxiliary limit clamping when actually processing and clamping precision parts.

Figure 202022036015

Description

Precision parts machining anchor clamps
Technical Field
The utility model relates to an accurate parts machining technical field especially relates to an accurate parts machining anchor clamps.
Background
The precision part is a fitting widely applied to industries such as automobiles, communication, medical treatment, clocks, mobile phones, computers and the like, and is more precise and more suitable for industries with high requirements on precision compared with common parts.
At present, precision parts adds man-hour and need use anchor clamps, and current precision parts adds anchor clamps and lies in when in-service use, lacks reliable and stable anti-skidding fixture, actually carries out precision parts processing clamping operation, and its clamping stability is general with the centre gripping reliability, and the practical application value is not high, lacks the adjustable in addition and goes up and down to place a platform mechanism, actually carries out precision parts processing clamping operation, and its work convenience is general, and lacks supplementary spacing clamping function.
SUMMERY OF THE UTILITY MODEL
The utility model aims at solving the defects existing in the prior art and providing a precision part machining clamp.
In order to achieve the above purpose, the utility model adopts the following technical scheme: a precision part machining clamp comprises a base, wherein first mounting plates are symmetrically and fixedly connected to the middle positions of two sides of the top wall of the base, thread grooves are symmetrically formed in the front and back direction between the two side walls above the first mounting plates, and first threaded rods are connected to the thread grooves in an internal thread mode;
limiting grooves are symmetrically formed between the upper side wall and the lower side wall of the central position of the base, second threaded rods are connected in the limiting grooves in a sliding mode, the top walls of the two second threaded rods are fixedly connected with the same second mounting plate, and a rubber pad is fixedly connected to the central position of the top wall of the second mounting plate;
the first threaded rod is close to the movable end of the fixed connection rotating shaft at the center of the side wall of one side of the limiting groove, and is close to the fixed end of one side of the limiting groove and is fixedly connected with the same clamping plate.
As a further description of the above technical solution:
two the splint keep away from between the lateral wall intermediate position and the lateral wall that corresponds one side first mounting panel of one side rather than corresponding one side and be the front and back symmetry fixedly connected with telescopic link.
As a further description of the above technical solution:
the first threaded rod is far away from a holding rod fixedly connected with the side wall of one side of the base, mounting seats are fixedly connected with four corners of the bottom wall of the base, and mounting holes are formed in the center of the bottom wall of the mounting seats.
As a further description of the above technical solution:
two first mounting panel is from a lateral wall and is symmetry fixedly connected with reinforcing block around, reinforcing block diapire fixedly connected with base roof.
As a further description of the above technical solution:
two splint lateral wall in opposite directions is from going to back equidistance fixedly connected with a plurality of anti-skidding rubber pieces.
As a further description of the above technical solution:
the upper side wall and the lower side wall of the base are located at the position of an opening of the limiting groove and are connected with nuts in a sliding mode, and the two nuts on one side are connected with second threaded rods on the corresponding side through internal threads.
The utility model discloses following beneficial effect has:
1. compared with the prior art, the precision parts machining clamp is provided with the stable and reliable anti-skidding clamping mechanism, and when the precision parts machining clamping work is actually carried out, the clamping stability and the clamping reliability are good, and the practical application value is high.
2. Compared with the prior art, precision parts machining anchor clamps are provided with adjustable and go up and down to place a platform mechanism, actually carry out precision parts machining centre gripping during operation, and its work convenience is good, and possesses supplementary spacing clamping function.
Drawings
Fig. 1 is a top view of a precision part machining fixture according to the present invention;
fig. 2 is a schematic structural view of a front view clamping mechanism of the precision part machining clamp according to the present invention;
fig. 3 is a side view of the first mounting plate of the precision part machining fixture provided by the utility model.
Illustration of the drawings:
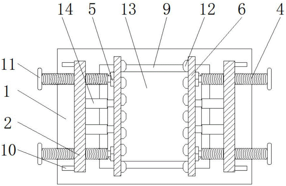
1. a base; 2. a first mounting plate; 3. a thread groove; 4. a first threaded rod; 5. a rotating shaft; 6. a splint; 7. a limiting groove; 8. a second threaded rod; 9. a second mounting plate; 10. a reinforcing block; 11. a holding rod; 12. an anti-slip rubber block; 13. a rubber pad; 14. a telescopic rod; 15. a nut; 16. and (7) mounting a seat.
Detailed Description
The technical solutions in the embodiments of the present invention will be described clearly and completely with reference to the accompanying drawings in the embodiments of the present invention, and it is obvious that the described embodiments are only some embodiments of the present invention, not all embodiments. Based on the embodiments in the present invention, all other embodiments obtained by a person skilled in the art without creative work belong to the protection scope of the present invention.
In the description of the present invention, it should be noted that the terms "center", "upper", "lower", "left", "right", "vertical", "horizontal", "inner", "outer", and the like indicate orientations or positional relationships based on the orientations or positional relationships shown in the drawings, and are only for convenience of description and simplification of description, but do not indicate or imply that the device or element referred to must have a specific orientation, be constructed and operated in a specific orientation, and thus, should not be construed as limiting the present invention; the terms "first," "second," and "third" are used for descriptive purposes only and are not to be construed as indicating or implying relative importance, and furthermore, unless otherwise explicitly stated or limited, the terms "mounted," "connected," and "connected" are to be construed broadly and may be, for example, fixedly connected, detachably connected, or integrally connected; can be mechanically or electrically connected; they may be connected directly or indirectly through intervening media, or they may be interconnected between two elements. The specific meaning of the above terms in the present invention can be understood in specific cases to those skilled in the art.
Referring to fig. 1-3, the present invention provides an embodiment: a precision part machining clamp comprises a base 1, wherein first mounting plates 2 are symmetrically and fixedly connected to the middle positions of two sides of the top wall of the base 1, thread grooves 3 are symmetrically formed in the front and back directions between two side walls above the first mounting plates 2, first threaded rods 4 are connected with the thread grooves 3 in an internal thread mode in the thread grooves 3, the first threaded rods 4 can rotate and move in the thread grooves 3 on the corresponding sides, limiting grooves 7 are symmetrically formed between the upper side wall and the lower side wall of the central position of the base 1, second threaded rods 8 are connected in the limiting grooves 7 in a sliding mode, the top walls of the two second threaded rods 8 are fixedly connected with a same second mounting plate 9, rubber pads 13 are fixedly connected to the central position of the top wall of the second mounting plate 9, precision parts to be machined and clamped can be placed on the rubber pads 13 on the second mounting plate 9, the first, with two pivot 5 on one side being close to same splint 6 of 7 one side stiff end fixedly connected with, with two first threaded rod 4 syntropy rotations at the same speed on one side, can realize two splint 6 move in opposite directions or leave the motion mutually.
The two clamping plates 6 are fixedly connected with telescopic rods 14 symmetrically in the front-back direction between the middle position of the side wall of one side and the side wall of one side corresponding to the first mounting plate 2, which are far away from the middle position of the side wall of one side, the first threaded rod 4 is fixedly connected with a holding rod 11, which is far away from the side wall of one side of the base 1, the four corners of the bottom wall of the base 1 are fixedly connected with mounting seats 16, the central position of the bottom wall of the mounting seat 16 is provided with a mounting hole, which can be matched with a fixing component to carry out the fixed mounting work of the device body, the two first mounting plates 2 are fixedly connected with reinforcing blocks 10 symmetrically in the front-back direction, the bottom wall of the reinforcing block 10 is fixedly connected with the top wall of the base 1, which plays a role in the strengthening of the clamping mechanism, the side wall of one side opposite to the two clamping plates 6 is fixedly connected with a plurality of, the clamping stability and the clamping reliability are good, the upper side wall and the lower side wall of the base 1 are located at the opening of the limiting groove 7 and are connected with nuts 15 in a sliding mode, the two nuts 15 on one side are connected with the second threaded rod 8 on the corresponding side in an internal thread mode, and the limiting effect on the second threaded rod 8 is achieved.
The working principle is as follows: when in use, the mounting holes of the mounting seats 16 at the four corners of the bottom wall of the device body base 1 are matched with the fixing component to carry out the fixed mounting work of the device body, at the moment, two nuts 15 at the same side can be screwed away from each other, the limit of two second threaded rods 8 is relieved, the two second threaded rods 8 can be held to lift in the limit grooves 7 at the corresponding side, the lifting adjustment work of the second mounting plate 9 is realized, after the adjustment is finished, the two nuts 15 at the same side can be screwed in opposite directions, the limit of the two second threaded rods 8 is completed, at the moment, the precise parts to be processed and clamped can be placed at the proper positions of the rubber pads 13 on the second mounting plate 9, the holding rods 11 at the two sides are held to rotate, the first threaded rods 4 in the threaded grooves 3 at the two sides are driven to rotate, and the movable end of the rotating shaft 5 at the corresponding side, fixedly mounted by the clamping plate 6 at, can realize two splint 6 or the motion of leaving mutually in opposite directions, but two splint 6 motion in opposite directions realize its relative side wall antiskid rubber piece 12 and treat the centre gripping limiting displacement of the precision part of processing centre gripping, its centre gripping stability is good with the centre gripping reliability, and the precision part of treating the processing centre gripping places on rubber pad 13, and rubber pad 13 plays the precision part supporting role of treating the processing centre gripping, possesses supplementary spacing centre gripping effect, can carry out the processing work in the precision part of device body upper portion to processing centre gripping this moment.
Finally, it should be noted that: although the present invention has been described in detail with reference to the foregoing embodiments, it will be apparent to those skilled in the art that modifications and variations can be made in the embodiments or in part of the technical features of the embodiments without departing from the spirit and the scope of the invention.

Claims (6)

1. The utility model provides a precision parts machining anchor clamps, includes base (1), its characterized in that: the middle positions of two sides of the top wall of the base (1) are symmetrically and fixedly connected with first mounting plates (2), thread grooves (3) are symmetrically formed in the front and back direction between the two side walls above the first mounting plates (2), and first threaded rods (4) are connected with the thread grooves (3) in an internal thread mode;
limiting grooves (7) are symmetrically formed between the upper side wall and the lower side wall of the central position of the base (1), second threaded rods (8) are connected in the limiting grooves (7) in a sliding mode, the top walls of the two second threaded rods (8) are fixedly connected with the same second mounting plate (9), and a rubber pad (13) is fixedly connected to the central position of the top wall of the second mounting plate (9);
first threaded rod (4) are close to spacing groove (7) one side lateral wall central point and put the expansion end of fixedly connected with pivot (5), two together in one side pivot (5) are close to same splint (6) of spacing groove (7) one side fixed end fixedly connected with.
2. A precision parts machining jig according to claim 1, characterized in that: two splint (6) leave one side lateral wall intermediate position rather than correspond one side first mounting panel (2) and correspond between the lateral wall that is symmetry fixedly connected with telescopic link (14) around.
3. A precision parts machining jig according to claim 1, characterized in that: base (1) one side lateral wall fixedly connected with holding rod (11) are kept away from in first threaded rod (4), four corners fixedly connected with mount pad (16) of base (1) diapire, mount pad (16) diapire central point puts and has seted up the mounting hole.
4. A precision parts machining jig according to claim 1, characterized in that: two first mounting panel (2) are symmetrical fixedly connected with reinforcing block (10) around being apart from one side lateral wall mutually, reinforcing block (10) diapire fixedly connected with base (1) roof.
5. A precision parts machining jig according to claim 1, characterized in that: two splint (6) one side lateral wall in opposite directions is from going to back equidistance fixedly connected with a plurality of anti-skidding rubber blocks (12).
6. A precision parts machining jig according to claim 1, characterized in that: the upper side wall and the lower side wall of the base (1) are located at the opening of the limiting groove (7) and are connected with nuts (15) in a sliding mode, and the two nuts (15) on one side are connected with second threaded rods (8) on one corresponding side in an internal thread mode.
CN202022036015.7U 2020-09-17 2020-09-17 Precision parts machining anchor clamps Expired - Fee Related CN213673692U (en)

Priority Applications (1)

Application Number Priority Date Filing Date Title
CN202022036015.7U CN213673692U (en) 2020-09-17 2020-09-17 Precision parts machining anchor clamps

Applications Claiming Priority (1)

Application Number Priority Date Filing Date Title
CN202022036015.7U CN213673692U (en) 2020-09-17 2020-09-17 Precision parts machining anchor clamps

Publications (1)

Publication Number Publication Date
CN213673692U true CN213673692U (en) 2021-07-13

Family

ID=76747957

Family Applications (1)

Application Number Title Priority Date Filing Date
CN202022036015.7U Expired - Fee Related CN213673692U (en) 2020-09-17 2020-09-17 Precision parts machining anchor clamps

Country Status (1)

Country Link
CN (1) CN213673692U (en)

Cited By (1)

* Cited by examiner, † Cited by third party
Publication number Priority date Publication date Assignee Title
CN116810691A (en) * 2023-07-19 2023-09-29 苏州市联佳精密机械有限公司 A complete set of rapid switching devices for precision products

Cited By (1)

* Cited by examiner, † Cited by third party
Publication number Priority date Publication date Assignee Title
CN116810691A (en) * 2023-07-19 2023-09-29 苏州市联佳精密机械有限公司 A complete set of rapid switching devices for precision products

Similar Documents

Publication Publication Date Title
CN212600477U (en) Irregular workpiece clamp for numerical control machine tool
CN217667993U (en) Adjustable clamp for machining
CN111496455A (en) Support welding clamp for automobile seat
CN213673692U (en) Precision parts machining anchor clamps
CN212044298U (en) Clamping equipment for machining guide pillar of forging and pressing machine
CN211967416U (en) Steel structural member fixed mounting seat
CN213080741U (en) Clamp tool for machining seamless steel tube
CN211220591U (en) Overturning clamp for processing mobile phone chip
CN210281912U (en) A honing machine fixture for hydraulic cylinder processing
CN217194931U (en) Adjustable clamp for mechanical production
CN221495775U (en) Clamp for machining aero-engine blades
CN214322544U (en) Special clamp for automobile rear longitudinal beam
CN112077764A (en) Telescopic multifunctional clamp
CN219324931U (en) Welding fixture for dryer support assembly
CN216421812U (en) Rapid clamp
CN206153708U (en) High pressure jet blade abnormal shape micropore spark -erosion machining's clamping device
CN206519873U (en) One kind is used for electric mach adjustable clamping device
CN212918501U (en) Special fixture for thin-wall parts
CN210255274U (en) Fixture for precision machining
CN212191783U (en) Laser cutting clamp for manufacturing high-end device
CN212978058U (en) Product positioning fixture for machining
CN215147050U (en) Clamp structure for numerically controlled lathe
CN220993573U (en) Multi-angle adjusting clamp and processing equipment
CN222095410U (en) Clamping fixture for dual-channel high-speed gantry six-axis machining center
CN218363454U (en) Mechanical clamp

Legal Events

Date Code Title Description
GR01 Patent grant
GR01 Patent grant
CF01 Termination of patent right due to non-payment of annual fee

Granted publication date: 20210713

CF01 Termination of patent right due to non-payment of annual fee