CN213673549U - 一种实现自适应研磨平面的装置 - Google Patents
一种实现自适应研磨平面的装置 Download PDFInfo
- Publication number
- CN213673549U CN213673549U CN202022691660.2U CN202022691660U CN213673549U CN 213673549 U CN213673549 U CN 213673549U CN 202022691660 U CN202022691660 U CN 202022691660U CN 213673549 U CN213673549 U CN 213673549U
- Authority
- CN
- China
- Prior art keywords
- guide
- grinding
- disc
- arc surfaces
- fixed
- Prior art date
- Legal status (The legal status is an assumption and is not a legal conclusion. Google has not performed a legal analysis and makes no representation as to the accuracy of the status listed.)
- Active
Links
- 238000000227 grinding Methods 0.000 title claims abstract description 101
- 229910001060 Gray iron Inorganic materials 0.000 claims description 6
- 230000003044 adaptive effect Effects 0.000 claims 3
- 230000006835 compression Effects 0.000 description 5
- 238000007906 compression Methods 0.000 description 5
- 230000000694 effects Effects 0.000 description 5
- 238000009434 installation Methods 0.000 description 5
- 238000000034 method Methods 0.000 description 5
- 238000010586 diagram Methods 0.000 description 2
- 238000005299 abrasion Methods 0.000 description 1
- 238000010030 laminating Methods 0.000 description 1
- 238000003754 machining Methods 0.000 description 1
- 238000003801 milling Methods 0.000 description 1
- 238000005498 polishing Methods 0.000 description 1
- 238000004088 simulation Methods 0.000 description 1
Images
Landscapes
- Finish Polishing, Edge Sharpening, And Grinding By Specific Grinding Devices (AREA)
- Polishing Bodies And Polishing Tools (AREA)
Abstract
一种实现自适应研磨平面的装置,包括上盘、研磨盘,所述上盘经机床刀柄与机床主轴连接,上盘上固定有3个呈圆周均布的导向块,导向块上开有导向槽,所述研磨盘上固定有3个呈圆周均布的导向立柱,导向立柱上设有卡装在导向槽内的导向键,所述上盘与研磨盘通过导向块上的导向槽与导向立柱上的导向键配合连接,所述研磨盘下端设有被研磨平板,被研磨平板固定在机床工作台上端,所述上盘与研磨盘之间设有压簧,压簧经一端固定在上盘上的压簧导向杆限位固定在上盘与研磨盘之间。该装置结构简单,通过机床刀柄与机床主轴连接,利用机床主轴的旋转运动带动研磨盘的旋转,实现对被研磨平板的研磨,提高了研磨效率,降低了人工成本。
Description
技术领域
本实用新型涉及一种实现自适应研磨平面的装置,具体涉及一种在立式数控铣床上实现自适应研磨平面的装置。
背景技术
平板研磨为机械加工领域的一道工序,通常采取人工将被研磨平板在平板上推研的方式或采用专用研磨机床研磨。人工研磨费时、费力,对于稍大一点的平板即需要多人合作推研,效率低下;而专用研磨机床采购费高,对于单件、小批量生产的企业性价比不高。
实用新型内容
本实用新型其目的就在于提供一种实现自适应研磨平面的装置,以解决上述背景技术中的问题,通过机床刀柄与机床主轴连接,利用机床主轴的旋转运动带动研磨盘旋转,实现对被研磨平板的研磨,提高了研磨效率,降低了人工成本。
为实现上述目的而采取的技术方案是,一种实现自适应研磨平面的装置,包括上盘、研磨盘,所述上盘经机床刀柄与机床主轴连接,上盘上固定有3个呈圆周均布的导向块,导向块上开有导向槽,所述研磨盘上固定有3个呈圆周均布的导向立柱,导向立柱上设有卡装在导向槽内的导向键,所述上盘与研磨盘通过导向块上的导向槽与导向立柱上的导向键配合连接,所述研磨盘下端设有被研磨平板,被研磨平板固定在机床工作台上端,所述上盘与研磨盘之间设有压簧,压簧经一端固定在上盘上的压簧导向杆限位固定在上盘与研磨盘之间。
进一步,所述导向键的长度小于导向块上导向槽的长度,导向键在导向槽内上下移动,使得研磨盘可以相对上盘沿轴向有一个移动的空间。
进一步,所述的3个导向块朝向机床主轴轴心的面均为内圆弧面,且3个内圆弧面均在同一圆柱面上,导向槽布置在内圆弧面上。
进一步,所述研磨盘上固定的3个导向立柱的外侧面均为与内圆弧面相对应的外圆弧面,3个外圆弧面均在同一圆柱面上,导向键布置在外圆弧面上,内圆弧面直径略大于外圆弧面的直径,内圆弧面与外圆弧面配合实现研磨板与上盘的柔性连接,使得研磨盘可以相对上盘有一个沿任意水平方向转动的空间。
进一步,所述研磨盘采用灰铸铁制成,研磨盘的下端面上开有纵横交错的沟槽,灰铸铁内部的气孔和沟槽可以容纳研磨膏,避免磨伤被研磨平板。
有益效果
与现有技术相比本实用新型具有以下优点。
1.该装置相比人工推研,节省了人工成本,提高了研磨效率,采用压簧将研磨压力作用在研磨盘上的方式模仿了人工研磨,实现了柔性自适应研磨,且安装时被研磨平板与水平面有一个较小的夹角时研磨盘在旋转研磨的过程中会在压簧的作用下始终与被研磨平板贴合,达到自适应研磨的效果,降低了被研磨平板安装要求,提高了研磨效率;
2.该装置与专用的研磨机床相比,避免了较大数额的专用机床购置费,研磨装置配合数控铣床即可实现平面研磨加工,通用性强。
附图说明
以下结合附图对本实用新型作进一步详述。
图1是本实用新型的主体结构示意图;
图2是本实用新型中导向立柱的安装结构示意图;
图3是本实用新型中导向块的安装结构示意图;
图4是本实用新型中导向块的结构示意图;
图5是本实用新型中研磨盘的仰视结构示意图;
图6是本实用新型的实施例示意图。
具体实施方式
下面结合实施例及附图对本实用新型作进一步描述。
一种实现自适应研磨平面的装置,包括上盘2、研磨盘4,如图1-图6所示,所述上盘2经机床刀柄1与机床主轴8连接,上盘2上固定有3个呈圆周均布的导向块3,导向块3上开有导向槽31,所述研磨盘4上固定有3个呈圆周均布的导向立柱7,导向立柱7上设有卡装在导向槽31内的导向键71,所述上盘2与研磨盘4通过导向块3上的导向槽31与导向立柱7上的导向键71配合连接,所述研磨盘4下端设有被研磨平板9,被研磨平板9固定在机床工作台10上端,所述上盘2与研磨盘4之间设有压簧6,压簧6经一端固定在上盘2上的压簧导向杆5限位固定在上盘2与研磨盘4之间。
所述导向键71的长度小于导向块3上导向槽31的长度,导向键71在导向槽31内上下移动,使得研磨盘4可以相对上盘2沿轴向有一个移动的空间。
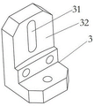
所述的3个导向块3朝向机床主轴8轴心的面均为内圆弧面32,且3个内圆弧面32均在同一圆柱面上,导向槽31布置在内圆弧面32上。
所述研磨盘4上固定的3个导向立柱7的外侧面均为与内圆弧面32相对应的外圆弧面72,3个外圆弧面72均在同一圆柱面上,导向键71布置在外圆弧面72上,内圆弧面32直径略大于外圆弧面72的直径,内圆弧面32与外圆弧面72配合实现研磨板4与上盘2的柔性连接,使得研磨盘4可以相对上盘2有一个沿任意水平方向转动的空间。
所述研磨盘4采用灰铸铁制成,研磨盘4的下端面上开有纵横交错的沟槽41,灰铸铁内部的气孔和沟槽41可以容纳研磨膏,避免磨伤被研磨平板9。
本实用新型中,所述的上盘2、研磨盘4、导向块3、导向立柱7以及压簧6和压簧导向杆5构成一个研磨装置,该研磨装置通过机床刀柄1安装于立式的机床主轴8上,被研磨平板9固定于机床工作台10上,研磨盘4通过压簧6的压力压在被研磨平板9上,机床主轴8的旋转带动研磨装置的旋转,使得研磨盘4在被研磨平板9上做旋转研磨运动。
所述的研磨装置中,所述上盘2固定于机床刀柄1上,3个沿圆周均布的导向块3固定于上盘2上,导向块3上开有导向槽31,3个沿圆周均布的导向立柱7固定于研磨盘4上,上盘2的旋转运动通过导向块3作用于导向键71进而将旋转运动传递给研磨盘4;导向键71的长度小于导向块3上导向槽31的长度,使得研磨盘4可以相对上盘2沿轴向有一个沿轴向移动的空间。
固定于上盘2的3个导向块3朝向轴心的面均为内圆弧面32,且3个内圆弧面32均在同一个圆柱面上,而研磨盘4上固定导向立柱7的外侧面是一个外圆弧面72,内圆弧面32的直径略大于外圆弧面72,内圆弧面32与外圆弧面72相互配合达到柔性连接的作用,使得研磨盘4可以相对上盘2有一个沿任意水平方向转动的空间,以达到研磨盘4自适应与被研磨平板9贴合的效果。
上盘2和研磨盘4之间设计有压簧6和压簧导向杆5,压簧导向杆5的上端与上盘2固定连接,使得研磨盘4模拟人工研磨过程柔性地压在被研磨平板9上,在被研磨平板9安装与水平面有一个较小夹角时,研磨盘4依然可与被研磨平板9贴合,而不会局部接触损伤被研磨平板9,达到自适应研磨的效果。
本实用新型在具体实施时,所述机床刀柄1固定于机床主轴8上,被研磨平板9固定于机床工作台10上;所述的上盘2固定于机床刀柄1上,3个导向块3沿圆周均布固定于上盘2上,固定于上盘2的3个导向块3朝向旋转轴的面均为内圆弧面32,且3个内圆弧面32在一个圆柱面上,如图3所示,虚线为导向块3上内圆弧面32构形成的圆柱面,而研磨盘4上固定3个均布导向立柱7的外侧面均是一个外圆弧面72,导向块3上内圆弧面32形成的圆柱面的直径略大于研磨盘4上的与之相配的圆柱面的直径,使得研磨盘4相对上盘2可以有一个沿任意水平线做小角度转动的空间,在被研磨平板9安装与水平面有一个较小的夹角时,研磨盘4沿旋转研磨过程中仍能自适应与被研磨平板8贴合;3个均布的导向块3上的导向槽31与3个均布的导向立柱7上的导向键71配合传递旋转研磨运动。
而固定于研磨盘4圆周的3个导向立柱7上的导向键71长度小于固定于上盘2的导向块3上导向槽31的长度,使得研磨盘4可以相对上盘2有一个轴向移动的空间;研磨盘4与上盘2之间有3个均布的压簧6使得研磨盘4与被研磨平板9在旋转研磨过程中始终贴合,3个均布的压簧导向杆5固定于上盘2上,一端穿过压簧6使得压簧6能正常工作;研磨盘4与被研磨平板9接触的研磨平面上开有纵横交错的沟槽41,以容纳研磨膏,避免磨伤被研磨平板9。
Claims (5)
1.一种实现自适应研磨平面的装置,包括上盘(2)、研磨盘(4),其特征在于,所述上盘(2)经机床刀柄(1)与机床主轴(8)连接,上盘(2)上固定有3个呈圆周均布的导向块(3),导向块(3)上开有导向槽(31),所述研磨盘(4)上固定有3个呈圆周均布的导向立柱(7),导向立柱(7)上设有卡装在导向槽(31)内的导向键(71),所述上盘(2)与研磨盘(4)通过导向块(3)上的导向槽(31)与导向立柱(7)上的导向键(71)配合连接,所述研磨盘(4)下端设有被研磨平板(9),被研磨平板(9)固定在机床工作台(10)上端,所述上盘(2)与研磨盘(4)之间设有压簧(6),压簧(6)经一端固定在上盘(2)上的压簧导向杆(5)限位固定在上盘(2)与研磨盘(4)之间。
2.根据权利要求1所述的一种实现自适应研磨平面的装置,其特征在于,所述导向键(71)的长度小于导向块(3)上导向槽(31)的长度,导向键(71)在导向槽(31)内上下移动,使得研磨盘(4)可以相对上盘(2)沿轴向有一个移动的空间。
3.根据权利要求1所述的一种实现自适应研磨平面的装置,其特征在于,所述的3个导向块(3)朝向机床主轴(8)轴心的面均为内圆弧面(32),且3个内圆弧面(32)均在同一圆柱面上,导向槽(31)布置在内圆弧面(32)上。
4.根据权利要求1所述的一种实现自适应研磨平面的装置,其特征在于,所述研磨盘(4)上固定的3个导向立柱(7)的外侧面均为与内圆弧面(32)相对应的外圆弧面(72),3个外圆弧面(72)均在同一圆柱面上,导向键(71)布置在外圆弧面(72)上,内圆弧面(32)直径略大于外圆弧面(72)的直径,内圆弧面(32)与外圆弧面(72)配合实现研磨盘(4)与上盘(2)的柔性连接,使得研磨盘(4)可以相对上盘(2)有一个沿任意水平方向转动的空间。
5.根据权利要求1所述的一种实现自适应研磨平面的装置,其特征在于,所述研磨盘(4)采用灰铸铁制成,研磨盘(4)的下端面上开有纵横交错的沟槽(41),灰铸铁内部的气孔和沟槽(41)可以容纳研磨膏,避免磨伤被研磨平板(9)。
Priority Applications (1)
| Application Number | Priority Date | Filing Date | Title |
|---|---|---|---|
| CN202022691660.2U CN213673549U (zh) | 2020-11-19 | 2020-11-19 | 一种实现自适应研磨平面的装置 |
Applications Claiming Priority (1)
| Application Number | Priority Date | Filing Date | Title |
|---|---|---|---|
| CN202022691660.2U CN213673549U (zh) | 2020-11-19 | 2020-11-19 | 一种实现自适应研磨平面的装置 |
Publications (1)
| Publication Number | Publication Date |
|---|---|
| CN213673549U true CN213673549U (zh) | 2021-07-13 |
Family
ID=76733854
Family Applications (1)
| Application Number | Title | Priority Date | Filing Date |
|---|---|---|---|
| CN202022691660.2U Active CN213673549U (zh) | 2020-11-19 | 2020-11-19 | 一种实现自适应研磨平面的装置 |
Country Status (1)
| Country | Link |
|---|---|
| CN (1) | CN213673549U (zh) |
Cited By (1)
| Publication number | Priority date | Publication date | Assignee | Title |
|---|---|---|---|---|
| CN112276786A (zh) * | 2020-11-19 | 2021-01-29 | 九江精密测试技术研究所 | 一种在立式数控铣床上实现自适应研磨平面的装置 |
-
2020
- 2020-11-19 CN CN202022691660.2U patent/CN213673549U/zh active Active
Cited By (1)
| Publication number | Priority date | Publication date | Assignee | Title |
|---|---|---|---|---|
| CN112276786A (zh) * | 2020-11-19 | 2021-01-29 | 九江精密测试技术研究所 | 一种在立式数控铣床上实现自适应研磨平面的装置 |
Similar Documents
| Publication | Publication Date | Title |
|---|---|---|
| CN110524336B (zh) | 一种立式曲轴用自适应磨具 | |
| CN210413665U (zh) | 安装套加工专用工具 | |
| CN204639877U (zh) | 一种旋转式抛光机 | |
| CN215547336U (zh) | 一种双端面磨加工工装 | |
| CN202528035U (zh) | 一种高效磨边机 | |
| CN213673549U (zh) | 一种实现自适应研磨平面的装置 | |
| CN204639862U (zh) | 一种双工位磨抛一体机 | |
| CN207155410U (zh) | 一种高精度数控内圆磨床 | |
| CN113059415A (zh) | 钻床研孔工装 | |
| CN217019783U (zh) | 高精度轴承钢珠抛光打磨设备 | |
| CN112276786A (zh) | 一种在立式数控铣床上实现自适应研磨平面的装置 | |
| CN208246581U (zh) | 一种五轴磨床的夹持机构 | |
| CN208629210U (zh) | 一种用于机器人打磨时换刀的刀库 | |
| CN109048602A (zh) | 一种五金件的打磨装置 | |
| CN210790261U (zh) | 一种数控刀具批量打磨装置 | |
| CN203765458U (zh) | 纺机及水泵轴承的长杆轴双沟道磨削支承装置 | |
| CN215968230U (zh) | 砂轮快换锁定机构 | |
| CN207431940U (zh) | 一种石材抛光系统 | |
| CN214292597U (zh) | 一种杆类零件加工的圆筒型导向定位装置 | |
| CN214684317U (zh) | 一种减震刀塔 | |
| CN215700780U (zh) | 一种多轴刀片研磨生产夹具 | |
| CN212824288U (zh) | 一种数控外圆磨床 | |
| CN209158055U (zh) | 新型工具磨床的砂轮库组件 | |
| CN115365949A (zh) | 一种机械制造设计用打磨装置 | |
| CN210125923U (zh) | 一种微钻加工设备 |
Legal Events
| Date | Code | Title | Description |
|---|---|---|---|
| GR01 | Patent grant | ||
| GR01 | Patent grant |