CN213669632U - Large-scale tower mill ore grinding barrel - Google Patents

Large-scale tower mill ore grinding barrel Download PDF

Info

Publication number
CN213669632U
CN213669632U CN202022583726.6U CN202022583726U CN213669632U CN 213669632 U CN213669632 U CN 213669632U CN 202022583726 U CN202022583726 U CN 202022583726U CN 213669632 U CN213669632 U CN 213669632U
Authority
CN
China
Prior art keywords
barrel
access door
thick bamboo
door
section
Prior art date
Legal status (The legal status is an assumption and is not a legal conclusion. Google has not performed a legal analysis and makes no representation as to the accuracy of the status listed.)
Active
Application number
CN202022583726.6U
Other languages
Chinese (zh)
Inventor
康艳超
李向军
曲明辉
李金澎
关丽君
Current Assignee (The listed assignees may be inaccurate. Google has not performed a legal analysis and makes no representation or warranty as to the accuracy of the list.)
Shenyang Shengshi Wuhuan Technology Co ltd
Original Assignee
Shenyang Shengshi Wuhuan Technology Co ltd
Priority date (The priority date is an assumption and is not a legal conclusion. Google has not performed a legal analysis and makes no representation as to the accuracy of the date listed.)
Filing date
Publication date
Application filed by Shenyang Shengshi Wuhuan Technology Co ltd filed Critical Shenyang Shengshi Wuhuan Technology Co ltd
Priority to CN202022583726.6U priority Critical patent/CN213669632U/en
Application granted granted Critical
Publication of CN213669632U publication Critical patent/CN213669632U/en
Active legal-status Critical Current
Anticipated expiration legal-status Critical

Links

Images

Landscapes

  • Crushing And Grinding (AREA)

Abstract

An ore grinding cylinder of a large-scale tower mill belongs to the technical field of ore grinding of tower mills. The utility model discloses can avoid maximization tower mill barrel diameter too big, highly too high and can't satisfy the problem of transportation condition, a section of thick bamboo body and access door fall into the multipart, carry out components of a whole that can function independently processing and transportation to can carry out the secondary equipment at the scene, easy operation, the feasibility is strong, and the field assembly is convenient. The utility model discloses a section of thick bamboo body and access door, a serial communication port, a section of thick bamboo body includes a section of thick bamboo and a lower section of thick bamboo, go up a section of thick bamboo with the connection can be dismantled to a lower section of thick bamboo, it is provided with ball mouth and discharge gate to go up a section of thick bamboo, a section of thick bamboo with all be provided with a section of thick bamboo door support down be provided with a section of thick bamboo door seat hole on the section of thick bamboo door support, the access door includes access door and lower access door, go up the access door with the connection can be dismantled to the access door down, be provided with down the ball mouth on the access door down.

Description

Large-scale tower mill ore grinding barrel
Technical Field
The utility model belongs to the technical field of tower mill grinds the ore deposit, specifically relate to a maximization tower mill grinds ore deposit barrel.
Background
At present, the tower mill is mainly applied to fine grinding operation in the industries of mines, cement, metallurgy and the like, and can replace a ball mill to be used as two-stage or three-stage ore grinding equipment. Compared with a ball mill, the tower mill has the characteristics of simple structure, small occupied area, high energy utilization rate, low consumption of medium balls, uniform product distribution granularity and the like, is widely accepted in the industry, and has wide market application prospect. The technology of the low-power tower mill is gradually mature, but the low-power tower mill cannot meet the production requirement of mines with large material treatment capacity, so that the development of the tower mill towards large scale is great. The large-scale tower mill has the advantages that the diameter of the cylinder is too large, the longitudinal height of the cylinder is too high, and the existing processing and transportation conditions cannot be met if the design scheme of the whole single cylinder of the small-power tower mill is referred, so that the ore grinding cylinder which can be applied to the large-scale tower mill and is convenient to process and transport is needed at present.
Disclosure of Invention
Aiming at the problems, the utility model makes up the defects of the prior art and provides an ore grinding cylinder of a large tower mill; the utility model discloses divide into a section of thick bamboo body and access door many parts, can carry out the secondary equipment at the scene, this structure processing and transportation are simple and convenient, and the field assembly labour saving and time saving has solved the barrel of maximization tower mill and has been difficult to the problem of processing and transportation.
In order to achieve the above purpose, the utility model adopts the following technical scheme.
The utility model provides a large-scale tower mill ore grinding barrel, which comprises a barrel body and an access door, and is characterized in that the barrel body comprises an upper barrel and a lower barrel, the upper barrel and the lower barrel are detachably connected, the upper barrel is provided with a ball adding port and a discharge port, the lower barrel is provided with a feed port, the upper barrel and the lower barrel are both provided with a barrel door support, the barrel door support is provided with a barrel door seat hole, the access door comprises an upper access door and a lower access door, the upper access door is detachably connected with the lower access door, the lower access door is provided with a ball unloading port, the lower access door is provided with a ball unloading door at the position corresponding to the ball unloading port, the upper access door and the lower access door are both provided with access door supports, the access door supports are provided with access door seat holes, the barrel door supports correspond to the access door supports, and a detachable door shaft penetrates through the barrel door seat hole and the access door seat hole at the same time, and the barrel body is connected with the access door through the door shaft.
Furthermore, the joint surfaces of the upper barrel and the lower barrel are both flange surfaces, and the joint surfaces of the upper access door and the lower access door are both flange surfaces.
Further, go up a section of thick bamboo and include barrel on first barrel and the second, barrel under the lower includes barrel under first barrel and the second, first barrel on with the barrel can be dismantled on the second and be connected, first barrel with the barrel can be dismantled under the second and be connected, first barrel on with the barrel all is provided with on the second with the ball mouth, the discharge gate sets up barrel on first last barrel or on the barrel, first barrel with the barrel all is provided with the feed inlet under the second.
Furthermore, the joint surfaces of the first upper cylinder and the second upper cylinder are both flange surfaces, and the joint surfaces of the first lower cylinder and the second lower cylinder are both flange surfaces.
The beneficial effects of the utility model.
The utility model discloses can avoid maximization tower mill barrel diameter too big, highly too high and can't satisfy the problem of transportation condition, a section of thick bamboo body and access door fall into the multipart, carry out components of a whole that can function independently processing and transportation to can carry out the secondary equipment at the scene, easy operation, the feasibility is strong, and the field assembly is convenient.
Drawings
In order to make the technical problem, technical scheme and beneficial effect that the utility model solved more clearly understand, it is right to combine the attached drawing and detailed description mode below the utility model discloses further detailed description. It should be understood that the detailed description and specific examples, while indicating the invention, are given by way of illustration only.
Fig. 1 is a schematic view of the overall structure of the present invention.
Fig. 2 is a side view of the present invention.
Fig. 3 is a side view of the other side of the present invention.
Fig. 4 is a plan view of the present invention.
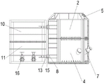
The labels in the figure are: the device comprises a first upper barrel 1, a second upper barrel 2, a first lower barrel 3, a second lower barrel 4, a ball adding port 5, a discharge port 6, a feed port 7, a cylinder door support 8, a cylinder door seat hole 9, an upper access door 10, a lower access door 11, a ball discharging port 12, an access door support 13, an access door seat hole 14, a door shaft 15 and a ball discharging door 16.
Detailed Description
The device is shown by combining the attached drawing and comprises a barrel body and an access door, wherein the barrel body comprises an upper barrel and a lower barrel which are detachably connected, the upper barrel is provided with a ball adding port 5 and a discharge port 6, the lower barrel is provided with a feed port 7, barrel door supports 8 are arranged on the upper barrel and the lower barrel, a cylinder door seat hole 9 is arranged on a cylinder door support 8, the access door comprises an upper access door 10 and a lower access door 11, the upper access door 10 and the lower access door 11 are detachably connected, a ball unloading opening 12 is arranged on the lower access door 11, a ball unloading opening 16 is arranged at the corresponding position of the ball unloading opening 12 on the lower access door 11, access door supports 13 are arranged on the upper access door 10 and the lower access door 11, access door seat holes 14 are arranged on the access door supports 13, the cylinder door supports 8 correspond to the access door supports 13, and a detachable door shaft 15 is arranged to simultaneously penetrate through the barrel door seat hole 9 and the access door seat hole 14, and the barrel body and the access door are connected through the door shaft 15.
The upper barrel comprises a first upper barrel body 1 and a second upper barrel body 2, the lower barrel comprises a first lower barrel body 3 and a second lower barrel body 4, the first upper barrel body 1 and the second upper barrel body 2 are detachably connected, the first lower barrel body 3 and the second lower barrel body 4 are detachably connected, the first upper barrel body 1 and the second upper barrel body 2 are both provided with a ball adding port 5, a discharge port 6 is arranged on the first upper barrel body 1 or the second upper barrel body 2, and the first lower barrel body 3 and the second lower barrel body 4 are both provided with a feed port 7.
The combined surface of the upper barrel and the lower barrel is a flange surface, the combined surface of the upper access door 10 and the lower access door 11 is a flange surface, the combined surface of the first upper barrel 1 and the second upper barrel 2 is a flange surface, the combined surface of the first lower barrel 3 and the second lower barrel 4 is a flange surface, and the integrated structure is seamless and can ensure the sealing property and the stability.
And (4) mounting mode.
When the device is installed on site, the first lower barrel body 3 and the second lower barrel body 4 are assembled firstly, the upper flange faces are parallel and level, the front and rear longitudinal flange faces and the bottom flange face are attached simultaneously, and the flange faces integrally hoist the rear end of the fastening bolt to a cement base of a tower mill to fasten the foundation bolt. And then assembling the first upper barrel body 1 and the second upper barrel body 2, wherein the lower flange surfaces are parallel and level, the front and rear longitudinal flange surfaces are simultaneously attached, integrally hoisting the tightened bolt onto the assembled first lower barrel body 3 and the assembled second lower barrel body 4, fixing the tightened bolt after the lower flange surface of the upper barrel is attached to the upper flange surface of the lower barrel, and finishing the assembly of the barrel body of the tower mill.
Assembling the access door of the tower mill next, aligning and attaching the upper flange surface of the lower access door 11 and the lower flange surface of the upper access door 10, aligning and attaching the lower access door 11 and the door frame flange surface of the upper access door 10 at the moment, tightening the bolt, and finishing the assembly of the access door of the tower mill.
The assembled access door is integrally hoisted to the barrel body of the assembled tower mill, so that the lower access door 11 and the access door support 13 of the upper access door 10 penetrate into the barrel door support 8 of the upper barrel and the lower barrel, two door shafts 15 penetrate into the barrel door support hole 9 and the access door support hole 14, and the installation of the access door of the tower mill is finished. Finally, two drop-off doors 16 are mounted to the lower access door 11. And the tower mill barrel body and the access door are completely assembled.
It should be understood that the above detailed description of the present invention is only for illustrating the present invention and is not limited by the technical solutions described in the embodiments of the present invention, and those skilled in the art should understand that the present invention can still be modified or equivalently replaced to achieve the same technical effects; as long as the use requirement is satisfied, the utility model is within the protection scope.

Claims (4)

1. The utility model provides a large-scale tower mill ore grinding barrel, which comprises a barrel body and an access door, and is characterized in that the barrel body comprises an upper barrel and a lower barrel, the upper barrel and the lower barrel are detachably connected, the upper barrel is provided with a ball adding port (5) and a discharge port (6), the lower barrel is provided with a feed inlet (7), the upper barrel and the lower barrel are both provided with a barrel door support (8), the barrel door support (8) is provided with a barrel door seat hole (9), the access door comprises an upper access door (10) and a lower access door (11), the upper access door (10) and the lower access door (11) are detachably connected, the lower access door (11) is provided with a ball unloading port (12), the lower access door (11) is provided with a ball unloading port (16) at a position corresponding to the ball unloading port (12), go up access door (10) with all be provided with access door support (13) on access door (11) down, be provided with access door seat hole (14) on access door support (13), tube door support (8) with access door support (13) are corresponding to be provided with detachable door-hinge (15) and pass simultaneously tube door seat hole (9) with access door seat hole (14), a section of thick bamboo body with the access door passes through door-hinge (15) are connected.
2. The ore grinding cylinder of the large-scale tower mill according to claim 1, characterized in that: the combined surface of the upper barrel and the lower barrel is a flange surface, and the combined surface of the upper access door and the lower access door is a flange surface.
3. The ore grinding cylinder of the large-scale tower mill according to claim 1, characterized in that: go up a section of thick bamboo and go up barrel (2) on barrel (1) and the second on first, the lower section of thick bamboo includes barrel (3) and second under barrel (4) under first, first go up barrel (1) with barrel (2) can be dismantled in the second and be connected, first barrel (3) with barrel (4) can be dismantled under the second and be connected, first go up barrel (1) with barrel (2) all are provided with on the second add ball mouth (5), discharge gate (6) set up barrel (1) or on barrel (2) on the second on first, first barrel (3) with barrel (4) all are provided with feed inlet (7) under the second.
4. The ore grinding cylinder of the large-scale tower mill according to claim 3, characterized in that: the joint surfaces of the first upper barrel (1) and the second upper barrel (2) are both flange surfaces, and the joint surfaces of the first lower barrel (3) and the second lower barrel (4) are both flange surfaces.
CN202022583726.6U 2020-11-10 2020-11-10 Large-scale tower mill ore grinding barrel Active CN213669632U (en)

Priority Applications (1)

Application Number Priority Date Filing Date Title
CN202022583726.6U CN213669632U (en) 2020-11-10 2020-11-10 Large-scale tower mill ore grinding barrel

Applications Claiming Priority (1)

Application Number Priority Date Filing Date Title
CN202022583726.6U CN213669632U (en) 2020-11-10 2020-11-10 Large-scale tower mill ore grinding barrel

Publications (1)

Publication Number Publication Date
CN213669632U true CN213669632U (en) 2021-07-13

Family

ID=76729446

Family Applications (1)

Application Number Title Priority Date Filing Date
CN202022583726.6U Active CN213669632U (en) 2020-11-10 2020-11-10 Large-scale tower mill ore grinding barrel

Country Status (1)

Country Link
CN (1) CN213669632U (en)

Cited By (1)

* Cited by examiner, † Cited by third party
Publication number Priority date Publication date Assignee Title
CN116727057A (en) * 2023-05-06 2023-09-12 沈阳盛世五寰科技有限公司 Tower mill

Cited By (1)

* Cited by examiner, † Cited by third party
Publication number Priority date Publication date Assignee Title
CN116727057A (en) * 2023-05-06 2023-09-12 沈阳盛世五寰科技有限公司 Tower mill

Similar Documents

Publication Publication Date Title
CN213669632U (en) Large-scale tower mill ore grinding barrel
CN110538700B (en) A discharging device capable of improving the filling rate of the grinding medium of the overflow ball mill
CN201472919U (en) Combined steady flow weighing bin
CN202778662U (en) Ceramic material powder grinding production line
CN201721895U (en) Energy-saving and noise-reduction sandstone aggregate conveying shuttle groove
CN201841039U (en) Stepped lining plate of ball mill cylinder
CN204768947U (en) Intelligent cement mill
CN214440210U (en) Toast box cover spraying jig
CN104607283B (en) An intelligent cement mill
CN203556175U (en) Easy-to-repair open-window type filter screen
CN210820175U (en) Efficient energy-saving type raw material mixing automatic blending equipment system
CN208716180U (en) A kind of Novel spiral blade
CN219849769U (en) Roll mortar wall for breaker convenient to dismouting
CN216523205U (en) Frame structure for preventing upper box of composite flow cooling tower from deforming
CN207204252U (en) Lining plate structure in mining ball grinding cylinder
CN217140595U (en) Tower mill spiral welt quick assembly disassembly device
CN209156024U (en) A kind of detachable balling drum
CN214885536U (en) Reinforced structure is used in building templates installation
CN205533024U (en) Wind power generation tower transportation structure
CN220316290U (en) Anti-adhesion negative pressure spiral feeding device
CN212328503U (en) Processing lithium cell cathode material powder is with wear-resisting ball mill welt
CN220390958U (en) High-strength detachable heavy-duty battery rack
CN218250788U (en) Gravity concentrator slope adjusting structure
CN218107925U (en) Pulping equipment for production of environment-friendly coating
CN201350412Y (en) Grinding and pulping machine

Legal Events

Date Code Title Description
GR01 Patent grant
GR01 Patent grant
CP02 Change in the address of a patent holder

Address after: 113122 No. 69, Shendong seventh Road, Shenfu demonstration area, Shenyang City, Liaoning Province

Patentee after: Shenyang Shengshi Wuhuan Technology Co.,Ltd.

Address before: No.1501, no.75-1, Jinfeng street, Shenfu New District, Shenyang, Liaoning Province, 110000

Patentee before: Shenyang Shengshi Wuhuan Technology Co.,Ltd.

CP02 Change in the address of a patent holder