CN213668163U - A purification device for water treatment - Google Patents

A purification device for water treatment Download PDF

Info

Publication number
CN213668163U
CN213668163U CN202022481295.2U CN202022481295U CN213668163U CN 213668163 U CN213668163 U CN 213668163U CN 202022481295 U CN202022481295 U CN 202022481295U CN 213668163 U CN213668163 U CN 213668163U
Authority
CN
China
Prior art keywords
sealing
cleaning
filtering
clearance
filter
Prior art date
Legal status (The legal status is an assumption and is not a legal conclusion. Google has not performed a legal analysis and makes no representation as to the accuracy of the status listed.)
Expired - Fee Related
Application number
CN202022481295.2U
Other languages
Chinese (zh)
Inventor
廖祥林
李珍
陈亮
Current Assignee (The listed assignees may be inaccurate. Google has not performed a legal analysis and makes no representation or warranty as to the accuracy of the list.)
Jiangsu Ruyi Environment Engineering Co ltd
Original Assignee
Jiangsu Ruyi Environment Engineering Co ltd
Priority date (The priority date is an assumption and is not a legal conclusion. Google has not performed a legal analysis and makes no representation as to the accuracy of the date listed.)
Filing date
Publication date
Application filed by Jiangsu Ruyi Environment Engineering Co ltd filed Critical Jiangsu Ruyi Environment Engineering Co ltd
Priority to CN202022481295.2U priority Critical patent/CN213668163U/en
Application granted granted Critical
Publication of CN213668163U publication Critical patent/CN213668163U/en
Expired - Fee Related legal-status Critical Current
Anticipated expiration legal-status Critical

Links

Images

Landscapes

  • Filtration Of Liquid (AREA)

Abstract

本实用新型公开了一种水处理用净化装置,涉及水处理设备技术领域。包括过滤机构、清理机构和密封机构,所述过滤机构由净化桶、过滤内筒、入水口和出水口组成,所述过滤内筒设置在所述净化桶的内侧,所述入水口连通至所述过滤内筒,所述出水口连通至所述净化桶中,所述清理机构设置在所述过滤机构的顶部,所述密封机构设置在清理机构与过滤机构之间。本实用新型中通过密封机构对过滤机构的顶部进行密封,在非清理阶段,能够对过滤机构的顶部进行整体密封,从而防止污水从过滤内筒中排出,并且对过滤机构与清理机构之间进行隔断,从而防止清理机构始终处于过滤机构中,导致清理机构长时间处于污水中造成腐蚀或者损坏。

Figure 202022481295

The utility model discloses a purification device for water treatment, which relates to the technical field of water treatment equipment. It includes a filtering mechanism, a cleaning mechanism and a sealing mechanism. The filtering mechanism is composed of a purification barrel, a filtering inner cylinder, a water inlet and a water outlet. The filtering inner cylinder is arranged on the inner side of the purification barrel, and the water inlet is connected to the water inlet. In the filter inner cylinder, the water outlet is connected to the purification barrel, the cleaning mechanism is arranged on the top of the filter mechanism, and the sealing mechanism is arranged between the cleaning mechanism and the filter mechanism. In the utility model, the top of the filtering mechanism is sealed by the sealing mechanism. In the non-cleaning stage, the top of the filtering mechanism can be sealed as a whole, thereby preventing the sewage from being discharged from the filtering inner cylinder, and separating the filtering mechanism and the cleaning mechanism. , so as to prevent the cleaning mechanism from being in the filter mechanism all the time, causing the cleaning mechanism to be in the sewage for a long time to cause corrosion or damage.

Figure 202022481295

Description

Purifier for water treatment
Technical Field
The utility model relates to a water treatment facilities technical field especially relates to a purifier for water treatment.
Background
"raw water generally refers to tap water or deep well water supplied by a tap water company, and raw water cannot be directly used as pharmaceutical water, and is taken from natural water bodies or water storage bodies, such as rivers, lakes, ponds or underground aquifers, and the like, and is used as water for water supply; or water flowing into the first treatment unit of a water treatment plant. The water in the reservoir used for adjusting the water pressure of the water supply network in the water plant is not raw water, and the water quality of the raw water is different due to different water sources. Water purification refers to a purification process for removing contaminants from raw water, the purpose of which is to purify the water in a specific procedure and use the water for various purposes.
The principle of the water purifying device is that impurities in water are filtered out through one layer of filtering hardware equipment. The impurity that filters can adsorb on filter mechanism's outer wall, can be equipped with the impurity on the clearance mechanism clearance filter mechanism outer wall in the purifier, and clearance mechanism in the traditional purifier is in the aquatic all the time, gets off for a long time and can cause the corruption and the damage of clearance mechanism.
SUMMERY OF THE UTILITY MODEL
The utility model provides a purifier for water treatment to during clearance mechanism was in filtering mechanism all the time among the solution prior art, lead to clearance mechanism to be in the technical problem that causes the corruption or damage in the sewage for a long time.
The utility model provides a purifier for water treatment, includes filtering mechanism, clearance mechanism and sealing mechanism, filtering mechanism comprises the cask, filters inner tube, water inlet and delivery port, filter the inner tube setting and be in the inboard of cask, the water inlet communicates to filter the inner tube, the delivery port communicates to in the cask, clearance mechanism sets up filtering mechanism's top, sealing mechanism sets up between clearance mechanism and filtering mechanism.
Further, clearance mechanism comprises clearance support frame, driving screw mechanism, drive bracing piece, clearance platform, clearance motor and clearance brush, the setting of clearance support frame is in sealing mechanism's top, driving screw mechanism violently extremely on the clearance support frame, the screw thread of both sides is reverse setting on the driving screw mechanism, the setting of clearance platform is inboard at the clearance support frame, the drive bracing piece is equipped with two, two one side of drive bracing piece is all established just be in respectively the both sides of driving screw mechanism on the driving screw mechanism, two the opposite side of drive bracing piece all links up on the clearance platform, the setting of clearance motor is in on the clearance platform, the clearance brush is installed the output of clearance motor.
Furthermore, a limiting sleeve is arranged on the driving screw rod mechanism, a limiting rod is arranged on the cleaning platform, and the limiting rod penetrates through the limiting sleeve.
Further, sealing mechanism has sealed mounting panel, sealed piece and sealed hydraulic stem to constitute, sealed mounting panel sets up filtering mechanism's top, the top of sealed mounting panel is equipped with the circular shape notch, sealed mounting panel middle part is equipped with the cavity, sealed piece is equipped with two, two sealed piece is in the cavity in the middle of the sealed mounting panel, sealed hydraulic stem sets up between two sealed pieces.
Furthermore, two sealing hydraulic rods are arranged and are positioned on two sides of the two sealing blocks.
Furthermore, the bottom of the filtering mechanism is provided with supporting legs.
Compared with the prior art, the beneficial effects of the utility model reside in that:
one of the two, the utility model discloses in filter the sewage through filter mechanism pair, after a period of operation, the inside dirty of filter mechanism is clear away through the clearance mechanism that sets up, seal up filter mechanism's top through sealing mechanism, at the non-clearance stage, can carry out the whole to filter mechanism's top and seal up, thereby prevent that sewage from discharging from filtering the inner tube, and cut off between filter mechanism and the clearance mechanism, thereby prevent that clearance mechanism is in filter mechanism all the time, lead to clearance mechanism to be in for a long time and cause corruption or damage in the sewage, effectively solve among the prior art with this clearance mechanism and be in filter mechanism all the time, lead to clearance mechanism to be in the sewage for a long time and cause the technical problem of corruption or damage.
And secondly, the utility model discloses well clearance mechanism just can enter into the filtering mechanism when the clearance in, and cut off with sewage during the non-clearance state to can prevent that clearance mechanism from causing the corruption in being in sewage for a long time, and the clearance brush is in the outside and can make things convenient for the staff to change it more during the non-clearance state.
Drawings
In order to more clearly illustrate the embodiments of the present invention or the technical solutions in the prior art, the drawings used in the embodiments or the technical solutions in the prior art will be briefly described below, and it is obvious that the drawings in the following description are some embodiments of the present invention, and for those skilled in the art, other drawings can be obtained according to these drawings without creative efforts.
Fig. 1 is a schematic perspective view of the present invention;
FIG. 2 is a schematic view of the cutting structure of the present invention;
fig. 3 is a top view of the split structure of the sealing mechanism of the present invention;
fig. 4 is a schematic view of a first angle structure of the cleaning mechanism of the present invention;
fig. 5 is a schematic view of a second angle structure of the cleaning mechanism of the present invention;
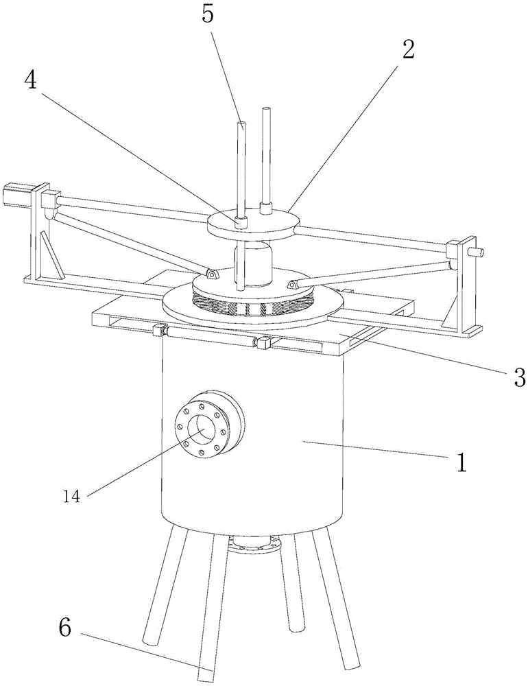
reference numerals: filtering mechanism 1, purification barrel 11, filter inner tube 12, water inlet 13, delivery port 14, clearance mechanism 2, clearance support frame 21, driving screw mechanism 22, drive bracing piece 23, clearance platform 24, clearance motor 25, clearance brush 26, sealing mechanism 3, seal installation board 31, sealed piece 32, sealed hydraulic stem 33, stop sleeve 4, gag lever post 5, supporting leg 6.
Detailed Description
The technical solution of the present invention will be described clearly and completely with reference to the accompanying drawings, and obviously, the described embodiments are some, but not all embodiments of the present invention.
The components of the embodiments of the present invention, as generally described and illustrated in the figures herein, may be arranged and designed in a wide variety of different configurations. Thus, the following detailed description of the embodiments of the present invention, presented in the accompanying drawings, is not intended to limit the scope of the invention, as claimed, but is merely representative of selected embodiments of the invention.
Based on the embodiments in the present invention, all other embodiments obtained by a person skilled in the art without creative work belong to the protection scope of the present invention.
In the description of the present invention, it should be noted that the terms "center", "upper", "lower", "left", "right", "vertical", "horizontal", "inner", "outer", and the like indicate orientations or positional relationships based on the orientations or positional relationships shown in the drawings, and are only for convenience of description and simplification of description, but do not indicate or imply that the device or element referred to must have a specific orientation, be constructed and operated in a specific orientation, and thus, should not be construed as limiting the present invention. Furthermore, the terms "first," "second," and "third" are used for descriptive purposes only and are not to be construed as indicating or implying relative importance.
In the description of the present invention, it is to be noted that, unless otherwise explicitly specified or limited, the terms "mounted," "connected," and "connected" are to be construed broadly, and may be, for example, fixedly connected, detachably connected, or integrally connected; can be mechanically or electrically connected; they may be connected directly or indirectly through intervening media, or they may be interconnected between two elements. The specific meaning of the above terms in the present invention can be understood in specific cases to those skilled in the art.
Referring to fig. 1 to 5, a purification device for water treatment comprises a filter mechanism 1, a cleaning mechanism 2 and a sealing mechanism 3, wherein the filter mechanism 1 comprises a purification barrel 11, a filter inner barrel 12, a water inlet 13 and a water outlet 14, the filter inner barrel 12 is arranged at the inner side of the purification barrel 11, the water inlet 13 is communicated with the filter inner barrel 12, sewage to be purified and filtered can be conveyed into the filter inner barrel 12 through the arranged water inlet 13, purified water enters the purification barrel 11 for storage after being filtered by the filter inner barrel 12, the water outlet 14 is communicated with the purification barrel 11, purified water can be discharged from the purification barrel 11 through the arranged water outlet 14, the cleaning mechanism 2 is arranged at the top of the filter mechanism 1, and after a period of operation, dirt inside the filter mechanism 1 is cleaned through the arranged cleaning mechanism 2, sealing mechanism 3 sets up between clearance mechanism 2 and filter mechanism 1, seals through sealing mechanism 3 to filter mechanism 1's top, at the non-clearance stage, can carry out the bulk seal to filter mechanism 1's top to prevent that sewage from filtering inner tube 12 and discharging, and cut off between filter mechanism 1 and the clearance mechanism 2, thereby prevent that clearance mechanism 2 is in filter mechanism 1 all the time, lead to clearance mechanism 2 to be in the sewage for a long time and cause corruption or damage.
Preferably, the cleaning mechanism 2 comprises a cleaning support frame 21, a driving screw rod mechanism 22, two driving support rods 23, a cleaning platform 24, a cleaning motor 25 and a cleaning brush 26, the cleaning support frame 21 is arranged above the sealing mechanism 3, the driving screw rod mechanism 22 is arranged on the cleaning support frame 21, threads on two sides of the driving screw rod mechanism 22 are reversely arranged, the cleaning platform 24 is arranged on the inner side of the cleaning support frame 21, the two driving support rods 23 are arranged, one side of each of the two driving support rods 23 is sleeved on the driving screw rod mechanism 22 and is respectively arranged on two sides of the driving screw rod mechanism 22, the other sides of the two driving support rods 23 are connected on the cleaning platform 24, when the driving screw rod mechanism 22 operates, the two driving support rods 23 can synchronously move to the middle position under the driving of the driving screw rod mechanism 22, thereby it is ejecting downwards to clear up platform 24 under the support of two drive support poles 23, cleaning motor 25 sets up on the cleaning platform 24, cleaning brush 26 is installed cleaning motor 25's output can drive cleaning brush 26 operation through the cleaning motor 25 that sets up and clear up the inner arm of filtering inner tube 12 to realize the clearance operation, accomplish behind the clearance operation drive lead screw mechanism 22 is at 24 rebound of reverse run drive cleaning platform, thereby realize the return, because the utility model discloses well cleaning mechanism 2 just can enter into filtering mechanism 1 when the clearance, and cut off with sewage during the non-clearance state to can prevent that cleaning mechanism 2 from causing the corruption in being in sewage for a long time, and cleaning brush 26 can make things convenient for the staff to change it in the outside during the non-clearance state more.
Preferably, be equipped with stop sleeve 4 on the drive screw mechanism 22, be equipped with gag lever post 5 on the clearance platform 24, gag lever post 5 alternates stop sleeve 4, can inject clearance platform 24's moving direction through the stop sleeve 4 and the mutually supporting of gag lever post 5 that set up to can prevent that clearance platform 24 from leading to equipment to damage at the displacement in-process position offset.
Preferably, the sealing mechanism 3 is composed of a sealing installation plate 31, a sealing block 32 and a sealing hydraulic rod 33, the sealing installation plate 31 is arranged above the filtering mechanism 1, a circular notch is arranged at the top of the sealing installation plate 31, the middle part of the sealing installation plate 31 is provided with a cavity, two sealing blocks 32 are arranged, the two sealing blocks 32 are positioned in the cavity in the middle of the sealing installation plate 31, the sealing hydraulic rod 33 is arranged between the two sealing blocks 32, the two sealing blocks 32 are driven to open and close through the arranged sealing hydraulic rod 33, when sealing is needed, the two sealing blocks 32 are driven to abut against each other by the sealing hydraulic rod 33, so that the two sealing blocks 32 seal the circular slot in the middle of the sealing mounting plate 31 and, when it is desired to open, the two sealing blocks 32 are driven to open by the extension of the sealing hydraulic rod 33, which facilitates the passage of the cleaning device 2.
Preferably, the two sealing hydraulic rods 33 are provided, the two sealing hydraulic rods 33 are arranged on two sides of the two sealing blocks 32, and the driving force can be uniformly transmitted to the two sealing blocks 32 through the two sealing hydraulic rods 33, so that the sealing effect of the sealing blocks 32 is increased.
Preferably, the bottom of the filtering mechanism 1 is provided with a supporting leg 6, and the supporting leg 6 can be used for conveniently supporting the whole equipment.
The working principle is as follows: when the utility model is used, firstly, the sewage is communicated to the water inlet 13, the sewage which needs to be purified and filtered can be conveyed to the filtering inner cylinder 12 through the water inlet 13, then the sewage is filtered through the filtering inner cylinder 12, the purified water enters the purifying barrel 11 for storage after the filtering of the filtering inner cylinder 12, and is discharged through the water outlet 14, after a period of operation, the water is extended out through the sealing hydraulic rod 33 to drive the two sealing blocks 32 to be opened, at the moment, the cleaning mechanism 2 can be conveniently passed, the cleaning mechanism 2 is started, the two driving support rods 23 can synchronously move to the middle position under the driving of the driving screw rod mechanism 22, so that the cleaning platform 24 is ejected downwards under the supporting of the two driving support rods 23, the cleaning brush 26 can be driven to operate to clean the inner arm of the filtering inner cylinder 12 through the arranged cleaning motor 25, thereby realize the clearance operation, because the utility model discloses well clearance mechanism 2 just can enter into filter mechanism 1 when the clearance, and cut off with sewage during the non-clearance state to can prevent that clearance mechanism 2 from causing the corruption in being in sewage for a long time, and clearance brush 26 can make things convenient for the staff to change it more in the outside during the non-clearance state.
Finally, it should be noted that: the above embodiments are only used to illustrate the technical solution of the present invention, and not to limit the same; although the present invention has been described in detail with reference to the foregoing embodiments, it should be understood by those skilled in the art that: the technical solutions described in the foregoing embodiments may still be modified, or some or all of the technical features may be equivalently replaced; such modifications and substitutions do not depart from the spirit and scope of the present invention.

Claims (6)

1.一种水处理用净化装置,其特征在于:包括过滤机构(1)、清理机构(2)和密封机构(3),所述过滤机构(1)由净化桶(11)、过滤内筒(12)、入水口(13)和出水口(14)组成,所述过滤内筒(12)设置在所述净化桶(11)的内侧,所述入水口(13)连通至所述过滤内筒(12),所述出水口(14)连通至所述净化桶(11)中,所述清理机构(2)设置在所述过滤机构(1)的顶部,所述密封机构(3)设置在清理机构(2)与过滤机构(1)之间。1. A purification device for water treatment, characterized in that: it comprises a filtering mechanism (1), a cleaning mechanism (2) and a sealing mechanism (3), wherein the filtering mechanism (1) is composed of a purification barrel (11), a filtering inner cylinder (12), a water inlet (13) and a water outlet (14), the filter inner cylinder (12) is arranged on the inner side of the purification barrel (11), and the water inlet (13) is connected to the filter A cylinder (12), the water outlet (14) is connected to the purification barrel (11), the cleaning mechanism (2) is provided on the top of the filter mechanism (1), and the sealing mechanism (3) is provided Between the cleaning mechanism (2) and the filtering mechanism (1). 2.根据权利要求1所述的一种水处理用净化装置,其特征在于:所述清理机构(2)由清理支撑架(21)、驱动丝杆机构(22)、驱动支撑杆(23),清理平台(24)、清理电机(25)以及清理刷(26)组成,所述清理支撑架(21)设置在所述密封机构(3)的上方,所述驱动丝杆机构(22)横至在所述清理支撑架(21)上,所述驱动丝杆机构(22)上两侧的螺纹呈反向设置,所述清理平台(24)设置在清理支撑架(21)内侧,所述驱动支撑杆(23)设有两个,两个所述驱动支撑杆(23)的一侧均套设在所述驱动丝杆机构(22)上且分别处于驱动丝杆机构(22)的两侧,两个所述驱动支撑杆(23)的另一侧均衔接在所述清理平台(24)上,所述清理电机(25)设置在所述清理平台(24)上,所述清理刷(26)安装在所述清理电机(25)的输出端。2. A purification device for water treatment according to claim 1, characterized in that: the cleaning mechanism (2) consists of a cleaning support frame (21), a driving screw mechanism (22), and a driving support rod (23) , consisting of a cleaning platform (24), a cleaning motor (25) and a cleaning brush (26), the cleaning support frame (21) is arranged above the sealing mechanism (3), and the driving screw mechanism (22) is horizontal On the cleaning support frame (21), the threads on both sides of the driving screw mechanism (22) are arranged in opposite directions, and the cleaning platform (24) is arranged on the inside of the cleaning support frame (21). There are two driving support rods (23), and one side of the two driving support rods (23) is sleeved on the driving screw mechanism (22) and is located at two sides of the driving screw mechanism (22) respectively. The other sides of the two driving support rods (23) are connected to the cleaning platform (24), the cleaning motor (25) is arranged on the cleaning platform (24), and the cleaning brush (26) is installed at the output end of the cleaning motor (25). 3.根据权利要求2所述的一种水处理用净化装置,其特征在于:所述驱动丝杆机构(22)上设有限位套筒(4),所述清理平台(24)上设有限位杆(5),所述限位杆(5)穿插过所述限位套筒(4)。3. A purification device for water treatment according to claim 2, characterized in that: a limiting sleeve (4) is provided on the driving screw mechanism (22), and a limiting sleeve (4) is provided on the cleaning platform (24) A limit rod (5) is inserted through the limit sleeve (4). 4.根据权利要求1所述的一种水处理用净化装置,其特征在于:所述密封机构(3)有密封安装板(31)、密封块(32)和密封液压杆(33)组成,所述密封安装板(31)设置在所述过滤机构(1)的上方,所述密封安装板(31)的顶部设有圆形的槽口,所述密封安装板(31)中部设有空腔,所述密封块(32)设有两个,两个所述密封块(32)处于密封安装板(31)中间的空腔中,所述密封液从压杆(33)设置在两个密封块(32)之间。4. A purification device for water treatment according to claim 1, wherein the sealing mechanism (3) is composed of a sealing mounting plate (31), a sealing block (32) and a sealing hydraulic rod (33), The sealing installation plate (31) is arranged above the filter mechanism (1), the top of the sealing installation plate (31) is provided with a circular notch, and the middle of the sealing installation plate (31) is provided with a hollow space. There are two sealing blocks (32), the two sealing blocks (32) are located in the cavity in the middle of the sealing installation plate (31), and the sealing liquid is arranged from the pressure rod (33) to the two between the sealing blocks (32). 5.根据权利要求4所述的一种水处理用净化装置,其特征在于:所述密封液压杆(33)设有两个,两个所述密封液压杆(33)处于两个密封块(32)的两侧。5. A purification device for water treatment according to claim 4, characterized in that: the sealing hydraulic rods (33) are provided with two, and the two sealing hydraulic rods (33) are located in two sealing blocks (33). 32) on both sides. 6.根据权利要求1所述的一种水处理用净化装置,其特征在于:所述过滤机构(1)的底部设有支撑腿(6)。6 . The purification device for water treatment according to claim 1 , wherein the bottom of the filtering mechanism ( 1 ) is provided with support legs ( 6 ). 7 .
CN202022481295.2U 2020-10-30 2020-10-30 A purification device for water treatment Expired - Fee Related CN213668163U (en)

Priority Applications (1)

Application Number Priority Date Filing Date Title
CN202022481295.2U CN213668163U (en) 2020-10-30 2020-10-30 A purification device for water treatment

Applications Claiming Priority (1)

Application Number Priority Date Filing Date Title
CN202022481295.2U CN213668163U (en) 2020-10-30 2020-10-30 A purification device for water treatment

Publications (1)

Publication Number Publication Date
CN213668163U true CN213668163U (en) 2021-07-13

Family

ID=76726497

Family Applications (1)

Application Number Title Priority Date Filing Date
CN202022481295.2U Expired - Fee Related CN213668163U (en) 2020-10-30 2020-10-30 A purification device for water treatment

Country Status (1)

Country Link
CN (1) CN213668163U (en)

Cited By (1)

* Cited by examiner, † Cited by third party
Publication number Priority date Publication date Assignee Title
CN114349107A (en) * 2022-01-17 2022-04-15 浙江富江水利水电工程有限公司 Drinking water raw water regulation and storage warehouse based on enhanced ecological purification

Cited By (2)

* Cited by examiner, † Cited by third party
Publication number Priority date Publication date Assignee Title
CN114349107A (en) * 2022-01-17 2022-04-15 浙江富江水利水电工程有限公司 Drinking water raw water regulation and storage warehouse based on enhanced ecological purification
CN114349107B (en) * 2022-01-17 2024-05-24 浙江富江建设集团有限公司 Drinking water raw water regulation and storage warehouse based on enhanced ecological purification

Similar Documents

Publication Publication Date Title
CN118286765B (en) A fine filter for removing impurities from etching liquid
CN213668163U (en) A purification device for water treatment
CN213141624U (en) Sewage treatment is with subsiding filtration equipment
CN212790112U (en) A sewage treatment plant for environmental protection
CN219098834U (en) RO reverse osmosis membrane water purification treatment device
CN210645253U (en) Sewage treatment tank capable of backwashing
CN217323611U (en) Reverse osmosis pure water equipment with self-cleaning mechanism
CN222427635U (en) Ultrafiltration back flushing device for rural domestic sewage
CN215756584U (en) Reverse osmosis membrane filter equipment
CN220812138U (en) Water purifying device for filtering and removing algae
CN216358853U (en) Energy-concerving and environment-protective industrial sewage treatment plant
CN211570280U (en) Anti-membrane filtration equipment that permeates of production medical purified water
CN218188964U (en) Device for preparing injection water by reverse osmosis ultrafiltration combined membrane method
CN219942409U (en) Ultrafiltration membrane purification device
CN221071086U (en) Industrial reverse osmosis equipment
CN221752425U (en) Plate frame filter
CN223602932U (en) A gate cleaning device for water conservancy engineering construction
CN222427247U (en) Back-flushable water filter
CN211920922U (en) Descaling mechanism of water treatment and purification equipment
CN219541265U (en) Backflushing cleaning structure of pure water equipment
CN215962512U (en) DMF shallow layer medium filtration system
CN212894283U (en) Nano fresh oxygen reverse osmosis purification treatment device for aquatic products
CN220646005U (en) Colliery is anti-blocking filter that unpick and wash is used to atomizer in pit
CN216703577U (en) Water purification unit is used in concrete auxiliary production convenient to change filter equipment
CN217350978U (en) Integrated sewage treatment equipment for mariculture

Legal Events

Date Code Title Description
GR01 Patent grant
GR01 Patent grant
CF01 Termination of patent right due to non-payment of annual fee
CF01 Termination of patent right due to non-payment of annual fee

Granted publication date: 20210713