CN213665513U - A groin area dressing compression pack - Google Patents

A groin area dressing compression pack Download PDF

Info

Publication number
CN213665513U
CN213665513U CN202022411949.4U CN202022411949U CN213665513U CN 213665513 U CN213665513 U CN 213665513U CN 202022411949 U CN202022411949 U CN 202022411949U CN 213665513 U CN213665513 U CN 213665513U
Authority
CN
China
Prior art keywords
bag
waistband
bag body
free end
groin area
Prior art date
Legal status (The legal status is an assumption and is not a legal conclusion. Google has not performed a legal analysis and makes no representation as to the accuracy of the status listed.)
Expired - Fee Related
Application number
CN202022411949.4U
Other languages
Chinese (zh)
Inventor
邓艳
Current Assignee (The listed assignees may be inaccurate. Google has not performed a legal analysis and makes no representation or warranty as to the accuracy of the list.)
Individual
Original Assignee
Individual
Priority date (The priority date is an assumption and is not a legal conclusion. Google has not performed a legal analysis and makes no representation as to the accuracy of the date listed.)
Filing date
Publication date
Application filed by Individual filed Critical Individual
Priority to CN202022411949.4U priority Critical patent/CN213665513U/en
Application granted granted Critical
Publication of CN213665513U publication Critical patent/CN213665513U/en
Expired - Fee Related legal-status Critical Current
Anticipated expiration legal-status Critical

Links

Images

Landscapes

  • Orthopedics, Nursing, And Contraception (AREA)

Abstract

本实用新型公开了一种腹股沟区敷料加压包,其特征在于:包括包体、束腰带及束腿带,所述包体内具有压袋,所述束腰带的固定端固定安装在所述包体的一侧,且其自由端与所述包体的另一侧为可拆卸式连接,所述束腿带的固定端固定安装在所述包体的一侧,且其自由端与所述包体的另一侧为可拆卸式连接,本实用新型与现有技术相比的优点在于:通过束腰带及束腿带的双重固定,使得包体能够稳定牢固的压迫在腹股沟区穿刺处,极大减少穿刺处出血等并发症的产生。

Figure 202022411949

The utility model discloses a compression bag for groin area dressing, which is characterized by comprising a bag body, a waistband and a leg strap, the bag body is provided with a pressure bag, and the fixed end of the waistband is fixedly installed on the waistband. One side of the package body, and its free end is detachably connected to the other side of the package body, the fixed end of the leg strap is fixedly installed on one side of the package body, and its free end is connected to the other side of the package body. The other side of the bag body is detachable connection. Compared with the prior art, the advantage of the present invention is that the bag body can be stably and firmly pressed in the groin area through the double fixation of the waistband and the leg strap. At the puncture site, the occurrence of complications such as bleeding at the puncture site is greatly reduced.

Figure 202022411949

Description

Inguinal region dressing pressurization package
Technical Field
The utility model relates to a groin district postoperative care technical field specifically indicates a groin district dressing pressurization package.
Background
For the diseases in the groin area such as groin, femoral vein, femoral artery, often need the wicresoft to intervene the operation and treat, and need carry out dressing pressurization to puncture department after the operation to reduce the tension of wound, accelerate the healing of wound, at present, the pressurization in groin area mostly uses the salt bag, and the salt bag passes through the bandage to be fixed in puncture department, and this kind of mode can realize the pressurization of puncture department, nevertheless has certain problem yet: the salt bag is inconvenient to fix and not firm, so that the saline bag is easy to slide off due to the movement of a patient and the like, so that complications such as bleeding at a puncture part, hematoma at the puncture part and the like are caused, the recovery time of the patient is prolonged, and the difficulty of medical care is increased, so that improvement is needed.
Disclosure of Invention
The utility model provides a groin area dressing pressurization package, its technical problem that can solve is: the pressurization operation after the puncture of the groin area is inconvenient and the wearing is not firm, and the complications such as bleeding at the puncture part and the like are easily caused.
In order to solve the technical problem, the utility model discloses the technical scheme who adopts is: the utility model provides a groin area dressing pressurization package, includes inclusion, waistband and restraints leg strap, have the pressure bag in the inclusion, the stiff end fixed mounting of restrainting the waistband in one side of inclusion, and its free end with the opposite side of inclusion is detachable connection, the stiff end fixed mounting of restrainting leg strap in one side of inclusion, and its free end with the opposite side of inclusion is detachable connection.
The bag body is provided with an opening, a zipper is sewn on the opening, and the zipper enables the opening to be opened or closed.
The free end of the waistband is connected with the other side of the bag body through a magic tape, and the free end of the leg binding belt is connected with the other side of the bag body through a magic tape.
The waistband and the leg band are both made of elastic bandages.
After the structure is adopted, compared with the prior art, the utility model the advantage that has is: a dressing pressurizing bag for a groin area comprises a bag body, a waist belt, a leg belt and other components, and the bag body can be stably and firmly pressed at a puncture position of the groin area through double fixation of the waist belt and the leg belt, so that the generation of complications such as bleeding at the puncture position is greatly reduced; the operation is simple when the whole body is worn, the use is convenient, and the pain of a patient is reduced; overall structure is simple, can effectively reduce patient's postoperative cost of recovering.
Drawings
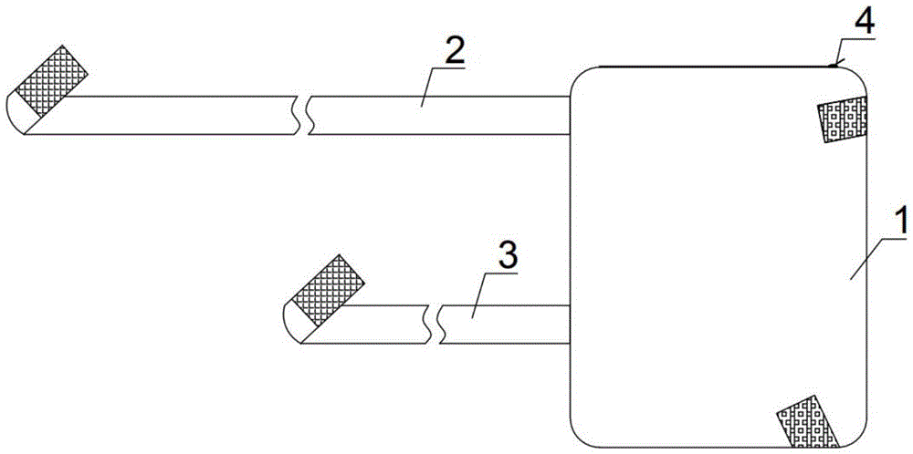
Fig. 1 is a schematic structural view of the dressing compression bag in the groin area of the present invention.
Fig. 2 is a schematic view of the utility model of a structure when the dressing compression bag in the groin area is worn in the groin area of the patient.
As shown in the figure: 1. a bag body, 2, a waistband, 3, a leg binding belt, 4 and a zipper.
Detailed Description
The following description is only for the preferred embodiment of the present invention, and the protection scope of the present invention is not limited thereby, the present invention will be further explained with reference to the drawings and the embodiments.
Examples, see fig. 1-2:
a inguinal region dressing pressurizing bag comprises a bag body 1, a waist belt 2 and a leg belt 3.
The inclusion 1 is made by cotton cloth, the bag has in the inclusion 1, press the bag to adopt the salt bag, also can adopt the sand bag, the upper end of inclusion 1 has uncovered, made up zip fastener 4 on uncovered, zip fastener 4 makes uncovered open or seal, make the uncovered of inclusion 1 open through zip fastener 4, thereby can place the bag of pressing in inclusion 1, seal the uncovered of inclusion 1 through zip fastener 4, thereby can make to press the bag restriction in inclusion 1, avoid falling out, press putting of bag and get equal simple operation, and make inclusion 1 and press the bag homoenergetic to recycle, and use cost is reduced.
Waistband 2 is used for the inclusion 1 fixed at patient's waist, its one end is the stiff end, its other end is the free end, the stiff end fixed mounting of waistband 2 is in one side of inclusion 1, the free end of waistband 2 is detachable connection with the opposite side of inclusion 1, detachable connection makes the dismouting of inclusion 1 more convenient, wherein, the free end of waistband 2 passes through the magic with the opposite side of inclusion 1 and pastes and be connected, make magic subsides round hair side on waistband 2's the free end, make magic subsides thorn hair side on the inclusion 1, mutually support through magic subsides round hair side and magic subsides thorn hair side, realize that waistband 2 is fixed to inclusion 1 at patient's waist, and can also finely tune waistband 2's fixed elasticity through the magic subsides, can better satisfy patient's demand.
The leg binding belt 3 is used for fixing the bag body 1 on the leg of a patient, one end of the leg binding belt 3 is a fixed end, the other end of the leg binding belt 3 is a free end, the fixed end of the leg binding belt 3 is fixedly arranged on one side of the bag body 1, the fixed end of the leg binding belt 3 and the fixed end of the waist binding belt 2 are arranged on the same side of the bag body 1, the fixed end of the waist binding belt 3 is arranged at the upper end of the side of the bag body 1, the fixed end of the leg binding belt 3 is arranged at the lower middle part of the side of the bag body 1, the free end of the leg binding belt 3 is detachably connected with the other side of the bag body 1, the free end of the leg binding belt 3 is connected with the other side of the bag body 1 through the magic tape, the magic tape circular hair surface is sewn on the free end of the leg binding belt 3, the magic tape thorn hair surface is sewn on the bag body 1, the magic tape circular hair surface is matched with the magic thorn, and can also finely tune the fixed elasticity in leg band 3 through the magic subsides, can better satisfy patient's demand.
The waistband 2 and the leg band 3 are matched, so that the bag body 1 can be fixed on the waist and the legs of a patient, the wearing is firmer, the occurrence of related postoperative complications of the patient is reduced, and the waistband 2 and the leg band 3 are both made of elastic bandages, so that the patient can wear more comfortably.
When the bag is used, the pressing bag is firstly placed in the bag body 1, then the bag body 1 is placed at a position where the patient is pressed in the groin area, then the free end of the waistband 2 is tightly adhered to the bag body 1 after bypassing the waist of the patient, then the free end of the leg bundling belt 3 is tightly adhered to the bag body 1 after bypassing the thigh of the patient, and at the moment, the wearing of the bag body 1 can be completed.
The present invention and the embodiments thereof have been described above, but the description is not limited thereto, and the embodiment shown in the drawings is only one of the embodiments of the present invention, and the actual structure is not limited thereto. In summary, those skilled in the art should understand that they should not be limited to the embodiments described above, and that they can design the similar structure and embodiments without departing from the spirit of the invention.

Claims (4)

1.一种腹股沟区敷料加压包,其特征在于:包括包体(1)、束腰带(2)及束腿带(3),所述包体(1)内具有压袋,所述束腰带(2)的固定端固定安装在所述包体(1)的一侧,且其自由端与所述包体(1)的另一侧为可拆卸式连接,所述束腿带(3)的固定端固定安装在所述包体(1)的一侧,且其自由端与所述包体(1)的另一侧为可拆卸式连接。1. An inguinal area dressing compression bag, characterized in that: comprising a bag body (1), a waistband (2) and a leg band (3), and a pressure bag is provided in the bag body (1), and the The fixed end of the waistband (2) is fixedly installed on one side of the bag body (1), and the free end of the waistband (2) is detachably connected to the other side of the bag body (1). The fixed end of (3) is fixedly installed on one side of the package body (1), and its free end is detachably connected to the other side of the package body (1). 2.根据权利要求1所述的一种腹股沟区敷料加压包,其特征在于:所述包体(1)上具有敞口,所述敞口上缝制有拉链(4),所述拉链(4)使所述敞口敞开或封闭。2. A compression pack for groin area dressing according to claim 1, characterized in that: the pack body (1) has an opening, and a zipper (4) is sewn on the opening, and the zipper ( 4) The openings are opened or closed. 3.根据权利要求1所述的一种腹股沟区敷料加压包,其特征在于:所述束腰带(2)的自由端与所述包体(1)的另一侧通过魔术贴连接,所述束腿带(3)的自由端与所述包体(1)的另一侧通过魔术贴连接。3. The groin area dressing compression pack according to claim 1, wherein the free end of the waistband (2) is connected with the other side of the pack body (1) by Velcro, The free end of the leg strap (3) is connected with the other side of the package body (1) by a Velcro. 4.根据权利要求1所述的一种腹股沟区敷料加压包,其特征在于:所述束腰带(2)及所述束腿带(3)均由弹力绷带制成。4 . The groin area dressing compression pack according to claim 1 , wherein the waistband ( 2 ) and the leg strap ( 3 ) are both made of elastic bandages. 5 .
CN202022411949.4U 2020-10-27 2020-10-27 A groin area dressing compression pack Expired - Fee Related CN213665513U (en)

Priority Applications (1)

Application Number Priority Date Filing Date Title
CN202022411949.4U CN213665513U (en) 2020-10-27 2020-10-27 A groin area dressing compression pack

Applications Claiming Priority (1)

Application Number Priority Date Filing Date Title
CN202022411949.4U CN213665513U (en) 2020-10-27 2020-10-27 A groin area dressing compression pack

Publications (1)

Publication Number Publication Date
CN213665513U true CN213665513U (en) 2021-07-13

Family

ID=76762963

Family Applications (1)

Application Number Title Priority Date Filing Date
CN202022411949.4U Expired - Fee Related CN213665513U (en) 2020-10-27 2020-10-27 A groin area dressing compression pack

Country Status (1)

Country Link
CN (1) CN213665513U (en)

Similar Documents

Publication Publication Date Title
CN210962154U (en) Elastic vest for compression hemostasis after breast cancer operation
CN213665513U (en) A groin area dressing compression pack
CN209884243U (en) A compression hemostatic vest after thyroidectomy
CN210158787U (en) A kind of abdominal belt for wound compression after sacrococcygeal surgery
CN221266573U (en) Be used for fixed unilateral low limbs stopper
CN209058183U (en) A kind of patient pants for femoral artery puncture intervention operation
CN222341257U (en) Compression hemostasis device after femoral artery puncture operation
CN215131666U (en) A kind of protective device for patients with abdominal bandage after abdominal surgery
CN213588719U (en) Wound fixing band for inguinal lymph node cleaning
CN223438587U (en) An improved sandbag
CN223068552U (en) Medical pressurization fixing elastic trousers
CN219501100U (en) Adjustable post-femoral vein puncture hemostasis by compression device
CN219148977U (en) Traditional chinese medicine external application fixing device
CN214857137U (en) Wound pressurizing device used after inguinal hernia repair
CN213758414U (en) A salt bag and ice bag fixing device at the groin
CN217186476U (en) Binding belt for cardiovascular internal medicine
CN216168206U (en) A simple compression fixation band that can elevate the scrotum after inguinal hernia surgery
CN219207709U (en) A kind of breast cancer postoperative pressure bandaging chest belt
CN217245198U (en) A device for postoperative mammary gland oppression
CN205386169U (en) Multi -functional perineum hemostasis by compression area
CN218186871U (en) Inguen pressurizing restraint strap
CN216021439U (en) Brace is fixed to intraductal anesthesia position of pregnant woman use vertebra
CN210903183U (en) Adjustable pacemaker restraint fixing clothes
CN221712525U (en) Elastic abdomen binding bandage for postpartum care
CN218870662U (en) Inguinal compression belt after aneurysm intervention

Legal Events

Date Code Title Description
GR01 Patent grant
GR01 Patent grant
CF01 Termination of patent right due to non-payment of annual fee
CF01 Termination of patent right due to non-payment of annual fee

Granted publication date: 20210713