CN213643816U - 一种具有旋转出料结构的铝箔生产用搅拌机 - Google Patents
一种具有旋转出料结构的铝箔生产用搅拌机 Download PDFInfo
- Publication number
- CN213643816U CN213643816U CN202021003124.2U CN202021003124U CN213643816U CN 213643816 U CN213643816 U CN 213643816U CN 202021003124 U CN202021003124 U CN 202021003124U CN 213643816 U CN213643816 U CN 213643816U
- Authority
- CN
- China
- Prior art keywords
- fixedly connected
- close
- stirring
- sides
- stirring tank
- Prior art date
- Legal status (The legal status is an assumption and is not a legal conclusion. Google has not performed a legal analysis and makes no representation as to the accuracy of the status listed.)
- Active
Links
- 238000003756 stirring Methods 0.000 title claims abstract description 74
- 238000007599 discharging Methods 0.000 title claims abstract description 36
- 238000004519 manufacturing process Methods 0.000 title claims abstract description 26
- XAGFODPZIPBFFR-UHFFFAOYSA-N aluminium Chemical compound [Al] XAGFODPZIPBFFR-UHFFFAOYSA-N 0.000 title claims abstract description 19
- 229910052782 aluminium Inorganic materials 0.000 title claims abstract description 19
- 239000011888 foil Substances 0.000 title claims abstract description 19
- 239000005030 aluminium foil Substances 0.000 claims description 8
- 239000002994 raw material Substances 0.000 abstract description 21
- 230000000694 effects Effects 0.000 abstract description 17
- 238000007790 scraping Methods 0.000 abstract description 4
- 239000002699 waste material Substances 0.000 abstract description 4
- 239000000463 material Substances 0.000 description 7
- 230000002457 bidirectional effect Effects 0.000 description 4
- 238000005299 abrasion Methods 0.000 description 1
- 230000004075 alteration Effects 0.000 description 1
- 230000009286 beneficial effect Effects 0.000 description 1
- 235000013361 beverage Nutrition 0.000 description 1
- 235000019504 cigarettes Nutrition 0.000 description 1
- 230000007547 defect Effects 0.000 description 1
- 238000010586 diagram Methods 0.000 description 1
- 229940079593 drug Drugs 0.000 description 1
- 239000003814 drug Substances 0.000 description 1
- 235000013305 food Nutrition 0.000 description 1
- 239000003205 fragrance Substances 0.000 description 1
- 230000014759 maintenance of location Effects 0.000 description 1
- 238000000034 method Methods 0.000 description 1
- 238000012986 modification Methods 0.000 description 1
- 230000004048 modification Effects 0.000 description 1
- 231100000956 nontoxicity Toxicity 0.000 description 1
- 238000010079 rubber tapping Methods 0.000 description 1
- 238000006467 substitution reaction Methods 0.000 description 1
Images
Classifications
-
- Y—GENERAL TAGGING OF NEW TECHNOLOGICAL DEVELOPMENTS; GENERAL TAGGING OF CROSS-SECTIONAL TECHNOLOGIES SPANNING OVER SEVERAL SECTIONS OF THE IPC; TECHNICAL SUBJECTS COVERED BY FORMER USPC CROSS-REFERENCE ART COLLECTIONS [XRACs] AND DIGESTS
- Y02—TECHNOLOGIES OR APPLICATIONS FOR MITIGATION OR ADAPTATION AGAINST CLIMATE CHANGE
- Y02P—CLIMATE CHANGE MITIGATION TECHNOLOGIES IN THE PRODUCTION OR PROCESSING OF GOODS
- Y02P10/00—Technologies related to metal processing
- Y02P10/20—Recycling
Landscapes
- Mixers Of The Rotary Stirring Type (AREA)
Abstract
本实用新型公开了一种具有旋转出料结构的铝箔生产用搅拌机,包括底板,底板顶部靠近左右两侧处分别安装有支撑板,底板的上方设有搅拌罐,且搅拌罐的左右两侧分别与两个支撑板相靠近的一侧固定连接,搅拌罐顶部靠近左右两侧处分别固定连接有进料斗,且两个进料斗均与搅拌罐的内部相连通,搅拌罐内腔顶部安装有第一轴承,通过驱动电机、连接块、转动杆和U形搅拌杆的相互配合,可以实现铝箔生产原料的搅拌,而横杆和刮板的设置,可以实现将残留在搅拌罐内壁上的原料刮落,使其进行搅拌,实现原料的充分搅拌,避免原料资源的浪费,从而可以实现搅拌效果好和出料效率高的特点。
Description
技术领域
本实用新型涉及铝箔生产技术领域,具体为一种具有旋转出料结构的铝箔生产用搅拌机。
背景技术
铝箔是一种烫印材料,具有防潮、气密、遮光、耐磨蚀、保香和无毒无味等优点,广泛用于食品、饮料、香烟、药品、照相底板和家庭日用品等。在铝箔生产过程中,需要进行搅拌处理,但是现有技术的铝箔生产用搅拌机搅拌效果差,不能使原料进行充分搅拌,且不便于出料,容易发生堵塞,不能实现从多个方向进行出料,大大降低了出料效率,使用效果差。为此,我们提出一种具有旋转出料结构的铝箔生产用搅拌机。
实用新型内容
本实用新型解决的技术问题在于克服现有技术的搅拌效果差和出料效率低等缺陷,提供一种具有旋转出料结构的铝箔生产用搅拌机。所述一种具有旋转出料结构的铝箔生产用搅拌机具有搅拌效果好和出料效率高等特点。
为实现上述目的,本实用新型提供如下技术方案:一种具有旋转出料结构的铝箔生产用搅拌机,包括底板,所述底板顶部靠近左右两侧处分别安装有支撑板,所述底板的上方设有搅拌罐,且搅拌罐的左右两侧分别与两个支撑板相靠近的一侧固定连接,所述搅拌罐顶部靠近左右两侧处分别固定连接有进料斗,且两个进料斗均与搅拌罐的内部相连通,所述搅拌罐内腔顶部安装有第一轴承,且第一轴承内圈固定连接有转轴,所述搅拌罐顶部靠近中间处安装有驱动电机,且驱动电机的输出轴与转轴顶端固定连接,所述搅拌罐内设有两个连接块,且两个连接块为上下设置,两个所述连接块之间固定连接有转动杆,位于上方的所述连接块顶部与转轴底端固定连接,所述转动杆的前后左右四侧外分别设有U形搅拌杆,且水平方向上的两个U形搅拌杆相靠近的一端分别与两个连接块的左右两侧固定连接,并且前后方向上的两个U形搅拌杆相靠近的一端分别与两个连接块的前后两侧固定连接,所述搅拌罐下方设有环形框,且环形框左右两侧侧壁分别与搅拌罐的内腔侧壁靠近底部处固定连接,并且环形框与搅拌罐的内部相连通,所述环形框外壁上安装有阀门,所述环形框底端活动连接有出料管。优选的,所述第一轴承上的转轴左右两侧靠近底端处分别固定连接有横杆,且两个横杆相远离的一端分别固定连接有刮板,两个所述刮板相远离的一侧分别与搅拌罐的内腔侧壁靠近左右两侧处相接触。优选的,所述环形框内腔侧壁靠近两侧处分别安装有两个梯形块,且两侧的两个梯形块为前后设置,两侧的两个所述梯形块相靠近的一侧均安装有第二轴承,且两侧的两个第二轴承内圈均固定连接有转轴,所述环形框内腔侧壁靠近两侧处分别设有缓料板,且两个缓料板的前后两侧分别与两侧的两个转轴相靠近的一端固定连接。
优选的,两个所述缓料板的底部分别固定连接有弹簧,且两个弹簧相远离的一端分别与环形框内腔侧壁靠近两侧处固定连接。
优选的,所述环形框的前后两侧靠近底端处分别安装有第三轴承,且两个第三轴承内圈均固定连接有转轴,所述出料管的前后两侧分别与两个转轴相远离的一端固定连接。
优选的,所述出料管的后侧设有双向螺纹杆,两个支撑板相靠近的一侧靠近底部处分别安装有第四轴承,且双向螺纹杆的左右两端分别与两个第四轴承内圈固定连接,位于右侧的所述支撑板的右侧安装有伺服电机,且伺服电机的输出轴与右侧支撑板上的转轴右端固定连接,所述双向螺纹杆上靠近左右两侧处分别套设有移动块,且两个移动块的内腔分别开设有与双向螺纹杆相匹配的螺纹孔,两个所述移动块的前壁分别与出料管的后侧靠近顶部与底部处活动连接。
优选的,两个所述移动块的前壁安装有第一矩形块,且两个第一矩形块的前壁均安装有第五轴承,并且两个第五轴承内圈均固定连接有转轴,两个所述转轴的前端分别固定连接有连杆,所述出料管的后侧靠近顶部与底部处分别安装有第二矩形块,且两个第二矩形块的后壁分别安装有第六轴承,两个所述第六轴承内圈均固定连接有转轴,且两个转轴的后端分别与两个连杆的前壁固定连接。
与现有技术相比,本实用新型的有益效果是:
1、在本技术方案中,通过驱动电机、连接块、转动杆和U形搅拌杆的相互配合,可以实现铝箔生产原料的搅拌,而横杆和刮板的设置,可以实现将残留在搅拌罐内壁上的原料刮落,使其进行搅拌,实现原料的充分搅拌,避免原料资源的浪费,有效的提高了搅拌效果;2、在本技术方案中,通过阀门、环形框和出料管的相互配合,可以实现搅拌后原料的出料,而缓料板和弹簧的设置,可以减缓原料的出料速度,避免造成堵塞,影响出料,有效的提高了出料效果; 3、在本技术方案中,通过伺服电机、移动块、双向螺纹杆和连杆的相互配合,可以实现带动出料管进行转动,实现从多个方向进行出料,达到便于出料的效果,有效的提高了出料效率和使用效果,从而可以实现搅拌效果好和出料效率高的特点。
附图说明
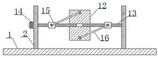
图1为本实用新型的原始结构图;
图2为图1中出料管的后视图;
图3为图1中环形框的俯视图;
图4为图1中的A处放大图。
图中标号:1、底板;2、支撑板;3、搅拌罐;4、驱动电机;5、连接块;6、转动杆;7、U形搅拌杆;8、横杆;9、刮板;10、环形框; 11、阀门;12、出料管;13、双向螺纹杆;14、伺服电机;15、移动块;16、连杆;17、缓料板;18、弹簧。
具体实施方式
下面将结合本实用新型实施例中的附图,对本实用新型实施例中的技术方案进行清楚、完整地描述,显然,所描述的实施例仅仅是本实用新型一部分实施例,而不是全部的实施例。基于本实用新型中的实施例,本领域普通技术人员在没有做出创造性劳动前提下所获得的所有其他实施例,都属于本实用新型保护的范围。
请参阅图1-4,本实用新型提供一种技术方案:一种具有旋转出料结构的铝箔生产用搅拌机,包括底板1,其特征在于:底板1顶部靠近左右两侧处分别安装有支撑板2,底板1的上方设有搅拌罐3,且搅拌罐3的左右两侧分别与两个支撑板2相靠近的一侧固定连接,搅拌罐3顶部靠近左右两侧处分别固定连接有进料斗,且两个进料斗均与搅拌罐3的内部相连通,搅拌罐3内腔顶部安装有第一轴承,且第一轴承内圈固定连接有转轴,搅拌罐3顶部靠近中间处安装有驱动电机 4,且驱动电机4的输出轴与转轴顶端固定连接,搅拌罐3内设有两个连接块5,且两个连接块5为上下设置,两个连接块5之间固定连接有转动杆6,位于上方的连接块5顶部与转轴底端固定连接,转动杆6的前后左右四侧外分别设有U形搅拌杆7,且水平方向上的两个 U形搅拌杆7相靠近的一端分别与两个连接块5的左右两侧固定连接,并且前后方向上的两个U形搅拌杆7相靠近的一端分别与两个连接块 5的前后两侧固定连接,第一轴承上的转轴左右两侧靠近底端处分别固定连接有横杆8,且两个横杆8相远离的一端分别固定连接有刮板 9,两个刮板9相远离的一侧分别与搅拌罐3的内腔侧壁靠近左右两侧处相接触,通过驱动电机4、连接块5、转动杆6和U形搅拌杆7 的相互配合,可以实现铝箔生产原料的搅拌,而横杆8和刮板9的设置,可以实现将残留在搅拌罐3内壁上的原料刮落,使其进行搅拌,实现原料的充分搅拌,避免原料资源的浪费,有效的提高了搅拌效果,搅拌罐3下方设有环形框10,且环形框10左右两侧侧壁分别与搅拌罐3的内腔侧壁靠近底部处固定连接,并且环形框10与搅拌罐3的内部相连通,环形框10外壁上安装有阀门11,环形框10内腔侧壁靠近两侧处分别安装有两个梯形块,且两侧的两个梯形块为前后设置,两侧的两个梯形块相靠近的一侧均安装有第二轴承,且两侧的两个第二轴承内圈均固定连接有转轴,环形框10内腔侧壁靠近两侧处分别设有缓料板17,且两个缓料板17的前后两侧分别与两侧的两个转轴相靠近的一端固定连接,两个缓料板17的底部分别固定连接有弹簧18,且两个弹簧18相远离的一端分别与环形框10内腔侧壁靠近两侧处固定连接,通过阀门11、环形框10和出料管12的相互配合,可以实现搅拌后原料的出料,而缓料板17和弹簧18的设置,可以减缓原料的出料速度,避免造成堵塞,影响出料,有效的提高了出料效果,环形框10底端活动连接有出料管12,环形框10的前后两侧靠近底端处分别安装有第三轴承,且两个第三轴承内圈均固定连接有转轴,出料管12的前后两侧分别与两个转轴相远离的一端固定连接,出料管12的后侧设有双向螺纹杆13,两个支撑板2相靠近的一侧靠近底部处分别安装有第四轴承,且双向螺纹杆13的左右两端分别与两个第四轴承内圈固定连接,位于右侧的支撑板2的右侧安装有伺服电机14,且伺服电机14的输出轴与右侧支撑板2上的转轴右端固定连接,双向螺纹杆13上靠近左右两侧处分别套设有移动块15,且两个移动块15的内腔分别开设有与双向螺纹杆13相匹配的螺纹孔,两个移动块15的前壁分别与出料管12的后侧靠近顶部与底部处活动连接,两个移动块15的前壁安装有第一矩形块,且两个第一矩形块的前壁均安装有第五轴承,并且两个第五轴承内圈均固定连接有转轴,两个转轴的前端分别固定连接有连杆16,出料管12的后侧靠近顶部与底部处分别安装有第二矩形块,且两个第二矩形块的后壁分别安装有第六轴承,两个第六轴承内圈均固定连接有转轴,且两个转轴的后端分别与两个连杆16的前壁固定连接,通过伺服电机14、移动块15、双向螺纹杆13和连杆16的相互配合,可以实现带动出料管12进行转动,实现从多个方向进行出料,达到便于出料的效果,有效的提高了出料效率和使用效果,从而可以实现搅拌效果好和出料效率高的特点,其中驱动电机4和伺服电机14分别通过外接电源线电性连接有控制开关。
工作原理:在本技术方案中,首先将铝箔生产原料通过进料斗添加到搅拌罐3内,接着启动驱动电机4,驱动电机4带动连接块5和转动杆6进行转动,而U形搅拌杆7随着连接块5一起进行转动,从而实现铝箔生产原料的搅拌处理,而横杆8和刮板9随着连接块5一起转动,通过刮板9的转动对搅拌过程中搅拌罐3内壁上残留的铝箔生产原料进行刮落,使其进行搅拌,实现原料的充分搅拌,避免原料资源的浪费,有效的提高了搅拌效果,搅拌结束后,打开阀门11,搅拌后的铝箔生产原料经过环形框10进入到出料管12内,而环形框10 内的缓料板17通过弹簧18的弹性拉伸效果减缓铝箔生产原料的出料速度,避免造成堵塞,影响出料,有效的提高了出料效果,接着启动伺服电机14,通过伺服电机14的正反转带动双向螺纹杆13进行顺时针或逆时针转动,而双向螺纹杆13上的两个移动块15随着双向螺纹杆13的转动进行相向运动或相离运动,从而实现带动出料管12进行多个方向的转动,实现出料管12从多个方向进行出料,达到便于出料的效果,有效的提高了出料效率和使用效果,从而可以实现搅拌效果好和出料效率高的特点。
尽管已经示出和描述了本实用新型的实施例,对于本领域的普通技术人员而言,可以理解在不脱离本实用新型的原理和精神的情况下可以对这些实施例进行多种变化、修改、替换和变型,本实用新型的范围由所附权利要求及其等同物限定。
Claims (7)
1.一种具有旋转出料结构的铝箔生产用搅拌机,包括底板(1),其特征在于:所述底板(1)顶部靠近左右两侧处分别安装有支撑板(2),所述底板(1)的上方设有搅拌罐(3),且搅拌罐(3)的左右两侧分别与两个支撑板(2)相靠近的一侧固定连接,所述搅拌罐(3)顶部靠近左右两侧处分别固定连接有进料斗,且两个进料斗均与搅拌罐(3)的内部相连通,所述搅拌罐(3)内腔顶部安装有第一轴承,且第一轴承内圈固定连接有转轴,所述搅拌罐(3)顶部靠近中间处安装有驱动电机(4),且驱动电机(4)的输出轴与转轴顶端固定连接,所述搅拌罐(3)内设有两个连接块(5),且两个连接块(5)为上下设置,两个所述连接块(5)之间固定连接有转动杆(6),位于上方的所述连接块(5)顶部与转轴底端固定连接,所述转动杆(6)的前后左右四侧外分别设有U形搅拌杆(7),且水平方向上的两个U形搅拌杆(7)相靠近的一端分别与两个连接块(5)的左右两侧固定连接,并且前后方向上的两个U形搅拌杆(7)相靠近的一端分别与两个连接块(5)的前后两侧固定连接,所述搅拌罐(3)下方设有环形框(10),且环形框(10)左右两侧侧壁分别与搅拌罐(3)的内腔侧壁靠近底部处固定连接,并且环形框(10)与搅拌罐(3)的内部相连通,所述环形框(10)外壁上安装有阀门(11),所述环形框(10)底端活动连接有出料管(12)。
2.根据权利要求1所述的一种具有旋转出料结构的铝箔生产用搅拌机,其特征在于:所述第一轴承上的转轴左右两侧靠近底端处分别固定连接有横杆(8),且两个横杆(8)相远离的一端分别固定连接有刮板(9),两个所述刮板(9)相远离的一侧分别与搅拌罐(3)的内腔侧壁靠近左右两侧处相接触。
3.根据权利要求1所述的一种具有旋转出料结构的铝箔生产用搅拌机,其特征在于:所述环形框(10)内腔侧壁靠近两侧处分别安装有两个梯形块,且两侧的两个梯形块为前后设置,两侧的两个所述梯形块相靠近的一侧均安装有第二轴承,且两侧的两个第二轴承内圈均固定连接有转轴,所述环形框(10)内腔侧壁靠近两侧处分别设有缓料板(17),且两个缓料板(17)的前后两侧分别与两侧的两个转轴相靠近的一端固定连接。
4.根据权利要求3所述的一种具有旋转出料结构的铝箔生产用搅拌机,其特征在于:两个所述缓料板(17)的底部分别固定连接有弹簧(18),且两个弹簧(18)相远离的一端分别与环形框(10)内腔侧壁靠近两侧处固定连接。
5.根据权利要求1所述的一种具有旋转出料结构的铝箔生产用搅拌机,其特征在于:所述环形框(10)的前后两侧靠近底端处分别安装有第三轴承,且两个第三轴承内圈均固定连接有转轴,所述出料管(12)的前后两侧分别与两个转轴相远离的一端固定连接。
6.根据权利要求1所述的一种具有旋转出料结构的铝箔生产用搅拌机,其特征在于:所述出料管(12)的后侧设有双向螺纹杆(13),两个支撑板(2)相靠近的一侧靠近底部处分别安装有第四轴承,且双向螺纹杆(13)的左右两端分别与两个第四轴承内圈固定连接,位于右侧的所述支撑板(2)的右侧安装有伺服电机(14),且伺服电机(14)的输出轴与右侧支撑板(2)上的转轴右端固定连接,所述双向螺纹杆(13)上靠近左右两侧处分别套设有移动块(15),且两个移动块(15)的内腔分别开设有与双向螺纹杆(13)相匹配的螺纹孔,两个所述移动块(15)的前壁分别与出料管(12)的后侧靠近顶部与底部处活动连接。
7.根据权利要求6所述的一种具有旋转出料结构的铝箔生产用搅拌机,其特征在于:两个所述移动块(15)的前壁安装有第一矩形块,且两个第一矩形块的前壁均安装有第五轴承,并且两个第五轴承内圈均固定连接有转轴,两个所述转轴的前端分别固定连接有连杆(16),所述出料管(12)的后侧靠近顶部与底部处分别安装有第二矩形块,且两个第二矩形块的后壁分别安装有第六轴承,两个所述第六轴承内圈均固定连接有转轴,且两个转轴的后端分别与两个连杆(16)的前壁固定连接。
Priority Applications (1)
| Application Number | Priority Date | Filing Date | Title |
|---|---|---|---|
| CN202021003124.2U CN213643816U (zh) | 2020-06-04 | 2020-06-04 | 一种具有旋转出料结构的铝箔生产用搅拌机 |
Applications Claiming Priority (1)
| Application Number | Priority Date | Filing Date | Title |
|---|---|---|---|
| CN202021003124.2U CN213643816U (zh) | 2020-06-04 | 2020-06-04 | 一种具有旋转出料结构的铝箔生产用搅拌机 |
Publications (1)
| Publication Number | Publication Date |
|---|---|
| CN213643816U true CN213643816U (zh) | 2021-07-09 |
Family
ID=76682201
Family Applications (1)
| Application Number | Title | Priority Date | Filing Date |
|---|---|---|---|
| CN202021003124.2U Active CN213643816U (zh) | 2020-06-04 | 2020-06-04 | 一种具有旋转出料结构的铝箔生产用搅拌机 |
Country Status (1)
| Country | Link |
|---|---|
| CN (1) | CN213643816U (zh) |
Cited By (1)
| Publication number | Priority date | Publication date | Assignee | Title |
|---|---|---|---|---|
| CN115178704A (zh) * | 2022-07-19 | 2022-10-14 | 无锡汉瓷特种陶瓷技术有限公司 | 一种发动机陶瓷型芯研发用填料装置及填料方法 |
-
2020
- 2020-06-04 CN CN202021003124.2U patent/CN213643816U/zh active Active
Cited By (2)
| Publication number | Priority date | Publication date | Assignee | Title |
|---|---|---|---|---|
| CN115178704A (zh) * | 2022-07-19 | 2022-10-14 | 无锡汉瓷特种陶瓷技术有限公司 | 一种发动机陶瓷型芯研发用填料装置及填料方法 |
| CN115178704B (zh) * | 2022-07-19 | 2024-11-22 | 无锡汉瓷特种陶瓷技术有限公司 | 一种发动机陶瓷型芯研发用填料装置及填料方法 |
Similar Documents
| Publication | Publication Date | Title |
|---|---|---|
| CN213643816U (zh) | 一种具有旋转出料结构的铝箔生产用搅拌机 | |
| CN214051255U (zh) | 粘度高物料的搅拌加工设备 | |
| CN216223868U (zh) | 一种用于led灯生产的荧光胶配制装置 | |
| CN210846097U (zh) | 一种用于化工设备的搅拌装置 | |
| CN213348704U (zh) | 一种混合仓可调的新型高效混合机 | |
| CN222475579U (zh) | 一种选煤用链式给料机 | |
| CN219815891U (zh) | 除磷剂搅拌装置 | |
| CN112845062A (zh) | 一种节能式工业物料筛选除尘装置 | |
| CN217774266U (zh) | 一种环保砖生产废料回收装置 | |
| CN217747295U (zh) | 一种豆瓣加工用原料粉碎装置 | |
| CN215388891U (zh) | 一种鱼胶原蛋白肽得脱腥设备 | |
| CN216261274U (zh) | 多功能制药用摇摆颗粒机 | |
| CN210729234U (zh) | 一种用于工业搅拌的自动化机械设备 | |
| CN214915833U (zh) | 一种摇摆高效制粒机 | |
| CN215586082U (zh) | 一种大型立式智能控制搅拌机 | |
| CN207756250U (zh) | 一种废弃混凝土块碎石化与筛分装置 | |
| CN212068574U (zh) | 一种五金机械生产用混砂装置 | |
| CN210646114U (zh) | 混料装置及其锅巴加工设备 | |
| CN221359532U (zh) | 一种混合充分的混合装置 | |
| CN206980534U (zh) | 一种复合净化剂高效混料罐 | |
| CN221601971U (zh) | 一种化工原料混合用反应釜 | |
| CN220677624U (zh) | 一种生物有机肥用多级破碎混合装置 | |
| CN223617956U (zh) | 一种建筑工程用搅拌装置 | |
| CN209323241U (zh) | 一种瓦楞纸浆的碎浆设备 | |
| CN223147482U (zh) | 一种橡胶制品制造混合设备的进料机构 |
Legal Events
| Date | Code | Title | Description |
|---|---|---|---|
| GR01 | Patent grant | ||
| GR01 | Patent grant |