CN213599538U - A portable vertical laminar air purifier protective cover - Google Patents

A portable vertical laminar air purifier protective cover Download PDF

Info

Publication number
CN213599538U
CN213599538U CN202022206209.7U CN202022206209U CN213599538U CN 213599538 U CN213599538 U CN 213599538U CN 202022206209 U CN202022206209 U CN 202022206209U CN 213599538 U CN213599538 U CN 213599538U
Authority
CN
China
Prior art keywords
door leaf
face
bottom plate
dustcoat
outer cover
Prior art date
Legal status (The legal status is an assumption and is not a legal conclusion. Google has not performed a legal analysis and makes no representation as to the accuracy of the status listed.)
Expired - Fee Related
Application number
CN202022206209.7U
Other languages
Chinese (zh)
Inventor
吕东进
Current Assignee (The listed assignees may be inaccurate. Google has not performed a legal analysis and makes no representation or warranty as to the accuracy of the list.)
Changzhou Aiyin Fuxi Environmental Equipment Co ltd
Original Assignee
Changzhou Aiyin Fuxi Environmental Equipment Co ltd
Priority date (The priority date is an assumption and is not a legal conclusion. Google has not performed a legal analysis and makes no representation as to the accuracy of the date listed.)
Filing date
Publication date
Application filed by Changzhou Aiyin Fuxi Environmental Equipment Co ltd filed Critical Changzhou Aiyin Fuxi Environmental Equipment Co ltd
Priority to CN202022206209.7U priority Critical patent/CN213599538U/en
Application granted granted Critical
Publication of CN213599538U publication Critical patent/CN213599538U/en
Expired - Fee Related legal-status Critical Current
Anticipated expiration legal-status Critical

Links

Images

Landscapes

  • Filtering Of Dispersed Particles In Gases (AREA)

Abstract

本实用新型提供一种便于移动的垂直式空气层流净化器防护罩,包括外罩、底板、滚轮以及调节螺杆,所述底板下端面设置有多个滚轮,所述底板四角各设置有有一个调节螺杆,所述调节螺杆竖直贯穿底板,所述外罩焊接固定在底板上端面中间,所述调节螺杆上端头设置有调节旋钮,所述调节螺杆下端面和支撑垫脚焊接固定,所述外罩前端面设置有门扇,所述门扇通过铰链和外罩转动连接,所述外罩内部安装有垂直式空气层流净化器本体,与现有技术相比,本实用新型具有如下的有益效果:结构简单,使用方便,保护效果良好,且移动灵活。

Figure 202022206209

The utility model provides a protective cover for a vertical laminar air flow purifier which is easy to move, comprising an outer cover, a bottom plate, a roller and an adjusting screw. A plurality of rollers are arranged on the lower end surface of the bottom plate, and four corners of the bottom plate are provided with an adjusting screw. screw, the adjustment screw vertically penetrates the bottom plate, the outer cover is welded and fixed in the middle of the upper end surface of the bottom plate, the upper end of the adjustment screw is provided with an adjustment knob, the lower end surface of the adjustment screw and the support foot are welded and fixed, and the front end surface of the outer cover is fixed by welding. A door leaf is provided, the door leaf is rotatably connected to the outer cover through a hinge, and a vertical air laminar flow purifier body is installed inside the outer cover. Compared with the prior art, the utility model has the following beneficial effects: simple structure and convenient use , the protection effect is good, and the movement is flexible.

Figure 202022206209

Description

Rectilinear air laminar flow clarifier protection casing convenient to remove
Technical Field
The utility model relates to a rectilinear air laminar flow clarifier protection casing convenient to remove belongs to clarifier technical field.
Background
Research shows that inhalable particles, dust and impurities suspended in the air can enter the human body from alveolus to circulate and deposit, and serious adverse effects are brought to health. In the indoor environment, besides particulate pollutants emitted by external pollution sources, activities such as decoration, cooking, smoking and the like can release certain inhalable particles. In order to improve air cleanliness and ensure personnel health, harmful particles in air can be reduced and eliminated in a filtering manner, so that the air purifier gradually becomes a very common indoor environment-friendly product.
Air purifier uses for a long time and can accumulate a lot of dusts, not only influences air purifier's pleasing to the eye, and the dust gets into air purifier inside still can damage internals, reduces life, the utility model provides a rectilinear air laminar flow purifier protection casing convenient to remove, its simple structure, convenient to use, the protection effect is good, and removes in a flexible way.
SUMMERY OF THE UTILITY MODEL
The utility model aims at providing a rectilinear air laminar flow clarifier protection casing convenient to remove, through increasing dustcoat, bottom plate, gyro wheel and adjusting screw to solve the problem of proposing among the above-mentioned background art.
In order to achieve the above purpose, the present invention is realized by the following technical solution: a vertical air laminar flow purifier protective cover convenient to move comprises an outer cover, a bottom plate, a roller and an adjusting screw rod, a plurality of rollers are arranged on the lower end surface of the bottom plate, four corners of the bottom plate are respectively provided with an adjusting screw rod, the adjusting screw rod vertically penetrates through the bottom plate, the outer cover is welded and fixed in the middle of the upper end surface of the bottom plate, an adjusting knob is arranged at the upper end head of the adjusting screw rod, the lower end surface of the adjusting screw is welded and fixed with the supporting foot, the front end surface of the outer cover is provided with a door leaf, the door leaf is rotatably connected with the outer cover through a hinge, the upper side of the left end surface of the outer cover, the upper side of the rear end surface of the outer cover, the upper side of the right end surface of the outer cover and the upper side of the door leaf are respectively provided with a first metal net ventilation opening, the dustcoat left end face downside, dustcoat rear end face downside, dustcoat right-hand member face downside and door leaf downside all are provided with the second metal mesh ventilation mouth, dustcoat internally mounted has rectilinear air laminar flow clarifier body.
Furthermore, the idler wheel is fixed on the lower end face of the bottom plate through screws, an exhaust port is arranged on the front end face of the vertical air laminar flow purifier body and corresponds to the position of the first metal mesh ventilation port, and an air inlet is arranged on the front end face of the vertical air laminar flow purifier body and corresponds to the position of the second metal mesh ventilation port.
Further, the upper and lower length of the adjusting screw is greater than the vertical length from the upper end surface of the bottom plate to the lowest point of the roller.
Furthermore, a rectangular clamping groove is formed in the position, corresponding to the front port of the outer cover, of the periphery of the door leaf, the door leaf is clamped inside the rectangular clamping groove, and a door handle is arranged in the middle of the right side of the door leaf.
Furthermore, two vertically symmetrical locking clamping grooves are formed in the right side of the rectangular clamping groove, and locking clamping blocks are arranged at positions, corresponding to the rear end face of the door leaf, of the locking clamping grooves.
Further, a layer of protective rubber pad is glued on the inner wall surface of the outer cover.
The utility model has the advantages that: the utility model discloses a rectilinear air laminar flow clarifier protection casing convenient to remove, through increasing dustcoat, bottom plate, gyro wheel and adjusting screw, adjusting screw can whether contact ground by control roller, realizes the removal and the fixing of device, its simple structure, convenient to use, the protection is respond well, and removes in a flexible way, in the time of in-service use, more is fit for being applied to clarifier technical field.
Drawings
Other features, objects and advantages of the invention will become more apparent upon reading of the detailed description of non-limiting embodiments with reference to the following drawings:
FIG. 1 is a schematic front view of a protective cover of a vertical air purifier of the present invention;
FIG. 2 is a schematic front sectional view of a protective cover of a vertical air purifier of the present invention, which is easy to move;
FIG. 3 is a right view of a protective cover of a portable vertical air purifier of the present invention;
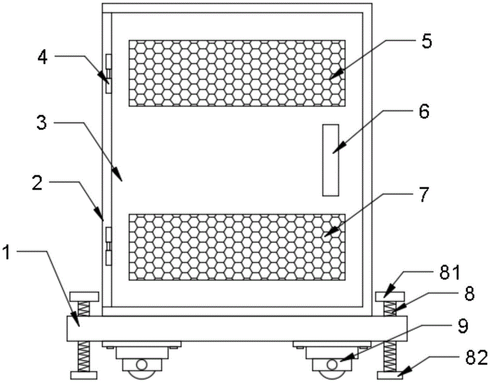
in the figure: the air purifier comprises a base plate 1, a housing 2, a door leaf 3, a hinge 4, a first metal ventilation opening 5, a door handle 6, a second metal ventilation opening 7, an adjusting screw 8, a roller 9, a rectangular clamping groove 10, a protective rubber pad 11, a locking clamping groove 12, a vertical air laminar flow purifier body 13, an adjusting knob 81, a supporting pad 82, an exhaust port 131 and an air inlet 132.
Detailed Description
In order to make the technical means, creation features, achievement purposes and functions of the present invention easy to understand, the present invention is further described below with reference to the following embodiments.
Referring to fig. 1-3, the present invention provides a technical solution: a vertical air laminar flow purifier protective cover convenient to move comprises an outer cover 2, a bottom plate 1, rollers 9 and an adjusting screw 8, wherein a plurality of rollers 9 are arranged on the lower end face of the bottom plate 1, the four corners of the bottom plate 1 are respectively provided with the adjusting screw 8, the adjusting screw 8 vertically penetrates through the bottom plate 1, the outer cover 2 is fixedly welded in the middle of the upper end face of the bottom plate 1, the upper end head of the adjusting screw 8 is provided with an adjusting knob 81, the lower end face of the adjusting screw 8 is fixedly welded with a supporting pad foot, the front end face of the outer cover 2 is provided with a door leaf 3, the door leaf 3 is rotatably connected with the outer cover 2 through a hinge 4, the upper side of the left end face of the outer cover 2, the upper side of the rear end face of the outer cover 2, the upper side of the right end face of the outer cover 2 and the upper side of the door leaf 3 are respectively provided with, the housing 2 is internally provided with a vertical air laminar flow purifier body 13.
The gyro wheel 9 passes through the screw fixation at bottom plate 1 terminal surface down, the terminal surface corresponds first metal mesh ventilation opening position and is provided with gas vent 131 before the laminar air cleaner body 13 of rectilinear air, the terminal surface corresponds second metal mesh ventilation opening position and is provided with air inlet 132 before the laminar air cleaner body 13 of rectilinear air, adjusting screw 8's upper and lower length is greater than the vertical length of bottom plate 1 up end to gyro wheel 9 minimum, the port position has seted up rectangle draw-in groove 10 before the corresponding dustcoat 2 of door leaf 3 periphery, door leaf 3 card is established inside rectangle draw-in groove 10, be provided with door handle 6 in the middle of the 3 right sides of door leaf, two locking draw-in grooves 12 of longitudinal symmetry have been seted up on rectangle draw-in groove 10 the right, locking draw-in groove 12 corresponds 3 rear end face positions of door leaf and is provided.
As an embodiment of the present invention: vertical air laminar flow clarifier body 13 is installed inside dustcoat 2, protective rubber pad 11 can protect vertical air laminar flow clarifier body 13 not receive the scratch to decrease and provide the buffering when rocking again, the terminal surface corresponds first metal mesh ventilation port position and is provided with gas vent 131 before vertical air laminar flow clarifier body 13, the terminal surface corresponds second metal mesh ventilation port position and is provided with air inlet 132 before vertical air laminar flow clarifier body 13, make things convenient for the circulation of air, locking draw-in groove 12 and locking fixture block are joined in marriage the switch that realizes door leaf 3, rotate adjusting screw 8 through adjust knob 81 and can control whether support pad foot 82 supports ground, with whether contact ground of control gyro wheel 9, realize removal function and fixed function, the utility model discloses simple structure, convenient to use, the protection is effectual, and it is nimble to remove.
The basic principles and the main features of the invention and the advantages of the invention have been shown and described above, it will be evident to those skilled in the art that the invention is not limited to the details of the foregoing illustrative embodiments, but that the invention may be embodied in other specific forms without departing from the spirit or essential characteristics of the invention. The present embodiments are therefore to be considered in all respects as illustrative and not restrictive, the scope of the invention being indicated by the appended claims rather than by the foregoing description, and all changes which come within the meaning and range of equivalency of the claims are therefore intended to be embraced therein. Any reference sign in a claim should not be construed as limiting the claim concerned.
Furthermore, it should be understood that although the present description refers to embodiments, not every embodiment may contain only a single embodiment, and such description is for clarity only, and those skilled in the art should integrate the description, and the embodiments may be combined as appropriate to form other embodiments understood by those skilled in the art.

Claims (6)

1. The utility model provides a rectilinear air laminar flow clarifier protection casing convenient to remove, includes dustcoat, bottom plate, gyro wheel and adjusting screw, its characterized in that: the utility model discloses a vertical air purifier, including bottom plate, adjusting screw, door leaf, dustcoat left end face upside, dustcoat rear end face upside, dustcoat right-hand member face upside and door leaf upside all are provided with first metal mesh logical wind gap, dustcoat left end face downside, dustcoat rear end face downside, dustcoat right-hand member face downside and door leaf downside all are provided with second metal mesh logical wind gap, dustcoat internally mounted has rectilinear laminar air purifier body.
2. A portable vertical laminar air cleaner hood according to claim 1, wherein: the roller is fixed on the lower end face of the bottom plate through screws, an exhaust port is arranged on the front end face of the vertical air laminar flow purifier body and corresponds to the position of the first metal mesh ventilation port, and an air inlet is arranged on the front end face of the vertical air laminar flow purifier body and corresponds to the position of the second metal mesh ventilation port.
3. A portable vertical laminar air cleaner hood according to claim 1, wherein: the upper and lower length of the adjusting screw is larger than the vertical length from the upper end surface of the bottom plate to the lowest point of the roller.
4. A portable vertical laminar air cleaner hood according to claim 1, wherein: the outer periphery of the door leaf is provided with a rectangular clamping groove corresponding to the front end opening of the outer cover, the door leaf is clamped inside the rectangular clamping groove, and a door handle is arranged in the middle of the right side of the door leaf.
5. A portable vertical laminar air cleaner hood according to claim 4, wherein: two vertically symmetrical locking clamping grooves are formed in the right side of the rectangular clamping groove, and locking clamping blocks are arranged at positions, corresponding to the rear end face of the door leaf, of the locking clamping grooves.
6. A portable vertical laminar air cleaner hood according to claim 1, wherein: and a protective rubber pad is glued on the inner wall surface of the outer cover.
CN202022206209.7U 2020-09-30 2020-09-30 A portable vertical laminar air purifier protective cover Expired - Fee Related CN213599538U (en)

Priority Applications (1)

Application Number Priority Date Filing Date Title
CN202022206209.7U CN213599538U (en) 2020-09-30 2020-09-30 A portable vertical laminar air purifier protective cover

Applications Claiming Priority (1)

Application Number Priority Date Filing Date Title
CN202022206209.7U CN213599538U (en) 2020-09-30 2020-09-30 A portable vertical laminar air purifier protective cover

Publications (1)

Publication Number Publication Date
CN213599538U true CN213599538U (en) 2021-07-02

Family

ID=76589583

Family Applications (1)

Application Number Title Priority Date Filing Date
CN202022206209.7U Expired - Fee Related CN213599538U (en) 2020-09-30 2020-09-30 A portable vertical laminar air purifier protective cover

Country Status (1)

Country Link
CN (1) CN213599538U (en)

Similar Documents

Publication Publication Date Title
CN210568937U (en) Indoor air purification treatment device
CN213599538U (en) A portable vertical laminar air purifier protective cover
CN209857262U (en) An artificial intelligence air purifier
CN207350553U (en) A kind of Wind Volume air purifier
CN208114959U (en) A kind of mask
CN212009495U (en) Computer machine case heat dissipation dust removal structure
CN108325109A (en) A kind of mask
CN210220133U (en) Big amount of wind low noise new trend equipment
CN216309725U (en) A kind of indoor environment dust monitoring system
CN204830238U (en) Air purifier who conveniently unpicks and washes
CN204313407U (en) A kind of air sterilization cleaning system
CN211526637U (en) Infectious department ward ventilation unit
CN207797344U (en) A kind of air channel structure of air purifier
CN205448046U (en) Lay in air purification device of windowsill
CN106679042A (en) Fresh air filtering dusting machine
CN214841517U (en) An indoor intelligent air purification device
CN214365731U (en) Safe and environment-friendly purification door
CN205547514U (en) Air -purifying head protective equipment
CN206463678U (en) A kind of air cleaner on roof
CN112519542A (en) Novel air purifier with convenient detection device
CN217939582U (en) Ornamental plant tissue culture room air purification device
CN214239561U (en) Heat dissipation adsorption equipment that 3D printer was used
CN221744257U (en) Air pollution air purifier
CN211526558U (en) Novel air conditioner
CN218846344U (en) Novel industrial air cooler

Legal Events

Date Code Title Description
GR01 Patent grant
GR01 Patent grant
CF01 Termination of patent right due to non-payment of annual fee
CF01 Termination of patent right due to non-payment of annual fee

Granted publication date: 20210702