CN213577040U - A rotatable LED wall light - Google Patents
A rotatable LED wall light Download PDFInfo
- Publication number
- CN213577040U CN213577040U CN202022777358.9U CN202022777358U CN213577040U CN 213577040 U CN213577040 U CN 213577040U CN 202022777358 U CN202022777358 U CN 202022777358U CN 213577040 U CN213577040 U CN 213577040U
- Authority
- CN
- China
- Prior art keywords
- fixedly connected
- wall lamp
- led wall
- turntable
- gear
- Prior art date
- Legal status (The legal status is an assumption and is not a legal conclusion. Google has not performed a legal analysis and makes no representation as to the accuracy of the status listed.)
- Active
Links
Images
Landscapes
- Non-Portable Lighting Devices Or Systems Thereof (AREA)
- Arrangement Of Elements, Cooling, Sealing, Or The Like Of Lighting Devices (AREA)
- Fastening Of Light Sources Or Lamp Holders (AREA)
Abstract
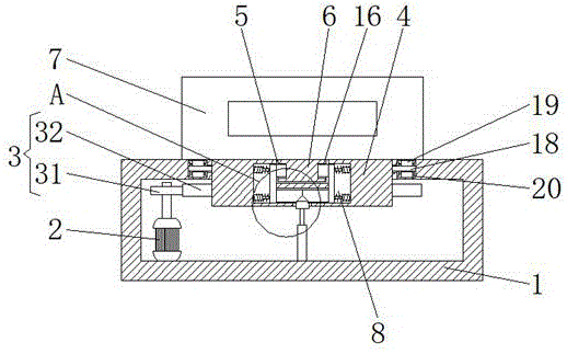
本实用新型公开了一种可旋转的LED壁灯,包括安装箱,所述安装箱内腔的底部固定连接有微型电机,所述微型电机的输出轴固定连接有传动机构,所述传动机构的轴心处固定连接有转盘,所述转盘的顶部设置有安装槽。本实用新型通过微型电机、传动机构、转盘、伸缩杆、挡板、限位块、第一卡块、电动推杆和第二卡块的配合,微型电机的输出轴通过第一齿轮和第二齿轮带动转盘旋转,可以根据需要调节LED壁灯本体照射的角度,当需要更换LED壁灯本体时,将转盘复位,电动推杆通过第二卡块和第一卡块带动挡板向两侧移动,使限位块脱离安装孔,完成LED壁灯本体的拆卸,操作简单,从而达到可旋转的效果,解决了现有装置不可旋转的问题。
The utility model discloses a rotatable LED wall lamp, comprising an installation box, a micro-motor is fixedly connected to the bottom of the inner cavity of the installation box, an output shaft of the micro-motor is fixedly connected with a transmission mechanism, and the shaft of the transmission mechanism is fixedly connected with a transmission mechanism. A turntable is fixedly connected at the center, and an installation groove is arranged on the top of the turntable. The utility model uses the cooperation of a micro motor, a transmission mechanism, a turntable, a telescopic rod, a baffle, a limit block, a first clamping block, an electric push rod and a second clamping block, and the output shaft of the micro motor passes through the first gear and the second clamping block. The gear drives the turntable to rotate, and the angle of illumination of the LED wall lamp body can be adjusted as needed. When the LED wall lamp body needs to be replaced, the turntable is reset, and the electric push rod drives the baffle to move to both sides through the second block and the first block, so that the The limit block is separated from the installation hole, the disassembly of the LED wall lamp body is completed, and the operation is simple, thereby achieving the effect of being rotatable, and solving the problem that the existing device cannot be rotated.
Description
Claims (5)
Priority Applications (1)
| Application Number | Priority Date | Filing Date | Title |
|---|---|---|---|
| CN202022777358.9U CN213577040U (en) | 2020-11-26 | 2020-11-26 | A rotatable LED wall light |
Applications Claiming Priority (1)
| Application Number | Priority Date | Filing Date | Title |
|---|---|---|---|
| CN202022777358.9U CN213577040U (en) | 2020-11-26 | 2020-11-26 | A rotatable LED wall light |
Publications (1)
| Publication Number | Publication Date |
|---|---|
| CN213577040U true CN213577040U (en) | 2021-06-29 |
Family
ID=76543682
Family Applications (1)
| Application Number | Title | Priority Date | Filing Date |
|---|---|---|---|
| CN202022777358.9U Active CN213577040U (en) | 2020-11-26 | 2020-11-26 | A rotatable LED wall light |
Country Status (1)
| Country | Link |
|---|---|
| CN (1) | CN213577040U (en) |
Cited By (1)
| Publication number | Priority date | Publication date | Assignee | Title |
|---|---|---|---|---|
| CN114923161A (en) * | 2022-06-21 | 2022-08-19 | 合肥新观点照明科技股份有限公司 | A lighting system for water dance is beautiful |
-
2020
- 2020-11-26 CN CN202022777358.9U patent/CN213577040U/en active Active
Cited By (2)
| Publication number | Priority date | Publication date | Assignee | Title |
|---|---|---|---|---|
| CN114923161A (en) * | 2022-06-21 | 2022-08-19 | 合肥新观点照明科技股份有限公司 | A lighting system for water dance is beautiful |
| CN114923161B (en) * | 2022-06-21 | 2024-04-26 | 合肥新观点照明科技股份有限公司 | Lighting system for water dance show |
Similar Documents
| Publication | Publication Date | Title |
|---|---|---|
| WO2022001978A1 (en) | Fan lamp | |
| CN213577040U (en) | A rotatable LED wall light | |
| CN107883352A (en) | Multifunctional L ED lamp structure | |
| CN216143648U (en) | Low-loss acrylic energy-saving LED ceiling lamp | |
| CN203298228U (en) | Multi-angle rotation type LED lamp | |
| CN216643965U (en) | Embedded down lamp with quick assembly disassembly mechanism | |
| CN103292273A (en) | LED lamp capable of rotating for multiple angles | |
| CN110274201A (en) | A kind of rotatable Crystal lamp | |
| CN213019097U (en) | Illumination lamp capable of automatically adjusting illumination range | |
| CN111734990B (en) | High-brightness intelligent LED down lamp | |
| CN213272310U (en) | Operating room lighting device | |
| CN211875870U (en) | Split type LED lamp shell | |
| CN211040656U (en) | dimming L ED lamp for sports lighting | |
| CN111396820B (en) | Adjustable LED wall washer | |
| CN212961444U (en) | Oval LED work light hanger with multi-angle is adjusted | |
| CN218954810U (en) | Lighting lamp with adjustable lighting angle | |
| CN217714682U (en) | Durable LED projecting lamp | |
| CN222297816U (en) | Lighting fixtures for exhibition halls | |
| CN219453818U (en) | Ceiling lamp convenient to install | |
| CN216667444U (en) | Surface mounted downlight mounting plate plus hanging plate | |
| CN217329470U (en) | Portable lamp with solar photovoltaic panel | |
| CN210637869U (en) | Multi-angle desk lamp with adjustable lamp distance | |
| CN209229475U (en) | A kind of LED spotlight | |
| CN221665995U (en) | LED lamp with angle adjusting function | |
| CN207230254U (en) | A kind of LED desk lamp with fan |
Legal Events
| Date | Code | Title | Description |
|---|---|---|---|
| GR01 | Patent grant | ||
| GR01 | Patent grant | ||
| TR01 | Transfer of patent right | ||
| TR01 | Transfer of patent right |
Effective date of registration: 20250529 Address after: 065001 Hebei Province, Langfang City, Economic and Technological Development Zone, Huaxiang Road No. 102, Sina Rongfu, Building 86, Unit 1, Room 101 Patentee after: Li Hai Country or region after: China Address before: 529000 floor 5-6, building 9, No. 33, Nange West Road, Hetang Town, Pengjiang district, Jiangmen City, Guangdong Province Patentee before: Guangdong mili Lighting Technology Co.,Ltd. Country or region before: China |
|
| TR01 | Transfer of patent right |
Effective date of registration: 20250813 Address after: 065099 Hebei Province Langfang City Guangyang District New Century Pedestrian Street Fourth Avenue Building B No. 17 Third Floor Patentee after: Hebei Tangzhuo Trading Co.,Ltd. Country or region after: China Address before: 065001 Hebei Province, Langfang City, Economic and Technological Development Zone, Huaxiang Road No. 102, Sina Rongfu, Building 86, Unit 1, Room 101 Patentee before: Li Hai Country or region before: China |
