CN213570320U - A kind of SBS modified asphalt development tank for easy cleaning of inner wall - Google Patents

A kind of SBS modified asphalt development tank for easy cleaning of inner wall Download PDF

Info

Publication number
CN213570320U
CN213570320U CN202022535820.4U CN202022535820U CN213570320U CN 213570320 U CN213570320 U CN 213570320U CN 202022535820 U CN202022535820 U CN 202022535820U CN 213570320 U CN213570320 U CN 213570320U
Authority
CN
China
Prior art keywords
motor
wall
tank body
modified asphalt
plate
Prior art date
Legal status (The legal status is an assumption and is not a legal conclusion. Google has not performed a legal analysis and makes no representation as to the accuracy of the status listed.)
Expired - Fee Related
Application number
CN202022535820.4U
Other languages
Chinese (zh)
Inventor
刘强
Current Assignee (The listed assignees may be inaccurate. Google has not performed a legal analysis and makes no representation or warranty as to the accuracy of the list.)
Panjin Futai Petrochemical Co ltd
Original Assignee
Panjin Futai Petrochemical Co ltd
Priority date (The priority date is an assumption and is not a legal conclusion. Google has not performed a legal analysis and makes no representation as to the accuracy of the date listed.)
Filing date
Publication date
Application filed by Panjin Futai Petrochemical Co ltd filed Critical Panjin Futai Petrochemical Co ltd
Priority to CN202022535820.4U priority Critical patent/CN213570320U/en
Application granted granted Critical
Publication of CN213570320U publication Critical patent/CN213570320U/en
Expired - Fee Related legal-status Critical Current
Anticipated expiration legal-status Critical

Links

Images

Landscapes

  • Mixers Of The Rotary Stirring Type (AREA)

Abstract

本实用新型公开了一种方便清理内壁的SBS改性沥青发育罐,包括罐体、第一电机、搅拌桨、进料管和出料管,所述罐体顶端中部固定连接有第一电机,且第一电机输出端焊接有多组搅拌桨,所述罐体后侧上端内嵌有进料管,所述罐体底端中部内嵌有出料管,所述罐体左侧焊接有固定板,且固定板顶端固定连接有第二电机,所述第二电机右侧设置有固定块,所述固定块一端固定连接在第二电机上。本实用新型通过将第二电机接通电源,使第二电机带动第一刮刀和第二刮刀在罐体内壁转动,将罐体内壁附着的改性沥青刮掉,提高装置的便捷性,同时通过转动螺纹杆,使支撑板贴合地面,用于支撑罐体,提高装置实用性。

Figure 202022535820

The utility model discloses an SBS modified asphalt development tank which is convenient for cleaning the inner wall, which comprises a tank body, a first motor, a stirring paddle, a feeding pipe and a discharging pipe. And the output end of the first motor is welded with a plurality of groups of stirring paddles, a feed pipe is embedded in the upper end of the rear side of the tank body, a discharge pipe is embedded in the middle of the bottom end of the tank body, and the left side of the tank body is welded with a fixed A second motor is fixedly connected to the top of the fixing plate, a fixing block is arranged on the right side of the second motor, and one end of the fixing block is fixedly connected to the second motor. By connecting the second motor with power, the second motor drives the first scraper and the second scraper to rotate on the inner wall of the tank to scrape off the modified asphalt attached to the inner wall of the tank, thereby improving the convenience of the device. Turn the threaded rod to make the support plate fit the ground to support the tank and improve the practicability of the device.

Figure 202022535820

Description

SBS modified asphalt development tank convenient for cleaning inner wall
Technical Field
The utility model relates to a SBS modified asphalt technical field specifically is a jar is developed to SBS modified asphalt of convenient clearance inner wall.
Background
The SBS modified asphalt is prepared by taking base asphalt as a raw material, adding a certain proportion of SBS modifier, uniformly dispersing SBS in the asphalt by methods of shearing, stirring and the like, simultaneously adding a certain proportion of special stabilizer to form SBS blending material, modifying the asphalt by utilizing good physical properties of SBS, and when processing the SBS modified asphalt, introducing the asphalt, the SBS modifier and the special stabilizer into a development tank to be stirred and mixed.
After the SBS modified asphalt is processed, a large amount of modified asphalt can be attached to the inner wall of the existing SBS modified asphalt development tank, and the modified asphalt attached to the inner wall of the tank body is difficult to clean due to the fact that the adhesive force of the asphalt is strong and the inner wall of the tank body is deep, so that the problem that the SBS modified asphalt development tank with the inner wall convenient to clean is needed to solve is urgently needed.
SUMMERY OF THE UTILITY MODEL
An object of the utility model is to provide a jar is developed to SBS modified asphalt of conveniently clearing up inner wall to solve the current SBS modified asphalt who proposes in the above-mentioned background art and develop the adnexed modified asphalt of jar inner wall and be difficult to the problem of clearance.
In order to achieve the above object, the utility model provides a following technical scheme: the SBS modified asphalt development tank convenient for cleaning the inner wall comprises a tank body, a first motor, stirring paddles, an inlet pipe and a discharging pipe, wherein the first motor is fixedly connected to the middle part of the top end of the tank body, a plurality of groups of stirring paddles are welded to the output end of the first motor, the inlet pipe is embedded in the upper end of the rear side of the tank body, the discharging pipe is embedded in the middle part of the bottom end of the tank body, a fixed plate is welded to the left side of the tank body, a second motor is fixedly connected to the top end of the fixed plate, a fixed block is arranged on the right side of the second motor, one end of the fixed block is fixedly connected to the second motor, the other end of the fixed block is fixedly connected to the first motor, a ring groove is formed in the top end of the tank body, a ring plate is inserted into the inner wall of the ring groove, two sets of the jar internal wall all laminates in the first scraper outside, first scraper bottom is all embedded on the dwang, and dwang bottom both sides are all embedded has the second scraper, and are two sets of the jar internal wall all laminates to the second scraper, the welding of dwang middle part has two sets of spacing posts, and the discharge tube inner wall all laminates in spacing post bottom.
Preferably, four groups of limiting blocks are welded on the surface of the lower end of the tank body, and supporting devices are arranged on the outer sides of the limiting blocks.
Preferably, the transmission device comprises an annular rack and a gear, the annular rack is welded on the surface of the upper end of the annular plate, the gear is meshed and connected with the annular rack, and the middle of the gear is welded on the output end of the second motor.
Preferably, strutting arrangement includes bracing piece, thread groove, threaded rod and backup pad, the stopper outside all is embedded to have the bracing piece, and the thread groove has all been seted up to the bracing piece lower extreme, four groups the thread groove inner wall has all inserted the threaded rod, and the welding of threaded rod bottom has the backup pad.
Preferably, the size of the ring plate is matched with the size of the inner wall of the annular groove.
Preferably, the tooth pitch and the tooth of the annular rack are equal to the tooth pitch and the tooth of the gear.
Compared with the prior art, the beneficial effects of the utility model are that:
1. this jar is grown to SBS modified asphalt of convenient clearance inner wall is provided with the second motor, the ring channel, the crown plate, the annular rack, the gear, the rotor plate, first scraper, the dwang, second scraper and spacing post, through with second motor switch on, make the second motor drive first scraper and second scraper rotate at jar internal wall, scrape jar internal wall adnexed modified asphalt, current SBS modified asphalt develops jar internal wall adnexed asphalt difficult in order to clear up, lead to cleaning efficiency lower, this device can be convenient for clear up the modified asphalt of adhering to at jar internal wall, improve cleaning efficiency.
2. This jar is developed to SBS modified asphalt of conveniently clearing up inner wall is provided with stopper, bracing piece, thread groove, threaded rod and backup pad, through rotating the threaded rod, makes backup pad laminating ground for the support tank body can produce when the device operation and rock, can lead to the jar body to empty, and this device is used for the support tank body to prevent that the jar body from empting.
Drawings
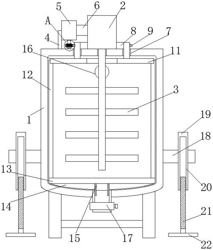
Fig. 1 is a schematic front view of a cross-sectional structure of the present invention;
fig. 2 is a schematic side view of the cross-sectional structure of the present invention;
fig. 3 is a schematic top view of the present invention;
fig. 4 is an enlarged schematic structural diagram of a point a in fig. 1 according to the present invention.
In the figure: 1. a tank body; 2. a first motor; 3. a stirring paddle; 4. a fixing plate; 5. a second motor; 6. a fixed block; 7. an annular groove; 8. a ring plate; 9. an annular rack; 10. a gear; 11. a rotating plate; 12. a first scraper; 13. rotating the rod; 14. a second scraper; 15. a limiting column; 16. a feed pipe; 17. a discharge pipe; 18. a limiting block; 19. a support bar; 20. a thread groove; 21. a threaded rod; 22. and a support plate.
Detailed Description
The technical solutions in the embodiments of the present invention will be described clearly and completely with reference to the accompanying drawings in the embodiments of the present invention, and it is obvious that the described embodiments are only some embodiments of the present invention, not all embodiments. Based on the embodiments in the present invention, all other embodiments obtained by a person skilled in the art without creative work belong to the protection scope of the present invention.
Referring to fig. 1-4, an SBS modified asphalt growth tank convenient for cleaning an inner wall includes a tank body 1, a first motor 2, a stirring paddle 3, a feeding pipe 16 and a discharging pipe 17, the first motor 2 is fixedly connected to the middle of the top end of the tank body 1, a plurality of groups of stirring paddles 3 are welded to the output end of the first motor 2, the feeding pipe 16 is embedded in the upper end of the rear side of the tank body 1, the discharging pipe 17 is embedded in the middle of the bottom end of the tank body 1, a fixing plate 4 is welded to the left side of the tank body 1, a second motor 5 is fixedly connected to the top end of the fixing plate 4, a fixing block 6 is arranged on the right side of the second motor 5, one end of the fixing block 6 is fixedly connected to the second motor 5, the other end of the fixing block 6 is fixedly connected to the first motor 2, an annular groove 7 is formed in the top end of the tank body 1, a ring plate 8, the ring plate 8 can be inserted into the inner wall of the ring groove 7 to achieve the purpose that the ring plate 8 rotates in the ring groove 7, the ring plate 8 is connected with the output end of the second motor 5 through a transmission device, the transmission device comprises a ring-shaped rack 9 and a gear 10, the surface of the upper end of the ring plate 8 is welded with the ring-shaped rack 9, the tooth pitch and the tooth size of the ring-shaped rack 9 are equal to those of the gear 10, the ring-shaped rack 9 is meshed with the gear 10 to achieve the purpose that the gear 10 drives the ring plate 8 to rotate, the ring-shaped rack 9 is meshed with the gear 10, the middle part of the gear 10 is welded on the output end of the second motor 5, the rotating plate 11 is welded at the bottom end of the ring plate 8, the first scrapers 12 are embedded in the left side and the right side of the rotating plate 11, the, the bottom of the first scraper 12 is embedded in the rotating rod 13, the second scrapers 14 are embedded in the two sides of the bottom of the rotating rod 13, the two sets of second scrapers 14 are attached to the inner wall of the tank body 1, the middle of the rotating rod 13 is welded with two sets of limiting columns 15, and the bottom of the limiting columns 15 is attached to the inner wall of the discharge pipe 17.
The welding of jar body 1 lower extreme surface has four groups of stopper 18, and the stopper 18 outside all is provided with strutting arrangement, strutting arrangement includes bracing piece 19, thread groove 20, threaded rod 21 and backup pad 22, the stopper 18 outside all is embedded to have the bracing piece 19, and the bracing piece 19 lower extreme has all seted up thread groove 20, threaded rod 21 has all been inserted to four groups of thread groove 20 inner walls, the screw thread that the screw thread 21 surface was seted up is opposite with the screw thread that the thread groove 20 inner wall was seted up, because the screw thread that the screw thread 21 surface was seted up is opposite with the screw thread that the thread groove 20 inner wall was seted up, make threaded rod 21 and 20 screw thread phase-matchs of thread groove, reach threaded rod 21 in the inside pivoted purpose of.
The working principle is as follows: when the modified asphalt adhered to the inner wall of the tank body 1 needs to be cleaned, the second motor 5 is powered on, the second motor 5 drives the gear 10 to rotate, the gear 10 drives the annular rack 9 to rotate, the annular rack 9 drives the annular plate 8 to rotate, the annular plate 8 is made to rotate inside the annular groove 7, when the annular plate 8 rotates, the annular plate 8 drives the rotating plate 11 to rotate, the rotating plate 11 drives the first scraper 12 to rotate, the first scraper 12 drives the rotating rod 13 to rotate, the rotating rod 13 drives the second scraper 14 and the limiting column 15 to rotate, the limiting column 15 is made to be adhered to the inner wall of the discharge pipe 17 to rotate, and when the first scraper 12 and the second scraper 14 are adhered to the inner wall of the tank body 1 to rotate, the purpose of scraping the modified asphalt adhered to the inner wall of the tank body 1.
When the tank body 1 needs to be supported, the threaded rod 21 is rotated in the threaded groove 20 by rotating the threaded rod 21, the threaded rod 21 moves in the threaded groove 20 due to the fact that the threaded rod 21 is matched with the threads of the threaded groove 20, the threaded rod 21 pushes the supporting plate 22 to move, and when the supporting plate 22 is in contact with the ground, the purpose of supporting the tank body 1 is achieved.
It is obvious to a person skilled in the art that the invention is not restricted to details of the above-described exemplary embodiments, but that it can be implemented in other specific forms without departing from the spirit or essential characteristics of the invention. The present embodiments are therefore to be considered in all respects as illustrative and not restrictive, the scope of the invention being indicated by the appended claims rather than by the foregoing description, and all changes which come within the meaning and range of equivalency of the claims are therefore intended to be embraced therein. Any reference sign in a claim should not be construed as limiting the claim concerned.

Claims (6)

1.一种方便清理内壁的SBS改性沥青发育罐,包括罐体(1)、第一电机(2)、搅拌桨(3)、进料管(16)和出料管(17),所述罐体(1)顶端中部固定连接有第一电机(2),且第一电机(2)输出端焊接有多组搅拌桨(3),所述罐体(1)后侧上端内嵌有进料管(16),所述罐体(1)底端中部内嵌有出料管(17),其特征在于:所述罐体(1)左侧焊接有固定板(4),且固定板(4)顶端固定连接有第二电机(5),所述第二电机(5)右侧设置有固定块(6),所述固定块(6)一端固定连接在第二电机(5)上,所述固定块(6)另一端固定连在第一电机(2)上,所述罐体(1)顶端开设有环形槽(7),且环形槽(7)内壁插入有环板(8),所述环板(8)通过传动装置与第二电机(5)输出端连接,所述环板(8)底端焊接有转动板(11),且转动板(11)左右两侧皆内嵌有第一刮刀(12),两组所述第一刮刀(12)外侧皆贴合罐体(1)内壁,所述第一刮刀(12)底端皆内嵌在转动杆(13)上,且转动杆(13)底端两侧皆内嵌有第二刮刀(14),两组所述第二刮刀(14)皆贴合罐体(1)内壁,所述转动杆(13)中部焊接有两组限位柱(15),且限位柱(15)底端皆贴合出料管(17)内壁。1. An SBS modified asphalt development tank for easy cleaning of the inner wall, comprising a tank body (1), a first motor (2), a stirring paddle (3), a feed pipe (16) and a discharge pipe (17), so A first motor (2) is fixedly connected to the top middle of the tank body (1), and a plurality of groups of stirring paddles (3) are welded to the output end of the first motor (2). A feed pipe (16), a discharge pipe (17) is embedded in the middle of the bottom end of the tank body (1), and is characterized in that: a fixing plate (4) is welded on the left side of the tank body (1), and is fixed A second motor (5) is fixedly connected to the top of the plate (4), a fixing block (6) is arranged on the right side of the second motor (5), and one end of the fixing block (6) is fixedly connected to the second motor (5) The other end of the fixing block (6) is fixedly connected to the first motor (2), the top of the tank body (1) is provided with an annular groove (7), and an annular plate (7) is inserted into the inner wall of the annular groove (7). 8), the ring plate (8) is connected with the output end of the second motor (5) through a transmission device, the bottom end of the ring plate (8) is welded with a rotating plate (11), and the left and right sides of the rotating plate (11) A first scraper (12) is embedded in both, the outer sides of the two sets of first scrapers (12) are both fitted to the inner wall of the tank body (1), and the bottom ends of the first scrapers (12) are embedded in the rotating rod (13). ), and a second scraper (14) is embedded on both sides of the bottom end of the rotating rod (13), and the two sets of second scrapers (14) are all fitted to the inner wall of the tank body (1), and the rotating rod (13) ) are welded with two sets of limit posts (15) in the middle, and the bottom ends of the limit posts (15) are all fitted with the inner wall of the discharge pipe (17). 2.根据权利要求1所述的一种方便清理内壁的SBS改性沥青发育罐,其特征在于:所述罐体(1)下端表面焊接有四组限位块(18),且限位块(18)外侧皆设置有支撑装置。2. A kind of SBS modified asphalt development tank which is convenient for cleaning the inner wall according to claim 1, is characterized in that: four groups of limit blocks (18) are welded on the lower surface of the tank body (1), and the limit blocks (18) A support device is provided on the outside. 3.根据权利要求1所述的一种方便清理内壁的SBS改性沥青发育罐,其特征在于:所述传动装置包括环形齿条(9)和齿轮(10),所述环板(8)上端表面焊接有环形齿条(9),且环形齿条(9)啮合连接有齿轮(10),所述齿轮(10)中部焊接在第二电机(5)输出端上。3. A kind of SBS modified asphalt development tank for easy cleaning of inner wall according to claim 1, characterized in that: the transmission device comprises an annular rack (9) and a gear (10), and the annular plate (8) A ring gear (9) is welded on the upper end surface, and the ring gear (9) is meshed with a gear (10), and the middle of the gear (10) is welded on the output end of the second motor (5). 4.根据权利要求2所述的一种方便清理内壁的SBS改性沥青发育罐,其特征在于:所述支撑装置包括支撑杆(19)、螺纹槽(20)、螺纹杆(21)和支撑板(22),所述限位块(18)外侧皆内嵌有支撑杆(19),且支撑杆(19)下端皆开设有螺纹槽(20),四组所述螺纹槽(20)内壁皆插入有螺纹杆(21),且螺纹杆(21)底端焊接有支撑板(22)。4. A kind of SBS modified asphalt development tank for easy cleaning of inner wall according to claim 2, characterized in that: the support device comprises a support rod (19), a threaded groove (20), a threaded rod (21) and a support A plate (22), a support rod (19) is embedded in the outer side of the limit block (18), and the lower end of the support rod (19) is provided with a threaded groove (20), and the inner walls of the four sets of the threaded groove (20) A threaded rod (21) is inserted into both, and a support plate (22) is welded at the bottom end of the threaded rod (21). 5.根据权利要求1所述的一种方便清理内壁的SBS改性沥青发育罐,其特征在于:所述环板(8)设置的尺寸与环形槽(7)内壁尺寸相匹配。5 . The SBS modified asphalt development tank according to claim 1 , wherein the size of the ring plate ( 8 ) matches the size of the inner wall of the annular groove ( 7 ). 6 . 6.根据权利要求3所述的一种方便清理内壁的SBS改性沥青发育罐,其特征在于:所述环形齿条(9)设置的齿距和齿牙与齿轮(10)设置的齿距和齿牙大小相等。6. A kind of SBS modified asphalt development tank that is convenient for cleaning inner wall according to claim 3, it is characterized in that: the tooth pitch that described annular rack (9) is provided with and the tooth pitch that tooth and gear (10) are provided with equal to the size of the teeth.
CN202022535820.4U 2020-11-05 2020-11-05 A kind of SBS modified asphalt development tank for easy cleaning of inner wall Expired - Fee Related CN213570320U (en)

Priority Applications (1)

Application Number Priority Date Filing Date Title
CN202022535820.4U CN213570320U (en) 2020-11-05 2020-11-05 A kind of SBS modified asphalt development tank for easy cleaning of inner wall

Applications Claiming Priority (1)

Application Number Priority Date Filing Date Title
CN202022535820.4U CN213570320U (en) 2020-11-05 2020-11-05 A kind of SBS modified asphalt development tank for easy cleaning of inner wall

Publications (1)

Publication Number Publication Date
CN213570320U true CN213570320U (en) 2021-06-29

Family

ID=76534432

Family Applications (1)

Application Number Title Priority Date Filing Date
CN202022535820.4U Expired - Fee Related CN213570320U (en) 2020-11-05 2020-11-05 A kind of SBS modified asphalt development tank for easy cleaning of inner wall

Country Status (1)

Country Link
CN (1) CN213570320U (en)

Cited By (1)

* Cited by examiner, † Cited by third party
Publication number Priority date Publication date Assignee Title
CN115974456A (en) * 2022-03-29 2023-04-18 刘雪梅 A kind of preparation method of SBS modified asphalt concrete

Cited By (1)

* Cited by examiner, † Cited by third party
Publication number Priority date Publication date Assignee Title
CN115974456A (en) * 2022-03-29 2023-04-18 刘雪梅 A kind of preparation method of SBS modified asphalt concrete

Similar Documents

Publication Publication Date Title
CN212091040U (en) A sewage treatment tank that can effectively scrape flocculation and sedimentation in sewage
CN207387993U (en) A kind of concrete high-efficiency stirrer with cleaning function
CN213570320U (en) A kind of SBS modified asphalt development tank for easy cleaning of inner wall
CN218116455U (en) A water conservancy dam construction equipment
CN215842547U (en) Medicine adding device with efficient stirring mechanism
CN212528205U (en) Vertical large-scale concrete mixer for construction
CN213797321U (en) Ready-mixed mortar storage jar with collect mortar that drops
CN212888259U (en) Concrete mixing device for construction
CN211988326U (en) A power mixer stirring device
CN215702847U (en) Concrete mixing discharging device for reinforced concrete cast-in-place construction
CN108621301A (en) A kind of concrete high-efficiency stirrer with cleaning function
CN214574573U (en) Be applied to hydraulic engineering's automatic scarfing cinder water conservancy pipeline
CN213266528U (en) Enzymolysis device for salad dressing
CN213995542U (en) Raw material stirring device for plastic production
CN209735388U (en) Mixing arrangement for organic fertilizer
CN222115644U (en) A raw material mixing device for plastic pipe processing
CN219399765U (en) Sewage stirring kettle for transformation of sewage treatment plant
CN218659808U (en) A mixer for concrete
CN220878686U (en) Stirring device convenient to clean
CN215038848U (en) Concrete mixing device capable of reducing bonding
CN218189599U (en) A high-efficiency reaction device for multiple functional components
CN221693308U (en) A material mixing device for pharmaceutical production
CN218358841U (en) Feed mixing device
CN219272888U (en) Anti-blocking device of mixer
CN220861466U (en) Low-odor sealant production reaction kettle

Legal Events

Date Code Title Description
GR01 Patent grant
GR01 Patent grant
CF01 Termination of patent right due to non-payment of annual fee

Granted publication date: 20210629

CF01 Termination of patent right due to non-payment of annual fee