CN213568876U - An efficient intelligent winding device for DC waterproof line - Google Patents

An efficient intelligent winding device for DC waterproof line Download PDF

Info

Publication number
CN213568876U
CN213568876U CN202022596510.3U CN202022596510U CN213568876U CN 213568876 U CN213568876 U CN 213568876U CN 202022596510 U CN202022596510 U CN 202022596510U CN 213568876 U CN213568876 U CN 213568876U
Authority
CN
China
Prior art keywords
frame
fixed
motor
spur gear
support frame
Prior art date
Legal status (The legal status is an assumption and is not a legal conclusion. Google has not performed a legal analysis and makes no representation as to the accuracy of the status listed.)
Expired - Fee Related
Application number
CN202022596510.3U
Other languages
Chinese (zh)
Inventor
陈美波
陈长裕
陈美端
Current Assignee (The listed assignees may be inaccurate. Google has not performed a legal analysis and makes no representation or warranty as to the accuracy of the list.)
Fuzhou Hengzhan Electronics Co ltd
Original Assignee
Fuzhou Hengzhan Electronics Co ltd
Priority date (The priority date is an assumption and is not a legal conclusion. Google has not performed a legal analysis and makes no representation as to the accuracy of the date listed.)
Filing date
Publication date
Application filed by Fuzhou Hengzhan Electronics Co ltd filed Critical Fuzhou Hengzhan Electronics Co ltd
Priority to CN202022596510.3U priority Critical patent/CN213568876U/en
Application granted granted Critical
Publication of CN213568876U publication Critical patent/CN213568876U/en
Expired - Fee Related legal-status Critical Current
Anticipated expiration legal-status Critical

Links

Images

Landscapes

  • Manufacture Of Motors, Generators (AREA)

Abstract

本实用新型公开了一种高效的DC防水线用智能缠线装置,涉及DC防水线技术领域。本实用新型包括框架和底板,框架的一端固定有第一电机,第一电机的输出端且位于框架的内侧固定有螺杆,螺杆和框架转动连接,螺杆的外侧螺纹连接有传动架,传动架的一侧固定有第二电机,第二电机的输出端固定有第一直齿轮,传动架的底端转动连接有卡杆,卡杆的外侧且与第一直齿轮相对应的位置固定有第二直齿轮。本实用新型通过一系列的传动结构的配合,使得盘线辊能够高效缠线的同时,还能保证DC线的缠绕质量,且通过一系列的调节结构的配合将盘线辊的高度进行调节,使得装置能够适配不同工作人员的身高,大大提高了装置的适用性。

Figure 202022596510

The utility model discloses an efficient intelligent winding device for DC waterproof wires, which relates to the technical field of DC waterproof wires. The utility model comprises a frame and a bottom plate, one end of the frame is fixed with a first motor, an output end of the first motor is fixed inside the frame with a screw rod, the screw rod and the frame are rotatably connected, the outer side of the screw rod is threadedly connected with a transmission frame, A second motor is fixed on one side, a first spur gear is fixed at the output end of the second motor, a clamping rod is rotatably connected to the bottom end of the transmission frame, and a second spur gear is fixed on the outer side of the clamping rod at a position corresponding to the first spur gear. Spur gears. Through the cooperation of a series of transmission structures, the utility model enables the coiling roller to wind the wire efficiently, and at the same time can ensure the winding quality of the DC wire, and adjusts the height of the coiling roller through the cooperation of a series of adjustment structures. The device can be adapted to the heights of different staff members, which greatly improves the applicability of the device.

Figure 202022596510

Description

Efficient DC is intelligent kinking device for waterproof line
Technical Field
The utility model belongs to the technical field of the waterproof line of DC, especially, relate to an intelligent kinking device is used to waterproof line of efficient DC.
Background
DC is really the meaning of english direct current, so DC line is exactly the straight flow line, in electric power working process, no matter be in the computer lab or in the open air, all need carry out recovery processing to remaining DC line to coil it through the kinking device, however, it is not too stable to have the device kinking effect a bit, makes the DC line pile up in a department easily, and can not carry out suitable regulation according to staff's height condition, makes the suitability of device reduce.
SUMMERY OF THE UTILITY MODEL
An object of the utility model is to provide an intelligent kinking device is used to waterproof line of efficient DC to current problem has been solved: some existing devices are not stable in winding effect, and the DC wires are easy to be accumulated at one position.
In order to solve the technical problem, the utility model discloses a realize through following technical scheme:
the utility model relates to an intelligent kinking device is used to waterproof line of efficient DC, including frame and bottom plate, the one end of frame is fixed with first motor, the output of first motor and the inboard that is located the frame are fixed with the screw rod, screw rod and frame rotate to be connected, the outside threaded connection of screw rod has the transmission frame, one side of transmission frame is fixed with the second motor, the output of second motor is fixed with first straight-tooth gear, the bottom of transmission frame is rotated and is connected with the kelly, the outside of kelly and the corresponding rigidity of first straight-tooth gear have the second straight-tooth gear, second straight-tooth gear and first straight-tooth gear meshing are connected, the outside of kelly is equipped with the line roller.
Further, the top of bottom plate is equipped with the support frame, one side at support frame top is fixed with the frame, the top of bottom plate and the both ends that are located the support frame all are fixed with the link, the one end of link is fixed with the cylinder pole, cylinder pole and support frame sliding connection, the opposite side at bottom plate top is fixed with the assembly jig, the top of assembly jig is fixed with the third motor, the output of third motor is fixed with the third straight-tooth gear, third straight-tooth gear and support frame meshing connection.
Furthermore, a guide rod is fixed on the inner side of the frame and at a position far away from the screw rod, and the guide rod is connected with the transmission frame in a sliding mode.
Furthermore, the bottom equipartition of bottom plate is seted up and is used for increasing the line of frictional force.
Furthermore, both ends of the support frame are fixed with matching blocks, and the support frame is connected with the cylindrical rod in a sliding mode through the matching blocks.
Furthermore, a rack is fixed on the other side of the support frame and at a position corresponding to the third straight gear, and the third straight gear is meshed and connected with the support frame through the rack.
The utility model discloses following beneficial effect has:
1. the utility model discloses a cooperation of a series of transmission structure for when the coiling roller can high-efficient kinking, can also guarantee the winding quality of DC line.
2. The utility model discloses a cooperation of a series of regulation structures is adjusted the height of coiling the line roller for the device can adapt different staff's height, has improved the suitability of device greatly.
Of course, it is not necessary for any particular product to achieve all of the above-described advantages at the same time.
Drawings
In order to more clearly illustrate the technical solutions of the embodiments of the present invention, the drawings used in the description of the embodiments will be briefly introduced below, and it is obvious that the drawings in the following description are only some embodiments of the present invention, and it is obvious for those skilled in the art that other drawings can be obtained according to these drawings without creative efforts.
FIG. 1 is a schematic view of the overall structure of the present invention;
FIG. 2 is a side view of the overall structure of the present invention;
fig. 3 is a schematic view of a connection structure of the first spur gear and the second spur gear of the present invention;
fig. 4 is a partially enlarged view of a portion a in fig. 2 according to the present invention.
In the drawings, the components represented by the respective reference numerals are listed below:
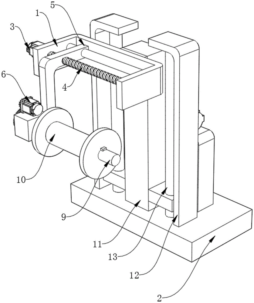
1. a frame; 2. a base plate; 3. a first motor; 4. a screw; 5. a transmission frame; 6. a second motor; 7. a first straight gear; 8. a second spur gear; 9. a clamping rod; 10. a wire coiling roller; 11. a support frame; 12. a connecting frame; 13. a cylindrical rod; 14. an assembly frame; 15. a third motor; 16. and a third spur gear.
Detailed Description
The technical solutions in the embodiments of the present invention will be described clearly and completely with reference to the accompanying drawings in the embodiments of the present invention, and it is obvious that the described embodiments are only some embodiments of the present invention, not all embodiments. Based on the embodiments of the present invention, all other embodiments obtained by a person of ordinary skill in the art without creative efforts belong to the protection scope of the present invention.
Referring to fig. 1-3, the present invention relates to an efficient intelligent winding device for DC waterproof wire, which comprises a frame 1 and a bottom plate 2, wherein the bottom of the bottom plate 2 is uniformly provided with lines for increasing friction force, one end of the frame 1 is fixed with a first motor 3, the output end of the first motor 3 and the inner side of the frame 1 are fixed with a screw 4, the screw 4 is rotatably connected with the frame 1, the outer side of the screw 4 is connected with a transmission frame 5 by screw threads, the inner side of the frame 1 and the position far away from the screw 4 are fixed with a guide rod, the guide rod is slidably connected with the transmission frame 5, the transmission frame 5 is more stable by the guide rod, one side of the transmission frame 5 is fixed with a second motor 6, the output end of the second motor 6 is fixed with a first straight gear 7, the bottom of the transmission frame 5 is rotatably connected with a clamping rod 9, the outer side of the clamping rod 9 and the position corresponding to the first straight gear 7 are fixed, the second spur gear 8 is in meshed connection with the first spur gear 7, and a coiling roller 10 is arranged on the outer side of the clamping rod 9.
Referring to fig. 1-4, a supporting frame 11 is assembled on the top of a base plate 2, one side of the top of the supporting frame 11 is fixed to a frame 1, a connecting frame 12 is fixed to the top of the base plate 2 and located at both ends of the supporting frame 11, a cylindrical rod 13 is fixed to one end of the connecting frame 12, the cylindrical rod 13 is slidably connected to the supporting frame 11, mating blocks are fixed to both ends of the supporting frame 11, the supporting frame 11 is slidably connected to the cylindrical rod 13 through the mating blocks, the mating blocks can be better connected to the cylindrical rod 13, an assembling frame 14 is fixed to the other side of the top of the base plate 2, a third motor 15 is fixed to the top of the assembling frame 14, a third spur gear 16 is fixed to an output end of the third motor 15, the third spur gear 16 is engaged with the supporting frame 11, a rack is fixed to the other side of the supporting frame 11 and corresponds to the third spur gear 16, the third spur gear 16 is, the rack gear can be better engaged with the third spur gear 16.
One specific application of this embodiment is: firstly, a third motor 15 electrically connected with an external power supply drives a third spur gear 16 to rotate, under the meshing connection of the third spur gear 16 and a support frame 11, the support frame 11 drives the frame 1 to be adjusted upwards under the restriction of the cylindrical rod 13, so that the height of the wire coiling roller 10 is adjusted to a designated position, and then the second motor 6 electrically connected with an external power supply drives the first straight gear 7 to rotate, under the meshing connection of the first straight gear 7 and the second straight gear 8, the clamping rod 9 can drive the cam roller 10 to rotate, further, the DC wire can be wound on the outer side of the wire coiling roller 10, meanwhile, the first motor 3 electrically connected with the external power supply can be used for driving the screw rod 4 to rotate, under the threaded connection of the screw rod 4 and the driving frame 5, the driving frame 5 can stably drive the wire coiling roller 10 to move under the limitation of the guide rod, and then the DC wire can be orderly wound on the surface of the wire coiling roller 10.
In the description herein, references to the description of "one embodiment," "an example," "a specific example," etc., mean that a particular feature, structure, material, or characteristic described in connection with the embodiment or example is included in at least one embodiment or example of the invention. In this specification, the schematic representations of the terms used above do not necessarily refer to the same embodiment or example. Furthermore, the particular features, structures, materials, or characteristics described may be combined in any suitable manner in any one or more embodiments or examples.
The preferred embodiments of the present invention disclosed above are intended only to help illustrate the present invention. The preferred embodiments are not intended to be exhaustive or to limit the invention to the precise embodiments disclosed. Obviously, many modifications and variations are possible in light of the above teaching. The embodiments were chosen and described in order to best explain the principles of the invention and its practical applications, to thereby enable others skilled in the art to best understand the invention for and utilize the invention. The present invention is limited only by the claims and their full scope and equivalents.

Claims (6)

1.一种高效的DC防水线用智能缠线装置,包括框架(1)和底板(2),其特征在于:所述框架(1)的一端固定有第一电机(3),所述第一电机(3)的输出端且位于框架(1)的内侧固定有螺杆(4),所述螺杆(4)和框架(1)转动连接,所述螺杆(4)的外侧螺纹连接有传动架(5),所述传动架(5)的一侧固定有第二电机(6),所述第二电机(6)的输出端固定有第一直齿轮(7),所述传动架(5)的底端转动连接有卡杆(9),所述卡杆(9)的外侧且与第一直齿轮(7)相对应的位置固定有第二直齿轮(8),所述第二直齿轮(8)和第一直齿轮(7)啮合连接,所述卡杆(9)的外侧装配有盘线辊(10)。1. An efficient intelligent winding device for DC waterproof lines, comprising a frame (1) and a bottom plate (2), characterized in that: one end of the frame (1) is fixed with a first motor (3), and the first motor (3) is fixed at one end of the frame (1). An output end of the motor (3) and located inside the frame (1) is fixed with a screw (4), the screw (4) is rotatably connected to the frame (1), and the outer side of the screw (4) is threadedly connected with a transmission frame (5), a second motor (6) is fixed on one side of the transmission frame (5), a first spur gear (7) is fixed at the output end of the second motor (6), and the transmission frame (5) The bottom end of ) is rotatably connected with a clamping rod (9), and a second spur gear (8) is fixed on the outer side of the clamping rod (9) and at a position corresponding to the first spur gear (7). The gear (8) is meshed with the first spur gear (7), and the outer side of the clamping rod (9) is equipped with a coil roller (10). 2.根据权利要求1所述的一种高效的DC防水线用智能缠线装置,其特征在于,所述底板(2)的顶端装配有支撑架(11),所述支撑架(11)顶部的一侧与框架(1)固定,所述底板(2)的顶部且位于支撑架(11)的两端均固定有连接架(12),所述连接架(12)的一端固定有圆柱杆(13),所述圆柱杆(13)和支撑架(11)滑动连接,所述底板(2)顶部的另一侧固定有装配架(14),所述装配架(14)的顶端固定有第三电机(15),所述第三电机(15)的输出端固定有第三直齿轮(16),所述第三直齿轮(16)和支撑架(11)啮合连接。2. An efficient smart winding device for DC waterproof line according to claim 1, characterized in that a support frame (11) is assembled on the top of the bottom plate (2), and the top of the support frame (11) is One side of the base plate (1) is fixed with the frame (1), a connecting frame (12) is fixed on the top of the bottom plate (2) and at both ends of the support frame (11), and a cylindrical rod is fixed at one end of the connecting frame (12). (13), the cylindrical rod (13) and the support frame (11) are slidably connected, the other side of the top of the bottom plate (2) is fixed with an assembly frame (14), and the top of the assembly frame (14) is fixed with a A third motor (15), an output end of the third motor (15) is fixed with a third spur gear (16), and the third spur gear (16) is meshed with the support frame (11). 3.根据权利要求1所述的一种高效的DC防水线用智能缠线装置,其特征在于,所述框架(1)的内侧且远离螺杆(4)的位置固定有导向杆,所述导向杆和传动架(5)滑动连接。3. An efficient smart winding device for DC waterproof wire according to claim 1, characterized in that, a guide rod is fixed inside the frame (1) and at a position away from the screw (4), and the guide The rod and the transmission frame (5) are slidably connected. 4.根据权利要求1所述的一种高效的DC防水线用智能缠线装置,其特征在于,所述底板(2)的底端均布开设有用来增大摩擦力的纹路。4 . The efficient smart winding device for DC waterproof wire according to claim 1 , wherein the bottom end of the bottom plate ( 2 ) is uniformly provided with lines for increasing friction. 5 . 5.根据权利要求2所述的一种高效的DC防水线用智能缠线装置,其特征在于,所述支撑架(11)的两端均固定有配合块,所述支撑架(11)通过配合块与圆柱杆(13)滑动连接。5. An efficient intelligent winding device for DC waterproof line according to claim 2, characterized in that, both ends of the support frame (11) are fixed with matching blocks, and the support frame (11) passes through The mating block is slidably connected with the cylindrical rod (13). 6.根据权利要求2所述的一种高效的DC防水线用智能缠线装置,其特征在于,所述支撑架(11)的另一侧且与第三直齿轮(16)相对应的位置固定有齿条,所述第三直齿轮(16)通过齿条与支撑架(11)啮合连接。6 . An efficient smart winding device for DC waterproof wire according to claim 2 , wherein the other side of the support frame ( 11 ) is at a position corresponding to the third spur gear ( 16 ). 7 . A rack is fixed, and the third spur gear (16) is meshed and connected with the support frame (11) through the rack.
CN202022596510.3U 2020-11-11 2020-11-11 An efficient intelligent winding device for DC waterproof line Expired - Fee Related CN213568876U (en)

Priority Applications (1)

Application Number Priority Date Filing Date Title
CN202022596510.3U CN213568876U (en) 2020-11-11 2020-11-11 An efficient intelligent winding device for DC waterproof line

Applications Claiming Priority (1)

Application Number Priority Date Filing Date Title
CN202022596510.3U CN213568876U (en) 2020-11-11 2020-11-11 An efficient intelligent winding device for DC waterproof line

Publications (1)

Publication Number Publication Date
CN213568876U true CN213568876U (en) 2021-06-29

Family

ID=76536561

Family Applications (1)

Application Number Title Priority Date Filing Date
CN202022596510.3U Expired - Fee Related CN213568876U (en) 2020-11-11 2020-11-11 An efficient intelligent winding device for DC waterproof line

Country Status (1)

Country Link
CN (1) CN213568876U (en)

Cited By (1)

* Cited by examiner, † Cited by third party
Publication number Priority date Publication date Assignee Title
CN115164675A (en) * 2022-09-07 2022-10-11 广东电网有限责任公司肇庆供电局 Cable coil length measuring device

Cited By (1)

* Cited by examiner, † Cited by third party
Publication number Priority date Publication date Assignee Title
CN115164675A (en) * 2022-09-07 2022-10-11 广东电网有限责任公司肇庆供电局 Cable coil length measuring device

Similar Documents

Publication Publication Date Title
CN115424857B (en) A quick winding device of coil for transformer manufacturing
CN213568876U (en) An efficient intelligent winding device for DC waterproof line
CN210393189U (en) Winding device for optical cable production
CN209880400U (en) Automatic winding device for transformer iron core
CN213834086U (en) Automatic take-up device for electric power engineering
CN215974322U (en) Cable draw gear that electric power construction used
CN207998377U (en) A kind of Portable power box with automatic wire winding function
CN219677058U (en) Winding device of electronic transformer
CN220165459U (en) Take-up device for line installation
CN212848047U (en) Winding device for transformer iron core
CN114284063B (en) Ultra-miniature high-power inductance winding device
CN216335833U (en) Copper line wire winding frock
CN211310401U (en) Automatic wire arranging device suitable for cable production
CN222965928U (en) Inductor equipment
CN218057902U (en) An automatic winding device for cables with a deflection correcting structure
CN222099249U (en) Automatic wire winding device for power engineering
CN207705959U (en) High-efficiency permanent magnetic DC motor
CN218275904U (en) A conveniently adjustable cable rack for power engineering
CN221833222U (en) Cutting device for wire and cable production
CN218434260U (en) Copper wire winding machine
CN219066625U (en) Wire reel tightening device
CN215343528U (en) Indoor block terminal of improved generation convenient to installation
CN223451405U (en) Adjustable wiring clamp for intelligent security weak current box
CN119306042B (en) A trade a roll auxiliary structure for photovoltaic solder strip rolling
CN218174262U (en) A winding device with positioning function for wire and cable production

Legal Events

Date Code Title Description
GR01 Patent grant
GR01 Patent grant
CF01 Termination of patent right due to non-payment of annual fee
CF01 Termination of patent right due to non-payment of annual fee

Granted publication date: 20210629