CN213562310U - Movable puller device - Google Patents

Movable puller device Download PDF

Info

Publication number
CN213562310U
CN213562310U CN202022240591.3U CN202022240591U CN213562310U CN 213562310 U CN213562310 U CN 213562310U CN 202022240591 U CN202022240591 U CN 202022240591U CN 213562310 U CN213562310 U CN 213562310U
Authority
CN
China
Prior art keywords
fixing frame
plate
seat plate
seat
stably
Prior art date
Legal status (The legal status is an assumption and is not a legal conclusion. Google has not performed a legal analysis and makes no representation as to the accuracy of the status listed.)
Expired - Fee Related
Application number
CN202022240591.3U
Other languages
Chinese (zh)
Inventor
杨超民
郑峰
闻行达
陆雪林
孟成杰
Current Assignee (The listed assignees may be inaccurate. Google has not performed a legal analysis and makes no representation or warranty as to the accuracy of the list.)
Suzhou Zhenlun Biomass Fiber Co ltd
Original Assignee
Suzhou Zhenlun Biomass Fiber Co ltd
Priority date (The priority date is an assumption and is not a legal conclusion. Google has not performed a legal analysis and makes no representation as to the accuracy of the date listed.)
Filing date
Publication date
Application filed by Suzhou Zhenlun Biomass Fiber Co ltd filed Critical Suzhou Zhenlun Biomass Fiber Co ltd
Priority to CN202022240591.3U priority Critical patent/CN213562310U/en
Application granted granted Critical
Publication of CN213562310U publication Critical patent/CN213562310U/en
Expired - Fee Related legal-status Critical Current
Anticipated expiration legal-status Critical

Links

Images

Landscapes

  • Chairs Characterized By Structure (AREA)

Abstract

本实用新型公开了一种可移动拉马装置,包括稳定座、固定架和夹持机构,所述稳定座包括座板和驱动机构,所述驱动机构安装在座板的上端,且驱动机构与座板转动连接,所述固定架安装在座板的上端面,且固定架安装在座板滑动连接,所述夹持机构均匀的设置在固定架的上端,且夹持机构与固定架转动连接,方便使用者在需要使用的时候可以稳定的通过座板来放置在地面上来使用,然后控制螺纹套收缩起来,保证设备可以稳定的放置在立杆上,然后通过挂杆来稳定的将设备卡住,然后控制螺纹套升起来将设备稳定的卡住,保证设备与挂杆之间连接的稳定性,在使用的过程中如果需要进行移动使用者可以稳定的手持转动盘来转动螺纹杆。

Figure 202022240591

The utility model discloses a movable puller device, which comprises a stable seat, a fixing frame and a clamping mechanism. The stable seat includes a seat plate and a driving mechanism. The driving mechanism is installed on the upper end of the seat plate, and the driving mechanism is connected to the seat plate. The plate is rotated and connected, the fixing frame is installed on the upper end face of the seat plate, and the fixing frame is installed in the sliding connection of the seat plate. The clamping mechanism is evenly arranged on the upper end of the fixing frame, and the clamping mechanism and the fixing frame are rotatably connected, which is convenient to use. When the user needs to use it, they can stably place it on the ground through the seat plate, and then control the threaded sleeve to shrink to ensure that the device can be stably placed on the pole, and then the device can be stably stuck by hanging the pole, and then The control threaded sleeve rises to hold the device stably to ensure the stability of the connection between the device and the hanging rod. If it is necessary to move during use, the user can stably hold the rotating disk to rotate the threaded rod.

Figure 202022240591

Description

Movable puller device
Technical Field
The utility model relates to a draw horse equipment technical field specifically is a portable draw horse device.
Background
Three-jaw pullers are frequently used tools in mechanical maintenance. The bearing is mainly used for axially dismounting a damaged bearing from a shaft and mainly comprises a rotating handle, a screw rod and a pulling claw. When the bearing dismounting tool is used, the screw tip is positioned in the shaft end tip hole to adjust the position of the pull claw, so that the pull claw is hooked on the outer ring of the bearing, and the pull claw drives the bearing to move outwards along the axial direction to be dismounted by rotating the rotary handle.
The utility model discloses an inventor discovers, current draw horse equipment simple structure, and stability is relatively poor at the in-process of in-service use, and is stable inadequately at the in-process equipment of operation like this to the in-process that uses adopts fixed mode to carry out the operation mostly, can't remove the use at the in-process of operation, operates not nimble enough like this, and the limitation is great that uses.
SUMMERY OF THE UTILITY MODEL
An object of the utility model is to provide a portable horse device that draws, aim at improving current horse equipment structure that draws simple, at the in-process stability of in-service use relatively poor, the in-process equipment of operation is stable inadequately like this to the in-process that uses is mostly all to adopt fixed mode to carry out the operation, can't remove the use at the in-process of operation, and the operation is got up in a flexible way inadequately like this, uses the great problem of limitation.
The utility model discloses a realize like this:
a movable puller device comprises a stabilizing seat, a fixing frame and a clamping mechanism, wherein the stabilizing seat comprises a seat plate and a driving mechanism, the driving mechanism is installed at the upper end of the seat plate, the driving mechanism is rotatably connected with the seat plate, the fixing frame is installed on the upper end face of the seat plate, the fixing frame is installed on the seat plate in a sliding connection mode, the clamping mechanism is uniformly arranged at the upper end of the fixing frame, and the clamping mechanism is rotatably connected with the fixing frame, so that the problems that the existing puller device is simple in structure and poor in stability in the actual use process, equipment is not stable enough in the operation process, most of the equipment is operated in a fixed mode in the use process, and cannot be moved and used in the operation process, the operation is not flexible enough, the limitation is large in use are solved, and the stability of the equipment in the use process can be stably ensured through the seat plate by the structural arrangement of the stabilizing seat, meanwhile, the purpose of stably controlling the fixed frame to move is achieved through the arrangement of the driving mechanism, the stable installation of the clamping mechanism is guaranteed to be used through the arrangement of the fixed frame, and meanwhile, the clamping mechanism is arranged to facilitate a user to clamp the fixing equipment to use.
Furthermore, a limiting groove is symmetrically formed in the middle of the seat plate, a limiting block matched with the limiting groove is arranged on the lower end face of the fixing frame, the limiting block is fixedly connected with the fixing frame, the limiting groove is arranged to limit the fixing frame, and meanwhile the purpose that the fixing frame stably slides in the limiting groove is achieved conveniently through the limiting block.
Furthermore, actuating mechanism includes swash plate and threaded rod, the threaded rod rotates and installs the middle part at the swash plate, the head fixed mounting of threaded rod has the rolling disc, guarantees through the structure setting to actuating mechanism that the user can be stable installs the threaded rod through the swash plate and uses, controls the purpose of thread bush position through the setting to the threaded rod simultaneously, guarantees through the setting to the rolling disc that the user can rotate the threaded rod better and use.
Further, the mount includes bottom plate, pole setting and multijaw frame, pole setting vertical fixation is at the up end of bottom plate, multijaw frame fixed mounting is at the up end of pole setting, the side of bottom plate still fixed mounting have with threaded rod matched with thread bush, guarantee through the structure setting to the mount that the user can be stable support the pole setting through the bottom plate and use, come stable installation fixture to use through the setting to multijaw frame simultaneously.
Further, fixture includes connecting plate and peg, the peg is installed at the head of connecting plate, and the peg rotates with the connecting plate to be connected, guarantees through the structure setting to fixture that the user can be stable installs the peg through the connecting plate and uses, comes to carry out the centre gripping to equipment through the peg simultaneously and uses.
Furthermore, the middle part of the bottom plate is also provided with a hydraulic cylinder, the hydraulic cylinder is fixedly connected with the bottom plate, and a user can conveniently control the lifting to support the hydraulic cylinder for use.
Compared with the prior art, the beneficial effects of the utility model are that: the utility model designs a movable puller device by researching the traditional puller arrangement structure and the use process, which is convenient for a user to stably place on the ground through the seat plate for use when in need, then the thread bushing is controlled to shrink, the equipment can be stably placed on the upright stanchion, then the equipment is stably clamped by the hanging rod, then the thread bushing is controlled to be lifted to stably clamp the equipment, the stability of the connection between the equipment and the hanging rod is ensured, the user can stably hold the rotating disc to rotate the threaded rod if the user needs to move during the use process, the purpose of driving the fixing frame to move stably is achieved through the matching between the threaded rod and the threaded sleeve, and then drive stable synchronous removal of fixture and use to the stability of in-process is guaranteed moving through mutually supporting between stopper and the spacing groove at the in-process that removes.
Drawings
In order to more clearly illustrate the technical solutions of the embodiments of the present invention, the drawings that are required to be used in the embodiments will be briefly described below, it should be understood that the following drawings only illustrate some embodiments of the present invention, and therefore should not be considered as limiting the scope, and for those skilled in the art, other related drawings can be obtained according to the drawings without inventive efforts.
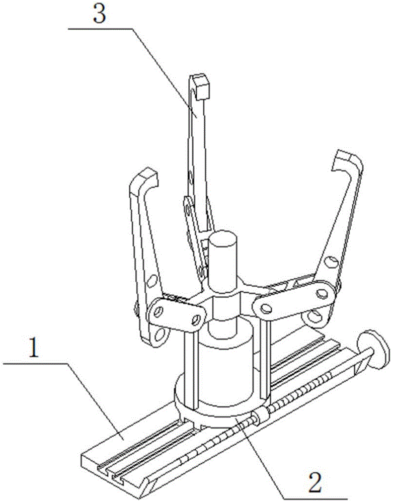
Fig. 1 is a perspective view of the device of the present invention;
FIG. 2 is a left side view of the device of FIG. 1;
FIG. 3 is a front view of the device of FIG. 1;
fig. 4 is a top view of the device of fig. 1.
In the figure: 1. a stabilizing base; 11. a seat plate; 111. a limiting groove; 12. a drive mechanism; 121. a sloping plate; 122. a threaded rod; 123. rotating the disc; 2. a fixed mount; 20. a limiting block; 21. a base plate; 211. a threaded sleeve; 212. a hydraulic cylinder; 22. erecting a rod; 23. a multi-claw frame; 3. a clamping mechanism; 31. a connecting plate; 32. a hanging rod.
Detailed Description
To make the objects, technical solutions and advantages of the embodiments of the present invention clearer, the drawings of the embodiments of the present invention are combined to clearly and completely describe the technical solutions of the embodiments of the present invention, and obviously, the described embodiments are some embodiments of the present invention, not all embodiments. Based on the embodiments in the present invention, all other embodiments obtained by a person skilled in the art without creative work belong to the protection scope of the present invention. Thus, the following detailed description of the embodiments of the present invention, presented in the accompanying drawings, is not intended to limit the scope of the invention, as claimed, but is merely representative of selected embodiments of the invention.
Referring to fig. 1, 2, 3 and 4, a movable puller device comprises a stabilizing base 1, a fixing frame 2 and a clamping mechanism 3, wherein the stabilizing base 1 comprises a seat plate 11 and a driving mechanism 12, the structural arrangement of the stabilizing base 1 ensures that a user can stably ensure the stability of equipment in the using process through the seat plate 11, meanwhile, the purpose of stably controlling the fixing frame 2 to move is realized through the arrangement of the driving mechanism 12, the driving mechanism 12 is installed at the upper end of the seat plate 11, the driving mechanism 12 is rotatably connected with the seat plate 11, the movable puller device is designed by researching the traditional puller arrangement structure and the using process, the user can stably place the equipment on a vertical rod 22 through the seat plate 11 when the equipment needs to be used, then a threaded sleeve 211 is controlled to shrink on the ground, and the equipment can be stably placed on the vertical rod 22, then the equipment is stably clamped through the hanging rod 32, then the threaded sleeve 211 is controlled to be lifted to stably clamp the equipment, the stability of connection between the equipment and the hanging rod 32 is ensured, a user can stably hold the rotating disc 123 to rotate the threaded rod 122 if the equipment needs to be moved in the using process, the purpose of stably moving the fixing frame 2 is driven through the matching between the threaded rod 122 and the threaded sleeve 211, the clamping mechanism 3 is further driven to stably and synchronously move for use, and the stability in the moving process is ensured through the mutual matching between the limiting block 20 and the limiting groove 111 in the moving process, the problems that the existing horse pulling equipment is simple in structure and poor in stability in the actual using process are effectively solved, so that the equipment is not stable enough in the operating process, and most of the equipment is operated in a fixing mode in the using process are solved, the movable use can not be carried out in the operation process, so the operation is not flexible enough, and the limitation is large in use;
the middle part of the seat plate 11 is symmetrically provided with limit grooves 111, the lower end surface of the fixing frame 2 is provided with limit blocks 20 matched with the limit grooves 111, the limit blocks 20 are fixedly connected with the fixing frame 2, the limit of the fixing frame 2 is ensured by the arrangement of the limit grooves 111, meanwhile, the purpose of facilitating the stable sliding of the fixing frame 2 in the limit groove 111 is achieved by arranging the limit block 20, the driving mechanism 12 comprises an inclined plate 121 and a threaded rod 122, the threaded rod 122 is rotatably installed in the middle of the inclined plate 121, a rotating disc 123 is fixedly installed at the head of the threaded rod 122, by providing the drive mechanism 12 with a structure that ensures that the user can use the swash plate 121 to stably mount the threaded rod 122, meanwhile, the position of the threaded sleeve 211 is controlled by setting the threaded rod 122, and a user can better rotate the threaded rod 122 for use by setting the rotating disc 123;
the fixed mount 2 is arranged on the upper end surface of the seat board 11, and the fixed mount 2 is arranged on the seat board 11 in sliding connection, the stable installation of the clamping mechanism 3 is ensured by arranging the fixing frame 2, the fixing frame 2 comprises a bottom plate 21, an upright rod 22 and a multi-claw frame 23, the upright rod 22 is vertically fixed on the upper end surface of the bottom plate 21, the multi-claw frame 23 is fixedly arranged on the upper end surface of the upright rod 22, a thread sleeve 211 matched with the thread rod 122 is also fixedly arranged on the side surface of the bottom plate 21, the structural arrangement of the fixing frame 2 ensures that a user can stably support the upright 22 through the bottom plate 21 for use, meanwhile, the clamping mechanism 3 is stably installed for use through the arrangement of the multiple claws 23, the middle part of the bottom plate 21 is also provided with a hydraulic cylinder 212, the hydraulic cylinder 212 is fixedly connected with the bottom plate 21, the hydraulic cylinder 212 is arranged, so that a user can control lifting to support the arrangement for use;
fixture 3 even setting is in the upper end of mount 2, and fixture 3 rotates with mount 2 to be connected, the while is to fixture 3's setting come the convenience of customers centre gripping fixed equipment and use, fixture 3 includes connecting plate 31 and peg 32, the head at connecting plate 31 is installed to peg 32, and peg 32 rotates with connecting plate 31 to be connected, it uses to guarantee through the connecting plate 31 that the user can be stable to install peg 32 through the structure setting to fixture 3, come to carry out the centre gripping to equipment through peg 32 simultaneously and use.
The device obtained by the design can basically meet the use requirement of a movable puller device, but the designer further improves the device with the aim of further improving the function of the device.
The above description is only a preferred embodiment of the present invention and is not intended to limit the present invention, and various modifications and changes may be made by those skilled in the art. Any modification, equivalent replacement, or improvement made within the spirit and principle of the present invention should be included in the protection scope of the present invention.

Claims (6)

1.一种可移动拉马装置,包括稳定座(1)、固定架(2)和夹持机构(3),其特征在于:所述稳定座(1)包括座板(11)和驱动机构(12),所述驱动机构(12)安装在座板(11)的上端,且驱动机构(12)与座板(11)转动连接,所述固定架(2)安装在座板(11)的上端面,且固定架(2)安装在座板(11)滑动连接,所述夹持机构(3)均匀的设置在固定架(2)的上端,且夹持机构(3)与固定架(2)转动连接。1. A movable puller device, comprising a stable seat (1), a fixing frame (2) and a clamping mechanism (3), characterized in that: the stable seat (1) comprises a seat plate (11) and a driving mechanism (12), the driving mechanism (12) is installed on the upper end of the seat plate (11), and the driving mechanism (12) is rotatably connected with the seat plate (11), and the fixing frame (2) is installed on the upper end of the seat plate (11) and the fixing frame (2) is installed on the seat plate (11) for sliding connection, the clamping mechanism (3) is evenly arranged on the upper end of the fixing frame (2), and the clamping mechanism (3) is connected to the fixing frame (2) Turn the connection. 2.根据权利要求1所述的一种可移动拉马装置,其特征在于,所述座板(11)的中部对称开设有限位槽(111),所述固定架(2)的下端面设置有与限位槽(111)相配合的限位块(20),所述限位块(20)与固定架(2)固定连接。2 . The movable puller device according to claim 1 , wherein a limiting groove ( 111 ) is symmetrically provided in the middle of the seat plate ( 11 ), and a lower end surface of the fixing frame ( 2 ) is provided with There is a limit block (20) matched with the limit groove (111), and the limit block (20) is fixedly connected with the fixing frame (2). 3.根据权利要求2所述的一种可移动拉马装置,其特征在于,所述驱动机构(12)包括斜板(121)和螺纹杆(122),所述螺纹杆(122)转动安装在斜板(121)的中部,所述螺纹杆(122)的头部固定安装有转动盘(123)。3. A movable puller device according to claim 2, characterized in that, the drive mechanism (12) comprises an inclined plate (121) and a threaded rod (122), and the threaded rod (122) is rotatably installed In the middle of the inclined plate (121), a rotating disk (123) is fixedly installed on the head of the threaded rod (122). 4.根据权利要求3所述的一种可移动拉马装置,其特征在于,所述固定架(2)包括底板(21)、立杆(22)和多爪架(23),所述立杆(22)垂直固定在底板(21)的上端面,所述多爪架(23)固定安装在立杆(22)的上端面,所述底板(21)的侧面还固定安装有与螺纹杆(122)相配合的螺纹套(211)。4. A movable puller device according to claim 3, characterized in that the fixed frame (2) comprises a bottom plate (21), a vertical rod (22) and a multi-claw frame (23), the vertical frame (2) The rod (22) is vertically fixed on the upper end surface of the bottom plate (21), the multi-claw frame (23) is fixedly mounted on the upper end surface of the vertical rod (22), and the side surface of the bottom plate (21) is also fixedly mounted with a threaded rod. (122) Matching threaded sleeve (211). 5.根据权利要求4所述的一种可移动拉马装置,其特征在于,所述夹持机构(3)包括连接板(31)和挂杆(32),所述挂杆(32)安装在连接板(31)的头部,且挂杆(32)与连接板(31)转动连接。5. A movable puller device according to claim 4, characterized in that, the clamping mechanism (3) comprises a connecting plate (31) and a hanging rod (32), and the hanging rod (32) is installed At the head of the connecting plate (31), and the hanging rod (32) is rotatably connected with the connecting plate (31). 6.根据权利要求5所述的一种可移动拉马装置,其特征在于,所述底板(21)的中部还设置有液压缸(212),所述液压缸(212)与底板(21)固定连接。6 . The movable puller device according to claim 5 , wherein a hydraulic cylinder ( 212 ) is further provided in the middle of the bottom plate ( 21 ), and the hydraulic cylinder ( 212 ) is connected to the bottom plate ( 21 ). 7 . Fixed connection.
CN202022240591.3U 2020-10-10 2020-10-10 Movable puller device Expired - Fee Related CN213562310U (en)

Priority Applications (1)

Application Number Priority Date Filing Date Title
CN202022240591.3U CN213562310U (en) 2020-10-10 2020-10-10 Movable puller device

Applications Claiming Priority (1)

Application Number Priority Date Filing Date Title
CN202022240591.3U CN213562310U (en) 2020-10-10 2020-10-10 Movable puller device

Publications (1)

Publication Number Publication Date
CN213562310U true CN213562310U (en) 2021-06-29

Family

ID=76581339

Family Applications (1)

Application Number Title Priority Date Filing Date
CN202022240591.3U Expired - Fee Related CN213562310U (en) 2020-10-10 2020-10-10 Movable puller device

Country Status (1)

Country Link
CN (1) CN213562310U (en)

Cited By (1)

* Cited by examiner, † Cited by third party
Publication number Priority date Publication date Assignee Title
CN115889326A (en) * 2022-10-31 2023-04-04 河南森空仪器设备有限公司 Glassware multistage pure water cleaning device and method

Cited By (2)

* Cited by examiner, † Cited by third party
Publication number Priority date Publication date Assignee Title
CN115889326A (en) * 2022-10-31 2023-04-04 河南森空仪器设备有限公司 Glassware multistage pure water cleaning device and method
CN115889326B (en) * 2022-10-31 2024-03-26 河南森空仪器设备有限公司 Multistage pure water cleaning device and method for glassware

Similar Documents

Publication Publication Date Title
CN210254331U (en) Quick change device that rocking arm bore cutter was used
CN111570771B (en) Shakeout treatment device and shakeout treatment method after valve casting stripping
CN213562310U (en) Movable puller device
CN216731642U (en) Jack uide bushing assembly and disassembly tools
CN110932496B (en) Large motor rotor assembly fixture and use method thereof
CN206088739U (en) Target installation tool
CN214922880U (en) A burr grinding device for cut-out press
CN207117432U (en) A kind of machine winding automatic disassembling device
CN211220253U (en) Auxiliary clamping device for elevator door plate machining
CN213004987U (en) Screw dismounting device
CN219805867U (en) Staple bolt grinding device with convenient dismouting structure
CN111293630B (en) Insulated bottle support rack front end fixing ring position adjustable device and working method thereof
CN210825220U (en) A kind of lifting device for building construction
CN221075864U (en) Camera stealthy support convenient to maintain
CN222294729U (en) Bridge supporting seat for bridge construction
CN220302567U (en) Bearing support of easily dismantling bearing
CN220807240U (en) Dismounting device for robotic arm
CN211490364U (en) A mold assembly machine
CN214604117U (en) Horizontal puller
CN207747006U (en) A kind of auxiliary device of electric screw driver
CN223198091U (en) Radial drilling machine adjusting device
CN214028725U (en) A moving tool for gypsum board materials
CN216912939U (en) Drilling clamping device for tail end flange
CN223326308U (en) Horse grab
CN223303995U (en) Stone hoisting clamp

Legal Events

Date Code Title Description
GR01 Patent grant
GR01 Patent grant
CF01 Termination of patent right due to non-payment of annual fee
CF01 Termination of patent right due to non-payment of annual fee

Granted publication date: 20210629