CN213529547U - Fertilizer production is with stirring mixing arrangement who possesses screening function - Google Patents
Fertilizer production is with stirring mixing arrangement who possesses screening function Download PDFInfo
- Publication number
- CN213529547U CN213529547U CN202021872600.4U CN202021872600U CN213529547U CN 213529547 U CN213529547 U CN 213529547U CN 202021872600 U CN202021872600 U CN 202021872600U CN 213529547 U CN213529547 U CN 213529547U
- Authority
- CN
- China
- Prior art keywords
- stirring
- box
- fixedly connected
- agitator tank
- mixing device
- Prior art date
- Legal status (The legal status is an assumption and is not a legal conclusion. Google has not performed a legal analysis and makes no representation as to the accuracy of the status listed.)
- Expired - Fee Related
Links
- 238000003756 stirring Methods 0.000 title claims abstract description 74
- 238000002156 mixing Methods 0.000 title claims abstract description 25
- 239000003337 fertilizer Substances 0.000 title claims abstract description 22
- 238000012216 screening Methods 0.000 title claims abstract description 18
- 238000004519 manufacturing process Methods 0.000 title claims abstract description 10
- 239000004744 fabric Substances 0.000 claims abstract description 6
- 239000002699 waste material Substances 0.000 claims description 17
- 238000000746 purification Methods 0.000 claims description 13
- 230000005540 biological transmission Effects 0.000 claims description 12
- XLYOFNOQVPJJNP-UHFFFAOYSA-N water Substances O XLYOFNOQVPJJNP-UHFFFAOYSA-N 0.000 claims description 8
- 239000003895 organic fertilizer Substances 0.000 claims description 6
- 239000002994 raw material Substances 0.000 abstract description 15
- 239000000428 dust Substances 0.000 abstract description 12
- 230000000694 effects Effects 0.000 abstract description 9
- 239000008187 granular material Substances 0.000 abstract description 4
- 230000010355 oscillation Effects 0.000 abstract description 4
- 238000012545 processing Methods 0.000 abstract description 4
- 238000012546 transfer Methods 0.000 abstract description 4
- 239000000463 material Substances 0.000 description 5
- 238000000034 method Methods 0.000 description 4
- 230000008901 benefit Effects 0.000 description 3
- 230000008569 process Effects 0.000 description 3
- 239000002245 particle Substances 0.000 description 2
- 238000010521 absorption reaction Methods 0.000 description 1
- 230000004075 alteration Effects 0.000 description 1
- 230000009286 beneficial effect Effects 0.000 description 1
- 238000000354 decomposition reaction Methods 0.000 description 1
- 230000007613 environmental effect Effects 0.000 description 1
- 238000002474 experimental method Methods 0.000 description 1
- 230000000813 microbial effect Effects 0.000 description 1
- 244000005700 microbiome Species 0.000 description 1
- 238000012986 modification Methods 0.000 description 1
- 230000004048 modification Effects 0.000 description 1
- 239000011368 organic material Substances 0.000 description 1
- 230000009467 reduction Effects 0.000 description 1
- 238000006467 substitution reaction Methods 0.000 description 1
Images
Landscapes
- Fertilizers (AREA)
- Processing Of Solid Wastes (AREA)
- Mixers Of The Rotary Stirring Type (AREA)
Abstract
The utility model discloses a fertilizer production is with stirring mixing arrangement who possesses screening function, including the agitator tank, left side fixedly connected with purifying box and the quick-witted case on agitator tank surface, the top of machine case is fixed with the junction of purifying box, the top fixedly connected with air exhauster of purifying box, the right side fixedly connected with dump bin on agitator tank surface, the inner chamber fixedly connected with rotating electrical machines of machine case. The utility model discloses a set up transfer line, rotating electrical machines, bearings, puddler and (mixing) shaft, can stir the raw materials, effectively promoted the stirring mixing ability of device, through setting up vibrating motor, screen cloth and fixed block, can filter the raw materials, avoided great granule to get into the condition that influences the mixed effect, through setting up exhaust column, air exhauster, exhaust pipe, purifying box and suction hood, can absorb the dust that the processing raw materials produced in the oscillation, effectively promoted the dust collection ability of device.
Description
Technical Field
The utility model relates to a fertilizer production technical field specifically is a fertilizer production is with stirring mixing arrangement who possesses screening function.
Background
In modern agriculture, a large amount of bio-organic fertilizers are used due to the advantages of no pollution and environmental protection, the bio-organic fertilizers refer to fertilizers which are compounded by microorganisms with specific functions and organic materials mainly from animal and plant residues and subjected to harmless treatment and decomposition, the fertilizers have the effects of microbial fertilizers and organic fertilizers, when the organic fertilizers are produced, the fertilizers and other elements are directly put into a stirring barrel and are fully stirred, the production process directly influences the quality stability of subsequent finished fertilizers, the existing stirring mixer for producing the organic fertilizers does not have the screening function, and when some particles with larger volume exist in raw materials, the quality of the fertilizers is reduced.
SUMMERY OF THE UTILITY MODEL
An object of the utility model is to provide a fertilizer production is with stirring mixing arrangement who possesses screening function possesses the screening ability reinforce, and the advantage that dust removal effect is good has solved current fertilizer production and has mixed the machine with the stirring and do not possess the function of screening, when having some great granules of volume in the raw materials, can lead to the problem of fertilizer quality reduction.
In order to achieve the above object, the utility model provides a following technical scheme: the stirring and mixing device with the screening function for producing the organic fertilizer comprises a stirring box, wherein a purification box and a machine box are fixedly connected on the left side of the surface of the stirring box, the top of the machine box is fixed at the joint of the purification box, an exhaust fan is fixedly connected at the top of the purification box, a waste material box is fixedly connected on the right side of the surface of the stirring box, a rotary motor is fixedly connected with an inner cavity of the machine box, the output end of the rotary motor is rotatably connected with a transmission rod, the right end of the transmission rod penetrates through the machine box and the stirring box and is movably connected with a bearing, the bottom of the bearing is fixed at the joint of the stirring box, a stirring shaft is sleeved on the surface of the transmission rod, a stirring rod is fixedly connected with the surface of the stirring shaft, an oscillating motor is fixedly connected on the left side of the inner cavity, the right side intercommunication of agitator tank inner chamber has the waste material discharge pipe, the right-hand member of waste material discharge pipe runs through the inner chamber that extends to the waste bin, the surface of fixed block is fixed with the junction of agitator tank, the top intercommunication of agitator tank has the feed inlet, the bottom intercommunication of agitator tank has the discharge gate, the surface of discharge gate is provided with the valve, the suction opening intercommunication of air exhauster has the exhaust column, the right-hand member of exhaust column runs through the agitator tank and communicates there is the suction hood, the top of suction hood is fixed with the junction of agitator tank, the air exit intercommunication of air exhauster has the exhaust pipe, the lower extreme of exhaust pipe runs through the bottom that extends to the purifying box inner chamber.
Preferably, the two sides of the lower end of the stirring box are fixedly connected with supporting frames, the bottom of each supporting frame is fixedly connected with a bottom plate, and the bottom of each bottom plate is fixedly connected with an anti-slip mat.
Preferably, the top of bottom plate is provided with gets the workbin, the both sides fixedly connected with antiskid handle of getting the workbin.
Preferably, the front surface of the stirring box is fixedly connected with a control panel, and the back surface of the stirring box is provided with a power line.
Preferably, the upper end of the left side of the purification box is communicated with a water storage port, and an inner cavity of the water storage port is provided with a filter screen.
Compared with the prior art, the beneficial effects of the utility model are as follows:
1. the utility model discloses a set up transfer line, rotating electrical machines, bearings, puddler and (mixing) shaft, can stir the raw materials, effectively promoted the stirring mixing ability of device, through setting up vibrating motor, screen cloth and fixed block, can filter the raw materials, avoided great granule to get into the condition that influences the mixed effect, through setting up exhaust column, air exhauster, exhaust pipe, purifying box and suction hood, can absorb the dust that the processing raw materials produced in the oscillation, effectively promoted the dust collection ability of device.
2. The utility model discloses a set up the support frame, bottom plate and slipmat, can play support and fixed effect to the device, the stability of device at the operation in-process has effectively been promoted, get workbin and antiskid handle through setting up, can collect the material after mixing and take, the practicality of device has effectively been promoted, through setting up control panel, can make the operation of device simple more swift, the convenience of device has effectively been promoted, hold mouth of a river and filter screen through the setting, can act as the exhaust hole usefulness when guaranteeing the retaining, the filter effect of device to gas has effectively been promoted.
Drawings
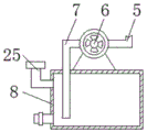
FIG. 1 is a schematic structural view of the present invention;
FIG. 2 is a sectional view of the stirring box of the present invention;
fig. 3 is a cross-sectional view of the purifying box of the present invention.
In the figure: 1. a stirring box; 2. a waste bin; 3. a control panel; 4. a feed inlet; 5. an exhaust pipe; 6. an exhaust fan; 7. an exhaust duct; 8. a purification box; 9. a chassis; 10. a support frame; 11. a discharge port; 12. a base plate; 13. a material taking box; 14. a valve; 15. a transmission rod; 16. a rotating electric machine; 17. an oscillating motor; 18. screening a screen; 19. a dust hood; 20. a waste discharge pipe; 21. a fixed block; 22. a bearing; 23. a stirring rod; 24. a stirring shaft; 25. a water storage opening.
Detailed Description
The technical solutions in the embodiments of the present invention will be described clearly and completely with reference to the accompanying drawings in the embodiments of the present invention, and it is obvious that the described embodiments are only some embodiments of the present invention, not all embodiments. Based on the embodiments in the present invention, all other embodiments obtained by a person skilled in the art without creative work belong to the protection scope of the present invention.
In the description of the present invention, it should be noted that the terms "upper", "lower", "inner", "outer", "front end", "rear end", "both ends", "one end", "the other end", and the like indicate orientations or positional relationships based on the orientations or positional relationships shown in the drawings, and are only for convenience of description and simplification of description, but do not indicate or imply that the device or element to be referred must have a specific orientation, be constructed in a specific orientation, and be operated, and thus, should not be construed as limiting the present invention. Furthermore, the terms "first" and "second" are used for descriptive purposes only and are not to be construed as indicating or implying relative importance.
In the description of the present invention, it is to be noted that, unless otherwise explicitly specified or limited, the terms "mounted", "provided", "connected", and the like are to be construed broadly, such as "connected", which may be fixedly connected, detachably connected, or integrally connected; can be mechanically or electrically connected; they may be connected directly or indirectly through intervening media, or they may be interconnected between two elements. The specific meaning of the above terms in the present invention can be understood in specific cases to those skilled in the art.
The utility model discloses an agitator tank 1, the waste bin 2, control panel 3, feed inlet 4, exhaust column 5, air exhauster 6, exhaust pipe 7, purifying box 8, machine case 9, support frame 10, discharge gate 11, bottom plate 12, get workbin 13, valve 14, transfer line 15, rotating electrical machines 16, vibrating motor 17, screen cloth 18, suction hood 19, waste material discharge pipe 20, fixed block 21, bearing 22, puddler 23, (mixing) shaft 24 and hold mouth of a river 25 part and be the part that universal standard spare or technical personnel in the field know, its structure and principle all are this technical staff and all can learn through the technical manual or learn through conventional experimental method.
Referring to fig. 1-3, a stirring and mixing device with a screening function for organic fertilizer production comprises a stirring box 1, a purifying box 8 and a machine box 9 are fixedly connected to the left side of the surface of the stirring box 1, the top of the machine box 9 is fixed to the joint of the purifying box 8, an exhaust fan 6 is fixedly connected to the top of the purifying box 8, support frames 10 are fixedly connected to both sides of the lower end of the stirring box 1, a bottom plate 12 is fixedly connected to the bottom of the support frames 10, anti-slip pads are fixedly connected to the bottom of the bottom plate 12, the device can be supported and fixed by arranging the support frames 10, the bottom plate 12 and the anti-slip pads, the stability of the device in the operation process is effectively improved, a material taking box 13 is arranged at the top of the bottom plate 12, anti-slip handles are fixedly connected to both sides of the material taking box 13, the mixed material can be collected and taken, the practicability of the device is effectively improved, the right side of the surface of the stirring box 1 is fixedly connected with a waste box 2, the front side of the stirring box 1 is fixedly connected with a control panel 3, the back side of the stirring box 1 is provided with a power cord, the device can be operated more simply and quickly by arranging the control panel 3, the convenience of the device is effectively improved, the inner cavity of the case 9 is fixedly connected with a rotating motor 16, the output end of the rotating motor 16 is rotatably connected with a transmission rod 15, the right end of the transmission rod 15 penetrates through the case 9 and the stirring box 1 and is movably connected with a bearing 22, the bottom of the bearing 22 is fixed with the connection part of the stirring box 1, the surface of the transmission rod 15 is sleeved with a stirring shaft 24, the surface of the stirring shaft 24 is fixedly connected with a stirring rod 23, the left side of the inner cavity of the stirring box 1 is fixedly connected with an, the right side of the inner cavity of the stirring box 1 is communicated with a waste discharge pipe 20, the right end of the waste discharge pipe 20 penetrates and extends to the inner cavity of the waste box 2, the surface of a fixed block 21 is fixed with the joint of the stirring box 1, the top of the stirring box 1 is communicated with a feed inlet 4, the bottom of the stirring box 1 is communicated with a discharge outlet 11, the surface of the discharge outlet 11 is provided with a valve 14, the suction opening of a suction fan 6 is communicated with a suction pipe 5, the right end of the suction pipe 5 penetrates through the stirring box 1 and is communicated with a suction hood 19, the top of the suction hood 19 is fixed with the joint of the stirring box 1, the exhaust opening of the suction fan 6 is communicated with an exhaust pipe 7, the lower end of the exhaust pipe 7 penetrates and extends to the bottom of the inner cavity of the purification box 8, the upper end on the left side of the purification box 8 is communicated with a water storage opening 25, the, effectively promoted the device to gaseous filter effect, through setting up transfer line 15, rotating electrical machines 16, bearing 22, puddler 23 and (mixing) shaft 24, can stir the raw materials, the stirring mixing ability of device has effectively been promoted, through setting up vibrating motor 17, screen cloth 18 and fixed block 21, can filter the raw materials, avoided great granule to get into the condition that influences the mixing effect, through setting up exhaust column 5, air exhauster 6, exhaust pipe 7, purifying box 8 and suction hood 19, can absorb the dust that the processing raw materials produced in the oscillation, the dust collection ability of device has effectively been promoted.
When the device is used, raw materials can be added into the inner cavity of the stirring box 1 through the feeding hole 4, the oscillating motor 17 and the exhaust fan 6 are started, the raw materials are subjected to vibration screening through the screen 18, the raw materials with larger particles enter the inner cavity of the waste material box 2 through the waste material discharge pipe 20, dust generated in the oscillation process can be absorbed to the exhaust pipe 5 through the dust absorption cover 19 through the operation of the exhaust fan 6, enter the exhaust pipe 7 through the exhaust pipe 5, enter the purification box 8 through the exhaust pipe 7, are filtered through water in the inner cavity of the purification box 8 and then are discharged through the water storage port 25 to play a role of dust removal, the rotating motor 16 is started, the output end of the rotating motor 16 rotates to drive the transmission rod 15 to rotate, the stirring shaft 24 is driven through the transmission rod 15, the stirring rod 23 is driven through the stirring shaft 24, the raw materials with better quality can be stirred and mixed through the, can be discharged the fertilizer after processing by discharge gate 11, fertilizer falls into and gets workbin 13 and collect, is transported away by the operative employee and carries out process on next step again, and through the cooperation of above-mentioned structure, can make the device reach the screening ability reinforce, advantage that the dust removal effect is good is fit for using widely.
Although embodiments of the present invention have been shown and described, it will be appreciated by those skilled in the art that changes, modifications, substitutions and alterations can be made in these embodiments without departing from the principles and spirit of the invention, the scope of which is defined in the appended claims and their equivalents.
Claims (5)
1. The utility model provides a fertilizer production is with stirring mixing arrangement who possesses screening function, includes agitator tank (1), its characterized in that: the stirring device is characterized in that the stirring box (1) is fixedly connected with a purification box (8) and a machine box (9) on the surface at the left side, the top of the machine box (9) is fixed with the joint of the purification box (8), the top of the purification box (8) is fixedly connected with an exhaust fan (6), the right side of the stirring box (1) is fixedly connected with a waste material box (2), the inner cavity of the machine box (9) is fixedly connected with a rotating motor (16), the output end of the rotating motor (16) is rotatably connected with a transmission rod (15), the right end of the transmission rod (15) penetrates through the machine box (9) and the stirring box (1) and is movably connected with a bearing (22), the bottom of the bearing (22) is fixed with the joint of the stirring box (1), the surface of the transmission rod (15) is sleeved with a stirring shaft (24), the surface of the stirring shaft (24) is fixedly connected with a stirring rod (23), the left, the output fixedly connected with screen cloth (18) of oscillating motor (17), the right-hand member swing joint of screen cloth (18) has fixed block (21), the right side intercommunication of agitator tank (1) inner chamber has waste discharge pipe (20), the right-hand member of waste discharge pipe (20) runs through the inner chamber that extends to dump bin (2), the surface of fixed block (21) is fixed with the junction of agitator tank (1), the top intercommunication of agitator tank (1) has feed inlet (4), the bottom intercommunication of agitator tank (1) has discharge gate (11), the surface of discharge gate (11) is provided with valve (14), the suction opening intercommunication of air exhauster (6) has suction column (5), the right-hand member of suction column (5) runs through agitator tank (1) and communicates there is suction hood (19), the top of suction hood (19) is fixed with the junction of agitator tank (1), the air outlet intercommunication of air exhauster (6) has exhaust pipe (7), the lower extreme of exhaust pipe (7) runs through the bottom that extends to purifying box (8) inner chamber.
2. The stirring and mixing device with the screening function for producing the organic fertilizer as claimed in claim 1, wherein the stirring and mixing device comprises: the stirring box is characterized in that support frames (10) are fixedly connected to two sides of the lower end of the stirring box (1), a bottom plate (12) is fixedly connected to the bottom of each support frame (10), and anti-slip pads are fixedly connected to the bottom of each bottom plate (12).
3. The stirring and mixing device with the screening function for producing the organic fertilizer as claimed in claim 2, wherein the stirring and mixing device comprises: the top of bottom plate (12) is provided with gets workbin (13), the both sides fixedly connected with antiskid handle of getting workbin (13).
4. The stirring and mixing device with the screening function for producing the organic fertilizer as claimed in claim 1, wherein the stirring and mixing device comprises: the front side of the stirring box (1) is fixedly connected with a control panel (3), and the back side of the stirring box (1) is provided with a power line.
5. The stirring and mixing device with the screening function for producing the organic fertilizer as claimed in claim 1, wherein the stirring and mixing device comprises: the upper end on the left side of the purification box (8) is communicated with a water storage port (25), and a filter screen is arranged in an inner cavity of the water storage port (25).
Priority Applications (1)
| Application Number | Priority Date | Filing Date | Title |
|---|---|---|---|
| CN202021872600.4U CN213529547U (en) | 2020-09-01 | 2020-09-01 | Fertilizer production is with stirring mixing arrangement who possesses screening function |
Applications Claiming Priority (1)
| Application Number | Priority Date | Filing Date | Title |
|---|---|---|---|
| CN202021872600.4U CN213529547U (en) | 2020-09-01 | 2020-09-01 | Fertilizer production is with stirring mixing arrangement who possesses screening function |
Publications (1)
| Publication Number | Publication Date |
|---|---|
| CN213529547U true CN213529547U (en) | 2021-06-25 |
Family
ID=76490123
Family Applications (1)
| Application Number | Title | Priority Date | Filing Date |
|---|---|---|---|
| CN202021872600.4U Expired - Fee Related CN213529547U (en) | 2020-09-01 | 2020-09-01 | Fertilizer production is with stirring mixing arrangement who possesses screening function |
Country Status (1)
| Country | Link |
|---|---|
| CN (1) | CN213529547U (en) |
-
2020
- 2020-09-01 CN CN202021872600.4U patent/CN213529547U/en not_active Expired - Fee Related
Similar Documents
| Publication | Publication Date | Title |
|---|---|---|
| CN218188576U (en) | Dust absorption recovery unit is used in dry powder mortar production | |
| CN206229823U (en) | A kind of destructor plant comprehensive garbage processes agitating device | |
| CN106733030A (en) | A kind of wood chip pulverizer with dedusting function | |
| CN213529547U (en) | Fertilizer production is with stirring mixing arrangement who possesses screening function | |
| CN207628479U (en) | A kind of integrative machine building waste sorting and crushed | |
| CN219424278U (en) | Mixing device for aerogel spinning | |
| CN220741764U (en) | Raw material mixing device for plastic hose production | |
| CN213221876U (en) | Seedling fertilizer agitating unit who facilitates use | |
| CN212237461U (en) | Garbage disposal equipment for construction to dust is handled | |
| CN213161151U (en) | Concrete recovery plant | |
| CN217016330U (en) | Compounding blending device of modified asphalt waterproofing membrane processing | |
| CN213943289U (en) | Novel waste recovery for building engineering device | |
| CN221619644U (en) | Waste material processing apparatus is cut to textile fabric | |
| CN211189959U (en) | Dust type mixes machine | |
| CN217940863U (en) | Separation sand removal device for biochar production and processing | |
| CN112495286A (en) | Industrial slag environment-friendly treatment recycling device | |
| CN212069872U (en) | Novel dust device of dry-mixed mortar production line | |
| CN112340863A (en) | A aeration grit chamber for sewage treatment | |
| CN219860641U (en) | Water pollution environmental protection equipment purifier | |
| CN219964286U (en) | Dust collector is used in dry-mixed mortar production | |
| CN223252430U (en) | Briquetting device is used in production of living beings granule | |
| CN215542761U (en) | Production line edulcoration conveyor | |
| CN215277772U (en) | Waste material crushing device for carton production workshop | |
| CN212704222U (en) | Casting equipment convenient to waste sand clearance | |
| CN220126355U (en) | Graphite crushing and grinding equipment |
Legal Events
| Date | Code | Title | Description |
|---|---|---|---|
| GR01 | Patent grant | ||
| GR01 | Patent grant | ||
| CF01 | Termination of patent right due to non-payment of annual fee |
Granted publication date: 20210625 |
|
| CF01 | Termination of patent right due to non-payment of annual fee |