CN213513026U - Culture media is photographic with adjustable camera mount table - Google Patents

Culture media is photographic with adjustable camera mount table Download PDF

Info

Publication number
CN213513026U
CN213513026U CN202021956138.6U CN202021956138U CN213513026U CN 213513026 U CN213513026 U CN 213513026U CN 202021956138 U CN202021956138 U CN 202021956138U CN 213513026 U CN213513026 U CN 213513026U
Authority
CN
China
Prior art keywords
fixedly connected
rotating shaft
bearing
handle
people
Prior art date
Legal status (The legal status is an assumption and is not a legal conclusion. Google has not performed a legal analysis and makes no representation as to the accuracy of the status listed.)
Expired - Fee Related
Application number
CN202021956138.6U
Other languages
Chinese (zh)
Inventor
冯中兵
Current Assignee (The listed assignees may be inaccurate. Google has not performed a legal analysis and makes no representation or warranty as to the accuracy of the list.)
Hangzhou Shihai Cultural Creativity Co ltd
Original Assignee
Hangzhou Shihai Cultural Creativity Co ltd
Priority date (The priority date is an assumption and is not a legal conclusion. Google has not performed a legal analysis and makes no representation as to the accuracy of the date listed.)
Filing date
Publication date
Application filed by Hangzhou Shihai Cultural Creativity Co ltd filed Critical Hangzhou Shihai Cultural Creativity Co ltd
Priority to CN202021956138.6U priority Critical patent/CN213513026U/en
Application granted granted Critical
Publication of CN213513026U publication Critical patent/CN213513026U/en
Expired - Fee Related legal-status Critical Current
Anticipated expiration legal-status Critical

Links

Images

Landscapes

  • Accessories Of Cameras (AREA)

Abstract

本实用新型属于相机安装台技术领域,尤其为一种文化传媒摄影用可调节相机安装台,包括支撑台、升降台、传动仓和电机,所述升降台固定连接在支撑台上表面,所述传动仓开设在升降台内部;该文化传媒摄影用可调节相机安装台,通过第一转轴、第一轴承、齿轮和扇形齿轮,当人们需要对该装置的横向角度进行调节时,人们只需要通过转动放置台,在第一转轴和第一轴承的配合下,从而方便了人们对该装置的横向角度进行调节,当人们需要对放置架纵向的角度进行调节时,人们只需要拉动手柄,将手柄与定位槽相分离,然后通过转动把手,同时带动第二转轴转动,在齿轮和扇形齿轮的配合下,从而方便了人们对放置架的纵向的角度进行调节。

Figure 202021956138

The utility model belongs to the technical field of camera mounting tables, in particular to an adjustable camera mounting table for cultural media photography, comprising a support table, a lift table, a transmission bin and a motor, wherein the lift table is fixedly connected on the upper surface of the support table, and the The transmission bin is opened inside the lifting platform; the adjustable camera mounting platform for cultural media photography, through the first rotating shaft, the first bearing, the gear and the sector gear, when people need to adjust the lateral angle of the device, people only need to pass Rotating the placing table, under the cooperation of the first rotating shaft and the first bearing, facilitates people to adjust the lateral angle of the device. When people need to adjust the vertical angle of the placing stand, people only need to pull the handle and put the handle It is separated from the positioning groove, and then the second rotating shaft is driven to rotate by turning the handle, and under the cooperation of the gear and the sector gear, it is convenient for people to adjust the longitudinal angle of the placing rack.

Figure 202021956138

Description

Culture media is photographic with adjustable camera mount table
Technical Field
The utility model belongs to the technical field of the camera mount table, concretely relates to photographic adjustable camera mount table of using of culture media.
Background
The culture media is an extended field in the media industry, the modern propagation means is used for carrying out culture propagation and communication among different cultures through the media, the propagation media are called as the media, the media or the media, refer to a carrier for propagating information, can be private mechanisms or official mechanisms, and carry out culture propagation and communication among different cultures through the media.
SUMMERY OF THE UTILITY MODEL
To solve the problems set forth in the background art described above. The utility model provides a photographic adjustable camera mount table of using of culture media has simple structure, the simple operation to have the characteristics of facilitate the use.
In order to achieve the above object, the utility model provides a following technical scheme: an adjustable camera mounting table for culture media photography comprises a supporting table, a lifting table, a transmission bin and a motor, wherein the lifting table is fixedly connected to the upper surface of the supporting table, the transmission bin is arranged inside the lifting table, the motor is fixedly connected inside the transmission bin, an output shaft of the motor is fixedly connected with a threaded column, the upper end of the threaded column is in threaded connection with a threaded pipe, the other end of the threaded pipe is fixedly connected with a first rotating shaft, a placing table is arranged at the upper end of the first rotating shaft, a first bearing is fixedly connected to the lower surface of the placing table, the other end of the first rotating shaft is arranged in the first bearing in a penetrating mode, a first fixing block is fixedly connected to the upper surface of the placing table, a second bearing is arranged on the surface of the first fixing block in a penetrating mode, a second rotating shaft is arranged in the second bearing in a penetrating mode, a handle is fixedly connected to one end of the, the utility model discloses a bearing rack, including first fixed block, second fixed block, fourth bearing, fan-shaped gear and gear phase-match, second fixed block side fixedly connected with third bearing, the other end of second pivot is worn to establish in the third bearing, second pivot fixed surface is connected with the gear, second fixed block side fixedly connected with fourth bearing, the third pivot is worn to be equipped with inside the wearing of fourth bearing, the other end fixedly connected with rack of third pivot, the third pivot is total two sets of to the symmetry sets up in the rack both sides, the fixed surface is connected with fan-shaped gear under the rack, fan-.
As a further aspect of the present invention: the threaded pipe is characterized in that sliding blocks are fixedly connected to the side faces of the threaded pipe, sliding grooves are formed in the inner wall of the transmission bin, the sliding blocks are connected in the sliding grooves in a sliding mode, and the sliding blocks and the sliding grooves are two groups and are symmetrically arranged on two sides of the threaded pipe.
As a further aspect of the present invention: the surface of the handle is fixedly connected with a limiting rod, the side face of the handle is provided with a handle, the surface of the handle is provided with a limiting groove, the limiting rod is arranged in the limiting groove in a penetrating mode, the side face of the placing table is provided with a positioning groove, and the handle is connected in the positioning groove in a clamping mode.
As a further aspect of the present invention: the rack inner wall fixedly connected with telescopic link, the other end fixedly connected with splint of telescopic link, the spring has been cup jointed on the surface of telescopic link, splint side fixedly connected with slipmat, splint are total two sets of to the symmetry sets up inside the rack.
As a further aspect of the present invention: the supporting bench lower surface has been seted up flexible groove, fixedly connected with electric putter in the flexible groove, electric putter's other end fixedly connected with wheel group, wheel group is total four to be the rectangle and arrange at the supporting bench lower extreme, supporting bench lower surface fixedly connected with base, the base is total four to be the rectangle and arrange at the supporting bench lower surface.
As a further aspect of the present invention: an energy storage bin is arranged inside the supporting table, a storage battery is fixedly connected inside the energy storage bin, a control switch is fixedly connected to the front face of the lifting table, and a microprocessor is arranged inside the control switch.
Compared with the prior art, the beneficial effects of the utility model are that:
1. the adjustable camera mounting table for cultural media photography comprises a first rotating shaft, a first bearing, a gear and a sector gear, when people need to adjust the transverse angle of the device, people only need to rotate the placing table, under the matching of the first rotating shaft and the first bearing, the transverse angle of the device can be conveniently adjusted by people, when people need to adjust the longitudinal angle of the placing rack, people only need to pull the handle to separate the handle from the positioning groove and then drive the second rotating shaft to rotate through rotating the handle, under the matching of the gear and the sector gear, the longitudinal angle of the rack can be conveniently adjusted by people, after the adjustment is completed, people only need to clamp the handle and the positioning groove once more, so that the angle of the device can be adjusted conveniently, and the practicability of the device is improved.
2. This photographic adjustable camera mount table of using of culture media through screw thread post and screwed pipe, when people need adjust the device's height, people only need operate through control switch control motor to drive the screw thread post and rotate, under the cooperation of screw thread post and screwed pipe, thereby made things convenient for people to carry the rack place the platform highly adjust, alleviateed people's operating pressure.
3. This culture media is photographic with adjustable camera mount table, through setting up electric putter, wheel group and base, when people need fix the device, people only need control the electric putter function through control switch, thereby drive the wheel group and remove, take place to break away from with ground when the wheel group, when the base contacted with ground simultaneously, people only need stop the function through control switch control electric putter, thereby guaranteed that the device can keep stable operating condition at the in-process that carries out normal operation.
Drawings
The accompanying drawings are included to provide a further understanding of the invention, and are incorporated in and constitute a part of this specification, illustrate embodiments of the invention, and together with the description serve to explain the invention and not to limit the invention. In the drawings:
FIG. 1 is a front sectional view of the present invention;
FIG. 2 is a front view of the present invention;
FIG. 3 is an enlarged schematic structural view of the position A of the present invention;
FIG. 4 is an enlarged schematic structural view of the position B of the present invention;
fig. 5 is a three-dimensional structural schematic diagram of the middle threaded column of the present invention;
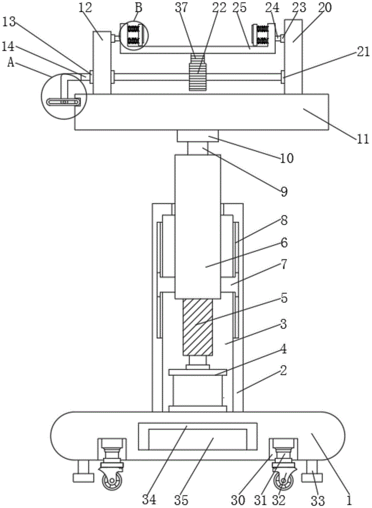
in the figure: 1. a support table; 2. a lifting platform; 3. a transmission bin; 4. a motor; 5. a threaded post; 6. a threaded pipe; 7. a slider; 8. a chute; 9. a first rotating shaft; 10. a first bearing; 11. a placing table; 12. a first fixed block; 13. a second bearing; 14. a second rotating shaft; 15. a handle; 16. a limiting rod; 17. a handle; 18. a limiting groove; 19. positioning a groove; 20. a second fixed block; 21. a third bearing; 22. a gear; 23. a fourth bearing; 24. a third rotating shaft; 25. placing a rack; 26. a telescopic rod; 27. a spring; 28. A splint; 29. a non-slip mat; 30. a telescopic groove; 31. an electric push rod; 32. a wheel set; 33. a base; 34. an energy storage bin; 35. a storage battery; 36. a control switch; 37. a sector gear.
Detailed Description
The technical solutions in the embodiments of the present invention will be described clearly and completely with reference to the accompanying drawings in the embodiments of the present invention, and it is obvious that the described embodiments are only some embodiments of the present invention, not all embodiments. Based on the embodiments in the present invention, all other embodiments obtained by a person skilled in the art without creative work belong to the protection scope of the present invention.
Examples
Referring to fig. 1-5, the present invention provides the following technical solutions: an adjustable camera mounting platform for culture media photography comprises a supporting platform 1, a lifting platform 2, a transmission bin 3 and a motor 4, wherein the lifting platform 2 is fixedly connected to the upper surface of the supporting platform 1, the transmission bin 3 is arranged inside the lifting platform 2, the motor 4 is fixedly connected inside the transmission bin 3, an output shaft of the motor 4 is fixedly connected with a threaded column 5, the upper end of the threaded column 5 is in threaded connection with a threaded pipe 6, the adjustable camera mounting platform for culture media photography is characterized in that through the threaded column 5 and the threaded pipe 6, when people need to adjust the height of the device, people only need to control the motor 4 to operate through a control switch 36, so as to drive the threaded column 5 to rotate, under the matching of the threaded column 5 and the threaded pipe 6, the height of a placing platform 11 with a placing rack 25 is conveniently adjusted, the working pressure of people is relieved, the other end of the threaded pipe 6 is fixedly connected with a first rotating shaft 9, a placing table 11 is arranged at the upper end of the first rotating shaft 9, a first bearing 10 is fixedly connected to the lower surface of the placing table 11, the other end of the first rotating shaft 9 penetrates through the first bearing 10, a first fixing block 12 is fixedly connected to the upper surface of the placing table 11, a second bearing 13 penetrates through the surface of the first fixing block 12, a second rotating shaft 14 penetrates through the second bearing 13, a handle 15 is fixedly connected to one end of the second rotating shaft 14, a second fixing block 20 is fixedly connected to the upper surface of the placing table 11, a third bearing 21 is fixedly connected to the side surface of the second fixing block 20, the other end of the second rotating shaft 14 penetrates through the third bearing 21, a gear 22 is fixedly connected to the surface of the second rotating shaft 14, a fourth bearing 23 is fixedly connected to the side surface of the second fixing block 20, a third rotating shaft 24 penetrates through the inside of the fourth bearing 23, a placing frame 25 is fixedly connected to the other, and are symmetrically arranged at both sides of the placing frame 25, the lower surface of the placing frame 25 is fixedly connected with a sector gear 37, the sector gear 37 is matched with the gear 22, when people need to adjust the transverse angle of the device, people only need to rotate the placing table 11 under the matching of the first rotating shaft 9 and the first bearing 10 by rotating the placing table 11, so that people can conveniently adjust the transverse angle of the device, when people need to adjust the longitudinal angle of the placing frame 25, people only need to pull the handle 17 to separate the handle 17 from the positioning groove 19, then the handle 15 is rotated to simultaneously drive the second rotating shaft 14 to rotate, under the matching of the gear 22 and the sector gear 37, so that people can conveniently adjust the longitudinal angle of the placing frame 25, after the adjustment is completed, people only need to clamp the handle 17 and the positioning groove 19 again, so that the angle of the device can be adjusted conveniently, and the practicability of the device is improved.
Specifically, 6 side fixedly connected with sliders 7 of screwed pipe, spout 8 has been seted up to 3 inner walls of transmission storehouse, and slider 7 sliding connection is in spout 8, and slider 7 and spout 8 respectively have two sets ofly to the symmetry sets up in 6 both sides of screwed pipe.
Specifically, the fixed surface of handle 15 is connected with gag lever post 16, and handle 15 side is provided with handle 17, and spacing groove 18 has been seted up on handle 17 surface, and gag lever post 16 wears to establish in spacing groove 18, places platform 11 side and has seted up constant head tank 19, and handle 17 joint is in constant head tank 19.
Specifically, rack 25 inner wall fixedly connected with telescopic link 26, telescopic link 26's other end fixedly connected with splint 28, spring 27 has been cup jointed on telescopic link 26's surface, splint 28 side fixedly connected with slipmat 29, splint 28 are total two sets of to the symmetry sets up inside rack 25.
Specifically, the lower surface of the support table 1 is provided with a telescopic groove 30, an electric push rod 31 is fixedly connected in the telescopic groove 30, the other end of the electric push rod 31 is fixedly connected with four wheel sets 32, the number of the wheel sets 32 is four, and is arranged at the lower end of the support platform 1 in a rectangular shape, the lower surface of the support platform 1 is fixedly connected with four bases 33, the number of the bases 33 is four, and the bases are arranged at the lower surface of the support platform 1 in a rectangular shape, the adjustable camera mounting table for cultural media photography is provided with an electric push rod 31, a wheel set 32 and a base 33, when people need to fix the device, people only need to control the electric push rod 31 to operate through the control switch 36, thereby driving the wheel set 32 to move, when the wheel set 32 is separated from the ground and the base 33 is contacted with the ground, people only need to control the electric push rod 31 to stop operating through the control switch 36, thereby ensuring that the device can keep a stable working state in the normal operation process.
Specifically, supporting bench 1 is inside to be seted up energy storage storehouse 34, the inside fixedly connected with battery 35 in energy storage storehouse 34, the positive fixedly connected with control switch 36 of elevating platform 2, the inside microprocessor that is provided with of control switch 36.
The utility model discloses a theory of operation does:
s1, when the device is used, the device is firstly moved to a designated position, when people need to fix the device, people only need to control the electric push rod 31 to operate through the control switch 36, so that the wheel set 32 is driven to move, when the wheel set 32 is separated from the ground and the base 33 is contacted with the ground, people only need to control the electric push rod 31 to stop operating through the control switch 36, and therefore the device is guaranteed to be kept in a stable working state in the normal operation process;
s2, when people need to adjust the height of the device, people only need to control the motor 4 to operate through the control switch 36, so that the threaded column 5 is driven to rotate, and under the matching of the threaded column 5 and the threaded pipe 6, people can conveniently adjust the height of the placing table 11 with the placing rack 25, and the working pressure of people is reduced;
s3, when people need to adjust the transverse angle of the device, people only need to place the platform 11 through rotating, under the cooperation of the first rotating shaft 9 and the first bearing 10, thereby the transverse angle of the device is adjusted by people conveniently, when people need to adjust the longitudinal angle of the placing rack 25, people only need to pull the handle 17, separate the handle 17 from the positioning groove 19, then through rotating the handle 15, simultaneously, the second rotating shaft 14 is driven to rotate, under the cooperation of the gear 22 and the sector gear 37, thereby the longitudinal angle of the placing rack 25 is adjusted by people conveniently, after the adjustment is completed, people only need to clamp the handle 17 and the positioning groove 19 again, the angle of the device is adjusted by people conveniently, and the practicability of the device is improved.
Finally, it should be noted that: although the present invention has been described in detail with reference to the foregoing embodiments, it will be apparent to those skilled in the art that modifications may be made to the embodiments described in the foregoing embodiments, or equivalents may be substituted for elements thereof. Any modification, equivalent replacement, or improvement made within the spirit and principle of the present invention should be included in the protection scope of the present invention.

Claims (6)

1.一种文化传媒摄影用可调节相机安装台,包括支撑台(1)、升降台(2)、传动仓(3)和电机(4),其特征在于:所述升降台(2)固定连接在支撑台(1)上表面,所述传动仓(3)开设在升降台(2)内部,所述电机(4)固定连接在传动仓(3)内部,所述电机(4)的输出轴固定连接有螺纹柱(5),所述螺纹柱(5)的上端螺纹连接有螺纹管(6),所述螺纹管(6)的另一端固定连接有第一转轴(9),所述第一转轴(9)上端设置有放置台(11),所述放置台(11)下表面固定连接有第一轴承(10),所述第一转轴(9)的另一端穿设在第一轴承(10)中,所述放置台(11)上表面固定连接有第一固定块(12),所述第一固定块(12)表面穿设有第二轴承(13),所述第二轴承(13)中穿设有第二转轴(14),所述第二转轴(14)的一端固定连接有把手(15),所述放置台(11)上表面固定连接有第二固定块(20),所述第二固定块(20)侧面固定连接有第三轴承(21),所述第二转轴(14)的另一端穿设在第三轴承(21)中,所述第二转轴(14)表面固定连接有齿轮(22),所述第二固定块(20)侧面固定连接有第四轴承(23),所述第四轴承(23)内部穿设有第三转轴(24),所述第三转轴(24)的另一端固定连接有放置架(25),所述第三转轴(24)共有两组,并且对称设置在放置架(25)两侧,所述放置架(25)下表面固定连接有扇形齿轮(37),所述扇形齿轮(37)与齿轮(22)相匹配。1. An adjustable camera mounting platform for cultural media photography, comprising a support table (1), a lifting platform (2), a transmission bin (3) and a motor (4), characterized in that: the lifting platform (2) is fixed Connected to the upper surface of the support table (1), the drive compartment (3) is opened inside the lift table (2), the motor (4) is fixedly connected inside the drive compartment (3), and the output of the motor (4) The shaft is fixedly connected with a threaded column (5), the upper end of the threaded column (5) is threadedly connected with a threaded pipe (6), and the other end of the threaded pipe (6) is fixedly connected with a first rotating shaft (9). The upper end of the first rotating shaft (9) is provided with a placing table (11), the lower surface of the placing table (11) is fixedly connected with a first bearing (10), and the other end of the first rotating shaft (9) is passed through the first bearing (10). In the bearing (10), a first fixing block (12) is fixedly connected to the upper surface of the placing table (11), a second bearing (13) is penetrated on the surface of the first fixing block (12), and the second The bearing (13) is provided with a second rotating shaft (14), one end of the second rotating shaft (14) is fixedly connected with a handle (15), and the upper surface of the placing table (11) is fixedly connected with a second fixing block ( 20), a third bearing (21) is fixedly connected to the side of the second fixing block (20), the other end of the second rotating shaft (14) is penetrated in the third bearing (21), and the second rotating shaft (14) A gear (22) is fixedly connected to the surface, a fourth bearing (23) is fixedly connected to the side of the second fixing block (20), and a third rotating shaft (24) is passed through the inside of the fourth bearing (23). , the other end of the third rotating shaft (24) is fixedly connected with a placing rack (25), the third rotating shaft (24) consists of two groups, and is symmetrically arranged on both sides of the placing rack (25), the placing rack ( 25) A sector gear (37) is fixedly connected to the lower surface, and the sector gear (37) is matched with the gear (22). 2.根据权利要求1所述的一种文化传媒摄影用可调节相机安装台,其特征在于:所述螺纹管(6)侧面固定连接有滑块(7),所述传动仓(3)内壁开设有滑槽(8),所述滑块(7)滑动连接在滑槽(8)中,所述滑块(7)和滑槽(8)各有两组,并且对称设置在螺纹管(6)两侧。2. An adjustable camera mounting platform for cultural media photography according to claim 1, characterized in that: the side of the threaded pipe (6) is fixedly connected with a slider (7), and the inner wall of the transmission chamber (3) A chute (8) is provided, the slider (7) is slidably connected in the chute (8), the slider (7) and the chute (8) each have two groups, and are symmetrically arranged on the threaded pipe (8). 6) Both sides. 3.根据权利要求1所述的一种文化传媒摄影用可调节相机安装台,其特征在于:所述把手(15)的表面固定连接有限位杆(16),所述把手(15)侧面设置有手柄(17),所述手柄(17)表面开设有限位槽(18),所述限位杆(16)穿设在限位槽(18)中,所述放置台(11)侧面开设有定位槽(19),所述手柄(17)卡接在定位槽(19)中。3. The adjustable camera mounting platform for cultural media photography according to claim 1, characterized in that: the surface of the handle (15) is fixedly connected to a limit rod (16), and the handle (15) is provided on the side There is a handle (17), a limit slot (18) is provided on the surface of the handle (17), the limit rod (16) is penetrated in the limit slot (18), and the side of the placing table (11) is provided with A positioning groove (19) is provided, and the handle (17) is clamped in the positioning groove (19). 4.根据权利要求1所述的一种文化传媒摄影用可调节相机安装台,其特征在于:所述放置架(25)内壁固定连接有伸缩杆(26),所述伸缩杆(26)的另一端固定连接有夹板(28),所述伸缩杆(26)的表面套接有弹簧(27),所述夹板(28)侧面固定连接有防滑垫(29),所述夹板(28)共有两组,并且对称设置在放置架(25)内部。4. An adjustable camera mounting platform for cultural media photography according to claim 1, characterized in that: a telescopic rod (26) is fixedly connected to the inner wall of the placing frame (25), and the telescopic rod (26) is The other end is fixedly connected with a splint (28), a spring (27) is sleeved on the surface of the telescopic rod (26), a non-slip pad (29) is fixedly connected to the side of the splint (28), and the splint (28) has a total of Two groups are arranged symmetrically inside the placing rack (25). 5.根据权利要求1所述的一种文化传媒摄影用可调节相机安装台,其特征在于:所述支撑台(1)下表面开设有伸缩槽(30),所伸缩槽(30)中固定连接有电动推杆(31),所述电动推杆(31)的另一端固定连接有车轮组(32),所述车轮组(32)共有四个,并且呈矩形排列在支撑台(1)下端,所述支撑台(1)下表面固定连接有基座(33),所述基座(33)共有四个,并且呈矩形排列在支撑台(1)下表面。5. The adjustable camera mounting platform for cultural media photography according to claim 1, wherein a telescopic groove (30) is provided on the lower surface of the support table (1), and a telescopic groove (30) is fixed in the An electric push rod (31) is connected, the other end of the electric push rod (31) is fixedly connected with a wheel group (32), the wheel group (32) has a total of four, and is arranged in a rectangular shape on the support table (1) At the lower end, a base (33) is fixedly connected to the lower surface of the support table (1). 6.根据权利要求1所述的一种文化传媒摄影用可调节相机安装台,其特征在于:所述支撑台(1)内部开设有储能仓(34),所述储能仓(34)内部固定连接有蓄电池(35),所述升降台(2)正面固定连接有控制开关(36),所述控制开关(36)内部设置有微处理器。6 . The adjustable camera mounting platform for cultural media photography according to claim 1 , wherein an energy storage bin ( 34 ) is provided inside the support platform ( 1 ), and the storage bin ( 34 ) A battery (35) is fixedly connected inside, a control switch (36) is fixedly connected to the front of the lifting platform (2), and a microprocessor is arranged inside the control switch (36).
CN202021956138.6U 2020-09-09 2020-09-09 Culture media is photographic with adjustable camera mount table Expired - Fee Related CN213513026U (en)

Priority Applications (1)

Application Number Priority Date Filing Date Title
CN202021956138.6U CN213513026U (en) 2020-09-09 2020-09-09 Culture media is photographic with adjustable camera mount table

Applications Claiming Priority (1)

Application Number Priority Date Filing Date Title
CN202021956138.6U CN213513026U (en) 2020-09-09 2020-09-09 Culture media is photographic with adjustable camera mount table

Publications (1)

Publication Number Publication Date
CN213513026U true CN213513026U (en) 2021-06-22

Family

ID=76445492

Family Applications (1)

Application Number Title Priority Date Filing Date
CN202021956138.6U Expired - Fee Related CN213513026U (en) 2020-09-09 2020-09-09 Culture media is photographic with adjustable camera mount table

Country Status (1)

Country Link
CN (1) CN213513026U (en)

Similar Documents

Publication Publication Date Title
CN211312765U (en) Pipeline construction auxiliary fixtures
CN213532499U (en) Lifting platform for machining
CN213513026U (en) Culture media is photographic with adjustable camera mount table
CN217966245U (en) Turnover mechanism for furniture production
CN218801399U (en) Polishing machine convenient for placing jewelry
CN212816839U (en) Limiting structure for wheelchair controller
CN213322473U (en) Easel for art teaching
CN213974077U (en) Multifunctional electromechanical equipment moving frame
CN213946140U (en) A fixing device for small piano production
CN212186544U (en) Portable removal frame of medical science ultrasonic equipment
CN221065352U (en) Good limit structure of stability is used in metal backplate processing
CN212145093U (en) A kind of high-altitude working vehicle welding reversing tooling
CN210412652U (en) Metal processing table
CN213045966U (en) Book fixing device for physics teaching
CN220557990U (en) Fundus camera device capable of being adjusted at multiple angles
CN222157075U (en) A new type of electric remote control lifting easel
CN216812563U (en) A kind of numerical control equipment supporting bearing
CN217860735U (en) Furniture design is with fixing device that polishes
CN217392461U (en) A test tube rack for hospital clinical laboratory
CN212635262U (en) Limiting device with rotation function for glass edging
CN218246612U (en) Artwork display equipment with adjustable
CN219460591U (en) An easily adjustable design table
CN220967910U (en) Ultrasonic radio frequency rapid pouch remover
CN217669704U (en) A positioning device for paper core cutting
CN212234485U (en) Obstetrical ultrasonic B-ultrasonic probe positioning auxiliary device

Legal Events

Date Code Title Description
GR01 Patent grant
GR01 Patent grant
CF01 Termination of patent right due to non-payment of annual fee
CF01 Termination of patent right due to non-payment of annual fee

Granted publication date: 20210622