CN213512843U - Mobile identification mechanism of security camera - Google Patents
Mobile identification mechanism of security camera Download PDFInfo
- Publication number
- CN213512843U CN213512843U CN202022451209.3U CN202022451209U CN213512843U CN 213512843 U CN213512843 U CN 213512843U CN 202022451209 U CN202022451209 U CN 202022451209U CN 213512843 U CN213512843 U CN 213512843U
- Authority
- CN
- China
- Prior art keywords
- shaped
- square
- camera
- identification mechanism
- top side
- Prior art date
- Legal status (The legal status is an assumption and is not a legal conclusion. Google has not performed a legal analysis and makes no representation as to the accuracy of the status listed.)
- Active
Links
- 230000006835 compression Effects 0.000 claims abstract description 14
- 238000007906 compression Methods 0.000 claims abstract description 14
- 238000009434 installation Methods 0.000 claims description 3
- 230000005489 elastic deformation Effects 0.000 abstract description 9
- 230000002265 prevention Effects 0.000 description 4
- 238000006243 chemical reaction Methods 0.000 description 1
- 230000000694 effects Effects 0.000 description 1
- 238000002329 infrared spectrum Methods 0.000 description 1
- 230000009545 invasion Effects 0.000 description 1
- 238000012986 modification Methods 0.000 description 1
- 230000004048 modification Effects 0.000 description 1
- 238000012544 monitoring process Methods 0.000 description 1
Images
Landscapes
- Studio Devices (AREA)
Abstract
The utility model discloses a movable recognition mechanism of a security camera, which relates to the technical field of security, comprising a U-shaped seat, wherein the U-shaped seat is provided with a moving part, a mounting part and a limiting part, the moving part comprises square grooves arranged on the inner walls of two sides and two sides of the U-shaped seat, and four square grooves are internally provided with L-shaped blocks in a sliding way, the utility model has reasonable structure, when a camera recognition device needs to be mounted or dismounted, a cylindrical block is pulled, the cylindrical block moves to drive a moving rod to move, simultaneously, a compression spring generates elastic deformation, the U-shaped limiting rod moves out of the two square grooves, the U-shaped plate can be pulled at the moment to move a T-shaped column out of the cylindrical groove, after a new camera recognition device is replaced, the cylindrical block is loosened, the compression spring recovers the elastic deformation to move the U-shaped limiting rod into the two square grooves, and the camera, the camera shooting recognition device can be conveniently and simply installed and detached, and operation is convenient.
Description
Technical Field
The utility model relates to a freight field, in particular to portable identification mechanism of security protection camera.
Background
Security can be understood as an acronym for "security protection". According to the explanation of the current Chinese dictionary, the security refers to no danger, no invasion and no accident, the prevention refers to prevention and guard, the prevention refers to preparation for dealing with attacks or avoiding victims, the guard refers to prevention and protection, and the security camera is an acquisition device which is used for converting light images in the range from visible light to near infrared spectrum on the target surface of an image sensor into video image signals by taking security video monitoring as a purpose.
Along with the improvement of living standard, people are improving the requirement of safety, so security protection camera is indispensable in the security protection work, and current security protection camera all has identification mechanism, and current security protection camera that has identification mechanism can not remove and a dismantlement of easy to assemble, because the passing through of shooting position, the regulation of multi-angle need be carried out to security protection camera occasionally for the wide side that the scope of making a video recording is more, we provide a portable identification mechanism of security protection camera for this reason.
SUMMERY OF THE UTILITY MODEL
An object of the utility model is to provide a portable identification mechanism of security protection camera to solve the problem that proposes among the above-mentioned background art.
In order to achieve the above object, the utility model provides a following technical scheme: a movable recognition mechanism of a security camera comprises a U-shaped seat, wherein a moving part, a mounting part and a limiting part are arranged on the U-shaped seat, the moving part comprises square grooves formed in the two sides and the inner walls of the two sides of the U-shaped seat, L-shaped blocks are slidably mounted in four square grooves, one side, close to each other, of each two L-shaped blocks is rotatably mounted with the same roller, the roller is in contact with the top side of the U-shaped seat, the top sides of the four L-shaped blocks are fixedly provided with the same top plate, the mounting part comprises a fixed block fixedly mounted on the top side of the top plate, the top side of the fixed block is provided with a cylindrical groove and two square grooves, the cylindrical groove is communicated with the two square grooves, a T-shaped column is slidably mounted in the cylindrical groove, the top side of the T-shaped column is fixedly provided with a U-shaped plate, two equal rotatory axis of rotation of installing in the rotatory hole, two the one end fixed mounting that the axis of rotation is close to each other has same connecting plate, the top side of connecting plate is provided with the discernment camera.
Preferably, two same U-shaped gag lever post of slidable mounting in the square groove, two are run through respectively at the both ends of U-shaped gag lever post square groove, one side fixed mounting of U-shaped gag lever post has the carriage release lever.
Preferably, a support column is fixedly mounted on the top side of the top plate, a square hole is formed in one side of the support column, and a cylindrical block is fixedly mounted at one end of the moving rod and penetrates through the square hole.
Preferably, one side of the U-shaped limiting rod is fixedly provided with one end of a compression spring sleeved on the moving rod, and the other end of the compression spring is fixedly arranged on one side of the strut.
Preferably, spacing portion includes fixed mounting and is in the piece of placing of U-shaped board one side, one side fixed mounting who places the piece has the elasticity card strip, the top side fixed mounting of elasticity card strip has spacing ball, one of them a plurality of spacing grooves have evenly been seted up to week side of axis of rotation, the top of spacing ball extends to one of them the spacing inslot.
Preferably, a T-shaped square column is fixedly mounted on the top side of the top plate and located on the top side of the U-shaped limiting rod.
Preferably, a plurality of mounting holes are formed in the bottom side of the U-shaped seat.
The utility model discloses a technological effect and advantage:
1. the utility model has reasonable structure, when the camera identification device needs to be installed or disassembled, the cylindrical block is pulled, the cylindrical block moves to drive the moving rod to move, and simultaneously the compression spring generates elastic deformation to make the U-shaped limiting rod move out of the two square grooves, at the moment, the U-shaped plate can be pulled to make the T-shaped column move out of the cylindrical groove, after a new camera identification device is replaced, the cylindrical block is loosened, the compression spring recovers the elastic deformation to make the U-shaped limiting rod move into the two square grooves, the camera identification device is fixed, and the camera identification device can be conveniently and simply installed and disassembled;
2. the utility model discloses in, when needing the conversion discernment angle of making a video recording, a rotation axis among the rotatory, it makes discernment camera turned angle to turn in, the rotation axis rotates and makes spacing ball shift out the spacing groove, make the elastic card strip take place elastic deformation simultaneously, when discernment camera rotates suitable angle, the elastic card strip resumes elastic deformation and makes spacing ball immigration spacing groove, discernment camera turned angle adjusts the completion, make camera angle more extensive, the while discernment camera can remove.
Drawings
Fig. 1 is a schematic view of the three-dimensional structure of the present invention.
Fig. 2 is a schematic view of another angle of the three-dimensional structure of the present invention.
Fig. 3 is an enlarged schematic view of a portion a in fig. 2 according to the present invention.
Fig. 4 is an enlarged schematic view of the fixing block shown in fig. 2 according to the present invention.
Fig. 5 is an enlarged schematic view of the T-shaped pillar of fig. 2 according to the present invention.
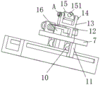
In the figure: 1. a U-shaped seat; 2. a T-shaped column; 3. a travel bar; 4. a pillar; 5. a compression spring; 6. a U-shaped limiting rod; 7. a top plate; 8. mounting holes; 9. a square groove; 10. a roller; 11. an L-shaped block; 12. a T-shaped square column; 13. a U-shaped plate; 14. a rotating shaft; 141. a limiting groove; 15. a connecting plate; 151. identifying a camera; 16. a fixed block; 17. a limiting ball; 18. an elastic clamping strip; 19. and placing the blocks.
Detailed Description
The technical solutions in the embodiments of the present invention will be described clearly and completely with reference to the accompanying drawings in the embodiments of the present invention, and it is obvious that the described embodiments are only some embodiments of the present invention, not all embodiments. Based on the embodiments in the present invention, all other embodiments obtained by a person skilled in the art without creative work belong to the protection scope of the present invention.
The utility model provides a mobile identification mechanism of security camera as shown in figures 1-5, which comprises a U-shaped seat 1, wherein the U-shaped seat 1 is provided with a moving part, a mounting part and a limiting part, the moving part comprises square grooves 9 arranged on the inner walls of two sides and two sides of the U-shaped seat 1, L-shaped blocks 11 are arranged in four square grooves 9 in a sliding way, one side of every two L-shaped blocks 11 which are close to each other is provided with a same roller 10 in a rotating way, the roller 10 is contacted with the top side of the U-shaped seat 1, the top sides of the four L-shaped blocks 11 are fixedly provided with a same top plate 7, the mounting part comprises a fixed block 16 fixedly arranged on the top side of the top plate 7, the top side of the fixed block 16 is provided with a cylindrical groove and two square grooves which are communicated with each other, a T-shaped column 2 is arranged in a sliding way, rotatory hole has all been seted up to the both sides of U-shaped board 13, and equal rotatory installation has axis of rotation 14 in two rotatory holes, and the one end fixed mounting that two axis of rotation 14 are close to each other has same connecting plate 15, and the top side of connecting plate 15 is provided with discernment camera 151, through the setting of gyro wheel 10 and L-shaped piece 11 for the device can remove.
Further, in above-mentioned scheme, slidable mounting has same U-shaped gag lever post 6 in two square inslots, and two square inslots are run through respectively at the both ends of U-shaped gag lever post 6, and one side fixed mounting of U-shaped gag lever post 6 has carriage release lever 3, through the setting of U-shaped gag lever post 6 for T shape post 2 can be fixed, and then makes the device fixed.
Further, in above-mentioned scheme, the top side fixed mounting of roof 7 has pillar 4, and the square hole has been seted up to one side of pillar 4, and square hole and fixed mounting have a cylindrical block are run through to the one end of carriage release lever 3, through the setting of cylindrical block for pulling operation is more comfortable.
Further, in the above scheme, one side of the U-shaped limiting rod 6 is fixedly provided with one end of a compression spring 5 sleeved on the moving rod 3, the other end of the compression spring 5 is fixedly arranged on one side of the pillar 4, and the U-shaped limiting rod 6 can return to the original position through the arrangement of the compression spring 5.
Further, in the above scheme, spacing portion includes that fixed mounting places piece 19 in U-shaped board 13 one side, the one side fixed mounting who places piece 19 has elasticity card strip 18, the top side fixed mounting of elasticity card strip 18 has spacing ball 17, a plurality of spacing grooves 141 have evenly been seted up to week side of one of them axis of rotation 14, the top of spacing ball 17 extends to in one of them spacing groove 141, setting through spacing ball 17 and a plurality of spacing grooves 141, make axis of rotation 14 can fix, and then make security protection camera recognition mechanism can fix.
Further, in the above scheme, a T-shaped square column 12 is fixedly mounted on the top side of the top plate 7, the T-shaped square column 12 is located on the top side of the U-shaped limiting rod 6, and the U-shaped limiting rod 6 can be fixed and cannot move upwards through the arrangement of the T-shaped square column 12.
Further, in the above scheme, a plurality of mounting holes 8 are opened on the bottom side of the U-shaped seat 1, and the device can be fixedly mounted through the plurality of mounting holes 8.
This practical theory of operation: when the camera shooting identification device is required to be installed or disassembled, the cylindrical block is pulled, the cylindrical block moves to drive the moving rod 3 to move, the compression spring 5 is elastically deformed, the moving rod 3 moves to drive the U-shaped limiting rod 6 to move out of the two square grooves 9, the U-shaped plate 13 can be pulled at the moment, the T-shaped column 2 is moved out of the cylindrical groove, the camera shooting identification device is replaced, after a new camera shooting identification device is replaced, the cylindrical block is loosened, the compression spring 5 recovers the elastic deformation to enable the U-shaped limiting rod 6 to move into the two square grooves 9, the camera shooting identification device is fixed, when the camera shooting identification angle is required to be converted, rotatory one of them axis of rotation 14, axis of rotation 14 rotates and drives connecting plate 15 and rotate, and then makes identification camera 151 turned angle, and axis of rotation 14 rotates and makes spacing ball 17 shift out spacing groove 141, makes elasticity card strip 18 take place elastic deformation simultaneously, and when identification camera 151 rotated suitable angle, elasticity card strip 18 resumeed the elastic deformation and makes spacing ball 17 move into spacing groove 141, and identification camera 151 turned angle adjusts the completion.
Finally, it should be noted that: although the present invention has been described in detail with reference to the foregoing embodiments, it will be apparent to those skilled in the art that modifications and variations can be made in the embodiments or in part of the technical features of the embodiments without departing from the spirit and the scope of the invention.
Claims (7)
1. The utility model provides a portable identification mechanism of security protection camera, includes U-shaped seat (1), its characterized in that: the U-shaped seat (1) is provided with a moving part, an installation part and a limiting part, the moving part comprises square grooves (9) formed in the inner walls of two sides and two sides of the U-shaped seat (1), four L-shaped blocks (11) are installed in the square grooves (9) in a sliding manner, one side, close to each other, of each two L-shaped blocks (11) is rotatably provided with the same roller (10), the roller (10) is in contact with the top side of the U-shaped seat (1), the top sides of the four L-shaped blocks (11) are fixedly provided with the same top plate (7), the installation part comprises a fixed block (16) fixedly installed on the top side of the top plate (7), the top side of the fixed block (16) is provided with a cylindrical groove and two square grooves which are communicated with each other, and a T-shaped column (2) is installed in the cylindrical groove in, the top side fixed mounting of T shape post (2) has U-shaped plate (13), rotatory hole, two have all been seted up to the both sides of U-shaped plate (13) equal rotatory rotation mounting has axis of rotation (14), two in the rotatory hole one end fixed mounting that axis of rotation (14) are close to each other has same connecting plate (15), the top side of connecting plate (15) is provided with identification camera (151).
2. The mobile identification mechanism of a security camera according to claim 1, wherein: two slidable mounting has same U-shaped gag lever post (6) in the square inslot, two are run through respectively at the both ends of U-shaped gag lever post (6) square groove, one side fixed mounting of U-shaped gag lever post (6) has carriage release lever (3).
3. The mobile identification mechanism of a security camera according to claim 1, wherein: the top side of the top plate (7) is fixedly provided with a supporting column (4), one side of the supporting column (4) is provided with a square hole, and one end of the moving rod (3) penetrates through the square hole and is fixedly provided with a cylindrical block.
4. The mobile identification mechanism of a security camera according to claim 2, characterized in that: one side of the U-shaped limiting rod (6) is fixedly provided with one end of a compression spring (5) sleeved on the moving rod (3), and the other end of the compression spring (5) is fixedly arranged on one side of the supporting column (4).
5. The mobile identification mechanism of a security camera according to claim 1, wherein: spacing portion is including fixed mounting the piece (19) of placing in U-shaped board (13) one side, the one side fixed mounting who places piece (19) has elasticity card strip (18), the top side fixed mounting of elasticity card strip (18) has spacing ball (17), one of them a plurality of spacing grooves (141) have evenly been seted up to week side of axis of rotation (14), the top of spacing ball (17) extends to one of them in spacing groove (141).
6. The mobile identification mechanism of a security camera according to claim 1, wherein: the top side of the top plate (7) is fixedly provided with a T-shaped square column (12), and the T-shaped square column (12) is positioned on the top side of the U-shaped limiting rod (6).
7. The mobile identification mechanism of a security camera according to claim 1, wherein: the bottom side of the U-shaped seat (1) is provided with a plurality of mounting holes (8).
Priority Applications (1)
| Application Number | Priority Date | Filing Date | Title |
|---|---|---|---|
| CN202022451209.3U CN213512843U (en) | 2020-10-29 | 2020-10-29 | Mobile identification mechanism of security camera |
Applications Claiming Priority (1)
| Application Number | Priority Date | Filing Date | Title |
|---|---|---|---|
| CN202022451209.3U CN213512843U (en) | 2020-10-29 | 2020-10-29 | Mobile identification mechanism of security camera |
Publications (1)
| Publication Number | Publication Date |
|---|---|
| CN213512843U true CN213512843U (en) | 2021-06-22 |
Family
ID=76413309
Family Applications (1)
| Application Number | Title | Priority Date | Filing Date |
|---|---|---|---|
| CN202022451209.3U Active CN213512843U (en) | 2020-10-29 | 2020-10-29 | Mobile identification mechanism of security camera |
Country Status (1)
| Country | Link |
|---|---|
| CN (1) | CN213512843U (en) |
Cited By (2)
| Publication number | Priority date | Publication date | Assignee | Title |
|---|---|---|---|---|
| CN114743325A (en) * | 2022-03-04 | 2022-07-12 | 深圳市澳斯联科实业有限公司 | A residential area burglar alarm device for intelligent manufacturing |
| CN115037859A (en) * | 2022-06-07 | 2022-09-09 | 焦喜存 | Security protection smart camera |
-
2020
- 2020-10-29 CN CN202022451209.3U patent/CN213512843U/en active Active
Cited By (3)
| Publication number | Priority date | Publication date | Assignee | Title |
|---|---|---|---|---|
| CN114743325A (en) * | 2022-03-04 | 2022-07-12 | 深圳市澳斯联科实业有限公司 | A residential area burglar alarm device for intelligent manufacturing |
| CN115037859A (en) * | 2022-06-07 | 2022-09-09 | 焦喜存 | Security protection smart camera |
| CN115037859B (en) * | 2022-06-07 | 2023-08-08 | 润得科技(深圳)有限公司 | Security intelligent camera |
Similar Documents
| Publication | Publication Date | Title |
|---|---|---|
| CN213512843U (en) | Mobile identification mechanism of security camera | |
| CN112351174B (en) | Remote monitoring device and monitoring method based on 5G network environment | |
| CN209881944U (en) | Monitoring system through power line transmission | |
| CN215522620U (en) | Building site video monitoring installation component | |
| CN118865543B (en) | Campus security management equipment and management system based on Internet of things | |
| CN210165123U (en) | Clamping assembly for installing security monitoring camera | |
| CN221149384U (en) | Lifting intelligent entrance guard face recognition device | |
| CN220397133U (en) | Mounting device for monitoring camera, monitoring camera and monitoring camera device | |
| CN216480021U (en) | An adjustable security monitoring equipment bracket | |
| CN213342371U (en) | Thermal imaging cylinder type camera with protective cover structure | |
| CN114785928A (en) | A multi-angle face recognition interactive system | |
| CN210979254U (en) | Make things convenient for surveillance camera head of community of dismouting | |
| CN216520523U (en) | Intelligent park monitoring device capable of identifying and comparing human faces | |
| CN219346152U (en) | Adjustable monitoring equipment | |
| CN219626049U (en) | Mobilizable face identification equipment | |
| CN222479957U (en) | Face recognition terminal | |
| CN208647164U (en) | A kind of unmanned plane lens supporting structure | |
| CN222597195U (en) | Liftable entrance guard's device | |
| CN217634744U (en) | Mobile passenger image data collecting device | |
| CN222116382U (en) | Industrial printer platform structure | |
| CN220287012U (en) | Urban electronic police monitoring support rod | |
| CN221991300U (en) | Angle adjustable visitor machine | |
| CN221443759U (en) | Base convenient to install camera | |
| CN214580263U (en) | Video monitoring platform for delivery vehicle | |
| CN220418688U (en) | Face recognition temperature measuring device |
Legal Events
| Date | Code | Title | Description |
|---|---|---|---|
| GR01 | Patent grant | ||
| GR01 | Patent grant | ||
| TR01 | Transfer of patent right | ||
| TR01 | Transfer of patent right |
Effective date of registration: 20230802 Address after: 417099 Complex Building 3525, Louxing Industrial Park Development Zone, Shuanglin Village, Shijing Town, Changqing Street, Louxing District, Loudi, Hunan Province Patentee after: Hunan Aixin Intelligent Technology Co.,Ltd. Address before: 510800 518, block B, Zhengsheng business building, 66 Xinhua Yingbin Avenue, Huadu District, Guangzhou City, Guangdong Province Patentee before: Fan Shaochun |