CN213499555U - Silica gel cutting machine of high accuracy - Google Patents
Silica gel cutting machine of high accuracy Download PDFInfo
- Publication number
- CN213499555U CN213499555U CN202021890127.2U CN202021890127U CN213499555U CN 213499555 U CN213499555 U CN 213499555U CN 202021890127 U CN202021890127 U CN 202021890127U CN 213499555 U CN213499555 U CN 213499555U
- Authority
- CN
- China
- Prior art keywords
- range
- hold
- extra
- silica gel
- cutting
- Prior art date
- Legal status (The legal status is an assumption and is not a legal conclusion. Google has not performed a legal analysis and makes no representation as to the accuracy of the status listed.)
- Expired - Fee Related
Links
- VYPSYNLAJGMNEJ-UHFFFAOYSA-N Silicium dioxide Chemical compound O=[Si]=O VYPSYNLAJGMNEJ-UHFFFAOYSA-N 0.000 title claims abstract description 39
- 239000000741 silica gel Substances 0.000 title claims abstract description 39
- 229910002027 silica gel Inorganic materials 0.000 title claims abstract description 39
- 230000001360 synchronised effect Effects 0.000 claims abstract description 59
- 239000011159 matrix material Substances 0.000 claims description 11
- 229920001296 polysiloxane Polymers 0.000 claims description 7
- 238000007664 blowing Methods 0.000 claims description 4
- 238000007599 discharging Methods 0.000 claims description 2
- 239000002994 raw material Substances 0.000 abstract description 16
- 239000000463 material Substances 0.000 description 6
- 238000000034 method Methods 0.000 description 6
- 230000003796 beauty Effects 0.000 description 1
- 230000009286 beneficial effect Effects 0.000 description 1
- 238000004519 manufacturing process Methods 0.000 description 1
Images
Landscapes
- Re-Forming, After-Treatment, Cutting And Transporting Of Glass Products (AREA)
Abstract
The utility model discloses a silica gel cutting machine of high accuracy, concretely relates to silica gel cutting technical field, including main part seat and cutting die, cutting die fixed connection is in one side on main part seat top, cutting die's top is provided with the cutter, the top of cutter is provided with servo motor. The utility model discloses a rear end in main part seat one side is fixed with synchronous machine, synchronous machine's top evenly is provided with area expansion hold-in range, area expansion hold-in range passes through belt and synchronous machine's output swing joint, when using, start synchronous machine, synchronous machine drives first extra wide hold-in range and the extra wide hold-in range opposite direction motion of second through area expansion hold-in range, under the spacing transport of first extra wide hold-in range and the extra wide hold-in range of second, the silica gel raw materials is evenly carried to cutting mechanism down, the percentage table can carry out 0.01mm level's regulation to first extra wide hold-in range and percentage table simultaneously, can improve the accuracy of silica gel raw materials cutting greatly like this, can satisfy the needs that use.
Description
Technical Field
The utility model relates to a silica gel cutting technical field specifically is a silica gel cutting machine of high accuracy.
Background
Silica gel is required to be cut to have a specific shape and size during production and use, so that various high-precision silica gel cutting machines appear on the market.
In the process of implementing the present invention, the inventor finds that at least the following problems exist in the prior art and are not solved:
(1) the traditional high-precision silica gel cutting machine has no pre-feeding function, so that the cutting length of silica gel is easily influenced in the feeding process;
(2) the traditional high-precision silica gel cutting machine has low silica gel cutting precision and cannot meet the use requirement;
(3) the traditional high-precision silica gel cutting machine is poor in safety because cutting is carried out through a blade.
SUMMERY OF THE UTILITY MODEL
An object of the utility model is to provide a silica gel cutting machine of high accuracy to propose in solving above-mentioned background art and do not have the pay-off function in advance, lead to the problem of the length that influences the silica gel cutting at the pay-off in-process easily.
In order to achieve the above object, the utility model provides a following technical scheme: a high-precision silica gel cutting machine comprises a main body seat and a cutting die, wherein the cutting die is fixedly connected to one side of the top end of the main body seat, a cutter is arranged at the top end of the cutting die, a servo motor is arranged at the top end of the cutter, a blanking groove is fixedly connected to one side of the main body seat, and a pre-feeding mechanism is arranged at one side of the main body seat;
feeding mechanism includes the elasticity frame in advance, elasticity frame fixed connection is on the top of main part seat one side, the one end swing joint of elasticity frame has spacing roller, the one end fixedly connected with high accuracy motor of main part seat one side, the output fixedly connected with feed roll of spacing roller, one side of feed roll is provided with high accuracy matrix inductor.
Preferably, the width between the limiting roller and the feeding roller is equal, and the limiting roller and the feeding roller are on the same vertical plane.
Preferably, the rear end fixedly connected with synchronous machine of main part seat one side, synchronous machine's top evenly is provided with the area inflation hold-in range, the area inflation hold-in range passes through belt and synchronous machine's output swing joint, the outside of area inflation hold-in range front end is provided with first extra wide hold-in range, the top of first extra wide hold-in range is provided with the extra wide hold-in range of second, one side of the extra wide hold-in range of second is provided with the percentage table.
Preferably, the belt expansion synchronous belt drives the first extra-wide synchronous belt and the second extra-wide synchronous belt to move oppositely, and the middle positions of the first extra-wide synchronous belt and the second extra-wide synchronous belt and the middle position of the cutting die are positioned on the same horizontal plane.
Preferably, one side of the cutting die is provided with a blowing hole, and the cutting die is detachably mounted on one side of the main body seat.
Preferably, the outside of main part seat is provided with closed frame, one side on closed frame top is provided with alarm indicator, closed frame's front end is provided with transparent high-quality panel, four corners of closed frame bottom are provided with the truckle.
Preferably, the feeding chute penetrates through the side wall of the closed frame and extends to the outside of the closed frame.
Compared with the prior art, the beneficial effects of the utility model are that: the high-precision silica gel cutting machine not only realizes the function of pre-feeding, avoids influencing the cutting length of the silica gel in the feeding process, realizes higher precision of the silica gel cutting, can meet the use requirement, but also greatly enhances the beauty and the safety of the device;
(1) by arranging the pre-feeding mechanism, the pre-feeding mechanism comprises an elastic frame, the elastic frame is fixed at the top end of one side of the main body seat, one end of the elastic frame is movably provided with a limiting roller, one end of one side of the main body seat is fixedly provided with a high-precision motor, the output end of the limiting roller is fixedly provided with a feeding roller, one side of the feeding roller is provided with a high-precision matrix type inductor, when the pre-feeding mechanism is used, the high-precision motor is started and drives the feeding roller to rotate, the elastic frame can enable the limiting roller to clamp a silica gel raw material between the limiting roller and the feeding roller, the silica gel raw material can be conveyed in advance by matching between the limiting roller and the feeding roller, meanwhile, the high-precision matrix type inductor can monitor the material state in real time;
(2) a synchronous motor is fixed at the rear end of one side of a main body seat, a belt expansion synchronous belt is uniformly arranged at the top end of the synchronous motor, the belt expansion synchronous belt is movably connected with the output end of the synchronous motor through a belt, a first extra-wide synchronous belt is arranged outside the front end of the belt expansion synchronous belt, a second extra-wide synchronous belt is arranged at the top end of the first extra-wide synchronous belt, a dial indicator is arranged at one side of the second extra-wide synchronous belt, when the cutting machine is used, the synchronous motor is started, the synchronous motor drives the first extra-wide synchronous belt and the second extra-wide synchronous belt to move oppositely through the belt expansion synchronous belt, under the limiting conveying of the first extra-wide synchronous belt and the second extra-wide synchronous belt, a silica gel raw material is uniformly conveyed to a cutting mechanism, and meanwhile, the dial indicator can adjust the first extra-wide synchronous belt and the dial indicator by 0.01, can meet the use requirement;
(3) through the outside at the main part seat is provided with closed frame, one side on closed frame top is provided with alarm indicator, closed frame's front end is provided with transparent high-quality panel, four corners of closed frame bottom are provided with the truckle, when using, owing to need cut the silica gel raw materials with the cutter, personnel's operation has very big potential safety hazard, consequently equipment can not move under the condition that transparent high-quality panel does not close on closed frame, open transparent high-quality panel also can the bring to rest when the operation, can strengthen the security performance of this cutting machine when using greatly like this, simultaneously through being provided with alarm indicator, can sense the warning under the condition of scarce material at high accuracy matrix inductor like this, closed frame adopts big radian chamfer to increase the aesthetic measure moreover.
Drawings
FIG. 1 is a schematic perspective view of the present invention;
fig. 2 is a schematic front view of the cross-sectional structure of the present invention;
fig. 3 is a schematic view of a rear view cross-sectional structure of the present invention;
fig. 4 is a schematic view of the external frame structure of the present invention.
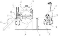
In the figure: 1. a main body seat; 2. a high-precision motor; 3. a limiting roller; 4. a feed roller; 5. a high-precision matrix sensor; 6. a first extra-wide synchronous belt; 7. cutting the die; 8. a discharging groove; 9. a gas blowing hole; 10. a cutter; 11. a servo motor; 12. a second extra-wide synchronous belt; 13. a dial indicator; 14. an elastic frame; 15. a belt expansion synchronous belt; 16. a synchronous motor; 17. a closed frame; 18. an alarm indicator light; 19. transparent high-quality plate; 20. and a caster.
Detailed Description
The technical solutions in the embodiments of the present invention will be described clearly and completely with reference to the accompanying drawings in the embodiments of the present invention, and it is obvious that the described embodiments are only some embodiments of the present invention, not all embodiments. Based on the embodiments in the present invention, all other embodiments obtained by a person skilled in the art without creative work belong to the protection scope of the present invention.
Example 1: referring to fig. 1-4, a high-precision silicone cutting machine includes a main body seat 1 and a cutting die 7, wherein the cutting die 7 is fixedly connected to one side of the top end of the main body seat 1, a cutter 10 is arranged at the top end of the cutting die 7, a servo motor 11 is arranged at the top end of the cutter 10, the type of the servo motor 11 can be ASD-a2, a blanking slot 8 is fixedly connected to one side of the main body seat 1, and a pre-feeding mechanism is arranged at one side of the main body seat 1;
referring to fig. 1-4, the high-precision silica gel cutting machine further comprises a pre-feeding mechanism, the pre-feeding mechanism comprises an elastic frame 14, the elastic frame 14 is fixedly connected to the top end of one side of the main body seat 1, one end of the elastic frame 14 is movably connected with a limiting roller 3, one end of one side of the main body seat 1 is fixedly connected with a high-precision motor 2, the model of the high-precision motor 2 can be 7124B14, the output end of the limiting roller 3 is fixedly connected with a feeding roller 4, and one side of the feeding roller 4 is provided with a high-precision matrix sensor 5;
the width between the limiting roller 3 and the feeding roller 4 is equal, and the limiting roller 3 and the feeding roller 4 are on the same vertical plane;
specifically, as shown in fig. 1 and 2, when the device is used, the high-precision motor 2 is started, the high-precision motor 2 drives the feeding roller 4 to rotate, the elastic frame 14 can enable the limiting roller 3 to clamp the silica gel raw material between the limiting roller 3 and the feeding roller 4, the silica gel raw material can be conveyed in advance through cooperation between the limiting roller 3 and the feeding roller 4, meanwhile, the high-precision matrix type inductor 5 can monitor the material state in real time, and the influence on the cutting length of the silica gel in the feeding process is avoided.
Example 2: the rear end of one side of the main body seat 1 is fixedly connected with a synchronous motor 16, the type of the synchronous motor 16 can be 130ST-M15025, a belt expansion synchronous belt 15 is uniformly arranged at the top end of the synchronous motor 16, the belt expansion synchronous belt 15 is movably connected with the output end of the synchronous motor 16 through a belt, a first extra-wide synchronous belt 6 is arranged outside the front end of the belt expansion synchronous belt 15, a second extra-wide synchronous belt 12 is arranged at the top end of the first extra-wide synchronous belt 6, and a dial indicator 13 is arranged on one side of the second extra-wide synchronous belt 12;
the belt expansion synchronous belt 15 drives the first extra-wide synchronous belt 6 and the second extra-wide synchronous belt 12 to move oppositely, and the middle positions of the first extra-wide synchronous belt 6 and the second extra-wide synchronous belt 12 and the middle position of the cutting die 7 are positioned on the same horizontal plane;
one side of the cutting die 7 is provided with a blowing hole 9, and the cutting die 7 is detachably arranged on one side of the main body seat 1;
specifically, as shown in fig. 1 and fig. 3, when using, start synchronous motor 16, synchronous motor 16 drives first extra-wide hold-in range 6 and the extra-wide hold-in range 12 opposite direction motion of second through area inflation hold-in range 15, under the spacing transport of first extra-wide hold-in range 6 and the extra-wide hold-in range 12 of second, the silica gel raw materials is evenly carried to cutting mechanism down, simultaneously percentage table 13 can carry out 0.01mm level's regulation to first extra-wide hold-in range 6 and percentage table 13, can improve the accuracy of silica gel raw materials cutting so greatly, can satisfy the needs that use.
Example 3: a closed frame 17 is arranged outside the main body seat 1, an alarm indicator lamp 18 is arranged on one side of the top end of the closed frame 17, a transparent high-quality plate 19 is arranged at the front end of the closed frame 17, and casters 20 are arranged at four corners of the bottom end of the closed frame 17;
the blanking groove 8 penetrates through the side wall of the closed frame 17 and extends to the outside of the closed frame 17;
specifically, as shown in fig. 1 and 4, when using, because need cut the silica gel raw materials with cutter 10, personnel's operation has very big potential safety hazard, consequently equipment can not move under the condition that transparent high-quality panel 19 does not close on closed frame 17, open transparent high-quality panel 19 also can the out-of-service when moving, can strengthen the security performance of this cutting machine when using greatly like this, simultaneously through being provided with alarm indicator 18, can report to the police under the condition of lack of material is sensed to high accuracy matrix inductor 5 like this, closed frame 17 has adopted the big radian chamfer to increase pleasing to the eye degree moreover.
The working principle is as follows: the utility model discloses when using, at first, start high accuracy motor 2, high accuracy motor 2 drives feed roll 4 and rotates, and elastic frame 14 can make spacing roller 3 press from both sides the silica gel raw materials tight between spacing roller 3 and feed roll 4, and the cooperation can convey the silica gel raw materials in advance between spacing roller 3 and the feed roll 4, and high accuracy matrix inductor 5 can carry out real-time supervision to the material state simultaneously, prevents to influence the length of silica gel cutting at the pay-off in-process.
Afterwards, when using, start synchronous motor 16, synchronous motor 16 drives first extra-wide hold-in range 6 and the extra-wide hold-in range 12 opposite direction motion of second through taking expansion hold-in range 15, under the spacing transport of first extra-wide hold-in range 6 and the extra-wide hold-in range 12 of second, the silica gel raw materials is evenly carried to cutting mechanism down, dial indicator 13 can carry out 0.01mm level's regulation to first extra-wide hold-in range 6 and dial indicator 13 simultaneously, can improve the accuracy of silica gel raw materials cutting greatly like this, can satisfy the needs that use.
Finally, when using, because need cut the silica gel raw materials with cutter 10, personnel's operation has very big potential safety hazard, consequently, equipment can not move under the condition that transparent high-quality panel 19 does not close on closed frame 17, open transparent high-quality panel 19 also can the bring to rest during the operation, can strengthen the security performance of this cutting machine when using greatly like this, simultaneously through being provided with alarm indicator 18, can report to the police under the condition of lack of material is sensed at high accuracy matrix inductor 5 like this, closed frame 17 adopts the big radian chamfer to increase pleasing to the eye degree moreover.
It is obvious to a person skilled in the art that the invention is not restricted to details of the above-described exemplary embodiments, but that it can be implemented in other specific forms without departing from the spirit or essential characteristics of the invention. The present embodiments are therefore to be considered in all respects as illustrative and not restrictive, the scope of the invention being indicated by the appended claims rather than by the foregoing description, and all changes which come within the meaning and range of equivalency of the claims are therefore intended to be embraced therein. Any reference sign in a claim should not be construed as limiting the claim concerned.
Claims (7)
1. The utility model provides a silica gel cutting machine of high accuracy, includes main part seat (1) and cutting die (7), its characterized in that: the cutting die (7) is fixedly connected to one side of the top end of the main body seat (1), a cutter (10) is arranged at the top end of the cutting die (7), a servo motor (11) is arranged at the top end of the cutter (10), a blanking groove (8) is fixedly connected to one side of the main body seat (1), and a pre-feeding mechanism is arranged at one side of the main body seat (1);
feeding mechanism includes elastic frame (14) in advance, elastic frame (14) fixed connection is on the top of main part seat (1) one side, the one end swing joint of elastic frame (14) has spacing roller (3), the one end fixedly connected with high accuracy motor (2) of main part seat (1) one side, the output end fixedly connected with feed roll (4) of spacing roller (3), one side of feed roll (4) is provided with high accuracy matrix inductor (5).
2. The high-precision silicone cutter according to claim 1, wherein: the width between the limiting roller (3) and the feeding roller (4) is equal, and the limiting roller (3) and the feeding roller (4) are on the same vertical plane.
3. The high-precision silicone cutter according to claim 1, wherein: the utility model discloses a novel electric appliance, including main part seat (1), the rear end fixedly connected with synchronous motor (16) of main part seat (1) one side, the top of synchronous motor (16) evenly is provided with area inflation hold-in range (15), the output swing joint of area inflation hold-in range (15) through belt and synchronous motor (16), the outside of area inflation hold-in range (15) front end is provided with first extra wide hold-in range (6), the top of first extra wide hold-in range (6) is provided with second extra wide hold-in range (12), one side of second extra wide hold-in range (12) is provided with percentage table (13).
4. A high accuracy silicone cutter according to claim 3, wherein: synchronous motor (16) drive first extra-wide hold-in range (6) and second extra-wide hold-in range (12) opposite direction motion through taking inflation hold-in range (15), and the intermediate position department of first extra-wide hold-in range (6) and second extra-wide hold-in range (12) is in same horizontal plane with the intermediate position of cutting die (7).
5. The high-precision silicone cutter according to claim 1, wherein: one side of the cutting die (7) is provided with a gas blowing hole (9), and the cutting die (7) is detachably arranged on one side of the main body seat (1).
6. The high-precision silicone cutter according to claim 1, wherein: the outside of main part seat (1) is provided with closed frame (17), one side on closed frame (17) top is provided with alarm indicator (18), the front end of closed frame (17) is provided with transparent high-quality panel (19), four corners of closed frame (17) bottom are provided with truckle (20).
7. The high-precision silicone cutter according to claim 6, wherein: the discharging groove (8) penetrates through the side wall of the closed frame (17) and extends to the outside of the closed frame (17).
Priority Applications (1)
| Application Number | Priority Date | Filing Date | Title |
|---|---|---|---|
| CN202021890127.2U CN213499555U (en) | 2020-09-02 | 2020-09-02 | Silica gel cutting machine of high accuracy |
Applications Claiming Priority (1)
| Application Number | Priority Date | Filing Date | Title |
|---|---|---|---|
| CN202021890127.2U CN213499555U (en) | 2020-09-02 | 2020-09-02 | Silica gel cutting machine of high accuracy |
Publications (1)
| Publication Number | Publication Date |
|---|---|
| CN213499555U true CN213499555U (en) | 2021-06-22 |
Family
ID=76444069
Family Applications (1)
| Application Number | Title | Priority Date | Filing Date |
|---|---|---|---|
| CN202021890127.2U Expired - Fee Related CN213499555U (en) | 2020-09-02 | 2020-09-02 | Silica gel cutting machine of high accuracy |
Country Status (1)
| Country | Link |
|---|---|
| CN (1) | CN213499555U (en) |
-
2020
- 2020-09-02 CN CN202021890127.2U patent/CN213499555U/en not_active Expired - Fee Related
Similar Documents
| Publication | Publication Date | Title |
|---|---|---|
| CN212352135U (en) | Cutting equipment is used in plastic bag processing production | |
| CN215064256U (en) | Lithium battery tab interval detection tool | |
| CN113681066B (en) | Plate shearing machine with flattening function | |
| CN213499555U (en) | Silica gel cutting machine of high accuracy | |
| CN113652506A (en) | Intelligent leather equidistance cutting equipment for leather products | |
| CN220219815U (en) | Double-coil forming mechanism | |
| CN210704960U (en) | Cutting, stacking and conveying table | |
| CN205765188U (en) | Automatic machine tool for guide rail catch chamfer machining | |
| CN206156451U (en) | Continuous type grid roller shear burst device | |
| CN214187300U (en) | Automatic cutting machine for plastic uptake tray | |
| CN213324129U (en) | Automatic labeling device for two-dimensional code label of medical supplies | |
| CN208052300U (en) | A kind of building materials scrap edge cutting device | |
| CN214606004U (en) | Three-roller calender is used in bicycle cover tire production | |
| CN221756113U (en) | A cutting and collecting device for producing blister packaging containers | |
| CN215702313U (en) | High-speed flat-pressing gold stamping die-cutting machine | |
| CN208592580U (en) | A kind of compact shelving, bookshelf circular arc column system of processing | |
| CN219468206U (en) | Eye paste packaging machine | |
| CN212414886U (en) | Proof press is used in clothing production | |
| CN214265854U (en) | Slitting device for plastic packaging bag production line | |
| CN213562926U (en) | Fixing device of pipe cutting machine | |
| CN222036507U (en) | A device for automatically cutting and flanging plates | |
| CN223292442U (en) | Glass bead forming device | |
| CN211386401U (en) | Bending machine for producing fireproof door | |
| CN213918572U (en) | Cutting frame for packaging material film | |
| CN220241591U (en) | Profile extruder with cutter |
Legal Events
| Date | Code | Title | Description |
|---|---|---|---|
| GR01 | Patent grant | ||
| GR01 | Patent grant | ||
| CF01 | Termination of patent right due to non-payment of annual fee |
Granted publication date: 20210622 |
|
| CF01 | Termination of patent right due to non-payment of annual fee |