CN213494613U - A kind of asphalt scraping device for waterproofing membrane production - Google Patents

A kind of asphalt scraping device for waterproofing membrane production Download PDF

Info

Publication number
CN213494613U
CN213494613U CN202022520311.4U CN202022520311U CN213494613U CN 213494613 U CN213494613 U CN 213494613U CN 202022520311 U CN202022520311 U CN 202022520311U CN 213494613 U CN213494613 U CN 213494613U
Authority
CN
China
Prior art keywords
fixed mounting
knife coating
scraping
mounting
roller
Prior art date
Legal status (The legal status is an assumption and is not a legal conclusion. Google has not performed a legal analysis and makes no representation as to the accuracy of the status listed.)
Expired - Fee Related
Application number
CN202022520311.4U
Other languages
Chinese (zh)
Inventor
吴瑞锋
Current Assignee (The listed assignees may be inaccurate. Google has not performed a legal analysis and makes no representation or warranty as to the accuracy of the list.)
Tibet Zhenlong Building Materials Co ltd
Original Assignee
Tibet Zhenlong Building Materials Co ltd
Priority date (The priority date is an assumption and is not a legal conclusion. Google has not performed a legal analysis and makes no representation as to the accuracy of the date listed.)
Filing date
Publication date
Application filed by Tibet Zhenlong Building Materials Co ltd filed Critical Tibet Zhenlong Building Materials Co ltd
Priority to CN202022520311.4U priority Critical patent/CN213494613U/en
Application granted granted Critical
Publication of CN213494613U publication Critical patent/CN213494613U/en
Expired - Fee Related legal-status Critical Current
Anticipated expiration legal-status Critical

Links

Images

Landscapes

  • Road Paving Machines (AREA)

Abstract

本实用新型公开了防水卷材加工设备领域的一种防水卷材生产用沥青刮涂装置,包括底座和安装架,底座上固定安装有刮涂箱,刮涂箱内固定安装有固定架,固定架上固定安装有防水卷材,防水卷材的右侧设置有第二安装座,第二安装座上固定安装有第二刮涂辊,第二刮涂辊正上方设置第一安装座,第一安装座下部固定安装有第一刮涂辊,本实用新型的有益效果是:本种沥青刮涂装置结构简单,使用方便,通过第一刮涂辊和第二刮涂辊间的间隙可调,使得本设备能够对多种规格厚度的防水卷材进行刮涂作业,进一步提高了本设备的适用性,且由于第一刮涂辊和第二刮涂辊间的间隙可调,使得防水卷材在穿过时更加方便快捷,节省了大量时间,从而进一步提高了加工效率。

Figure 202022520311

The utility model discloses an asphalt scraping device for the production of waterproof coiled materials, which belongs to the field of waterproofing coiled material processing equipment. The device comprises a base and a mounting frame. The waterproof coiled material is fixedly installed on the frame, the right side of the waterproof coiled material is provided with a second mounting seat, a second coating roller is fixedly installed on the second mounting seat, and a first mounting seat is set directly above the second coating roller, and the first mounting seat is installed on the second mounting seat. A first scraping coating roller is fixedly installed at the lower part of the mounting seat, and the beneficial effects of the utility model are: the asphalt scraping coating device has a simple structure, is convenient to use, and can be adjusted through the gap between the first scraping coating roller and the second scraping coating roller , so that the equipment can perform scraping operation on waterproof coils of various specifications and thicknesses, which further improves the applicability of the equipment, and because the gap between the first scraping roll and the second scraping roll The material is more convenient and quicker when passing through, which saves a lot of time, thereby further improving the processing efficiency.

Figure 202022520311

Description

Asphalt scraping device for waterproof coiled material production
Technical Field
The utility model relates to a waterproofing membrane processing equipment field specifically is a waterproofing membrane production is with pitch knife coating device.
Background
Asphalt or polymer waterproof materials are soaked on a tire body, and a manufactured waterproof material product is provided in a roll form and is called a waterproof roll, the waterproof roll needs to be processed by various devices in the production process, and an asphalt blade coating device is one of the waterproof roll and the waterproof roll.
Present asphalt knife coating device single structure for the knife coating roller of knife coating operation is fixed mounting mostly inside the knife coating device, because interval can't be adjusted between two knife coating rollers, thereby makes the suitability of asphalt knife coating device lower, and is unfavorable for waterproofing membrane's passing through, influences machining efficiency easily, consequently the utility model provides a waterproofing membrane production is with asphalt knife coating device.
SUMMERY OF THE UTILITY MODEL
The utility model provides a waterproofing membrane production is with pitch knife coating device for solve above-mentioned current pitch knife coating device single structure, a knife coating roller for the knife coating operation is fixed mounting mostly inside the knife coating device, because the interval can't be adjusted between two knife coating rollers, thereby make pitch knife coating device's suitability lower, and be unfavorable for waterproofing membrane's passing through, influence machining efficiency's problem easily.
In order to solve the technical problem, the utility model provides a following technical scheme:
a pitch scraping device for producing waterproof coiled materials comprises a base and a mounting frame, wherein a scraping box is fixedly mounted on the base, a fixing frame is fixedly mounted in the scraping box, waterproof coiled materials are fixedly mounted on the fixing frame, a second mounting seat is arranged on the right side of each waterproof coiled material, a second scraping roller is fixedly mounted on the second mounting seat, a first mounting seat is arranged right above the second scraping roller, a first scraping roller is fixedly mounted on the lower portion of the first mounting seat, a connecting rod is fixedly mounted on the first mounting seat, the top of the connecting rod extends out of the mounting frame, a limiting seat is fixedly mounted on the top of the connecting rod, a return spring is sleeved on the connecting rod, the top of the return spring is fixedly mounted on the mounting frame, the bottom of the return spring is fixedly mounted on the first mounting seat, a lower compression roller is arranged on the right side of the second mounting seat, the fixed mounting of the position corresponding to the lower compression roller on the mounting rack is provided with an upper compression roller, and the top of the scraping and coating box is provided with the mounting rack.
As a further aspect of the present invention: the bottom of the mounting frame is fixedly provided with two clamping blocks, the positions of the two clamping blocks in the knife coating box, which correspond to the two clamping blocks, are respectively provided with a fixed seat, the clamping blocks are clamped in the fixed seats, the two clamping blocks are respectively connected with a sliding plate in a sliding manner, one side, which is far away from each other, of the two sliding plates is respectively fixedly provided with a pin rod, the positions, which correspond to the pin rods, of the two fixed seats are respectively provided with a pin hole, one side, which is far away from the sliding plates, of the two pin rods extends out of the pin holes, one side, which is close to each other, of the two sliding plates is respectively fixedly provided with a locking spring, one side, which is close to each other, of the two locking springs is respectively fixedly arranged on the inner wall of the clamping blocks, the two pin rods are pressed into the clamping, can accomplish the installation of mounting bracket, this kind of connected mode makes the mounting bracket convenient to install and dismantle, and the convenience is overhauld the spare part in this equipment, shortens maintenance time, avoids influencing machining efficiency.
As a further aspect of the present invention: the both sides of knife coating case all are provided with the opening, have the opening through of being convenient for waterproofing membrane through reserving, are favorable to waterproofing membrane's knife coating operation.
As a further aspect of the present invention: the front end of blade coating case is provided with the observation window, is convenient for observe the blade coating operation condition in the blade coating case through the observation window, is favorable to the use of this equipment.
As a further aspect of the present invention: spacing top of the seat fixed mounting have a pull ring, be convenient for stimulate spacing seat through the pull ring, be favorable to the use of first knife coating roller.
As a further aspect of the present invention: go up the compression roller and be stainless steel material with lower compression roller, through utilizing the smooth frictional force of stainless steel material surface characteristic little, avoid carrying out the compaction in-process to waterproofing membrane and lead to producing the damage on waterproofing membrane, influence waterproofing membrane's quality.
Advantageous effects
Compared with the prior art, the beneficial effects of the utility model are that:
1. the utility model discloses a, through upwards pulling the pull ring, the pull ring drives spacing seat to rise, spacing seat is beaten the connecting rod and is risen, the connecting rod drives first mount pad and rises, first mount pad drives first knife coating roller and rises, make the clearance between first knife coating roller and second knife coating roller grow, then pass waterproofing membrane from between first knife coating roller and second knife coating roller, loosen the pull ring, return spring return drives first knife coating roller to push down this moment, make first knife coating roller and second knife coating roller offset with waterproofing membrane's top and bottom respectively, utilize the coiling of external winding mechanism to carry out the knife coating operation of waterproofing membrane, this kind of pitch knife coating device simple structure, high durability and convenient use, through the clearance between first knife coating roller and second knife coating roller is adjustable, make this equipment can carry out the knife coating operation to the waterproofing membrane of multiple specification thickness, the suitability of this equipment has further been improved, and because the clearance between first knife coating roller and the second knife coating roller is adjustable for waterproofing membrane is convenient and fast more when passing, has saved a large amount of time, thereby has further improved machining efficiency.
2. The utility model discloses in, through pressing down two pin poles to the fixture block in, make the fixture block break away from the fixing base to the lifting in, can dismantle the mounting bracket, utilize during the installation to peg graft the fixing base with the fixture block in, utilize locking spring to drive the pin pole return, can accomplish the installation of mounting bracket, this kind of connected mode makes mounting bracket convenient to install and dismantles, is favorable to overhauing the spare part in this equipment, has shortened repair time.
Drawings
The accompanying drawings are included to provide a further understanding of the invention, and are incorporated in and constitute a part of this specification, illustrate embodiments of the invention, and together with the description serve to explain the invention and not to limit the invention. In the drawings:
fig. 1 is a schematic structural diagram of the present invention;
fig. 2 is a front view of the present invention;
fig. 3 is an enlarged view of a in fig. 1 according to the present invention.
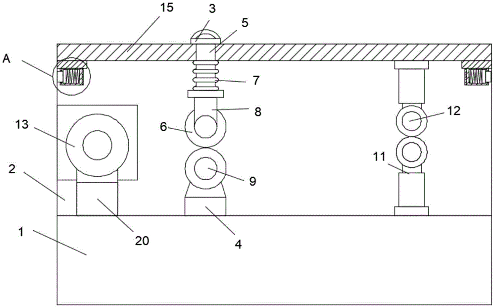
In the figure: 1. a base; 2. scraping and coating a box; 3. a limiting seat; 4. a second mounting seat; 5. a connecting rod; 6. a first doctor roll; 7. a return spring; 8. a first mounting seat; 9. a second knife coating roller; 10. a pin hole; 11. a lower pressing roller; 12. an upper compression roller; 13. waterproof coiled materials; 14. a clamping block; 15. a mounting frame; 16. a fixed seat; 17. a locking spring; 18. a slide plate; 19. a pin rod; 20. a fixing frame.
Detailed Description
The technical solutions in the embodiments of the present invention will be described clearly and completely with reference to the accompanying drawings in the embodiments of the present invention, and it is obvious that the described embodiments are only some embodiments of the present invention, not all embodiments. Based on the embodiments in the present invention, all other embodiments obtained by a person skilled in the art without creative work belong to the protection scope of the present invention.
Example (b): as shown in figures 1-3, an asphalt scraping device for producing waterproof coiled materials comprises a base 1 and a mounting frame 15, wherein a scraping box 2 is fixedly mounted on the base 1, a fixing frame 20 is fixedly mounted in the scraping box 2, a waterproof coiled material 13 is fixedly mounted on the fixing frame 20, a second mounting seat 4 is arranged on the right side of the waterproof coiled material 13, a second scraping roller 9 is fixedly mounted on the second mounting seat 4, a first mounting seat 8 is arranged right above the second scraping roller 9, a first scraping roller 6 is fixedly mounted on the lower portion of the first mounting seat 8, a connecting rod 5 is fixedly mounted on the first mounting seat 8, the top of the connecting rod 5 extends out of the mounting frame 15, a limiting seat 3 is fixedly mounted on the top of the connecting rod 5, a return spring 7 is sleeved on the connecting rod 5, the top of the return spring 7 is fixedly mounted on the mounting frame 15, the bottom of the return spring 7 is fixedly mounted on the first, the right side of second mount pad 4 is provided with down compression roller 11, corresponds on the mounting bracket 15 that down compression roller 11 department fixed mounting has last compression roller 12, and the top of knife coating case 2 is provided with mounting bracket 15.
The bottom of the mounting frame 15 is fixedly provided with two clamping blocks 14, the inside of the blade coating box 2 corresponding to the two clamping blocks 14 is provided with a fixed seat 16, the clamping blocks 14 are clamped in the fixed seats 16, the inside of the two clamping blocks 14 is slidably connected with a sliding plate 18, one side of each sliding plate 18, which is far away from the other side, is fixedly provided with a pin rod 19, the corresponding pin rod 19 on the two fixed seats 16 is provided with a pin hole 10, one side of each pin rod 19, which is far away from the corresponding sliding plate 18, extends out of the pin hole 10, one side of each sliding plate 18, which is close to the other side, is fixedly provided with a locking spring 17, one side of each locking spring 17, which is close to the other side, is fixedly provided on the inner wall of the clamping block 14, the two pin rods 19 are pressed into the clamping blocks 14 and are lifted upwards to separate the clamping blocks 14 from the fixed seats 16, can accomplish the installation of mounting bracket 15, this kind of connected mode makes mounting bracket 15 be convenient for the installation dismantle, and the convenience is overhauld the spare part in this equipment, shortens maintenance time, avoids influencing machining efficiency.
Both sides of knife coating case 2 all are provided with the opening, have the opening through of waterproofing membrane 13 of being convenient for through reserving, are favorable to waterproofing membrane 13's knife coating operation.
The front end of the knife coating box 2 is provided with an observation window, and the knife coating operation condition in the knife coating box 2 is convenient to observe through the observation window, so that the use of the equipment is facilitated.
The top of the limiting seat 3 is fixedly provided with a pull ring, and the limiting seat 3 is convenient to pull through the pull ring, so that the use of the first scraping roller 6 is facilitated.
Go up compression roller 12 and lower compression roller 11 and be stainless steel, through utilizing the smooth frictional force of stainless steel material surface characteristic little, avoid carrying out the compaction in-process to waterproofing membrane 13 and lead to producing the damage on waterproofing membrane 13, influence waterproofing membrane 13's quality.
Specifically, when the utility model is used, the pull ring is pulled upwards, the pull ring drives the limiting seat 3 to ascend, the limiting seat 3 drives the connecting rod 5 to ascend, the connecting rod 5 drives the first mounting seat 8 to ascend, the first mounting seat 8 drives the first scraping roller 6 to ascend, so that the gap between the first scraping roller 6 and the second scraping roller 9 is enlarged, then the waterproof coiled material 13 passes through the gap between the first scraping roller 6 and the second scraping roller 9, the pull ring is loosened, the return spring 7 returns to drive the first scraping roller 6 to press downwards, so that the first scraping roller 6 and the second scraping roller 9 are respectively abutted against the top and the bottom of the waterproof coiled material 13, and the scraping operation of the waterproof coiled material 13 can be carried out by utilizing an external rolling mechanism for rolling, the asphalt scraping device has simple structure and convenient use, the gap between the first scraping roller 6 and the second scraping roller 9 is adjustable, so that the equipment can carry out the scraping operation on the waterproof coiled material 13 with various thicknesses and specifications, the applicability of the equipment is further improved, and the gap between the first scraping roller 6 and the second scraping roller 9 is adjustable, so that the waterproof coiled material 13 can pass through more conveniently and quickly, a large amount of time is saved, and the processing efficiency is further improved;
through pressing two pin rods 19 to the fixture block 14 in, upwards pull and make the fixture block 14 break away from the fixing base 16 in, can dismantle mounting bracket 15, utilize during the installation to peg graft fixture block 14 in fixing base 16, utilize locking spring 17 to drive pin rod 19 return, can accomplish the installation of mounting bracket 15, this kind of connected mode makes mounting bracket 15 be convenient for the installation dismantle, is favorable to overhauing the spare part in this equipment, has shortened the repair time.
Although embodiments of the present invention have been shown and described, it will be appreciated by those skilled in the art that changes, modifications, substitutions and alterations can be made in these embodiments without departing from the principles and spirit of the invention, the scope of which is defined in the appended claims and their equivalents.

Claims (6)

1. The utility model provides a waterproofing membrane production is with pitch knife coating device, its characterized in that, includes base (1) and mounting bracket (15), fixed mounting has knife coating case (2) on base (1), fixed mounting has mount (20) in knife coating case (2), fixed mounting has waterproofing membrane (13) on mount (20), the right side of waterproofing membrane (13) is provided with second mount pad (4), fixed mounting has second knife coating roller (9) on second mount pad (4), set up first mount pad (8) directly over second knife coating roller (9), fixed mounting has first knife coating roller (6) in first mount pad (8) lower part, just fixed mounting connecting rod (5) on first mount pad (8), mounting bracket (15) extends at connecting rod (5) top, connecting rod (5) top fixed mounting has spacing seat (3), just the cover is equipped with return spring (7) on connecting rod (5), return spring (7) top fixed mounting is on mounting bracket (15), the bottom fixed mounting of return spring (7) is on first mount pad (8), the right side of second mount pad (4) is provided with down compression roller (11), compression roller (11) department fixed mounting has last compression roller (12) under corresponding on mounting bracket (15), the top of knife coating case (2) is provided with mounting bracket (15).
2. The asphalt scraping and coating device for the production of waterproof rolls as claimed in claim 1, wherein the bottom of the mounting rack (15) is fixedly provided with a fixture block (14), two clamping blocks (14) are arranged, fixing seats (16) are arranged in the blade coating box (2) corresponding to the two clamping blocks (14), the fixture blocks (14) are clamped in the fixed seat (16), sliding plates (18) are connected in the two fixture blocks (14) in a sliding manner, pin rods (19) are fixedly arranged on the sides, far away from each other, of the two sliding plates (18), and two the fixing base (16) is gone up and is corresponded pin rod (19) department and all be provided with pinhole (10), two pinhole (10) are all extended to one side that slide (18) were kept away from in pin rod (19), two slide (18) are close to one side each other and all fixed mounting has locking spring (17), two locking spring (17) are close to one side each other and all fixed mounting on the inner wall of fixture block (14).
3. The asphalt scraping device for waterproof coiled material production according to claim 1, wherein openings are arranged on both sides of the scraping box (2).
4. The asphalt scraping device for waterproof coiled material production according to claim 1, wherein the front end of the scraping box (2) is provided with an observation window.
5. The asphalt scraping device for the production of waterproof rolls as claimed in claim 1, wherein a pull ring is fixedly mounted on the top of the limiting seat (3).
6. The asphalt scraping device for waterproof coiled material production according to claim 1, wherein the upper press roll (12) and the lower press roll (11) are both made of stainless steel.
CN202022520311.4U 2020-11-04 2020-11-04 A kind of asphalt scraping device for waterproofing membrane production Expired - Fee Related CN213494613U (en)

Priority Applications (1)

Application Number Priority Date Filing Date Title
CN202022520311.4U CN213494613U (en) 2020-11-04 2020-11-04 A kind of asphalt scraping device for waterproofing membrane production

Applications Claiming Priority (1)

Application Number Priority Date Filing Date Title
CN202022520311.4U CN213494613U (en) 2020-11-04 2020-11-04 A kind of asphalt scraping device for waterproofing membrane production

Publications (1)

Publication Number Publication Date
CN213494613U true CN213494613U (en) 2021-06-22

Family

ID=76420614

Family Applications (1)

Application Number Title Priority Date Filing Date
CN202022520311.4U Expired - Fee Related CN213494613U (en) 2020-11-04 2020-11-04 A kind of asphalt scraping device for waterproofing membrane production

Country Status (1)

Country Link
CN (1) CN213494613U (en)

Cited By (1)

* Cited by examiner, † Cited by third party
Publication number Priority date Publication date Assignee Title
CN114277584A (en) * 2021-12-24 2022-04-05 薛勇 Thermoplastic polyolefin waterproof coiled material and preparation process thereof

Cited By (1)

* Cited by examiner, † Cited by third party
Publication number Priority date Publication date Assignee Title
CN114277584A (en) * 2021-12-24 2022-04-05 薛勇 Thermoplastic polyolefin waterproof coiled material and preparation process thereof

Similar Documents

Publication Publication Date Title
CN209531778U (en) A kind of Combined bending mold
CN213494613U (en) A kind of asphalt scraping device for waterproofing membrane production
CN110195349A (en) A kind of efficient splitting equipment of automation wall paper
CN212576740U (en) Tension regulator of coating machine
CN112474916A (en) Metal plate bending die
CN216613390U (en) A copper foil slitting anti-wrinkle structure
CN218642025U (en) Cloth coiling mechanism for loom
CN218994967U (en) Steel structure strength detection device
CN216175465U (en) Automatic straightening equipment for aluminum alloy plates
CN223431722U (en) Multi-shape integrated geogrid punching die
CN218707647U (en) Cloth winding device in textile machine
CN223765768U (en) Coiling mechanism is used in stainless steel wire production
CN217191755U (en) Copper strips stretch bending straightening equipment
CN213322016U (en) A cardboard creasing device
CN222175437U (en) Aluminium book processing evener
CN216369525U (en) Ball head positioning compression roller and roller changing device
CN217556319U (en) Foil forming machine with detachable guide wheel assembly structure
CN223465620U (en) A cutting device for aluminum plate curtain wall production
CN223589659U (en) Refractory material pressing device
CN222715377U (en) Leather hem design equipment
CN221253405U (en) Wire winding equipment for fabric production
CN218344758U (en) Winding mechanism of winding machine
CN221593385U (en) Adjusting device for pressing dry thick foil moisture through post-treatment
CN217201164U (en) Be applied to material loading auxiliary device on board-like material machine of opening
CN218903126U (en) Steel wire calendering structure

Legal Events

Date Code Title Description
GR01 Patent grant
GR01 Patent grant
CF01 Termination of patent right due to non-payment of annual fee

Granted publication date: 20210622

CF01 Termination of patent right due to non-payment of annual fee