CN213480103U - City and road lighting engineering are with assembling street lamp - Google Patents

City and road lighting engineering are with assembling street lamp Download PDF

Info

Publication number
CN213480103U
CN213480103U CN202022836938.0U CN202022836938U CN213480103U CN 213480103 U CN213480103 U CN 213480103U CN 202022836938 U CN202022836938 U CN 202022836938U CN 213480103 U CN213480103 U CN 213480103U
Authority
CN
China
Prior art keywords
street lamp
lamp
lamp pole
road lighting
limiting
Prior art date
Legal status (The legal status is an assumption and is not a legal conclusion. Google has not performed a legal analysis and makes no representation as to the accuracy of the status listed.)
Expired - Fee Related
Application number
CN202022836938.0U
Other languages
Chinese (zh)
Inventor
蔡由良
Current Assignee (The listed assignees may be inaccurate. Google has not performed a legal analysis and makes no representation or warranty as to the accuracy of the list.)
Sichuan Zhonghaolongrun Construction Engineering Co ltd
Original Assignee
Sichuan Zhonghaolongrun Construction Engineering Co ltd
Priority date (The priority date is an assumption and is not a legal conclusion. Google has not performed a legal analysis and makes no representation as to the accuracy of the date listed.)
Filing date
Publication date
Application filed by Sichuan Zhonghaolongrun Construction Engineering Co ltd filed Critical Sichuan Zhonghaolongrun Construction Engineering Co ltd
Priority to CN202022836938.0U priority Critical patent/CN213480103U/en
Application granted granted Critical
Publication of CN213480103U publication Critical patent/CN213480103U/en
Expired - Fee Related legal-status Critical Current
Anticipated expiration legal-status Critical

Links

Images

Classifications

    • YGENERAL TAGGING OF NEW TECHNOLOGICAL DEVELOPMENTS; GENERAL TAGGING OF CROSS-SECTIONAL TECHNOLOGIES SPANNING OVER SEVERAL SECTIONS OF THE IPC; TECHNICAL SUBJECTS COVERED BY FORMER USPC CROSS-REFERENCE ART COLLECTIONS [XRACs] AND DIGESTS
    • Y02TECHNOLOGIES OR APPLICATIONS FOR MITIGATION OR ADAPTATION AGAINST CLIMATE CHANGE
    • Y02BCLIMATE CHANGE MITIGATION TECHNOLOGIES RELATED TO BUILDINGS, e.g. HOUSING, HOUSE APPLIANCES OR RELATED END-USER APPLICATIONS
    • Y02B20/00Energy efficient lighting technologies, e.g. halogen lamps or gas discharge lamps
    • Y02B20/72Energy efficient lighting technologies, e.g. halogen lamps or gas discharge lamps in street lighting
    • YGENERAL TAGGING OF NEW TECHNOLOGICAL DEVELOPMENTS; GENERAL TAGGING OF CROSS-SECTIONAL TECHNOLOGIES SPANNING OVER SEVERAL SECTIONS OF THE IPC; TECHNICAL SUBJECTS COVERED BY FORMER USPC CROSS-REFERENCE ART COLLECTIONS [XRACs] AND DIGESTS
    • Y02TECHNOLOGIES OR APPLICATIONS FOR MITIGATION OR ADAPTATION AGAINST CLIMATE CHANGE
    • Y02EREDUCTION OF GREENHOUSE GAS [GHG] EMISSIONS, RELATED TO ENERGY GENERATION, TRANSMISSION OR DISTRIBUTION
    • Y02E10/00Energy generation through renewable energy sources
    • Y02E10/50Photovoltaic [PV] energy

Landscapes

  • Non-Portable Lighting Devices Or Systems Thereof (AREA)

Abstract

本实用新型涉及路灯技术领域,且公开了一种城市及道路照明工程用拼装路灯,包括底座,所述底座的顶部固定安装有第一灯杆,所述第一灯杆的顶部开设有置物槽,所述置物槽的内壁左右两侧均安装有开设在第一灯杆上的滑槽,所述置物槽的内底壁活动安装有螺杆,所述螺杆的外部套接有一端延伸到置物槽上方的第二灯杆。该城市及道路照明工程用拼装路灯,通过顺时针转动转杆带动主动齿轮顺时针转动,使从动齿轮转动带动螺杆转动,从而让第二灯杆向下移动,通过相背拉动限定板使限定板脱离定位槽,使用者向上移动太阳能电板,限位板脱离限位槽,如此,完成对太阳能电板的拆卸,大大的提升了设备的实用性,方便使用。

Figure 202022836938

The utility model relates to the technical field of street lamps, and discloses an assembled street lamp for urban and road lighting projects, comprising a base, a first lamp pole is fixedly installed on the top of the base, and a storage slot is opened on the top of the first lamp pole , the left and right sides of the inner wall of the storage slot are installed with a chute opened on the first light pole, the inner bottom wall of the storage slot is movably installed with a screw, and the outside of the screw is sleeved with one end extending to the storage slot The second light pole above. The assembled street lamp for urban and road lighting projects drives the driving gear to rotate clockwise by rotating the rotating rod clockwise, so that the driven gear rotates to drive the screw to rotate, so that the second lamp pole moves downward, and the limiting plate is pulled oppositely to make the limiting plate rotate. When the panel is separated from the positioning slot, the user moves the solar panel upward, and the limit plate is separated from the limit slot. In this way, the disassembly of the solar panel is completed, which greatly improves the practicability of the device and facilitates use.

Figure 202022836938

Description

City and road lighting engineering are with assembling street lamp
Technical Field
The utility model relates to a street lamp technical field specifically is a city and road lighting engineering are with assembling street lamp.
Background
Road lamp: the road is an artery of a city, the main lighting is a street lamp, the street lamp is a lighting facility which is arranged on the road and provides necessary visibility for vehicles and pedestrians at night, the street lamp can improve traffic conditions, relieve driver fatigue, and is beneficial to improving road traffic capacity and ensuring traffic safety, the garden lamp, the landscape lamp and the street lamp form a three-dimensional lighting mode, the road decoration effect is enhanced, the night scene of the city is beautified, and the defect of the illuminance of the street lamp can be overcome.
The street lamp is usually needed to illuminate in city and road, current street lamp easy dismounting can assemble the street lamp fast, still is furnished with solar panel and generates electricity for the street lamp, but also has some defects simultaneously, because solar panel all uses in the open, the surface has a large amount of dust to cover, if not clean in time, can influence solar panel and receive the efficiency of sunlight to also can't dismantle solar panel, change the maintenance, the practicality is not enough, so provide a city and road lighting engineering with assembling the street lamp.
SUMMERY OF THE UTILITY MODEL
Technical problem to be solved
The utility model provides a not enough to prior art, the utility model provides a city and road lighting engineering are with assembling street lamp possesses and is convenient for clean and dismantle advantages such as change solar panel, has solved current street lamp of assembling and is not convenient for clean and dismantle the problem of changing solar panel.
(II) technical scheme
In order to realize the above-mentioned purpose of being convenient for clean and dismantle the change solar panel, the utility model provides a following technical scheme: an assembled street lamp for urban and road lighting engineering comprises a base, wherein a first lamp post is fixedly mounted at the top of the base, an object placing groove is formed in the top of the first lamp post, sliding grooves formed in the first lamp post are formed in the left side and the right side of the inner wall of the object placing groove, a screw rod is movably mounted on the inner bottom wall of the object placing groove, a second lamp post with one end extending above the object placing groove is sleeved outside the screw rod, sliding blocks with one end extending into the sliding grooves are fixedly mounted on the left side and the right side of the second lamp post, a driven gear is fixedly mounted outside the screw rod, a fixed bin is fixedly mounted on the right side of the first lamp post, a rotating rod with one end extending to the lower side of the fixed bin is movably mounted on the inner top wall of the fixed bin, a driving gear with one end extending through the first lamp post and meshed with the, a first supporting rod is movably mounted on the left side of the second lamp pole, a second supporting rod is movably mounted on the right side of the second lamp pole, a street lamp body is fixedly mounted at the bottom of the second supporting rod, a carrier plate is fixedly mounted at one end, far away from the second lamp pole, of the first supporting rod, a solar panel is placed at the top of the carrier plate, a scrubbing device is fixedly mounted at the top of the first supporting rod, limiting grooves are formed in the left side and the right side of the carrier plate, limiting grooves formed in the left side and the right side of the solar panel are formed in the top of the carrier plate, filling grooves formed in the carrier plate are mounted on the opposite sides of the inner wall of each limiting groove, limiting plates with one ends extending into the limiting grooves are fixedly mounted on the left side and the right side of the solar panel, limiting plates with one ends penetrating through and extending into the limiting plates are inserted into the left, and a limiting disc positioned on the opposite side of the compression spring is sleeved outside the limiting plate.
Preferably, the scrubbing device comprises a vertical plate, an electric push rod and a brush plate, the vertical plate is fixedly mounted at the top of the first supporting rod, the electric push rod is movably mounted on the left side of the vertical plate, and the brush plate with one end contacting with the solar panel is fixedly mounted at the output end of the electric push rod.
Preferably, a threaded hole is formed in the second lamp pole and matched with threads of the screw rod.
Preferably, the sliding groove is matched with the sliding block, and a handle is fixedly installed at the bottom of the rotating rod.
Preferably, one side of the limiting plate opposite to the other side is provided with a positioning groove positioned in the limiting groove, and the positioning groove is matched with the limiting plate.
Preferably, the solar panel is electrically connected with the street lamp body, and a through hole matched with the driving gear is formed in the right side of the first lamp pole.
Advantageous effects
Compared with the prior art, the utility model provides a city and road lighting engineering are with assembling street lamp possesses following beneficial effect:
1. this street lamp is assembled with to city and road lighting engineering drives the driving gear clockwise rotation through clockwise rotation bull stick, makes driven gear rotate and drives the screw rod and rotate to let the second lamp pole remove downwards, make the limiting plate break away from the constant head tank through carrying on the back pulling limiting plate mutually, user rebound solar energy electroplax, the limiting plate breaks away from the spacing groove, so, the dismantlement to the solar energy electroplax is accomplished, great promotion the practicality of equipment, facilitate the use.
2. This city and road lighting engineering are with assembling street lamp, drive the brush board through starting electric putter and clean the solar energy electroplax surface, make the better sunlight of receiving of solar energy electroplax ability provide the electric energy for the street lamp body, further person of facilitating the use uses.
Drawings
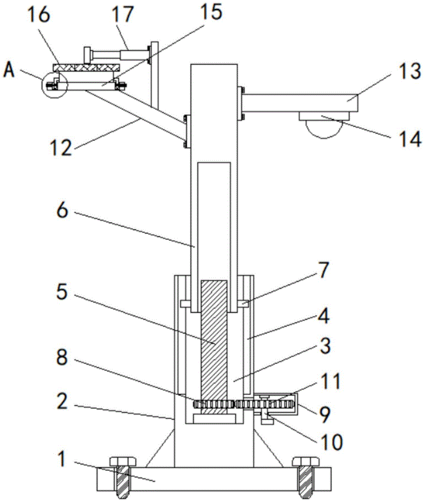
FIG. 1 is a schematic structural view of the present invention;
fig. 2 is an enlarged view of a portion a in fig. 1 according to the present invention.
In the figure: the street lamp comprises a base 1, a first lamp pole 2, a storage groove 3, a sliding groove 4, a screw rod 5, a second lamp pole 6, a sliding block 7, a driven gear 8, a fixed bin 9, a rotating rod 10, a driving gear 11, a first supporting rod 12, a second supporting rod 13, a street lamp body 14, a support plate 15, a solar panel 16, a scrubbing device 17, a limiting groove 18, a filling groove 19, a limiting plate 20, a limiting plate 21, a compression spring 22 and a limiting plate 23.
Detailed Description
The technical solutions in the embodiments of the present invention will be described clearly and completely with reference to the accompanying drawings in the embodiments of the present invention, and it is obvious that the described embodiments are only some embodiments of the present invention, not all embodiments. Based on the embodiments in the present invention, all other embodiments obtained by a person skilled in the art without creative work belong to the protection scope of the present invention.
Referring to fig. 1-2, an assembled street lamp for urban and road lighting engineering comprises a base 1, a first lamp post 2 is fixedly installed on the top of the base 1, an object placing groove 3 is formed on the top of the first lamp post 2, sliding grooves 4 formed on the first lamp post 2 are installed on the left side and the right side of the inner wall of the object placing groove 3, the sliding grooves 4 are matched with sliding blocks 7, a handle is fixedly installed on the bottom of a rotating rod 10, a screw rod 5 is movably installed on the inner bottom wall of the object placing groove 3, a second lamp post 6 with one end extending to the upper side of the object placing groove 3 is sleeved on the outer portion of the screw rod 5, a threaded hole is formed in the inner portion of the second lamp post 6, the threaded hole is matched with the thread of the screw rod 5, the sliding blocks 7 with one end extending to the inner portion of the sliding grooves 4 are fixedly installed on the left side and the right, a rotating rod 10 with one end penetrating and extending to the lower part of the fixed bin 9 is movably arranged on the inner top wall of the fixed bin 9, a driving gear 11 with one end penetrating the first lamp post 2 and engaged with the driven gear 8 is fixedly arranged outside the rotating rod 10, a first supporting rod 12 is movably arranged on the left side of the second lamp post 6, a second supporting rod 13 is movably arranged on the right side of the second lamp post 6, a street lamp body 14 is fixedly arranged at the bottom of the second supporting rod 13, a supporting plate 15 is fixedly arranged at one end of the first supporting rod 12 far away from the second lamp post 6, a solar electric plate 16 is arranged on the top of the supporting plate 15, the solar electric plate 16 is electrically connected with the street lamp body 14, a through hole matched with the driving gear 11 is arranged on the right side of the first lamp post 2, a scrubbing device 17 is fixedly arranged on the top of the first supporting rod 12, the scrubbing device 17 comprises a vertical plate, an, an electric push rod is movably arranged on the left side of the vertical plate, a brush plate with one end contacting with the solar electric plate 16 is fixedly arranged at the output end of the electric push rod, a limit groove 18 positioned on the left side and the right side of the solar electric plate 16 is arranged at the top of the support plate 15, a filling groove 19 arranged on the support plate 15 is arranged on one side opposite to the inner wall of the limit groove 18, limit plates 20 with one ends extending to the inside of the limit groove 18 are fixedly arranged on the left side and the right side of the solar electric plate 16, a positioning groove positioned in the limit groove 18 is arranged on one side opposite to the limit plate 20 and matched with the limit plate 21, limit plates 21 with one ends penetrating and extending to the inside of the limit plate 20 are inserted on the left side and the right side of the support plate 15, a compression spring 22 positioned in the filling groove 19 is sleeved outside the limit plates 21, a limit disc 23 positioned on one side opposite to the compression spring 22 is, make driven gear 8 rotate and drive screw rod 5 and rotate, thereby let 6 downshifts of second lamp pole, it makes limiting plate 21 break away from the constant head tank to stimulate limiting plate 21 back of the body mutually, the user upwards removes solar energy electroplax 16, limiting plate 20 breaks away from spacing groove 18, therefore, the dismantlement to solar energy electroplax 16 is accomplished, great promotion the practicality of equipment, and convenient to use drives the brush board through starting electric putter and cleans the 16 surfaces of solar energy electroplax, make the better sunlight of receiving of solar energy electroplax 16 ability provide the electric energy for street lamp body 14, further person of facilitating the use uses.
To sum up, this street lamp is assembled with road lighting engineering, it drives driving gear 11 clockwise to rotate through clockwise rotation bull stick 10, make driven gear 8 rotate and drive screw rod 5 and rotate, thereby let second lamp pole 6 remove downwards, make limiting plate 21 break away from the constant head tank through pulling limiting plate 21 mutually on the back, the user upwards removes solar cell 16, limiting plate 20 breaks away from limiting groove 18, thus, accomplish the dismantlement to solar cell 16, great promotion the practicality of equipment, facilitate the use, drive the brush board through starting electric putter and clean solar cell 16 surface, make the better sunlight of receiving of solar cell 16 ability provide the electric energy for street lamp body 14, further person of facilitating the use uses, the problem that current street lamp of assembling is not convenient for clean and dismantle the change solar cell is solved.
It is noted that, herein, relational terms such as first and second, and the like may be used solely to distinguish one entity or action from another entity or action without necessarily requiring or implying any actual such relationship or order between such entities or actions. Also, the terms "comprises," "comprising," or any other variation thereof, are intended to cover a non-exclusive inclusion, such that a process, method, article, or apparatus that comprises a list of elements does not include only those elements but may include other elements not expressly listed or inherent to such process, method, article, or apparatus. Without further limitation, an element defined by the phrase "comprising an … …" does not exclude the presence of other identical elements in a process, method, article, or apparatus that comprises the element.
Although embodiments of the present invention have been shown and described, it will be appreciated by those skilled in the art that changes, modifications, substitutions and alterations can be made in these embodiments without departing from the principles and spirit of the invention, the scope of which is defined in the appended claims and their equivalents.

Claims (6)

1. The utility model provides a city and road lighting engineering are with assembling street lamp, includes base (1), its characterized in that: the lamp is characterized in that a first lamp pole (2) is fixedly mounted at the top of the base (1), a storage groove (3) is formed in the top of the first lamp pole (2), sliding grooves (4) formed in the first lamp pole (2) are mounted on the left side and the right side of the inner wall of the storage groove (3), a screw rod (5) is movably mounted on the inner bottom wall of the storage groove (3), one end of a second lamp pole (6) extending to the upper side of the storage groove (3) is sleeved outside the screw rod (5), a sliding block (7) with one end extending to the inner portion of the sliding groove (4) is fixedly mounted on the left side and the right side of the second lamp pole (6), a driven gear (8) is fixedly mounted outside the screw rod (5), a fixed bin (9) is fixedly mounted on the right side of the first lamp pole (2), a rotating rod (10) with one end extending to the lower side of the fixed bin (9), the solar street lamp is characterized in that a driving gear (11) with one end penetrating through a first lamp pole (2) and meshed with a driven gear (8) is fixedly arranged outside the rotating rod (10), a first supporting rod (12) is movably arranged on the left side of the second lamp pole (6), a second supporting rod (13) is movably arranged on the right side of the second lamp pole (6), a street lamp body (14) is fixedly arranged at the bottom of the second supporting rod (13), a supporting plate (15) is fixedly arranged at one end, far away from the second lamp pole (6), of the first supporting rod (12), a solar panel (16) is placed at the top of the supporting plate (15), a cleaning device (17) is fixedly arranged at the top of the first supporting rod (12), limiting grooves (18) located on the left side and the right side of the solar panel (16) are formed in the top of the supporting plate (15), and filling grooves (19) formed in the supporting plate (15) are installed on one side, opposite to the inner wall, the solar photovoltaic panel is characterized in that limiting plates (20) with one ends extending to the inside of limiting grooves (18) are fixedly mounted on the left side and the right side of the solar photovoltaic panel (16), limiting plates (21) with one ends penetrating and extending to the inside of the limiting plates (20) are inserted into the left side and the right side of the carrier plate (15), compression springs (22) located inside the filling grooves (19) are sleeved on the outer portions of the limiting plates (21), and limiting discs (23) located on the opposite sides of the compression springs (22) are sleeved on the outer portions of the limiting plates (21).
2. The assembled street lamp for the urban and road lighting engineering according to claim 1, wherein: scrubbing device (17) include riser, electric putter and brush board, the top fixed mounting of first bracing piece (12) has the riser, the left side movable mounting of riser has electric putter, electric putter's output fixed mounting has the brush board that one end and solar energy electroplax (16) contacted.
3. The assembled street lamp for the urban and road lighting engineering according to claim 1, wherein: and a threaded hole is formed in the second lamp pole (6), and the threaded hole is matched with the thread of the screw rod (5).
4. The assembled street lamp for the urban and road lighting engineering according to claim 1, wherein: the sliding groove (4) is matched with the sliding block (7), and a handle is fixedly installed at the bottom of the rotating rod (10).
5. The assembled street lamp for the urban and road lighting engineering according to claim 1, wherein: and one side of the limiting plate (20) opposite to the other side is provided with a positioning groove positioned in the limiting groove (18), and the positioning groove is matched with the limiting plate (21).
6. The assembled street lamp for the urban and road lighting engineering according to claim 1, wherein: the solar panel (16) is electrically connected with the street lamp body (14), and a through hole matched with the driving gear (11) is formed in the right side of the first lamp pole (2).
CN202022836938.0U 2020-12-01 2020-12-01 City and road lighting engineering are with assembling street lamp Expired - Fee Related CN213480103U (en)

Priority Applications (1)

Application Number Priority Date Filing Date Title
CN202022836938.0U CN213480103U (en) 2020-12-01 2020-12-01 City and road lighting engineering are with assembling street lamp

Applications Claiming Priority (1)

Application Number Priority Date Filing Date Title
CN202022836938.0U CN213480103U (en) 2020-12-01 2020-12-01 City and road lighting engineering are with assembling street lamp

Publications (1)

Publication Number Publication Date
CN213480103U true CN213480103U (en) 2021-06-18

Family

ID=76356532

Family Applications (1)

Application Number Title Priority Date Filing Date
CN202022836938.0U Expired - Fee Related CN213480103U (en) 2020-12-01 2020-12-01 City and road lighting engineering are with assembling street lamp

Country Status (1)

Country Link
CN (1) CN213480103U (en)

Cited By (1)

* Cited by examiner, † Cited by third party
Publication number Priority date Publication date Assignee Title
CN117028927A (en) * 2023-08-25 2023-11-10 迎辉电气集团有限公司 An installation structure for urban lighting street lights

Cited By (2)

* Cited by examiner, † Cited by third party
Publication number Priority date Publication date Assignee Title
CN117028927A (en) * 2023-08-25 2023-11-10 迎辉电气集团有限公司 An installation structure for urban lighting street lights
CN117028927B (en) * 2023-08-25 2024-02-20 迎辉电气集团有限公司 An installation structure for urban lighting street lights

Similar Documents

Publication Publication Date Title
CN205560565U (en) Wind -solar complementary street lamp for municipal construction
CN213480103U (en) City and road lighting engineering are with assembling street lamp
CN211551439U (en) Solar street lamp convenient to maintain
CN112254078A (en) Energy-concerving and environment-protective wisdom street lamp
CN212565574U (en) Solar street lamp convenient to it is clean
CN209087327U (en) A kind of energy-saving LED Sign Board
CN213452921U (en) Optical lens high-brightness LED lamp
CN208477883U (en) A kind of new energy municipal administration billboard being convenient for changing
CN110939909B (en) LED street lamp equipment capable of effectively guaranteeing illumination quality
CN216047341U (en) Self-cleaning solar street lamp
CN213420948U (en) Environment-friendly energy-saving urban road lighting device
CN110513646A (en) A solar street light that is easy to maintain and overhaul
CN223411969U (en) A smart LED street light for urban lighting
CN216521378U (en) Solar LED street lamp
CN207893597U (en) A kind of LED street lamp of good illumination effect
CN208074676U (en) A kind of LED street lamp with dust reduction capability
CN207334573U (en) A kind of dustproof LED streetlamp of long distance illumination
CN219797102U (en) New energy street lamp
CN218409746U (en) Combined intelligent street lamp
CN209165251U (en) A kind of multifuctional solar LED street lamp
CN210398700U (en) Integrated intelligent solar street lamp
CN219036396U (en) Municipal administration street lighting
CN219283139U (en) Outdoor LED illuminating lamp
CN215831819U (en) Telescopic energy-saving garden lamp
CN219122940U (en) A bulletin board for property services

Legal Events

Date Code Title Description
GR01 Patent grant
GR01 Patent grant
CF01 Termination of patent right due to non-payment of annual fee

Granted publication date: 20210618

CF01 Termination of patent right due to non-payment of annual fee