CN213479627U - Stable bracket for small corn thresher - Google Patents

Stable bracket for small corn thresher Download PDF

Info

Publication number
CN213479627U
CN213479627U CN202022263657.0U CN202022263657U CN213479627U CN 213479627 U CN213479627 U CN 213479627U CN 202022263657 U CN202022263657 U CN 202022263657U CN 213479627 U CN213479627 U CN 213479627U
Authority
CN
China
Prior art keywords
thresher
rod
support
base
threshing
Prior art date
Legal status (The legal status is an assumption and is not a legal conclusion. Google has not performed a legal analysis and makes no representation as to the accuracy of the status listed.)
Expired - Fee Related
Application number
CN202022263657.0U
Other languages
Chinese (zh)
Inventor
姜龙
荣美琪
李辉
高晗
Current Assignee (The listed assignees may be inaccurate. Google has not performed a legal analysis and makes no representation or warranty as to the accuracy of the list.)
Jilin Agricultural Science and Technology College
Original Assignee
Jilin Agricultural Science and Technology College
Priority date (The priority date is an assumption and is not a legal conclusion. Google has not performed a legal analysis and makes no representation as to the accuracy of the date listed.)
Filing date
Publication date
Application filed by Jilin Agricultural Science and Technology College filed Critical Jilin Agricultural Science and Technology College
Priority to CN202022263657.0U priority Critical patent/CN213479627U/en
Application granted granted Critical
Publication of CN213479627U publication Critical patent/CN213479627U/en
Expired - Fee Related legal-status Critical Current
Anticipated expiration legal-status Critical

Links

Images

Landscapes

  • Threshing Machine Elements (AREA)

Abstract

本实用新型公开了一种小型玉米脱粒机用稳固支架,包括放置角铁的三个支撑件和固定安装支撑件的底座,所述底座的底部设有可以带动脱粒机上下调整、且可以带动脱粒机旋转的辅助装置,此小型玉米脱粒机用稳固支架,可以稳定安装脱离机,且可以根据使用者自身的身高加上使用的椅凳高度,通过转动调节装置中的旋钮,带动脱粒机上下运动,调整至合适的高度进行脱粒工作,脱离工作完成后,可以松开限位螺杆,将整体结构沿支撑杆旋转倒立,轻敲脱粒管口,将卡在管口内部的玉米碎粒取出,不仅提升的使用者脱粒工作的舒适度,还可以快速高效,轻松简便的取出卡在脱粒管内部的碎粒。

Figure 202022263657

The utility model discloses a stable support for a small corn thresher, which comprises three supporting pieces for placing angle irons and a base for fixing the supporting pieces. Auxiliary device for machine rotation, this small corn thresher uses a stable bracket, which can be stably installed and disengaged from the machine, and according to the user's own height plus the height of the chair and stool used, the thresher can be driven up and down by turning the knob in the adjustment device. , adjust to a suitable height for threshing work, after the detachment work is completed, you can loosen the limit screw, turn the whole structure upside down along the support rod, tap the threshing nozzle lightly, and take out the corn crumbs stuck inside the nozzle, not only It improves the user's comfort in threshing work, and can quickly and efficiently remove the debris stuck inside the threshing tube.

Figure 202022263657

Description

Stable bracket for small corn thresher
Technical Field
The utility model relates to the technical field of agricultural equipment, in particular to a stable bracket for a small-sized corn thresher.
Background
The corn thresher is a mechanical device for threshing corn ears, and has the characteristics of high automation, strong safety, simple and convenient operation, low energy consumption and the like.
A common household corn thresher adopts a small-sized thresher, the size of the thresher is small, vibration during working is poor, a base is directly supported by three angle irons to form the thresher, the thresher is directly placed on a table top to be used, the table top is easily damaged, a common user directly places the thresher on the ground to use, long-time stoop work is needed, waist strain of the user is easily caused, after the thresher is used, some corn particles are easily accumulated in a threshing pipeline, a fine rod piece needs to be fished out, or the human body is turned over to pour out the particles, and time and labor are consumed. Therefore, a stable bracket for a small corn thresher is provided.
SUMMERY OF THE UTILITY MODEL
An object of the utility model is to provide a small-size corn thresher is with firm support to solve the problem that proposes among the above-mentioned background art.
In order to achieve the above object, the utility model provides a following technical scheme: a stable support for a small corn thresher comprises three support pieces for placing angle irons and a base for fixedly mounting the support pieces, wherein an auxiliary device which can drive the thresher to be adjusted up and down and can drive the thresher to rotate is arranged at the bottom of the base.
Preferably, the auxiliary device comprises a connecting seat arranged at the bottom of the base, an adjusting device capable of driving the threshing machine to move up and down is arranged inside the connecting seat, and a rotating device capable of driving the threshing machine to stand upside down is arranged on the side face of the adjusting device.
Preferably, adjusting device includes the guide block of fixed mounting in the base bottom, be equipped with the guide way in the middle of the top of connecting seat, guide block slidable mounting is in the guide way, the side of base is equipped with the dead lever, the both ends fixed mounting of dead lever has the lantern ring, the bottom of the lantern ring articulates there is the connecting rod, the afterbody of connecting rod articulates there is the drive ring, the drive ring spiro union is on the dwang, the dwang rotates the bottom of installing at the connecting seat, and runs through one side fixedly connected with knob of connecting seat, the centre of dwang is equipped with the opposite direction threaded rod, is convenient for drive the thresher and reciprocates.
Preferably, the rotating device comprises supporting rods fixedly installed on two sides of the connecting seat, two ends of each supporting rod are rotatably installed on the side face of the supporting seat, a limiting hole is formed in the end portion of each supporting rod, a limiting screw rod is installed in each limiting hole and penetrates through the side face of the supporting seat, and therefore the threshing machine is convenient to invert.
Preferably, the support piece comprises an angle plate fixedly installed at the bottom of the base, a limiting plate is fixedly installed on the side face of the angle plate, the angle plate and the inner wall of the limiting plate form an inner cavity, a spring is fixedly installed at the bottom of the inner cavity, a top plate is arranged at the top of the spring, a locking nut is screwed on the side face of the limiting plate, the threshing machine is conveniently and fixedly supported, and the damping effect is achieved.
Compared with the prior art, the beneficial effects of the utility model are that:
the utility model discloses can stably install the thresher, and can be according to user's self height and the bench height of using in addition, through rotating the knob among the adjusting device, drive thresher up-and-down motion, adjust to the work of threshing highly suitable, break away from the work and accomplish the back, can loosen limit screw, follow the rotatory handstand of bracing piece with overall structure, tap the mouth of pipe of threshing, take out the card at the inside maize niblet of the mouth of pipe, not only the user who promotes threshes the comfort level of work, can also high efficiency, light simple and convenient the inside niblet of threshing of card of taking out of card.
Drawings
FIG. 1 is a schematic view of the overall structure of the present invention;
FIG. 2 is a front view of the structure of the present invention;
FIG. 3 is a side sectional view of the structure of the present invention;
FIG. 4 is an enlarged view of a portion A of FIG. 3 according to the present invention;
fig. 5 is a schematic view of the bottom structure of the angle iron support of the existing small-sized corn thresher.
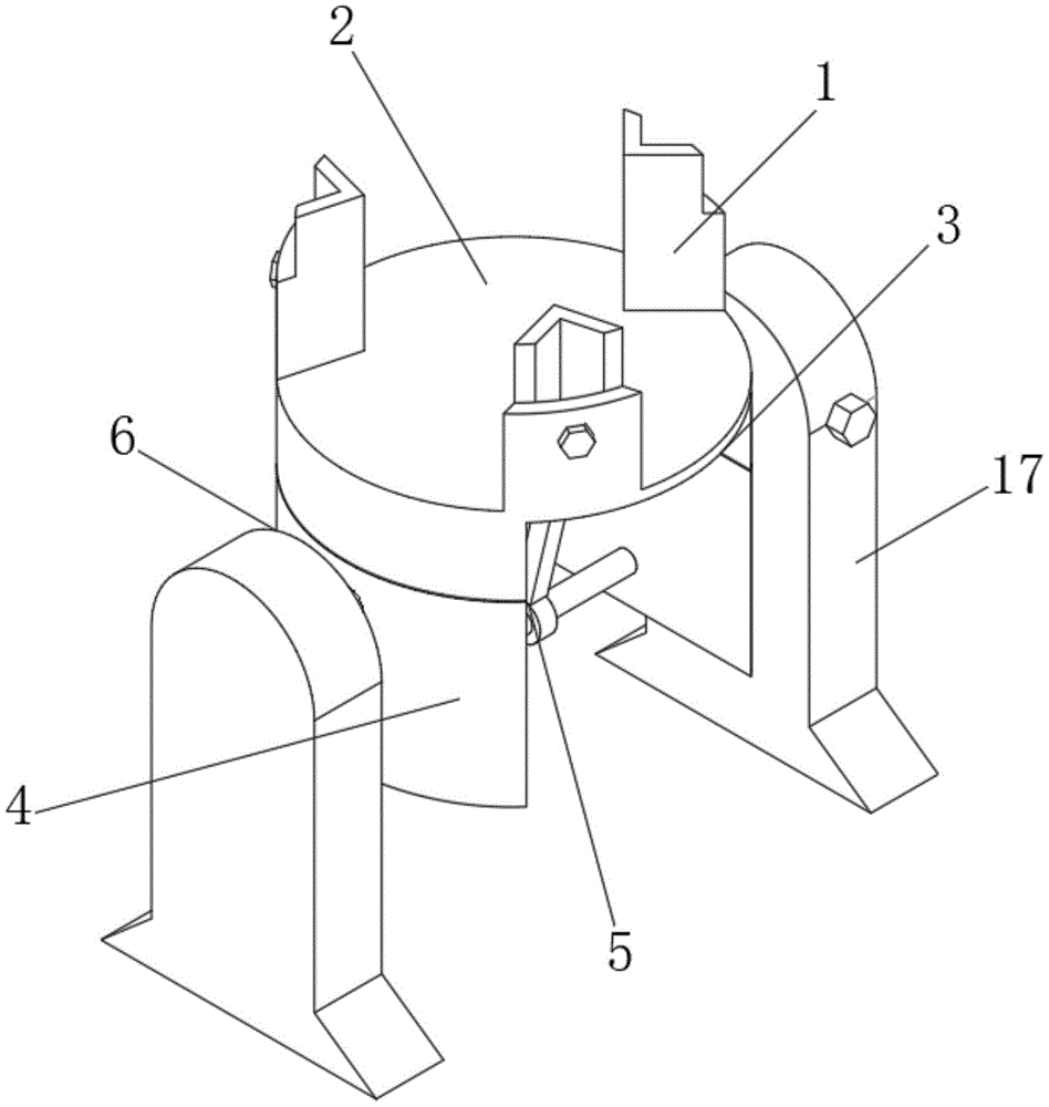
In the figure: 1-a support; 2-a base; 3-an auxiliary device; 4-a connecting seat; 5-a regulating device; 6-a rotating device; 7-a guide block; 8-a guide groove; 9-fixing the rod; 10-a collar; 11-a connecting rod; 12-a drive ring; 13-rotating rod; 14-a knob; 15-threaded rod; 16-a support bar; 17-a support seat; 18-a limiting hole; 19-corner panels; 20-a limiting plate; 21-lumen; 22-a spring; 23-a top plate; 24-a locking nut; 25-limit screw.
Detailed Description
The technical solutions in the embodiments of the present invention will be described clearly and completely with reference to the accompanying drawings in the embodiments of the present invention, and it is obvious that the described embodiments are only some embodiments of the present invention, not all embodiments. Based on the embodiments in the present invention, all other embodiments obtained by a person skilled in the art without creative work belong to the protection scope of the present invention.
Referring to fig. 1-5, the present invention provides a technical solution: a stable support for a small corn thresher comprises three supporting pieces 1 for placing angle irons and a base 2 for fixedly mounting the supporting pieces 1, wherein an auxiliary device 3 which can drive the thresher to be adjusted up and down and can drive the thresher to rotate is arranged at the bottom of the base 2.
The auxiliary device comprises a connecting seat 4 arranged at the bottom of the base 2, an adjusting device 5 capable of driving the threshing machine to move up and down is arranged inside the connecting seat 4, and a rotating device 6 capable of driving the threshing machine to stand upside down is arranged on the side face of the adjusting device.
The adjusting device 5 comprises a guide block 7 fixedly installed at the bottom of the base 2, a guide groove 8 is arranged in the middle of the top of the connecting seat 4, the guide block 7 is slidably installed in the guide groove 8, a fixing rod 9 is arranged on the side surface of the base 2, lantern rings 10 are fixedly installed at two ends of the fixing rod 9, a connecting rod 11 is hinged to the bottom of the lantern ring 10, a driving ring 12 is hinged to the tail of the connecting rod 11, the driving ring 12 is in threaded connection with a rotating rod 13, the rotating rod 13 is rotatably installed at the bottom of the connecting seat 4 and penetrates through a knob 14 fixedly connected to one side of the connecting seat 4, a threaded rod 15 with the opposite direction is arranged in the middle of the rotating rod 13, the rotating rod 14 is driven to rotate, the reverse threaded rod 15 drives the driving ring 12 to move oppositely, so that the fixing rod 9 in the middle of the lantern ring 10 at the, is convenient for driving the thresher to move up and down.
Rotating device 6 includes the bracing piece 16 of fixed mounting in 4 both sides of connecting seat, the both ends of bracing piece 16 are rotatory to be installed in the side of supporting seat 17, the tip of bracing piece 16 is equipped with spacing hole 18, install limit screw 25 in the spacing hole 18, limit screw 25 runs through the side of supporting seat 17, accomplishes the back of the work of threshing, takes out limit screw 25, and 16 inner structure of bracing piece is along 16 central rotations inversions of bracing piece, and convenient to use person is high-efficient fast, and the light simple and convenient broken grain of card in the inside of threshing.
Support piece 1 includes the scute 19 of fixed mounting in base 2 bottom, the side fixed mounting of scute 19 has limiting plate 20, scute 19 forms inner chamber 21 with the inner wall of limiting plate 20, the bottom fixed mounting of inner chamber 21 has spring 22, the top of spring 22 is equipped with roof 23, the side spiro union of limiting plate 20 has lock nut 24, places the angle bar of current small-size thresher bottom on roof 23 in support piece 1 inner chamber 21, locks lock nut 24, and the spring 22 of roof 23 bottom still has the shock attenuation effect.
The working principle is as follows: when a user needs to use the threshing machine to work, an angle iron at the bottom of the existing small-sized threshing machine is placed on the top plate 23 in the inner cavity 21 of the supporting piece 1, the locking nut 24 is locked, the spring 22 at the bottom of the top plate 23 has a damping effect, the rotating knob 14 is rotated to drive the rotating rod to rotate, the reverse threaded rod 15 drives the driving ring 12 to move oppositely, so that the fixing rod 9 in the middle of the top lantern ring 10 of the connecting rod 11 moves up and down, the guide block 7 on the side face of the base 2 has a guiding effect in the guide groove 8, the threshing machine is adjusted to a proper position to perform threshing work, after the threshing work is completed, the limiting screw rod 25 is taken out, the internal structure of the supporting rod 16 rotates and inverts along the center of the supporting rod 16, the threshing machine is convenient for the user.
It is noted that, herein, relational terms such as first and second, and the like may be used solely to distinguish one entity or action from another entity or action without necessarily requiring or implying any actual such relationship or order between such entities or actions. Also, the terms "comprises," "comprising," or any other variation thereof, are intended to cover a non-exclusive inclusion, such that a process, method, article, or apparatus that comprises a list of elements does not include only those elements but may include other elements not expressly listed or inherent to such process, method, article, or apparatus.
Although embodiments of the present invention have been shown and described, it will be appreciated by those skilled in the art that changes, modifications, substitutions and alterations can be made in these embodiments without departing from the principles and spirit of the invention, the scope of which is defined in the appended claims and their equivalents.

Claims (5)

1.一种小型玉米脱粒机用稳固支架,包括放置角铁的三个支撑件(1)和固定安装支撑件(1)的底座(2),其特征在于:所述底座(2)的底部设有可以带动脱粒机上下调整、且可以带动脱粒机旋转的辅助装置(3)。1. A stable support for a small corn thresher, comprising three supports (1) for placing angle irons and a base (2) for fixing the support (1), characterized in that: the bottom of the base (2) There is an auxiliary device (3) which can drive the thresher to adjust up and down and can drive the thresher to rotate. 2.根据权利要求1所述的一种小型玉米脱粒机用稳固支架,其特征在于:所述辅助装包括设置在底座(2)底部连接座(4),所述连接座(4)的内部设有可以带动脱粒机上下运动的调节装置(5),其侧面设有可以带动脱粒机倒立的旋转装置(6)。2 . The stable support for a small corn thresher according to claim 1 , wherein the auxiliary device comprises a connecting seat ( 4 ) arranged at the bottom of the base ( 2 ), and the inner part of the connecting seat ( 4 ) An adjusting device (5) that can drive the thresher to move up and down is provided, and a rotating device (6) that can drive the thresher to stand upside down is provided on the side thereof. 3.根据权利要求2所述的一种小型玉米脱粒机用稳固支架,其特征在于:所述调节装置(5)包括固定安装在底座(2)底部的导向块(7),所述连接座(4)的顶部中间设有导向槽(8),所述导向块(7)滑动安装在导向槽(8)内,所述底座(2)的侧面设有固定杆(9),所述固定杆(9)的两端固定安装有套环(10),所述套环(10)的底部铰接有连接杆(11),所述连接杆(11)的尾部铰接有驱动环(12),所述驱动环(12)螺接在转动杆(13)上,所述转动杆(13)转动安装在连接座(4)的底部,且贯穿连接座(4)的一侧固定连接有旋钮(14),所述转动杆(13)的中间设有方向相反螺纹杆(15)。3. A stable support for a small corn thresher according to claim 2, characterized in that: the adjusting device (5) comprises a guide block (7) fixedly installed at the bottom of the base (2), and the connecting seat A guide groove (8) is provided in the middle of the top of (4), the guide block (7) is slidably installed in the guide groove (8), and a fixing rod (9) is provided on the side of the base (2). Both ends of the rod (9) are fixedly mounted with collars (10), the bottom of the collar (10) is hinged with a connecting rod (11), and the tail of the connecting rod (11) is hinged with a drive ring (12), The drive ring (12) is screwed on the rotating rod (13), the rotating rod (13) is rotatably mounted on the bottom of the connecting seat (4), and a knob ( 14), the middle of the rotating rod (13) is provided with a threaded rod (15) in the opposite direction. 4.根据权利要求2所述的一种小型玉米脱粒机用稳固支架,其特征在于:所述旋转装置(6)包括固定安装在连接座(4)两侧的支撑杆(16),所述支撑杆(16)的两端旋转安装在支撑座(17)的侧面,所述支撑杆(16)的端部设有限位孔(18),所述限位孔(18)内安装有限位螺杆(25),所述限位螺杆(25)贯穿支撑座(17)的侧面。4 . The stable support for a small corn thresher according to claim 2 , wherein the rotating device ( 6 ) comprises support rods ( 16 ) fixedly installed on both sides of the connecting seat ( 4 ). Both ends of the support rod (16) are rotatably mounted on the side surface of the support seat (17), the end of the support rod (16) is provided with a limit hole (18), and a limit screw is installed in the limit hole (18) (25), the limit screw (25) penetrates the side surface of the support seat (17). 5.根据权利要求1所述的一种小型玉米脱粒机用稳固支架,其特征在于:所述支撑件(1)包括固定安装在底座(2)底部的角板(19),所述角板(19)的侧面固定安装有限位板(20),所述角板(19)与限位板(20)的内壁形成内腔(21),所述内腔(21)的底部固定安装有弹簧(22),所述弹簧(22)的顶部设有顶板(23),所述限位板(20)的侧面螺接有锁紧螺母(24)。5 . The stable support for a small corn thresher according to claim 1 , wherein the support member ( 1 ) comprises a corner plate ( 19 ) fixedly installed at the bottom of the base ( 2 ). A limiting plate (20) is fixedly installed on the side of (19), the angle plate (19) and the inner wall of the limiting plate (20) form an inner cavity (21), and a spring is fixedly installed at the bottom of the inner cavity (21). (22), the top of the spring (22) is provided with a top plate (23), and the side surface of the limiting plate (20) is screwed with a locking nut (24).
CN202022263657.0U 2020-10-13 2020-10-13 Stable bracket for small corn thresher Expired - Fee Related CN213479627U (en)

Priority Applications (1)

Application Number Priority Date Filing Date Title
CN202022263657.0U CN213479627U (en) 2020-10-13 2020-10-13 Stable bracket for small corn thresher

Applications Claiming Priority (1)

Application Number Priority Date Filing Date Title
CN202022263657.0U CN213479627U (en) 2020-10-13 2020-10-13 Stable bracket for small corn thresher

Publications (1)

Publication Number Publication Date
CN213479627U true CN213479627U (en) 2021-06-18

Family

ID=76367519

Family Applications (1)

Application Number Title Priority Date Filing Date
CN202022263657.0U Expired - Fee Related CN213479627U (en) 2020-10-13 2020-10-13 Stable bracket for small corn thresher

Country Status (1)

Country Link
CN (1) CN213479627U (en)

Similar Documents

Publication Publication Date Title
CN206730099U (en) A kind of urological surgery bed
CN217356284U (en) Stable form outward appearance shooting equipment for material prison
CN213479627U (en) Stable bracket for small corn thresher
CN213591169U (en) Cleaning and dust removing device for integrated circuit board production
CN213940281U (en) Children have a dinner chair convenient to height-adjusting
CN209997988U (en) Vibration cleaning device for PET bottle flakes
CN216022035U (en) A hand-held auxiliary sputum expectoration device for expectoration machine
CN215138927U (en) Clean cotton piece processingequipment of normal saline
CN212615635U (en) Water treatment is with placing firm water pump
CN220970270U (en) Ultrasonic cleaner convenient to remove
CN207430842U (en) A kind of sponge product production clout removing device
CN218000870U (en) Desktop computer support frame with adjustable height
CN212092719U (en) Medicine grinding and subpackaging device for pediatric clinical medicine
CN214862166U (en) A dust suppression device for coal pulverizers in thermal power plants
CN217243949U (en) A one-handed wiping tool
CN214892146U (en) General heat sink convenient to remove
CN221384310U (en) Eye washing machine
CN221980393U (en) Screw type lifting rod of seat
CN222443828U (en) Pressure limiting device of pressure cooker
CN218831333U (en) Agricultural machine irrigates shallow
CN222547977U (en) A stubble-removing device with adjustable spacing for a straw crushing and returning machine
CN223084021U (en) An efficient laser cutting device for the housing of a fully automatic wafer cleaning machine
CN213977071U (en) Intelligent water purifier with self-protection function
CN221829652U (en) A water-saving drip irrigation device for seedling maintenance
CN217547203U (en) Stir-frying device convenient to adjust

Legal Events

Date Code Title Description
GR01 Patent grant
GR01 Patent grant
CF01 Termination of patent right due to non-payment of annual fee

Granted publication date: 20210618

CF01 Termination of patent right due to non-payment of annual fee