CN213466402U - Tracheal intubation device for preventing hospital infection - Google Patents

Tracheal intubation device for preventing hospital infection Download PDF

Info

Publication number
CN213466402U
CN213466402U CN202020723149.3U CN202020723149U CN213466402U CN 213466402 U CN213466402 U CN 213466402U CN 202020723149 U CN202020723149 U CN 202020723149U CN 213466402 U CN213466402 U CN 213466402U
Authority
CN
China
Prior art keywords
cavity
plate
tracheal intubation
intubation device
sterilization
Prior art date
Legal status (The legal status is an assumption and is not a legal conclusion. Google has not performed a legal analysis and makes no representation as to the accuracy of the status listed.)
Expired - Fee Related
Application number
CN202020723149.3U
Other languages
Chinese (zh)
Inventor
陈南晖
彭虹
汪晓凤
Current Assignee (The listed assignees may be inaccurate. Google has not performed a legal analysis and makes no representation or warranty as to the accuracy of the list.)
Guizhou Provincial Peoples Hospital
Original Assignee
Guizhou Provincial Peoples Hospital
Priority date (The priority date is an assumption and is not a legal conclusion. Google has not performed a legal analysis and makes no representation as to the accuracy of the date listed.)
Filing date
Publication date
Application filed by Guizhou Provincial Peoples Hospital filed Critical Guizhou Provincial Peoples Hospital
Priority to CN202020723149.3U priority Critical patent/CN213466402U/en
Application granted granted Critical
Publication of CN213466402U publication Critical patent/CN213466402U/en
Expired - Fee Related legal-status Critical Current
Anticipated expiration legal-status Critical

Links

Images

Landscapes

  • Media Introduction/Drainage Providing Device (AREA)

Abstract

本实用新型属于气管插管技术领域,公开了一种防医院感染气管插管装置,包括导管,所述导管的下端设置有气囊,所述导管的末端安装有导气头,所述氧气管道的顶端安装有导气口,所述导管上套有消毒套,所述消毒套的内部顶部设置有消毒腔,所述消毒腔的底部设置有清洗腔,本实用新型通过设置消毒套,使得管道在进入患者口腔前,先经过消毒腔内的湿润消毒棉擦拭消毒,再进入清洗腔内通过刷板上的细毛刷刷洗,再进入干燥腔内,干燥棉将刷洗后的管道擦拭干净,继而进入润滑腔内涂抹润滑石蜡油,使得擦拭后的管道直接进入患者口腔中,不用在与外界接触,避免了管道在外界时间过长而沾染其他细菌或病毒的问题。

Figure 202020723149

The utility model belongs to the technical field of tracheal intubation, and discloses a tracheal intubation device for preventing nosocomial infection. An air guide port is installed at the top, a sterilization sleeve is sleeved on the catheter, a sterilization cavity is arranged on the inner top of the sterilization sleeve, and a cleaning cavity is arranged at the bottom of the sterilization cavity. Before the patient's mouth, it is first wiped and disinfected by the moist disinfection cotton in the disinfection cavity, and then enters the cleaning cavity to be brushed by the fine-bristled brush on the brush plate, and then enters the drying cavity. Apply lubricating paraffin oil inside, so that the wiped pipe directly enters the patient's mouth without contact with the outside world, which avoids the problem of the pipe being contaminated with other bacteria or viruses due to the long time outside.

Figure 202020723149

Description

Tracheal intubation device for preventing hospital infection
Technical Field
The utility model belongs to the technical field of trachea cannula, concretely relates to prevent hospital's infection trachea cannula device.
Background
Trachea cannula is a method of putting a special endotracheal tube into a trachea or a bronchus through a glottis through an oral cavity or a nasal cavity, which provides the best conditions for unobstructed respiratory tract, ventilation and oxygen supply, respiratory tract suction and the like, is an important measure for rescuing patients with respiratory dysfunction, frequently cannot ensure the cleanness of equipment in the existing trachea cannula process, medical workers can disinfect the trachea cannula when performing intubation, but generally wipe the trachea cannula by using disinfectant and aseptic cotton, i.e. cannot ensure whether the trachea cannula is completely wiped or not, and cannot ensure whether other indoor bacteria or viruses are stained or not before performing intubation, after performing intubation oxygen therapy, the mouth of a patient must be opened, otherwise, the teeth are easy to abrade the trachea, so that the trachea cannula is broken and needs to be replaced again, and the equipment is wasted.
SUMMERY OF THE UTILITY MODEL
An object of the utility model is to provide a prevent hospital infection trachea cannula device to solve the problem that proposes among the above-mentioned background art.
In order to achieve the above object, the utility model provides a following technical scheme: a tracheal intubation device for preventing hospital infection comprises a catheter, wherein an air bag is arranged at the lower end of the catheter, an air guide head is installed at the tail end of the catheter, an air guide port is installed at the top end of an oxygen pipeline, a disinfection sleeve is sleeved on the catheter, a disinfection cavity is arranged at the top inside the disinfection sleeve, a cleaning cavity is arranged at the bottom of the disinfection cavity, a rotary groove is formed inside the cleaning cavity, a rotary sleeve is installed inside the rotary groove, a brush plate is installed inside the rotary sleeve, a drying cavity is arranged at the bottom of the cleaning cavity, a lubricating cavity is arranged at the bottom of the drying cavity, a mounting plate is arranged at the tail end of the catheter, a sliding groove is formed in the side face of the bottom of the mounting plate, a sliding block is installed inside the sliding groove, a transmission plate is installed at the bottom of the sliding block, a spring is arranged between the transmission, the side face of the bottom of the mounting plate is provided with a groove, and the lug can enter the groove.
Preferably, the internally mounted of disinfection chamber has the aseptic cotton, install thin brush on the inboard edge of brush board, the internally mounted of dry chamber has dry cotton, lubricated chamber's inside is scribbled and is equipped with lubricated paraffin oil.
Preferably, the bottom of the disinfection sleeve is provided with a connecting plate, and the bottom of the connecting plate is provided with a supporting mask.
Preferably, the top end of the conduit is provided with an air receiving opening, and the top of the air receiving opening is internally provided with internal threads.
Preferably, the mounting plate is provided with a through hole, and the guide pipe can penetrate through the through hole and extend to the lower part of the mounting plate.
Compared with the prior art, the beneficial effects of the utility model are that:
(1) the utility model discloses a set up the disinfection cover for the pipeline is before getting into patient's oral cavity, the disinfection is wiped away to moist aseptic cotton through the disinfection intracavity earlier, reentrant washing intracavity is scrubbed through the fine hair brush on the brush board, reentrant dry intracavity, dry cotton will be brushed the pipeline after the washing clean, then get into lubricated intracavity and paint lubricated paraffin oil, make the pipeline after cleaning directly get into patient's oral cavity, need not be in contact with the external world, avoided the pipeline at external time overlength and be infected with the problem of other bacteriums or virus.
(2) The utility model discloses a set up driving plate and spring for after the pipeline got into patient's oral cavity, put the driving plate between upper and lower tooth, after the mouth closed, power can be used in on the driving plate, make the patient needn't keep opening the posture of mouth always, the spring of driving plate bottom is compressed, then the inside slip of spout that the slider can be seted up on the mounting panel, power inequality on the driving plate, the spring can the motion repeatedly, make patient's mouth needn't keep a posture always and lead to facial rigidity.
Drawings
Fig. 1 is a schematic structural view of the present invention;
FIG. 2 is an external view of the present invention;
fig. 3 is an enlarged view of the position a of the present invention.
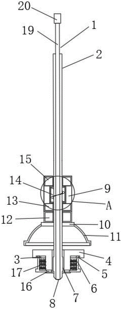
In the figure: 1-an air receiving port; 2-a catheter; 3-a chute; 4-mounting a plate; 5-a slide block; 6-a transmission plate; 7-air bag; 8-air guide head; 9-a disinfection sleeve; 10-a connecting plate; 11-a support mask; 12-a lubrication chamber; 13-a drying chamber; 14-a washing chamber; 15-a disinfection chamber; 16-a groove; 17-a spring; 18-a rotary tank; 19-an oxygen pipeline; 20-a gas guide port; 21-brushing the board; 22-fine brush; and 23-rotating sleeve.
Detailed Description
The technical solutions in the embodiments of the present invention will be described clearly and completely with reference to the accompanying drawings in the embodiments of the present invention, and it is obvious that the described embodiments are only some embodiments of the present invention, not all embodiments. Based on the embodiments in the present invention, all other embodiments obtained by a person skilled in the art without creative work belong to the protection scope of the present invention.
Referring to fig. 1-3, the present invention provides a technical solution of a hospital infection prevention tracheal intubation device: a tracheal intubation device for preventing hospital infection comprises a catheter 2, wherein an air bag 7 is arranged at the lower end of the catheter 2, an air guide head 8 is arranged at the tail end of the catheter 2, after the catheter 2 is inserted into a trachea of a patient, the catheter 2 is inflated by mechanical equipment, so that the air bag 7 is expanded, the air guide head 8 is fixed in a tracheal pipeline, an air guide port 20 is arranged at the top end of an oxygen pipeline 19, a disinfection sleeve 9 is sleeved on the catheter 2, a disinfection cavity 15 is arranged at the top inside the disinfection sleeve 9, a cleaning cavity 14 is arranged at the bottom of the disinfection cavity 15, a rotary groove 18 is formed inside the cleaning cavity 14, a rotary sleeve 23 is arranged inside the rotary groove 18, the rotary sleeve 23 can rotate inside the rotary groove 18, a brush plate 21 is arranged inside the rotary sleeve 23, the top, the bottom and the outer edge of the brush plate 21 are fixedly connected with the rotary sleeve 23, so that when the catheter 2 moves down to drive the brush plate 21, liquid in the rotary sleeve 23 also rotates inside the, wash the bottom in chamber 14 and be provided with dry chamber 13, the bottom in dry chamber 13 is provided with lubricated chamber 12, disinfection chamber 15, wash chamber 14, dry chamber 13 and lubricated chamber 12 all are located the inside of disinfection cover 9, the end of pipe 2 is provided with mounting panel 4, spout 3 has been seted up to the bottom side of mounting panel 4, the internally mounted of spout 3 has slider 5, driving plate 6 is installed to the bottom of slider 5, 6 surface bonding of driving plate has edible silica gel layer, be provided with spring 17 between driving plate 6 and the mounting panel 4, the bottom of driving plate 6 is provided with the lug, mounting panel 4's bottom side is seted up flutedly 16, and the lug can get into the inside of recess 16.
Further, the internally mounted of disinfection chamber 15 has the aseptic cotton, be stained with moist antiseptic solution on the aseptic cotton, the antiseptic solution is stained with to pipe 2 outside during the process, install fine brush 22 on the inboard edge of brush board 21, fine brush 22 will be stained with the outside of pipe 2 of antiseptic solution and scrub once, send to the inside of dry chamber 13 again, the internally mounted of dry chamber 13 has dry cotton, dry cotton will scrub the surface and still wet 2 outside residues of pipe and absorb, lubricated paraffin oil has been scribbled to the inside of lubricated chamber 12, paraffin oil can keep 2 outside lubricanting of pipe, let the intubate go on smoothly.
Specifically, the bottom of the disinfection sleeve 9 is provided with a connecting plate 10, the bottom of the connecting plate 10 is provided with a supporting face mask 11, and the supporting face mask 11 can keep the balance during intubation and also can prevent sundries from falling into the oral cavity of a patient.
It is worth to say that, air inlet 1 is installed at the top of pipe 2, and the top of air inlet 1 is provided with the internal screw thread inside, connects the pipe with mechanical equipment through the internal screw thread.
Furthermore, a through hole is formed in the mounting plate 4, the inner diameter of the through hole is larger than the outer diameter of the guide pipe 2, and the guide pipe 2 can penetrate through the through hole and extend to the lower portion of the mounting plate 4, so that the mounting plate 4 can move on the guide pipe 2.
The utility model discloses a theory of operation and use flow: when the utility model is used, the mounting plate 4 is placed in the oral cavity of a patient, the supporting mask 11 is placed above the oral cavity of the patient, the trachea is taken out by the staff, the catheter 2 is inserted into the inlet above the disinfection sleeve 9, the catheter 2 moves down to enter the disinfection cavity 15, the moist disinfection cotton arranged in the disinfection cavity 15 cleans the catheter 2 passing through the disinfection cavity 15, the catheter 2 continuously moves down to reach the cleaning cavity 14, the spiral brush plate 21 arranged in the cleaning cavity 14 is contacted with the catheter 2, the downward force of the catheter 2 can drive the brush plate 21 to rotate, so that the fine brush 22 on the brush plate 21 can comprehensively scrub the passing catheter 2, the catheter 2 continuously moves down to enter the drying cavity 13, the dry cotton arranged in the drying cavity 13 cleans the cleaned catheter 2, after the disinfection process is finished, the catheter 2 enters the lubricating cavity 12, the paraffin oil arranged in the lubricating cavity 12 is smeared outside the catheter 2, can help pipe 2 to get into patient's endotracheal portion, pipe 2 continues to move down, pass the hole of seting up on mounting panel 4, get into patient's trachea way, fix air guide head 8 in patient's trachea way through gasbag 7, take off disinfection cover 9 from pipe 2's top, readjust mounting panel 4's position, let the tooth aim at driving plate 6, the spring 17 of driving plate 6 bottom can give certain elastic space in patient's oral cavity, avoid patient's mouth to keep a posture always and lead to facial rigidity.
Although embodiments of the present invention have been shown and described, it will be appreciated by those skilled in the art that changes, modifications, substitutions and alterations can be made in these embodiments without departing from the principles and spirit of the invention, the scope of which is defined in the appended claims and their equivalents.

Claims (5)

1.一种防医院感染气管插管装置,包括导管(2)和氧气管道(19),其特征在于:所述导管(2)的下端设置有气囊(7),所述导管(2)的末端安装有导气头(8),所述氧气管道(19)的顶端安装有导气口(20),所述导管(2)上套有消毒套(9),所述消毒套(9)的内部顶部设置有消毒腔(15),所述消毒腔(15)的底部设置有清洗腔(14),所述清洗腔(14)的内部开设有转槽(18),所述转槽(18)的内部安装有转套(23),所述转套(23)的内部安装有刷板(21),所述清洗腔(14)的底部设置有干燥腔(13),所述干燥腔(13)的底部设置有润滑腔(12),所述导管(2)的末端设置有安装板(4),所述安装板(4)的底部侧面开设有滑槽(3),所述滑槽(3)的内部安装有滑块(5),所述滑块(5)的底部安装有传动板(6),所述传动板(6)与安装板(4)之间设置有弹簧(17),所述传动板(6)的底部设置有凸块,所述安装板(4)的底部侧面开设有凹槽(16),且凸块可进入凹槽(16)的内部。1. A tracheal intubation device for preventing nosocomial infection, comprising a conduit (2) and an oxygen pipeline (19), characterized in that: the lower end of the conduit (2) is provided with a balloon (7), and the An air guide head (8) is installed at the end, an air guide port (20) is installed at the top of the oxygen pipeline (19), and a sterilization sleeve (9) is sleeved on the catheter (2). A disinfection chamber (15) is provided at the top of the interior, a cleaning chamber (14) is provided at the bottom of the disinfection chamber (15), and a turning groove (18) is opened inside the cleaning chamber (14), and the turning groove (18) ) is installed with a rotating sleeve (23) inside, a brush plate (21) is installed inside the rotating sleeve (23), a drying cavity (13) is disposed at the bottom of the cleaning cavity (14), and the drying cavity ( 13) A lubricating cavity (12) is provided at the bottom, a mounting plate (4) is provided at the end of the conduit (2), and a chute (3) is provided on the bottom side of the mounting plate (4), and the chute A slider (5) is installed inside the slider (3), a transmission plate (6) is installed at the bottom of the slider (5), and a spring (17) is arranged between the transmission plate (6) and the installation plate (4). ), the bottom of the transmission plate (6) is provided with a convex block, the bottom side of the mounting plate (4) is provided with a groove (16), and the convex block can enter the interior of the groove (16). 2.根据权利要求1所述的一种防医院感染气管插管装置,其特征在于:所述消毒腔(15)的内部安装有消毒棉,所述刷板(21)的内侧边缘上安装有细毛刷(22),所述干燥腔(13)的内部安装有干燥棉,所述润滑腔(12)的内部涂设有润滑石蜡油。2. A tracheal intubation device for preventing nosocomial infection according to claim 1, characterized in that sterilization cotton is installed inside the disinfection chamber (15), and an inner edge of the brush plate (21) is installed with sterilization cotton. A fine brush (22), drying cotton is installed inside the drying cavity (13), and lubricating paraffin oil is coated inside the lubricating cavity (12). 3.根据权利要求1所述的一种防医院感染气管插管装置,其特征在于:所述消毒套(9)的底部安装有连接板(10),所述连接板(10)的底部安装有支撑面罩(11)。3. The tracheal intubation device for preventing nosocomial infection according to claim 1, characterized in that: a connecting plate (10) is installed at the bottom of the sterilization sleeve (9), and the bottom of the connecting plate (10) is installed There is a support mask (11). 4.根据权利要求1所述的一种防医院感染气管插管装置,其特征在于:所述导管(2)的顶端安装有接气口(1),所述接气口(1)的顶部内部设置有内螺纹。4. The tracheal intubation device for preventing nosocomial infection according to claim 1, characterized in that: the top of the conduit (2) is provided with an air connection port (1), and the top of the air connection port (1) is internally provided with Has internal thread. 5.根据权利要求1所述的一种防医院感染气管插管装置,其特征在于:所述安装板(4)上开设有通孔,所述导管(2)可贯穿通孔延伸至安装板(4) 的下方。5. The tracheal intubation device for preventing nosocomial infection according to claim 1, characterized in that: the mounting plate (4) is provided with a through hole, and the conduit (2) can extend through the through hole to the mounting plate (4) below.
CN202020723149.3U 2020-05-06 2020-05-06 Tracheal intubation device for preventing hospital infection Expired - Fee Related CN213466402U (en)

Priority Applications (1)

Application Number Priority Date Filing Date Title
CN202020723149.3U CN213466402U (en) 2020-05-06 2020-05-06 Tracheal intubation device for preventing hospital infection

Applications Claiming Priority (1)

Application Number Priority Date Filing Date Title
CN202020723149.3U CN213466402U (en) 2020-05-06 2020-05-06 Tracheal intubation device for preventing hospital infection

Publications (1)

Publication Number Publication Date
CN213466402U true CN213466402U (en) 2021-06-18

Family

ID=76389784

Family Applications (1)

Application Number Title Priority Date Filing Date
CN202020723149.3U Expired - Fee Related CN213466402U (en) 2020-05-06 2020-05-06 Tracheal intubation device for preventing hospital infection

Country Status (1)

Country Link
CN (1) CN213466402U (en)

Cited By (1)

* Cited by examiner, † Cited by third party
Publication number Priority date Publication date Assignee Title
CN119587817A (en) * 2024-09-11 2025-03-11 徐州仁慈医院 Automatic oxygen supply device for emergency department nursing and use method thereof

Cited By (1)

* Cited by examiner, † Cited by third party
Publication number Priority date Publication date Assignee Title
CN119587817A (en) * 2024-09-11 2025-03-11 徐州仁慈医院 Automatic oxygen supply device for emergency department nursing and use method thereof

Similar Documents

Publication Publication Date Title
CN109498198A (en) Oral nursing apparatus
CN213466402U (en) Tracheal intubation device for preventing hospital infection
CN112023154A (en) Department of respiration is with inhaling phlegm device convenient to wash
CN204219080U (en) A kind of Medical oral cavity rinser
CN115715710A (en) Oral cavity cleaning sterilizer for treating oral diseases and use method thereof
CN211325777U (en) Oral treatment is with nursing device
CN218247186U (en) Anti-shake type department of respiration bronchoscope intervenes treatment equipment
CN213395700U (en) A ventilation unit that is used for having of ward to disinfect protective structure
CN213667126U (en) Breathe clearing lung and eliminating phlegm device that internal medicine was used
CN207445107U (en) A kind of small negative pressure Wet-dry electricity inhales ear nostril cleaner
CN206763547U (en) A kind of test tube cleaning sterilizer
CN214231549U (en) Protective device for clinical doctor in department of respiration
CN213589291U (en) Be used for paediatrics clinical special use to inhale phlegm device
CN212662241U (en) A nasal cleaning device used before a patient's nostril breathing intubation
CN218961419U (en) Nursing sputum aspirator for guardianship room
CN209377787U (en) Oral nursing apparatus
CN114886369A (en) Bronchoscope interventional therapy device for respiratory department
CN208212288U (en) Disposable sputum aspirator tube
CN113940777B (en) Electric nursing device for oral care of inpatients
CN218165699U (en) A respiratory negative pressure suction device for emergency care
CN214343874U (en) Breathe critical severe mouth opening and breathe humidifying nursing device
CN214969813U (en) Sputum suction nursing device
CN208243645U (en) A kind of critically ill patient is with can monitor Power irrigation toothbrush
CN217040835U (en) Breathing machine suction loop disinfection equipment
CN215134322U (en) Pulmonary tuberculosis nursing sputum suction device

Legal Events

Date Code Title Description
GR01 Patent grant
GR01 Patent grant
CF01 Termination of patent right due to non-payment of annual fee

Granted publication date: 20210618

CF01 Termination of patent right due to non-payment of annual fee