CN213446509U - 一种城市高架桥雨水收集利用系统 - Google Patents
一种城市高架桥雨水收集利用系统 Download PDFInfo
- Publication number
- CN213446509U CN213446509U CN202022117532.7U CN202022117532U CN213446509U CN 213446509 U CN213446509 U CN 213446509U CN 202022117532 U CN202022117532 U CN 202022117532U CN 213446509 U CN213446509 U CN 213446509U
- Authority
- CN
- China
- Prior art keywords
- water
- filter screen
- reservoir
- pipe
- rainwater
- Prior art date
- Legal status (The legal status is an assumption and is not a legal conclusion. Google has not performed a legal analysis and makes no representation as to the accuracy of the status listed.)
- Expired - Fee Related
Links
- XLYOFNOQVPJJNP-UHFFFAOYSA-N water Substances O XLYOFNOQVPJJNP-UHFFFAOYSA-N 0.000 claims abstract description 99
- 238000001914 filtration Methods 0.000 claims abstract description 22
- 238000004140 cleaning Methods 0.000 claims abstract description 12
- 238000003973 irrigation Methods 0.000 claims abstract description 12
- 230000002262 irrigation Effects 0.000 claims abstract description 12
- 239000000463 material Substances 0.000 claims abstract description 9
- 239000013049 sediment Substances 0.000 claims abstract description 5
- 238000005381 potential energy Methods 0.000 claims abstract 2
- 239000000706 filtrate Substances 0.000 claims description 14
- 238000005192 partition Methods 0.000 claims description 11
- 239000010865 sewage Substances 0.000 claims description 7
- 239000000126 substance Substances 0.000 claims description 5
- 238000004891 communication Methods 0.000 claims description 4
- 239000010902 straw Substances 0.000 claims description 4
- 238000007599 discharging Methods 0.000 claims description 3
- 238000001556 precipitation Methods 0.000 claims description 2
- 238000004062 sedimentation Methods 0.000 claims description 2
- 230000005484 gravity Effects 0.000 claims 2
- 230000003044 adaptive effect Effects 0.000 claims 1
- 238000004064 recycling Methods 0.000 abstract description 3
- 238000000034 method Methods 0.000 abstract description 2
- 235000017166 Bambusa arundinacea Nutrition 0.000 description 4
- 235000017491 Bambusa tulda Nutrition 0.000 description 4
- 241001330002 Bambuseae Species 0.000 description 4
- 235000015334 Phyllostachys viridis Nutrition 0.000 description 4
- 239000011425 bamboo Substances 0.000 description 4
- 241000220317 Rosa Species 0.000 description 3
- 238000006073 displacement reaction Methods 0.000 description 2
- 241000282414 Homo sapiens Species 0.000 description 1
- 230000004075 alteration Effects 0.000 description 1
- 230000009286 beneficial effect Effects 0.000 description 1
- 238000010586 diagram Methods 0.000 description 1
- 239000010419 fine particle Substances 0.000 description 1
- 239000013505 freshwater Substances 0.000 description 1
- 239000003621 irrigation water Substances 0.000 description 1
- 238000012986 modification Methods 0.000 description 1
- 230000004048 modification Effects 0.000 description 1
- 239000011148 porous material Substances 0.000 description 1
- 238000000746 purification Methods 0.000 description 1
- 238000011084 recovery Methods 0.000 description 1
- 238000006467 substitution reaction Methods 0.000 description 1
Images
Classifications
-
- Y—GENERAL TAGGING OF NEW TECHNOLOGICAL DEVELOPMENTS; GENERAL TAGGING OF CROSS-SECTIONAL TECHNOLOGIES SPANNING OVER SEVERAL SECTIONS OF THE IPC; TECHNICAL SUBJECTS COVERED BY FORMER USPC CROSS-REFERENCE ART COLLECTIONS [XRACs] AND DIGESTS
- Y02—TECHNOLOGIES OR APPLICATIONS FOR MITIGATION OR ADAPTATION AGAINST CLIMATE CHANGE
- Y02A—TECHNOLOGIES FOR ADAPTATION TO CLIMATE CHANGE
- Y02A20/00—Water conservation; Efficient water supply; Efficient water use
- Y02A20/108—Rainwater harvesting
Landscapes
- Sewage (AREA)
Abstract
本实用新型公开的一种城市高架桥雨水收集利用系统及其使用方法,所述城市高架桥雨水收集利用系统,属于改善桥梁排水和雨水回收再利用技术领域。本实用新型提出的系统包括雨水过滤系统、绿化灌溉系统和过滤物清理系统。雨水过滤系统为在雨天对雨水分为4步过滤,分别为桥面过滤、排水主管过滤、过滤箱过滤和蓄水池过滤。绿化灌溉系统为在晴天将蓄水池中的水通过势能差或者水泵用于绿化浇灌。过滤物清理系统为对过滤网上的杂物、过滤箱和蓄水池中的沉积物、蓄水池中的浮油层进行清理。本实用新型通过设置4步过滤系统,再通过地势差和水泵将雨水用于绿化浇灌,成功解决了雨天桥面积水问题和晴天绿化灌溉问题。
Description
技术领域
实用新型涉及改善桥梁排水和雨水回收再利用技术领域,更具体地,一种城市高架桥雨水收集利用系统。
背景技术
桥梁是供道路、管线等彼此之间相互跨越或跨越自然障碍物的工程建筑物,是交通运输组成中的重要部分。由于现有桥梁排水系统存在堵塞的现象,导致桥面腐蚀,耐久性降低,桥面积水严重导致影响交通。同时人类对淡水资源的需求日益增加,加上存在水资源利用不合理的现象,所以将桥梁排水作为可回收水资源是必不可少的。所以将桥梁排水和水资源回收利用是非常必要的。
发明内容
有鉴于此,本实用新型的主要目的在于提供一种城市高架桥雨水收集利用系统,以解决现有梁排水系统存在堵塞的现象和将桥梁排水回收利用于绿化浇灌。
为实现上述目的,本实用新型的技术方案如下:
一种城市高架桥雨水收集利用系统,包括雨水过滤系统、绿化灌溉系统和过滤物清理系统。
所述过滤系统分为4步,第一步:水从桥面进入可展开过滤网筒(2)进行第一次过滤;第二步:水进入纵向排水管(3),通过过滤网1(5)进行第二次过滤;第三步:水通过竖向排水管(7)进入过滤箱(9),进行第三次过滤;第四步:水进入蓄水池(16),进行水的沉淀和除油处理。所诉绿化灌溉系统,通过水质检测器(20)和水位感应器(19)来决定水是否用于灌溉绿化和如何灌溉绿化。所诉过滤物清理系统,即对过滤物收集管(6)的清理,过滤箱(9)和蓄水池(16)的清理。
优选地,所述可展开过滤网筒(2)放入排水支管(1)内,可活动,当可展开过滤网筒(2)处于合拢状态时,可展开过滤网筒(2)完全放入排水支管内。当可展开过滤网筒 (2)处于展开状态时,可展开过滤网筒(2)一部分露出桥面,支撑在桥面上,增大排水面积。从而可展开过滤网筒(2)可以通过展开和收拢控制适应桥梁排水量的大小。所述排水支管(1)固定在桥面板内,下端直接与纵向排水管(3)连通。
优选地,所述桥梁设置一定的纵坡。
优选地,所述纵向排水管(3)通过吊卡固定在桥面板下缘,纵向排水管(3)每隔一段距离安装过滤网1(5),并且在过滤网1(5)前连接过滤物收集管(6),过滤物收集管(6)下端通过弯头与纵向排水管(3)相连通,上端垂直桥面板向上,直到与栏杆平齐。所诉竖向排水管(7)上端通过弯头与纵向排水管(3)连通,下端与过滤箱(9)连通。
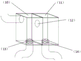
优选地,所述过滤箱(9)由一块隔板分为两个室,中间设置连通圆孔(12)连接,同时室1(10)下面放置过滤网2(13)和连接排水管,同时室2(11)下面放置过滤网3 (14)和连接排水管,过滤网2(13)和滤网3(14)设置为草帽形状,在排水管处设置为网状结构,上方为半球形形状,且设置滤网的孔径滤网3(14)大于滤网2(13),增强排水能力。
优选地,所述过滤网孔径的大小排序:可展开过滤网筒(2)、滤网1(5)、滤网3(14)、滤网2(13)。
优选地,所述蓄水池(16)与过滤箱(9)之间用排水管联通,所述蓄水池(16)由 2个隔板分为3个区域,分别为沉淀区(21)、除油区(22)和供水区(23)。
优选地,所述蓄水池设置1个入水口,2个出水口,灌溉出水口1(25)高于第二块隔板(24)低于污水出水口2(26),污水出水口2(26)低于入水口。
优选地,所述蓄水池(16)内安装水位感应器(19)。
优选地,所述蓄水池(16)内安装水质检测器(20)。
优选地,所述过滤物收集管(6)的清理是在桥面上用吸料风机进行清理。
优选地,所述过滤网2(13)和滤网3(14)设置为草帽形状,在排水管处设置为网状结构,上方为半球形形状,用于过滤并且过滤物会由于坡度掉进收集区,其余部分不设置为滤网。
本实用新型的目的还在于提供上述一种城市高架桥雨水收集利用系统的使用方法,包括以下步骤:桥面雨水从排水支管(1)流下,通过可展开过滤网筒(2),当桥面排水量不大时可展开过滤网筒(2)呈合拢状态,当桥面排水量大时可展开过滤网筒(2)呈打开状态,可展开过滤网筒(2)对较大的杂物进行过滤。水继续向下流通过两次过滤到达蓄水池(16),在蓄水池(16)内进行沉淀和除油处理,通过蓄水池(16)内安装水质检测器(20) 来判断水是否用于浇灌绿化。通过水位感应器来自动控制是否采用水泵(17)加压进行浇灌绿化。最后对可展开过滤网筒(2)、过滤物收集管(6)、过滤箱(9)和蓄水池(16)进行清理。可展开过滤网筒(2)采用人工在桥面清理。过滤物收集管(6)中的过滤物通过吸料风机在桥面清理。过滤箱(9)中的沉淀物与过滤物会堆积在过滤网的底部,将过滤网拿出清理即可。蓄水池(16)内的油类物质会通过排污口排向污水管道。蓄水池(16)内的沉淀物通过打开蓄水池盖板清理。
本实用新型的有益效果为。
(1)4级过滤系统,解决了原有桥梁排水系统的桥面堵塞问题和桥面积水问题。其中排水支管(1)内的可展开过滤网(2)可由雨量大小调节。过滤箱(9)中间由隔板隔开,可根据排水量的大小自动改变排水方式。
(2)过滤物收集管(6)的清理可在桥面完成,节约了人力。
(3)蓄水池(16)采用3个隔板隔开,既清除了雨水中细小颗粒物质,也清除了雨水中密度比水小的油类物质。
(4)蓄水池(16)中通过安装了水质检测器(20)和水位感应器(19)来决定水是否用于灌溉绿化和如何灌溉绿化。
(5)将桥梁排水收集到蓄水池(16),通过净化处理,然后将雨水用于绿化浇灌,从而达到了雨水回收再利用的目的。
附图说明
图1是本实用新型的总体结构示意图。
图2是本实用新型的横断面结构示意图。
图3是本实用新型的纵断面结构示意图。
图4是可展开过滤网筒结构示意图。
图5是过滤物收集管结构示意图。
图6是过滤箱结构示意图。
图7是过滤网2、过滤网3的结构示意图。
图8是储水池和水泵的结构示意图。
图9是储水池的平面结构示意图。
附图标记说明:
(1)、排水支管;(2)、可展开过滤网筒;(3)、纵向排水管;(4)、吊卡;(5)、过滤网1;(6)、过滤物收集管;(7)、竖向排水管;(8)、抱箍;(9)、过滤箱;(10)、室1;(11)、室2;(12)、连通圆孔;(13)、过滤网2;(14)、过滤网3;(15)、桥墩;(16)、蓄水池;(17)、水泵;(18)、污水管道;(19)、水位感应器;(20)、水质检测器;(21)、沉淀区;(22)、除油区;(23)、供水区;(24)、第二隔板;(25)、出水口1;(26)、出水口2。
具体实施方式
下面将结合本实用新型的具体实施方式进行进一步说明,在此应明确的是,所举具体实施方式仅用于解释和帮助理解本实用新型,并不构成对本实用新型的限定。
在本实用新型的描述中,需要说明的是,术语“纵向”、“上”、“下”、“左”、“右”、“竖直”、“水平”、“内”、“外”、“高”、“低”等指示的方位或位置关系为基于附图所示的方位或位置关系,仅是为了便于描述本实用新型和简化描述,而不是指示或暗示所指的装置或元件必须具有特定的方位、以特定的方位构造和操作,因此不能理解为对本实用新型的限制。此外,术语“第一”、“第二”、“第三”仅用于描述目的,而不能理解为指示或暗示相对重要性。还需说明的是,除非另有明确的规定和限定,术语“设置”、“安装”、“相连”、“连接”、“连通”、“固定”应做广义解释。
除非另有定义,本文所使用的所有的技术和科学术语与属于本实用新型的技术领域的技术人员通常理解的含义相同。本文中在本实用新型的说明书中所使用的术语只是为了描述具体的实施例的目的,不是旨在于限制本实用新型。
如图1-9所示,一种城市高架桥雨水收集利用系统,包括雨水过滤系统、绿化灌溉系统和过滤物清理系统。排水支管(1)穿过桥面板,固定在箱梁内部,桥面上将可展开过滤网筒(2)放置在排水支管(1)内,排水支管(1)下端连接纵向排水管(3),纵向排水管通过吊卡(4)固定在桥梁底部。在纵向排水管内部设置过滤网1(5),其孔径比可展开过滤网筒(2)小。在安置过滤网1(5)前端连接过滤物收集管(6),用于收集纵向排水管 (3)的过滤物。竖向排水管(7)上端与纵向排水管(3)相连接,并贴着箱梁外壁用抱箍 (8)固定,竖向排水管(7)下端连接放置在桥墩系梁上的过滤箱(9),过滤箱(9)下端连接排水管,排水管通过抱箍(8)固定在桥墩(15)上,下端连接到蓄水池(16),蓄水池 (16)与过滤箱(9)之间用排水管联通。蓄水池对雨水进行沉淀和除油处理。在蓄水池上设置两个出水口,位置靠下的出水口1(25)连接水泵(17)用于浇灌绿化,位置靠上的出水口2(26)连接污水管道,用于排出蓄水池内多余的水。蓄水池内设置水位感应器(19),通过感应器(19)自动控制水泵(17)的使用与否。蓄水池内还安装水质检测器(20),只有在水质达标的情况下,水才能用于浇灌绿化。选择在旱季进行过滤物的清理,分别为对过滤物收集管(6)的清理,过滤箱(9)和蓄水池(16)的清理。
如图6所示,过滤箱(9)由隔板分为室1(10)和室2(11),隔板上挖一个低于进水口的连通圆孔(12),水通过室1(10)流向室2(11),室1(10)和室2(11)下方连接排水管,并在排水管上方放置不同孔径的过滤网2(13)和过滤网3(14)。
如图7所示,过滤网2(13)和滤网3(14)设置为草帽形状,在排水管处设置为网状结构,上方为半球形形状。
如图8-9所示,所述蓄水池(16)由2个隔板分为3个区域,分别为沉淀区(21)、除油区(22)和供水区(23)。
尽管已经示出和描述了本实用新型的实施例,对于本领域的普通技术人员而言,可以理解在不脱离本实用新型和精神的情况下可以对这些实施例进行多种变化、修改、替换和变型,本实用新型的范围由所附权利要求及其同物限定。
Claims (9)
1.一种城市高架桥雨水收集利用系统,包括雨水过滤系统、绿化灌溉系统和过滤物清理系统;其特征在于排水支管(1)穿过桥面板,固定在箱梁内部,桥面上将可展开过滤网筒(2)放置在排水支管(1)内,排水支管(1)下端连接纵向排水管(3),纵向排水管通过吊卡(4)固定在桥梁底部;在纵向排水管内部设置过滤网1(5),其孔径比可展开过滤网筒(2)小;在安置过滤网1(5)前端连接过滤物收集管(6),用于收集纵向排水管(3)的过滤物;竖向排水管(7)上端与纵向排水管(3)相连接,并贴着箱梁外壁用抱箍(8)固定,竖向排水管(7)下端连接放置在桥墩系梁上的过滤箱(9),过滤箱(9)由隔板分为室1(10)和室2(11),隔板上挖一个低于进水口的连通圆孔(12),水通过室1(10)流向室2(11),室1(10)和室2(11)下方连接排水管,并在排水管上方放置不同孔径的过滤网2(13)和过滤网3(14);排水管通过抱箍(8)固定在桥墩(15)上,下端连接到蓄水池(16),蓄水池(16)对雨水进行沉淀和除油处理;在蓄水池(16)上设置两个出水口,位置靠下的出水口1(25)连接水泵(17)用于浇灌绿化,位置靠上的出水口2(26)连接污水管道(18),用于排出蓄水池内多余的水;蓄水池内设置水位感应器(19),通过感应器(19)自动控制水泵(17)的使用与否;蓄水池内还安装水质检测器(20),只有在水质达标的情况下,水才能用于浇灌绿化。
2.根据权利要求1所述的城市高架桥雨水收集利用系统,其特征在于:过滤网孔径的大小排序:可展开过滤网筒(2)>滤网1(5)>过滤网3(14)>过滤网2(13)。
3.根据权利要求2所述的城市高架桥雨水收集利用系统,其特征在于:可展开过滤网筒(2)可以通过展开和收拢控制适应桥梁排水量的大小。
4.根据权利要求2所述的城市高架桥雨水收集利用系统,其特征在于:过滤箱由一块隔板分为两个室,中间设置连通圆孔(12)连接,室1(10)起到沉淀作用,同时室1(10)下面放置过滤网2(13)和连接排水管,室1(10)的水通过圆孔流入室2(11),室2(11)下面放置过滤网3(14)和连接排水管,因为流入室2(11)的水是沉淀之后的,所以设置滤网的孔径过滤网3(14)大于过滤网2(13),增强排水能力。
5.根据权利要求4所述的城市高架桥雨水收集利用系统,其特征在于:过滤网2(13)和过滤网3(14)设置为草帽形状,在排水管处设置为网状结构,上方为半球形形状,用于过滤并且过滤物会由于坡度掉进收集区,其余部分不设置为滤网,用于收集沉淀物和过滤网上掉落的杂物。
6.根据权利要求2所述的城市高架桥雨水收集利用系统,其特征在于:蓄水池(16)由2个隔板分为3个区域,分别为沉淀区(21)、除油区(22)和供水区(23),泥沙沉淀物会因为重力原因沉积在沉淀区(21),密度小的油类物质有因为浮力作用浮在除油区(22)。
7.根据权利要求1所述的城市高架桥雨水收集利用系统,其特征在于:在纵向排水管内设置的过滤网1(5)前设置了过滤物收集管(6),水通过过滤网前,过滤物会被阻拦并由于重力作用掉入过滤物收集管(6)内,等到过滤物收集管(6)内的水干涸,在桥面上使用吸料风机将过滤物吸出,达到对过滤物的清理作用。
8.根据权利要求1所述的城市高架桥雨水收集利用系统,其特征在于:在蓄水池上设置两个出水口,位置靠下的出水口1(25)连接水泵(17),蓄水池内设置水位感应器(19),通过感应器(19)自动控制水泵(17)的使用与否;当水位高于绿化位置高程时,利用势能差对绿化进行浇灌;当水位低于绿化位置高程时,使用水泵对绿化进行浇灌。
9.根据权利要求1所述的城市高架桥雨水收集利用系统,其特征在于:在蓄水池内安装水质检测器(20),通过水质检测器(20)传递信息决定池内的水是否能用于浇灌绿化。
Priority Applications (1)
| Application Number | Priority Date | Filing Date | Title |
|---|---|---|---|
| CN202022117532.7U CN213446509U (zh) | 2020-09-24 | 2020-09-24 | 一种城市高架桥雨水收集利用系统 |
Applications Claiming Priority (1)
| Application Number | Priority Date | Filing Date | Title |
|---|---|---|---|
| CN202022117532.7U CN213446509U (zh) | 2020-09-24 | 2020-09-24 | 一种城市高架桥雨水收集利用系统 |
Publications (1)
| Publication Number | Publication Date |
|---|---|
| CN213446509U true CN213446509U (zh) | 2021-06-15 |
Family
ID=76326385
Family Applications (1)
| Application Number | Title | Priority Date | Filing Date |
|---|---|---|---|
| CN202022117532.7U Expired - Fee Related CN213446509U (zh) | 2020-09-24 | 2020-09-24 | 一种城市高架桥雨水收集利用系统 |
Country Status (1)
| Country | Link |
|---|---|
| CN (1) | CN213446509U (zh) |
Cited By (1)
| Publication number | Priority date | Publication date | Assignee | Title |
|---|---|---|---|---|
| CN118029256A (zh) * | 2024-04-10 | 2024-05-14 | 济南城建集团有限公司 | 一种具有生态排水结构的高架桥 |
-
2020
- 2020-09-24 CN CN202022117532.7U patent/CN213446509U/zh not_active Expired - Fee Related
Cited By (2)
| Publication number | Priority date | Publication date | Assignee | Title |
|---|---|---|---|---|
| CN118029256A (zh) * | 2024-04-10 | 2024-05-14 | 济南城建集团有限公司 | 一种具有生态排水结构的高架桥 |
| CN118029256B (zh) * | 2024-04-10 | 2024-06-11 | 济南城建集团有限公司 | 一种具有生态排水结构的高架桥 |
Similar Documents
| Publication | Publication Date | Title |
|---|---|---|
| CN106284588B (zh) | 一种可用于海绵城市的雨水处理与储存系统 | |
| CN104947781B (zh) | 一种雨水收集分流、涵养地层的调蓄系统 | |
| CN106245734A (zh) | 改进的城市道路雨水收集、涵养绿地的调蓄系统 | |
| CN111995099A (zh) | 一种城市高架桥雨水收集利用系统及其使用方法 | |
| KR100524151B1 (ko) | 초기 우수를 배제한 청정 우수 포집 장치 | |
| CN103408156A (zh) | 立交桥雨水净化与收集利用综合方法与系统 | |
| CN209457129U (zh) | 一种易清扫的自动封闭雨水口 | |
| KR101574644B1 (ko) | 이물질이 함유된 초기빗물을 배제한 우수 집수장치 | |
| CN109797839A (zh) | 一种城市道路雨水口高效截污装置及截污操作方法 | |
| CN109372088A (zh) | 一种易清扫的自动封闭雨水口 | |
| CN111287079A (zh) | 一种新型高架桥雨水综合利用系统 | |
| CN106638882A (zh) | 雨水收集利用系统 | |
| CN213446509U (zh) | 一种城市高架桥雨水收集利用系统 | |
| CN209779837U (zh) | 一种城市道路雨水口高效截污装置 | |
| CN213805770U (zh) | 一种全自动虹吸式初期雨水收集和处理系统 | |
| CN206554213U (zh) | 一种城市防内涝排水系统 | |
| CN109518793A (zh) | 一种防堵雨污水管道系统及其使用方法 | |
| CN219364886U (zh) | 一种海绵城市雨水收集系统 | |
| CN212689073U (zh) | 一种绿色节能建筑雨水收集处理系统 | |
| CN207794261U (zh) | 一种一体化雨水固液分离系统 | |
| CN213805773U (zh) | 一种住宅区海绵设施的集水装置 | |
| CN206902875U (zh) | 雨水多功能接收井 | |
| CN210713153U (zh) | 一种反冲洗雨水调蓄池 | |
| CN210013120U (zh) | 全方位收排桥面雨水的泄水装置 | |
| CN211571912U (zh) | 一种城市雨水收集水位控制系统 |
Legal Events
| Date | Code | Title | Description |
|---|---|---|---|
| GR01 | Patent grant | ||
| GR01 | Patent grant | ||
| CF01 | Termination of patent right due to non-payment of annual fee | ||
| CF01 | Termination of patent right due to non-payment of annual fee |
Granted publication date: 20210615 |