CN213441662U - 一种用于镭射膜转印装置 - Google Patents
一种用于镭射膜转印装置 Download PDFInfo
- Publication number
- CN213441662U CN213441662U CN202022118322.XU CN202022118322U CN213441662U CN 213441662 U CN213441662 U CN 213441662U CN 202022118322 U CN202022118322 U CN 202022118322U CN 213441662 U CN213441662 U CN 213441662U
- Authority
- CN
- China
- Prior art keywords
- frame
- installation frame
- laser film
- electric putter
- transfer printing
- Prior art date
- Legal status (The legal status is an assumption and is not a legal conclusion. Google has not performed a legal analysis and makes no representation as to the accuracy of the status listed.)
- Active
Links
- 238000010023 transfer printing Methods 0.000 title claims description 24
- 238000009434 installation Methods 0.000 claims abstract description 33
- 238000007493 shaping process Methods 0.000 claims description 2
- 239000000428 dust Substances 0.000 abstract description 11
- 238000007639 printing Methods 0.000 description 15
- 230000000694 effects Effects 0.000 description 9
- 238000000034 method Methods 0.000 description 9
- 238000001035 drying Methods 0.000 description 5
- 239000012528 membrane Substances 0.000 description 4
- 230000037303 wrinkles Effects 0.000 description 4
- 238000005516 engineering process Methods 0.000 description 3
- 238000001179 sorption measurement Methods 0.000 description 3
- 238000010521 absorption reaction Methods 0.000 description 2
- 230000009286 beneficial effect Effects 0.000 description 1
- 239000011127 biaxially oriented polypropylene Substances 0.000 description 1
- 229920006378 biaxially oriented polypropylene Polymers 0.000 description 1
- 238000004140 cleaning Methods 0.000 description 1
- 238000013329 compounding Methods 0.000 description 1
- 238000003384 imaging method Methods 0.000 description 1
- 238000004519 manufacturing process Methods 0.000 description 1
- 239000000463 material Substances 0.000 description 1
- 239000011159 matrix material Substances 0.000 description 1
- 238000012986 modification Methods 0.000 description 1
- 230000004048 modification Effects 0.000 description 1
- 238000004806 packaging method and process Methods 0.000 description 1
- 238000001259 photo etching Methods 0.000 description 1
- 238000003825 pressing Methods 0.000 description 1
Images
Landscapes
- Electronic Switches (AREA)
Abstract
本实用新型公开了一种用于镭射膜转印装置,包括支撑框架、电动推杆、安装框架二和挤压辊,所述支撑框架两侧内壁上均设置有所述电动推杆,所述电动推杆与所述支撑框架通过螺钉连接,所述电动推杆一端设置有所述安装框架二,所述安装框架二与所述电动推杆通过螺钉连接,所述安装框架二内设置有所述挤压辊,所述挤压辊与所述安装框架二转动连接。有益效果在于:本实用新型通过设置电动推杆、挤压辊和吸灰毡,电动推杆可自动推动挤压辊在镭射膜表面转动,进而将镭射膜表面的皱褶进行碾平,保证镭射膜转印时的平整性,同时吸灰毡可将镭射膜表面的灰尘进行吸附,保证保证镭射膜转印时的整洁性,无需人工操作,提高装置实用性。
Description
技术领域
本实用新型涉及镭射膜转印装置技术领域,具体涉及一种用于镭射膜转印装置。
背景技术
镭射膜一般采用计算机点阵光刻技术、3D真彩色全息技术、多重与动态成像技术等,经模压把具有彩虹动态、三维立体效果的全息图像转移到PET、BOPP、PVC或带涂层的基材上,然后利用复合、烫印、转移等方式使商品包装表面获得某种激光镭射效果。
现有的用于镭射膜转印装置在使用过程中是通过真空吸盘将镭射膜进行吸附固定,但是在吸附过程中镭射膜容易出现皱褶,进而需要人工将镭射膜整平,人工操作不仅效率低下,降低装置实用性,此外,现有的用于镭射膜转印装置在工作过程中转印后的油墨是通过自然晾干的方式进行干燥,此过程需要耗费大量的时间,而且油墨上易附着灰尘,影响装置的转印效果,进而降低装置功能性。
实用新型内容
(一)要解决的技术问题
为了克服现有技术不足,现提出一种用于镭射膜转印装置,解决了现有的用于镭射膜转印装置在使用过程中是通过真空吸盘将镭射膜进行吸附固定,但是在吸附过程中镭射膜容易出现皱褶,进而需要人工将镭射膜整平,人工操作不仅效率低下,降低装置实用性,以及现有的用于镭射膜转印装置在工作过程中转印后的油墨是通过自然晾干的方式进行干燥,此过程需要耗费大量的时间,而且油墨上易附着灰尘,影响装置的转印效果,进而降低装置功能性的问题。
(二)技术方案
本实用新型通过如下技术方案实现:本实用新型提出了一种用于镭射膜转印装置,包括支撑框架、电动推杆、安装框架二和挤压辊,所述支撑框架两侧内壁上均设置有所述电动推杆,所述电动推杆与所述支撑框架通过螺钉连接,所述电动推杆一端设置有所述安装框架二,所述安装框架二与所述电动推杆通过螺钉连接,所述安装框架二内设置有所述挤压辊,所述挤压辊与所述安装框架二转动连接,所述挤压辊外壁上设置有吸灰毡,所述吸灰毡与所述挤压辊粘接。
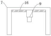
进一步的,所述支撑框架顶端内壁上成型有滑槽,所述滑槽内设置有气缸,所述气缸与所述滑槽滑动连接,所述气缸底端设置有安装框架一,所述安装框架一与所述气缸通过螺钉连接,所述安装框架一内设置有转印辊,所述转印辊与所述安装框架一转动连接。
通过采用上述技术方案,在装置工作过程中,所述气缸推动所述转印辊向下移动,使其与镭射膜接触,进而将所述转印辊上的图案转印到镭射膜表面。
进一步的,所述气缸与所述支撑框架之间设置有液压杆,所述液压杆与所述气缸以及所述支撑框架均通过螺钉连接。
通过采用上述技术方案,所述液压杆可自动推动所述气缸在所述滑槽内移动,进而使所述转印辊转动,可对镭射膜进行全面转印。
进一步的,所述支撑框架一侧壁上设置有热风机,所述热风机与所述支撑框架通过螺钉连接,所述热风机上插接有热风管道,所述热风管道与所述支撑框架通过管箍连接。
通过采用上述技术方案,所述热风机产生的热风通过所述热风管道排出,进而可对转印后镭射膜表面的油墨进行快速干燥,一方面缩短油墨的干燥时间,另一方面防止灰尘落在油墨上,保证装置的转印效果,提高装置功能性。
进一步的,所述支撑框架底端设置有工作平台,所述工作平台与所述支撑框架通过螺钉连接,所述工作平台底端设置有支撑腿,所述支撑腿与所述支撑框架通过螺钉连接。
通过采用上述技术方案,所述支撑框架、所述工作平台以及所述支撑腿组成装置的基本框架。
进一步的,所述支撑腿一侧壁上设置有真空泵,所述真空泵与所述支撑腿通过螺钉连接,所述工作平台上端中部设置有真空吸盘,所述真空吸盘与所述工作平台通过螺钉连接,所述真空泵上插接有真空管道,所述真空管道贯穿所述工作平台,所述真空管道另一端与所述真空吸盘插接。
通过采用上述技术方案,所述真空泵产生的吸力通过所述真空管道进入所述真空吸盘,进而将镭射膜吸附固定。
(三)有益效果
本实用新型相对于现有技术,具有以下有益效果:
1、为解决现有的用于镭射膜转印装置在使用过程中是通过真空吸盘将镭射膜进行吸附固定,但是在吸附过程中镭射膜容易出现皱褶,进而需要人工将镭射膜整平,人工操作不仅效率低下,降低装置实用性的问题,本实用新型通过设置电动推杆、挤压辊和吸灰毡,电动推杆可自动推动挤压辊在镭射膜表面转动,进而将镭射膜表面的皱褶进行碾平,保证镭射膜转印时的平整性,同时吸灰毡可将镭射膜表面的灰尘进行吸附,保证保证镭射膜转印时的整洁性,无需人工操作,提高装置实用性;
2、为解决现有的用于镭射膜转印装置在工作过程中转印后的油墨是通过自然晾干的方式进行干燥,此过程需要耗费大量的时间,而且油墨上易附着灰尘,影响装置的转印效果,进而降低装置功能性的问题,本实用新型通过设置热风机和热风管道,热风机产生的热风通过热风管道排出,进而可对转印后镭射膜表面的油墨进行快速干燥,一方面缩短油墨的干燥时间,另一方面防止灰尘落在油墨上,保证装置的转印效果,提高装置功能性。
附图说明
图1是本实用新型所述一种用于镭射膜转印装置的结构示意图;
图2是本实用新型所述一种用于镭射膜转印装置中支撑框架的剖视图;
图3是本实用新型所述一种用于镭射膜转印装置中挤压辊的左剖视图。
附图标记说明如下:
1、真空泵;2、工作平台;3、热风机;4、电动推杆;5、转印辊;6、热风管道;7、支撑框架;8、液压杆;9、气缸;10、安装框架一;11、安装框架二;12、挤压辊;13、真空吸盘;14、支撑腿;15、真空管道;16、滑槽16;17、吸灰毡。
具体实施方式
为了使本实用新型的目的、技术方案及优点更加清楚明白,以下结合附图及实施例,对本实用新型进行进一步详细说明。应当理解,此处所描述的具体实施例仅仅用以解释本实用新型,并不用于限定本实用新型。
如图1-图3所示,本实施例中的一种用于镭射膜转印装置,包括支撑框架7、电动推杆4、安装框架二11和挤压辊12,支撑框架7两侧内壁上均设置有电动推杆4,电动推杆4与支撑框架7通过螺钉连接,电动推杆4一端设置有安装框架二11,安装框架二11与电动推杆4通过螺钉连接,安装框架二11内设置有挤压辊12,挤压辊12与安装框架二11转动连接,挤压辊12外壁上设置有吸灰毡17,吸灰毡17与挤压辊12粘接,电动推杆4可自动推动挤压辊12在镭射膜表面转动,进而将镭射膜表面的皱褶进行碾平,保证镭射膜转印时的平整性,同时吸灰毡17可将镭射膜表面的灰尘进行吸附,保证保证镭射膜转印时的整洁性,无需人工操作,提高装置实用性,支撑框架7顶端内壁上成型有滑槽16,滑槽16内设置有气缸9,气缸9与滑槽16滑动连接,气缸9底端设置有安装框架一10,安装框架一10与气缸9通过螺钉连接,安装框架一10内设置有转印辊5,转印辊5与安装框架一10转动连接,在装置工作过程中,气缸9推动转印辊5向下移动,使其与镭射膜接触,进而将转印辊5上的图案转印到镭射膜表面。
如图1-图3所示,本实施例中,气缸9与支撑框架7之间设置有液压杆8,液压杆8与气缸9以及支撑框架7均通过螺钉连接,液压杆8可自动推动气缸9在滑槽16内移动,进而使转印辊5转动,可对镭射膜进行全面转印,支撑框架7一侧壁上设置有热风机3,热风机3与支撑框架7通过螺钉连接,热风机3上插接有热风管道6,热风管道6与支撑框架7通过管箍连接,热风机3产生的热风通过热风管道6排出,进而可对转印后镭射膜表面的油墨进行快速干燥,一方面缩短油墨的干燥时间,另一方面防止灰尘落在油墨上,保证装置的转印效果,提高装置功能性。
如图1-图3所示,本实施例中,支撑框架7底端设置有工作平台2,工作平台2与支撑框架7通过螺钉连接,工作平台2底端设置有支撑腿14,支撑腿14与支撑框架7通过螺钉连接,支撑框架7、工作平台2以及支撑腿14组成装置的基本框架,支撑腿14一侧壁上设置有真空泵1,真空泵1与支撑腿14通过螺钉连接,工作平台2上端中部设置有真空吸盘13,真空吸盘13与工作平台2通过螺钉连接,真空泵1上插接有真空管道15,真空管道15贯穿工作平台2,真空管道15另一端与真空吸盘13插接,真空泵1产生的吸力通过真空管道15进入真空吸盘13,进而将镭射膜吸附固定。
本实施例的具体实施过程如下:首先将镭射膜放置在真空吸盘13上,此时真空泵1产生的吸力通过真空管道15进入真空吸盘13,进而将镭射膜吸附固定,然后使电动推杆4自动推动挤压辊12在镭射膜表面转动,进而将镭射膜表面的皱褶进行碾平,保证镭射膜转印时的平整性,同时吸灰毡17可将镭射膜表面的灰尘进行吸附,保证保证镭射膜转印时的整洁性,无需人工操作,提高装置实用性,清理好之后,使气缸9推动转印辊5向下移动,使其与镭射膜接触,进而将转印辊5上的图案转印到镭射膜表面,在通过液压杆8自动推动气缸9在滑槽16内移动,进而使转印辊5转动,可对镭射膜进行全面转印,转印完成后,热风机3产生的热风通过热风管道6排出,进而可对转印后镭射膜表面的油墨进行快速干燥,一方面缩短油墨的干燥时间,另一方面防止灰尘落在油墨上,保证装置的转印效果,提高装置功能性。
上面的实施例仅仅是对本实用新型的优选实施方式进行描述,并非对本实用新型的构思和范围进行限定。在不脱离本实用新型设计构思的前提下,本领域普通人员对本实用新型的技术方案做出的各种变型和改进,均应落入到本实用新型的保护范围,本实用新型请求保护的技术内容,已经全部记载在权利要求书中。
Claims (6)
1.一种用于镭射膜转印装置,其特征在于:包括支撑框架(7)、电动推杆(4)、安装框架二(11)和挤压辊(12),所述支撑框架(7)两侧内壁上均设置有所述电动推杆(4),所述电动推杆(4)与所述支撑框架(7)通过螺钉连接,所述电动推杆(4)一端设置有所述安装框架二(11),所述安装框架二(11)与所述电动推杆(4)通过螺钉连接,所述安装框架二(11)内设置有所述挤压辊(12),所述挤压辊(12)与所述安装框架二(11)转动连接,所述挤压辊(12)外壁上设置有吸灰毡(17),所述吸灰毡(17)与所述挤压辊(12)粘接。
2.根据权利要求1所述的一种用于镭射膜转印装置,其特征在于:所述支撑框架(7)顶端内壁上成型有滑槽(16),所述滑槽(16)内设置有气缸(9),所述气缸(9)与所述滑槽(16)滑动连接,所述气缸(9)底端设置有安装框架一(10),所述安装框架一(10)与所述气缸(9)通过螺钉连接,所述安装框架一(10)内设置有转印辊(5),所述转印辊(5)与所述安装框架一(10)转动连接。
3.根据权利要求2所述的一种用于镭射膜转印装置,其特征在于:所述气缸(9)与所述支撑框架(7)之间设置有液压杆(8),所述液压杆(8)与所述气缸(9)以及所述支撑框架(7)均通过螺钉连接。
4.根据权利要求3所述的一种用于镭射膜转印装置,其特征在于:所述支撑框架(7)一侧壁上设置有热风机(3),所述热风机(3)与所述支撑框架(7)通过螺钉连接,所述热风机(3)上插接有热风管道(6),所述热风管道(6)与所述支撑框架(7)通过管箍连接。
5.根据权利要求4所述的一种用于镭射膜转印装置,其特征在于:所述支撑框架(7)底端设置有工作平台(2),所述工作平台(2)与所述支撑框架(7)通过螺钉连接,所述工作平台(2)底端设置有支撑腿(14),所述支撑腿(14)与所述支撑框架(7)通过螺钉连接。
6.根据权利要求5所述的一种用于镭射膜转印装置 ,其特征在于:所述支撑腿(14)一侧壁上设置有真空泵(1),所述真空泵(1)与所述支撑腿(14)通过螺钉连接,所述工作平台(2)上端中部设置有真空吸盘(13),所述真空吸盘(13)与所述工作平台(2)通过螺钉连接,所述真空泵(1)上插接有真空管道(15),所述真空管道(15)贯穿所述工作平台(2),所述真空管道(15)另一端与所述真空吸盘(13)插接。
Priority Applications (1)
| Application Number | Priority Date | Filing Date | Title |
|---|---|---|---|
| CN202022118322.XU CN213441662U (zh) | 2020-09-24 | 2020-09-24 | 一种用于镭射膜转印装置 |
Applications Claiming Priority (1)
| Application Number | Priority Date | Filing Date | Title |
|---|---|---|---|
| CN202022118322.XU CN213441662U (zh) | 2020-09-24 | 2020-09-24 | 一种用于镭射膜转印装置 |
Publications (1)
| Publication Number | Publication Date |
|---|---|
| CN213441662U true CN213441662U (zh) | 2021-06-15 |
Family
ID=76326558
Family Applications (1)
| Application Number | Title | Priority Date | Filing Date |
|---|---|---|---|
| CN202022118322.XU Active CN213441662U (zh) | 2020-09-24 | 2020-09-24 | 一种用于镭射膜转印装置 |
Country Status (1)
| Country | Link |
|---|---|
| CN (1) | CN213441662U (zh) |
Cited By (1)
| Publication number | Priority date | Publication date | Assignee | Title |
|---|---|---|---|---|
| CN116047639A (zh) * | 2023-04-03 | 2023-05-02 | 长春市倍视得智能科技有限公司 | 一种应用于视力矫正的光学透镜装置 |
-
2020
- 2020-09-24 CN CN202022118322.XU patent/CN213441662U/zh active Active
Cited By (1)
| Publication number | Priority date | Publication date | Assignee | Title |
|---|---|---|---|---|
| CN116047639A (zh) * | 2023-04-03 | 2023-05-02 | 长春市倍视得智能科技有限公司 | 一种应用于视力矫正的光学透镜装置 |
Similar Documents
| Publication | Publication Date | Title |
|---|---|---|
| CN213441662U (zh) | 一种用于镭射膜转印装置 | |
| CN116604829A (zh) | 一种气凝胶热压封装机 | |
| CN208247674U (zh) | 一种散热膜的贴合装置 | |
| CN207683049U (zh) | 一种便于平整的纸张去皱装置 | |
| CN214239985U (zh) | 一种印刷设备用干燥装置 | |
| CN212530218U (zh) | 一种可避免挤压出现气泡的覆膜机 | |
| CN210883966U (zh) | 一种不干胶原料送料装置 | |
| CN209832932U (zh) | 一种用于生产包装彩盒的五色印印刷机的纸张固定装置 | |
| CN221717868U (zh) | 一种珍珠棉胶合装置 | |
| CN210337225U (zh) | 一种便于使用的定位印刷机 | |
| CN220722925U (zh) | 一种印刷机的纸张印刷平整装置 | |
| CN217376738U (zh) | 一种易于定位的连衣裙加工用布料印花装置 | |
| CN205836132U (zh) | 一种双面印刷机 | |
| CN211764185U (zh) | 一种立体感水松纸烫金压纹一体化装置 | |
| CN211390602U (zh) | 一种包装袋印刷机的清洁装置 | |
| CN214347506U (zh) | 一种用于复膜机的辊筒刮胶装置 | |
| CN211251736U (zh) | 一种彩色印刷机中的包装纸袋印染装置 | |
| CN209548234U (zh) | 一种卫生用品吸附压实装置 | |
| CN211616947U (zh) | 一种柔版印刷座 | |
| CN113213208B (zh) | 3d科技纸的制备装置 | |
| CN220562276U (zh) | 一种瓦楞纸板生产加工用压实烘干装置 | |
| CN221737365U (zh) | 一种自动印刷装置 | |
| CN220681608U (zh) | 一种车用脚垫生产加工用的压纹机 | |
| CN106864025B (zh) | 一种印刷烘干装置 | |
| CN207357486U (zh) | 涂布印刷组合机构 |
Legal Events
| Date | Code | Title | Description |
|---|---|---|---|
| GR01 | Patent grant | ||
| GR01 | Patent grant |