CN213382316U - Manhole cement product cutting device - Google Patents

Manhole cement product cutting device Download PDF

Info

Publication number
CN213382316U
CN213382316U CN202021309099.0U CN202021309099U CN213382316U CN 213382316 U CN213382316 U CN 213382316U CN 202021309099 U CN202021309099 U CN 202021309099U CN 213382316 U CN213382316 U CN 213382316U
Authority
CN
China
Prior art keywords
fixedly connected
water
cutting
plate
cutting device
Prior art date
Legal status (The legal status is an assumption and is not a legal conclusion. Google has not performed a legal analysis and makes no representation as to the accuracy of the status listed.)
Expired - Fee Related
Application number
CN202021309099.0U
Other languages
Chinese (zh)
Inventor
胡文良
Current Assignee (The listed assignees may be inaccurate. Google has not performed a legal analysis and makes no representation or warranty as to the accuracy of the list.)
Pingxiang Longding Cement Product Co ltd
Original Assignee
Pingxiang Longding Cement Product Co ltd
Priority date (The priority date is an assumption and is not a legal conclusion. Google has not performed a legal analysis and makes no representation as to the accuracy of the date listed.)
Filing date
Publication date
Application filed by Pingxiang Longding Cement Product Co ltd filed Critical Pingxiang Longding Cement Product Co ltd
Priority to CN202021309099.0U priority Critical patent/CN213382316U/en
Application granted granted Critical
Publication of CN213382316U publication Critical patent/CN213382316U/en
Expired - Fee Related legal-status Critical Current
Anticipated expiration legal-status Critical

Links

Images

Landscapes

  • Processing Of Stones Or Stones Resemblance Materials (AREA)

Abstract

The utility model discloses an inspection well cement product cutting device, including the lower backup pad, the avris fixedly connected with lower support bar of lower backup pad the one end of going up the lead screw is connected with last driving motor's transmission end transmission, go up the lower extreme fixedly connected with second pneumatic cylinder of removal piece. This cement product cutting device for manhole, the lower water spout that the accessible removed removes to erode the washing to the cutting plane of bottom suspension fagging, time saving and labor saving, wash the washing through high pressure simultaneously, the cleaning performance to the device has been improved, can filter the water after wasing simultaneously, and then realize the cyclic utilization of water resource, the waste of water resource has been avoided, the cleaning cost is reduced, also can drench the dust that the cutting produced, and then prevent four flies of dust, prevent that the processing environment from receiving the pollution, the comfort level of workman man-hour has been guaranteed, two infrared rays of accessible carry out accurate location to cutting department simultaneously, and then the cutting device of being convenient for is to the cutting of object.

Description

Manhole cement product cutting device
Technical Field
The utility model relates to an inspection shaft cement goods processing equipment technical field specifically is an inspection shaft cement goods cutting device.
Background
Along with the development of science, in order to make the product processing of people's life faster and accurate, various machining equipment appeared thereupon, comparatively common have perforating device, cutting device, grinding device etc..
However, the current manhole cement goods cutting device in market is to the too washing of cutting after the cutting is accomplished, needs the manual work to go on, and is consuming time and wasting power, and the cleaning performance is also not good, produces the dust easily in the cutting process simultaneously, and four of dust fly easily and cause the pollution of processing environment, also need subsequent clearance simultaneously, the amount of labour of increase to and the location of the cutting department of being not convenient for.
SUMMERY OF THE UTILITY MODEL
An object of the utility model is to provide an inspection well cement goods cutting device to propose the too washing of cutting after the cutting of current inspection well cement goods cutting device is accomplished in solving above-mentioned background art, need the manual work to go on, consuming time and power, the cleaning performance is also not good, cut the in-process simultaneously and produce the dust easily, four of dust fly easily cause the pollution of processing environment, also need subsequent clearance simultaneously, the amount of labour of increase, and the problem of the location of cutting department of being not convenient for.
In order to achieve the above object, the utility model provides a following technical scheme: a cement product cutting device for an inspection well comprises a lower supporting plate, wherein the lateral side of the lower supporting plate is fixedly connected with a lower supporting rod, the lower end of the lower supporting plate is fixedly connected with a water guide hopper, a cutting groove is formed in the lower supporting plate, a through hole is formed in the lower supporting plate and is positioned at the lateral side of the cutting groove, four upper supporting rods are symmetrically and fixedly connected with the lateral side of the upper end of the lower supporting plate, a water baffle is fixedly connected between the upper supporting rods at the upper end of the lower supporting plate, a lower driving motor is fixedly connected to the outer side of the water baffle at the front side of the lower supporting plate, a lower lead screw is rotatably connected between the water baffles at the front side and the rear side of the lower supporting plate, a lower moving block is mounted on the surface of the lower lead screw, a lower water feeding pipe is fixedly connected with the lower water nozzle at the lower end of the lower, the lower end surface of the upper supporting plate is fixedly connected with two first hydraulic cylinders symmetrically and fixedly connected with the lower end surface of the upper supporting plate, the movable end of each first hydraulic cylinder is fixedly connected with a positioning plate, the side of the positioning plate is fixedly connected with an upper water feeding pipe, the side of the upper water feeding pipe is fixedly connected with an upper water nozzle, the inner part of the upper supporting plate is positioned between the first hydraulic cylinders and is provided with a mounting groove, the inner part of the mounting groove is rotatably connected with an upper screw rod, the surface of the upper screw rod is provided with an upper moving block, the right end of the upper supporting plate is fixedly connected with an upper driving motor, one end of the upper screw rod is in transmission connection with the driving end of the upper driving motor, the lower end of the upper moving block is fixedly connected with a second hydraulic cylinder, the movable end of the second hydraulic cylinder is fixedly, the water guide device is characterized in that a water tank is arranged below the water guide hopper, a first connecting pipe is fixedly connected to the right end of the water tank, a water pump is fixedly connected to the right end of the first connecting pipe, a shunt pipe is fixedly connected to the right end of the water pump, two control valves are fixedly connected to two ends of the shunt pipe, and the two control valves are respectively communicated with a lower water supply pipe and an upper water supply pipe through second connecting pipes.
Preferably, the through holes are distributed at equal intervals, and are positioned above the water guide hopper which is positioned right above the water tank.
Preferably, the lower screw rod is in threaded connection with the lower moving block, a gap is reserved between the surface of a lower water supply pipe at the lower end of the lower moving block and the upper end face of the lower supporting plate, lower water nozzles at the side of the lower water supply pipe are distributed at equal intervals, and the lower water nozzles are inclined towards the upper end face of the lower supporting plate.
Preferably, the length of the positioning plate is smaller than the distance between the two lower screw rods, and the lower end face of the positioning plate is fixedly connected with a rubber anti-slip sheet.
Preferably, the upper water nozzles are distributed at equal intervals, and the upper water nozzles are inclined towards the cutting blade on the cutting machine.
Preferably, the vertical center line of the infrared irradiation lamp and the vertical center line of the cutting piece on the cutting machine are in the same vertical plane, two infrared irradiation lamps and two mounting plates are symmetrically arranged about the vertical center line of the cutting machine respectively, and the distance from the infrared irradiation lamp to the second hydraulic cylinder is greater than the width of a hood on the cutting machine.
Preferably, the inside fixedly connected with limiting plate of water tank, the inside block that is located the upper end of limiting plate of water tank is connected with the filter screen, two handles of the upper end symmetry fixedly connected with of filter screen.
Compared with the prior art, the beneficial effects of the utility model are that:
1. according to the cement product cutting device for the manhole, the lower driving motor, the lower screw rod, the lower moving block, the lower water supply pipe and the lower water spray nozzle are arranged, the cutting surface of the lower support plate can be cleaned by moving and washing through the movable lower water spray nozzle, time and labor are saved, meanwhile, the cleaning effect of the device is improved by high-pressure washing, and meanwhile, water after cleaning can be filtered through mutual matching of the water tank, the filter screen and the water pump, so that the cyclic utilization of water resources is realized, the waste of the water resources is avoided, and the cleaning cost is reduced;
2. according to the cement product cutting device for the manhole, through the arrangement of the upper water supply pipe and the upper water spray nozzle, dust generated by cutting can be wetted, so that the dust is prevented from flying by four times, the processing environment is prevented from being polluted, and the comfort level of workers during processing is ensured;
3. this manhole cement goods cutting device, through the setting of mounting panel and infrared irradiation lamp, two infrared rays of accessible carry out accurate location to the cutting department, and then the cutting device of being convenient for is to the cutting of object.
Drawings
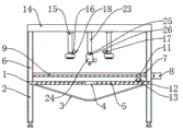
FIG. 1 is a schematic view of the structure of the present invention;
FIG. 2 is a schematic cross-sectional view of the lower support plate of the present invention;
FIG. 3 is a schematic view of the internal structure of the water tank of the present invention;
fig. 4 is the schematic view of the internal structure of the mounting groove of the present invention.
In the figure: 1. a lower support plate; 2. a lower support bar; 3. a water guide hopper; 4. cutting the groove; 5. a through hole; 6. an upper support rod; 7. a water baffle; 8. a lower drive motor; 9. a lower screw rod; 11. a lower moving block; 12. a lower water supply pipe; 13. a lower water spray nozzle; 14. an upper support plate; 15. a first hydraulic cylinder; 16. positioning a plate; 17. an upper water supply pipe; 18. an upper water spray nozzle; 19. mounting grooves; 20. feeding a screw rod; 21. moving the block upwards; 22. an upper drive motor; 23. a second hydraulic cylinder; 24. a cutter; 25. mounting a plate; 26. an infrared radiation lamp; 27. a water tank; 28. a limiting plate; 29. a filter screen; 30. a handle; 31. a first connecting pipe; 32. a water pump; 33. a shunt tube; 34. a control valve; 35. a second connecting pipe.
Detailed Description
The technical solutions in the embodiments of the present invention will be described clearly and completely with reference to the accompanying drawings in the embodiments of the present invention, and it is obvious that the described embodiments are only some embodiments of the present invention, not all embodiments. Based on the embodiments in the present invention, all other embodiments obtained by a person skilled in the art without creative work belong to the protection scope of the present invention.
Referring to fig. 1-4, the present invention provides a technical solution: a cement product cutting device for an inspection well comprises a lower support plate 1, wherein the side of the lower support plate 1 is fixedly connected with a lower support rod 2, the lower end of the lower support plate 1 is fixedly connected with a water guide hopper 3, the inside of the lower support plate 1 is provided with a cutting groove 4, the inside of the lower support plate 1 is provided with a through hole 5 at the side of the cutting groove 4, the side of the upper end of the lower support plate 1 is symmetrically and fixedly connected with four upper support rods 6, the upper end of the lower support plate 1 is positioned between the upper support rods 6 and is fixedly connected with a water baffle plate 7, the outer side of the water baffle plate 7 at the front side of the lower support plate 1 is fixedly connected with a lower driving motor 8, a lower screw rod 9 is rotatably connected between the water baffle plates 7 at the front side and the rear side of the lower support plate 1, the surface of the lower screw rod 9 is provided with a lower, an upper supporting plate 14 is fixedly connected to the upper end of the upper supporting rod 6, two first hydraulic cylinders 15 are fixedly connected to the lower end face of the upper supporting plate 14 in a symmetrical and symmetrical manner, a positioning plate 16 is fixedly connected to the movable end of each first hydraulic cylinder 15, an upper water supply pipe 17 is fixedly connected to the side of the positioning plate 16, an upper water spray nozzle 18 is fixedly connected to the side of the upper water supply pipe 17, a mounting groove 19 is formed in the upper supporting plate 14 and positioned between the first hydraulic cylinders 15, an upper screw rod 20 is rotatably connected to the inside of the mounting groove 19, an upper moving block 21 is mounted on the surface of the upper screw rod 20, an upper driving motor 22 is fixedly connected to the right end of the upper supporting plate 14, one end of the upper screw rod 20 is in transmission connection with the transmission end of the upper driving motor 22, a second hydraulic cylinder 23 is fixedly connected to the lower end of the upper moving block 21, the lower end of the mounting plate 25 is fixedly connected with an infrared irradiation lamp 26, a water tank 27 is arranged below the water guide hopper 3, a first connecting pipe 31 is fixedly connected with the right end of the water tank 27, a water pump 32 is fixedly connected with the right end of the first connecting pipe 31, a shunt pipe 33 is fixedly connected with the right end of the water pump 32, two control valves 34 are fixedly connected with two ends of the shunt pipe 33, and the two control valves 34 are respectively communicated with the lower water supply pipe 12 and the upper water supply pipe 17 through a second connecting pipe 35.
Furthermore, the through holes 5 are distributed at equal intervals, the through holes 5 are positioned above the water guide hopper 3, and the water guide hopper 3 is positioned right above the water tank 27, so that the water in the cleaning and cutting processes can be completely guided into the water tank 27.
Furthermore, the lower screw rod 9 is in threaded connection with the lower moving block 11, a gap is reserved between the surface of a lower water supply pipe 12 at the lower end of the lower moving block 11 and the upper end face of the lower support plate 1, lower water spray nozzles 13 on the side of the lower water supply pipe 12 are distributed at equal intervals, and the lower water spray nozzles 13 are inclined towards the upper end face of the lower support plate 1, so that the lower support plate 1 is moved and cleaned.
Furthermore, the length of the positioning plate 16 is smaller than the distance between the two lower screw rods 9, and the lower end face of the positioning plate 16 is fixedly connected with a rubber anti-slip sheet, so that the positioning plate 16 can fix an object.
Furthermore, the upper water nozzles 18 are distributed at equal intervals, and the upper water nozzles 18 are inclined towards the cutting blade on the cutting machine 24, so that the dust generated by cutting is wetted, and the dust is prevented from flying.
Furthermore, the vertical center line of the infrared irradiation lamp 26 and the vertical center line of the cutting piece on the cutting machine 24 are located in the same vertical plane, the infrared irradiation lamp 26 and the mounting plate 25 are symmetrically arranged about the vertical center line of the cutting machine 24, the distance from the infrared irradiation lamp 26 to the second hydraulic cylinder 23 is greater than the width of the hood on the cutting machine 24, the positioning of the cutting position of the object is achieved, and the cutting is facilitated.
Further, the inside fixedly connected with limiting plate 28 of water tank 27, the inside upper end block that is located limiting plate 28 of water tank 27 is connected with filter screen 29, and two handles 30 of the upper end symmetry fixedly connected with of filter screen 29 realize filtering the liquid of washing with the cutting in-process, and then the recycling of the water resource of being convenient for.
The working principle is as follows: firstly, an external power supply of the device is switched on, an object is placed at the upper end of a lower supporting plate 1 through an external control piece control device, an infrared ray light spot is projected on the object by an infrared ray irradiation lamp 26, a cutting position is aligned with two infrared ray light spots, and then the object is aligned, a positioning plate 16 moves downwards, the object is fixed by the positioning plate 16, a cutting machine 24 moves downwards by a second hydraulic cylinder 23, the cutting machine 24 moves downwards, an upper driving motor 22 drives an upper screw rod 20 to rotate, the upper screw rod 20 rotates to move an upper moving block 21, so that the cutting machine 24 moves and cuts the object, a control valve 34 is opened at the same time, a water pump 32 pumps water into an upper water spray nozzle 18, the water spray nozzle 18 sprays dust generated by cutting, the water flows the dust into a water guide bucket 3 through a cutting groove 4 and a through hole 5, and the water is guided into a water tank 27 through the water guide bucket 3, after cutting, the positioning plate 16 and the cutting machine 24 are moved to the original positions by the first hydraulic cylinder 15 and the second hydraulic cylinder 23, when the lower support plate 1 is cleaned, the other control valve 34 is opened, the water pump 32 pumps water into the lower water spray nozzle 13, the water is sprayed on the upper surface of the lower support plate 1 through the lower water spray nozzle 13, the lower driving motor 8 drives the lower screw rod 9 to rotate, the rotating lower screw rod 9 drives the lower moving block 11 to rotate, the lower water spray nozzle 13 moves and washes the lower support plate 1, the flushed water flows into the water guide hopper 3, is guided into the water tank 27 through the water guide hopper 3, and is reused under the action of the water pump 32 after being filtered by the filter screen 29 in the water tank 27.
It should be finally noted that the above only serves to illustrate the technical solution of the present invention, and not to limit the scope of the present invention, and that simple modifications or equivalent replacements performed by those skilled in the art to the technical solution of the present invention do not depart from the spirit and scope of the technical solution of the present invention.

Claims (7)

1. The utility model provides a manhole cement products cutting device, includes lower backup pad (1), its characterized in that: the water guide device is characterized in that a lower support rod (2) is fixedly connected to the side of the lower support plate (1), a water guide bucket (3) is fixedly connected to the lower end of the lower support plate (1), a cutting groove (4) is formed in the lower support plate (1), a through hole (5) is formed in the side, located in the cutting groove (4), of the lower support plate (1), four upper support rods (6) are symmetrically and fixedly connected to the side of the upper end of the lower support plate (1), a water baffle plate (7) is fixedly connected to the upper end of the lower support plate (1) and located between the upper support rods (6), a lower driving motor (8) is fixedly connected to the outer side of the water baffle plate (7) on the front side of the lower support plate (1), a lower lead screw (9) is rotatably connected between the water baffle plates (7) on the front side and the rear side of the lower support plate, the lower end of the lower moving block (11) is fixedly connected with a lower water supply pipe (12), the lower end of the lower water supply pipe (12) is fixedly connected with a lower water spray nozzle (13), the upper end of the upper supporting rod (6) is fixedly connected with an upper supporting plate (14), the lower end surface of the upper supporting plate (14) is fixedly connected with two first hydraulic cylinders (15) symmetrically and fixedly connected with each other, the movable end of each first hydraulic cylinder (15) is fixedly connected with a positioning plate (16), the lateral side of each positioning plate (16) is fixedly connected with an upper water supply pipe (17), the lateral side of each upper water supply pipe (17) is fixedly connected with an upper water spray nozzle (18), the inner part of each upper supporting plate (14) is positioned between the first hydraulic cylinders (15) and is provided with a mounting groove (19), the inner part of each mounting groove (19) is rotatably connected with an upper screw rod (20, the right end of the upper supporting plate (14) is fixedly connected with an upper driving motor (22), one end of the upper screw rod (20) is in transmission connection with the transmission end of the upper driving motor (22), the lower end of the upper moving block (21) is fixedly connected with a second hydraulic cylinder (23), the movable end of the second hydraulic cylinder (23) is fixedly connected with a cutting machine (24), the lateral side of the hood of the cutting machine (24) is fixedly connected with a mounting plate (25), the lower end of the mounting plate (25) is fixedly connected with an infrared irradiation lamp (26), a water tank (27) is arranged below the water guide hopper (3), the right end of the water tank (27) is fixedly connected with a first connecting pipe (31), the right end of the first connecting pipe (31) is fixedly connected with a water pump (32), the right end of the water pump (32) is fixedly connected with a shunt pipe (33), and two control valves (34) are fixedly, the two control valves (34) are communicated with the lower water supply pipe (12) and the upper water supply pipe (17) through second connecting pipes (35).
2. The manhole cement product cutting device according to claim 1, wherein: the through holes (5) are distributed at equal intervals, the through holes (5) are positioned above the water guide bucket (3), and the water guide bucket (3) is positioned right above the water tank (27).
3. The manhole cement product cutting device according to claim 1, wherein: the lower screw rod (9) is in threaded connection with the lower moving block (11), a gap is reserved between the surface of a lower water supply pipe (12) at the lower end of the lower moving block (11) and the upper end face of the lower supporting plate (1), lower water spray nozzles (13) on the side of the lower water supply pipe (12) are distributed at equal intervals, and the lower water spray nozzles (13) are designed to incline towards the upper end face of the lower supporting plate (1).
4. The manhole cement product cutting device according to claim 1, wherein: the length of the positioning plate (16) is smaller than the distance between the two lower screw rods (9), and the lower end face of the positioning plate (16) is fixedly connected with a rubber anti-skid skin.
5. The manhole cement product cutting device according to claim 1, wherein: the upper water nozzles (18) are distributed at equal intervals, and the upper water nozzles (18) are inclined towards the cutting blade on the cutting machine (24).
6. The manhole cement product cutting device according to claim 1, wherein: the vertical center line of the infrared irradiation lamp (26) and the vertical center line of a cutting piece on the cutting machine (24) are located in the same vertical plane, the infrared irradiation lamp (26) and the mounting plate (25) are symmetrically arranged about the vertical center line of the cutting machine (24), and the distance from the infrared irradiation lamp (26) to the second hydraulic cylinder (23) is larger than the width of a hood on the cutting machine (24).
7. The manhole cement product cutting device according to claim 1, wherein: the inside fixedly connected with limiting plate (28) of water tank (27), the inside upper end block that is located limiting plate (28) of water tank (27) is connected with filter screen (29), two handles (30) of the upper end symmetry fixedly connected with of filter screen (29).
CN202021309099.0U 2020-07-07 2020-07-07 Manhole cement product cutting device Expired - Fee Related CN213382316U (en)

Priority Applications (1)

Application Number Priority Date Filing Date Title
CN202021309099.0U CN213382316U (en) 2020-07-07 2020-07-07 Manhole cement product cutting device

Applications Claiming Priority (1)

Application Number Priority Date Filing Date Title
CN202021309099.0U CN213382316U (en) 2020-07-07 2020-07-07 Manhole cement product cutting device

Publications (1)

Publication Number Publication Date
CN213382316U true CN213382316U (en) 2021-06-08

Family

ID=76199674

Family Applications (1)

Application Number Title Priority Date Filing Date
CN202021309099.0U Expired - Fee Related CN213382316U (en) 2020-07-07 2020-07-07 Manhole cement product cutting device

Country Status (1)

Country Link
CN (1) CN213382316U (en)

Cited By (1)

* Cited by examiner, † Cited by third party
Publication number Priority date Publication date Assignee Title
CN114654593A (en) * 2022-04-28 2022-06-24 许昌豫岩石业有限公司 Processing device and processing method for natural stone

Cited By (1)

* Cited by examiner, † Cited by third party
Publication number Priority date Publication date Assignee Title
CN114654593A (en) * 2022-04-28 2022-06-24 许昌豫岩石业有限公司 Processing device and processing method for natural stone

Similar Documents

Publication Publication Date Title
CN213382316U (en) Manhole cement product cutting device
CN116652268B (en) Milling cutter disc assembly capable of recycling cooling liquid
CN219768727U (en) Dustproof type infrared bridge type stone cutting machine
CN211760170U (en) Milling machine convenient to it is clean
CN213888469U (en) Sawdust cleaning device for horizontal band sawing machine
CN214237335U (en) Chip removal cleaning device for numerical control machine tool
CN218696600U (en) Hollow steel cutting and cooling system for drill tool manufacturing
CN221184741U (en) Lathe convenient to clean
CN209793261U (en) Washing unit for machining center convenient to clearance iron fillings
CN220480550U (en) Laser cutting machine body with chip collecting function
CN213591219U (en) Self-cleaning device of laser engraving machine
CN214604825U (en) Novel precise nondestructive cutting machine for optical lenses
CN215547098U (en) Efficient vertical machining center
CN212762619U (en) Ceramic tile edging chamfer apparatus for producing
CN115533684A (en) Automatic machining system for mechanical manufacturing
CN222431187U (en) Stone cutting machine with dust removal structure
CN222243857U (en) A high-rigidity heavy-cutting gantry processing equipment
CN220427725U (en) Engraving device of numerical control machine tool
CN223250004U (en) Saw blade automatic cleaning device for cutting of band sawing machine
CN213053890U (en) Machining cutting device
CN216066606U (en) Horizontal cutting machine for plate processing
CN219564606U (en) Water-cooling engraving machine with circulation cleaning function
CN220516030U (en) Machining cleaning device for numerical control machine tool
CN222945074U (en) A heavy-duty milling machine capable of dissipating heat
CN222221282U (en) A cold-bent steel production equipment for producing special-shaped steel

Legal Events

Date Code Title Description
GR01 Patent grant
GR01 Patent grant
CF01 Termination of patent right due to non-payment of annual fee
CF01 Termination of patent right due to non-payment of annual fee

Granted publication date: 20210608