CN213382268U - Aerated concrete panel slurrying agitating unit - Google Patents
Aerated concrete panel slurrying agitating unit Download PDFInfo
- Publication number
- CN213382268U CN213382268U CN202021767674.1U CN202021767674U CN213382268U CN 213382268 U CN213382268 U CN 213382268U CN 202021767674 U CN202021767674 U CN 202021767674U CN 213382268 U CN213382268 U CN 213382268U
- Authority
- CN
- China
- Prior art keywords
- fixedly connected
- box
- agitating unit
- aerated concrete
- casing
- Prior art date
- Legal status (The legal status is an assumption and is not a legal conclusion. Google has not performed a legal analysis and makes no representation as to the accuracy of the status listed.)
- Expired - Fee Related
Links
- 238000003756 stirring Methods 0.000 claims abstract description 37
- XLYOFNOQVPJJNP-UHFFFAOYSA-N water Substances O XLYOFNOQVPJJNP-UHFFFAOYSA-N 0.000 claims description 33
- 238000007789 sealing Methods 0.000 claims description 3
- 238000009826 distribution Methods 0.000 claims description 2
- 239000002994 raw material Substances 0.000 abstract description 4
- 239000004568 cement Substances 0.000 description 2
- 239000000463 material Substances 0.000 description 2
- 239000002699 waste material Substances 0.000 description 2
- 235000008733 Citrus aurantifolia Nutrition 0.000 description 1
- 235000011941 Tilia x europaea Nutrition 0.000 description 1
- 230000004075 alteration Effects 0.000 description 1
- 230000009286 beneficial effect Effects 0.000 description 1
- 238000010276 construction Methods 0.000 description 1
- 230000007123 defense Effects 0.000 description 1
- 230000000694 effects Effects 0.000 description 1
- 230000003993 interaction Effects 0.000 description 1
- 239000004571 lime Substances 0.000 description 1
- 238000004519 manufacturing process Methods 0.000 description 1
- 238000000034 method Methods 0.000 description 1
- 239000000203 mixture Substances 0.000 description 1
- 238000012986 modification Methods 0.000 description 1
- 230000004048 modification Effects 0.000 description 1
- 238000006467 substitution reaction Methods 0.000 description 1
Images
Landscapes
- Preparation Of Clay, And Manufacture Of Mixtures Containing Clay Or Cement (AREA)
Abstract
The utility model discloses an aerated concrete board slurrying agitating unit, which comprises a box body and a sliding component, wherein an agitating tank is arranged at the inner side of the bottom end of the box body, a connecting block is fixedly connected at the inner side of the top end of the box body, a driving motor is fixedly connected at the inner side of the connecting block, the sliding component comprises a thread groove and a thread, the thread groove is fixedly arranged at the inner side of the connecting block, and an inner rod is fixedly connected at the tail end of a main shaft of the driving motor. More even and labour saving and time saving more to raw materials stirring.
Description
Technical Field
The utility model relates to a agitating unit, in particular to aerated concrete panel slurrying agitating unit belongs to aerated concrete production technical field.
Background
The concrete mixing is an operation method for mixing and uniformly mixing materials such as cement, lime, water and the like, and the concrete mixing is divided into two types: the concrete mixing plant is widely applied to construction projects of industry, agriculture, traffic, national defense, water conservancy, municipal administration and the like in China, and the demand is continuously increased.
Most concrete panel slurrying stirring of current is manual stirring, wastes time and energy, uses mechanical structure to stir simultaneously and also only controls to stir repeatedly, and the effect is not ideal, need add water and make its stirring when stirring cement simultaneously, but it is comparatively troublesome to use the water pipe repeatedly to add water, and to the water yield uncontrollable, it is inconvenient.
SUMMERY OF THE UTILITY MODEL
An object of the utility model is to provide an aerated concrete panel slurrying agitating unit to the inhomogeneous problem of stirring that only left right side stirring leads to that provides among the above-mentioned background art of solution.
In order to achieve the above object, the utility model provides a following technical scheme: the utility model provides an aerated concrete panel slurrying agitating unit, includes box and slip subassembly, the agitator tank has been placed to the bottom inboard of box, the inboard fixedly connected with connecting block in top of box, the inboard fixedly connected with driving motor of connecting block, the slip subassembly includes thread groove and screw thread, the thread groove is fixed to be set up in the inboard of connecting block, driving motor's the terminal fixedly connected with inner pole of main shaft, the outside sliding connection of inner pole has the outer pole, and the transversal regular polygon setting of inner pole, and inner pole and outer pole looks block, the thread fastening sets up in the outside of outer pole, and screw thread and thread groove looks screwed connection, the bottom fixedly connected with fixed block of connecting block, and the inboard of fixed block and the outside sliding connection of outer pole, one side fixedly connected with fixed plate of box, the top fixedly connected with casing of fixed plate, the improved water-saving tank is characterized in that a screw rod is spirally connected to the inner side of the top end of the shell, a rotary disc is fixedly connected to the bottom end of the screw rod, a sealing ring is fixedly arranged on the surface of the rotary disc, one side of the shell is communicated with a water inlet pipe, the other side of the shell is communicated with a water outlet pipe, and two ends of the water outlet pipe are respectively communicated with the shell and the tank body.
As a preferred technical scheme of the utility model, the bottom fixedly connected with puddler of outer pole, four stirring leaves of the outside fixedly connected with of puddler, and four stirring leaves are two bisymmetry distributions in the left and right sides of the vertical central line of connecting block, and four stirring leaves all are the slope setting.
As an optimized technical scheme of the utility model, the front of box articulates through the hinge has the chamber door.
As a preferred technical scheme of the utility model, one side fixedly connected with scale of casing, the cross section of carousel with the cross section of casing all is circular setting.
As a preferred technical scheme of the utility model, the inboard of inlet tube with the inboard of outlet pipe all communicates there is the check valve, two the rivers opposite direction of check valve.
As an optimal technical scheme of the utility model, the fixed flush mounting plate that is equipped with of opposite side of box, flush mounting plate's surface is equipped with the driving motor switch, driving motor passes through driving motor switch and external power supply electric connection.
Compared with the prior art, the beneficial effects of the utility model are that:
1. the utility model relates to an aerated concrete panel slurrying agitating unit, through components such as screw rod, carousel, check valve and scale, the screw rod is rotated to the positive and negative direction and drives the carousel rotation and reciprocate, can come the entering and the outflow of control water through water pressure, simultaneously because the inlet tube is opposite with the check valve rivers flow direction in the outlet pipe, consequently can not influence the flow direction of rivers to also can control the water yield through the scale, accurate water consumption.
2. The utility model relates to an aerated concrete panel slurrying agitating unit, through interior pole, the screw thread, components such as outer pole and stirring leaf, the pole rotates in the positive reverse rotation drive through driving motor, because the cross section of interior pole is regular polygon, and outer pole also block mutually with interior pole slip, and the outside of outer pole is provided with screw thread and screw thread groove and meshes mutually, consequently can drive the stirring leaf and reciprocate and rotate, compare in traditional machinery only about stirring and manual stirring waste time and energy, to raw materials stirring more evenly and labour saving and time saving more.
Drawings
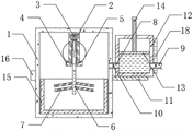
Fig. 1 is a schematic structural view of the present invention;
fig. 2 is a schematic sectional structure of the present invention;
fig. 3 is an enlarged schematic structural view of the sliding assembly of the present invention;
fig. 4 is a schematic cross-sectional structure of the inner rod of the present invention.
In the figure: 1. a box body; 2. connecting blocks; 3. a drive motor; 4. a fixed block; 5. a sliding assembly; 51. a thread groove; 52. an inner rod; 53. an outer rod; 54. a thread; 6. a stirring rod; 7. stirring blades; 8. a water outlet pipe; 9. a water inlet pipe; 10. a one-way valve; 11. a fixing plate; 12. a housing; 13. a turntable; 14. a screw; 15. a stirring box; 16. a switch panel; 17. a box door; 18. a graduated scale.
Detailed Description
The technical solutions in the embodiments of the present invention will be described clearly and completely with reference to the accompanying drawings in the embodiments of the present invention, and it is obvious that the described embodiments are only some embodiments of the present invention, not all embodiments. Based on the embodiments in the present invention, all other embodiments obtained by a person skilled in the art without creative work belong to the protection scope of the present invention.
Referring to fig. 1-4, the utility model provides an aerated concrete panel slurrying agitating unit, including box 1 and sliding assembly 5, agitator tank 15 has been placed to the bottom inboard of box 1, the top inboard of box 1 is fixedly connected with connecting block 2, the inboard fixedly connected with driving motor 3 of connecting block 2, sliding assembly 5 includes thread groove 51 and screw thread 54, thread groove 51 is fixed to be set up in the inboard of connecting block 2, the terminal fixedly connected with interior pole 52 of main shaft of driving motor 3, the outside sliding connection of interior pole 52 has outer pole 53, and the cross-section of interior pole 52 is the regular polygon setting, and interior pole 52 and outer pole 53 looks block, screw thread 54 is fixed to be set up in the outside of outer pole 53, and screw thread 54 and thread groove 51 looks screwed connection, the bottom fixedly connected with fixed block 4 of connecting block 2, and the inboard sliding connection of fixed block 4 and the outside of outer pole 53, one side fixedly connected with fixed plate 11 of box 1, the top fixedly connected with casing 12 of fixed plate 11, the inboard threaded connection in top of casing 12 has screw rod 14, the bottom fixedly connected with carousel 13 of screw rod 14, the fixed surface of carousel 13 is equipped with the sealing washer, one side intercommunication of casing 12 has inlet tube 9, the opposite side intercommunication of casing 12 has outlet pipe 8, and the both ends of outlet pipe 8 are linked together with casing 12 and box 1 respectively.
Preferably, the bottom end of the outer rod 53 is fixedly connected with a stirring rod 6, the outer side of the stirring rod 6 is fixedly connected with four stirring blades 7, the four stirring blades 7 are symmetrically distributed on the left side and the right side of the vertical central line of the connecting block 2 in pairs, and the four stirring blades 7 are all obliquely arranged, so that stirring is more uniform; the front surface of the box body 1 is hinged with a box door 17 through a hinge, so that the stirring box 15 is convenient to take and place; a graduated scale 18 is fixedly connected to one side of the shell 12, and the cross section of the rotary table 13 and the cross section of the shell 12 are both arranged in a circular shape, so that the rotary table is convenient to rotate; the inner sides of the water inlet pipe 9 and the water outlet pipe 8 are both communicated with one-way valves 10, and the water flow directions of the two one-way valves 10 are opposite, so that the water flow direction is convenient to control; the fixed flush mounting plate of switch 16 that is equipped with of opposite side of box 1, the surface of flush mounting plate of switch 16 is equipped with the driving motor switch, and driving motor 3 passes through the driving motor switch and external power source electric connection, is convenient for control driving motor 3.
When in use, the utility model relates to an aerated concrete board slurrying agitating unit, firstly, the required mixed and stirred concrete material is put into the agitating tank 15, then the agitating tank 15 is put into the box body 1, wherein, because the screw 14 is spirally connected with the top end of the shell 12, and the rotary disc 13 is circularly arranged, then the rotary disc 13 fixedly connected with the screw 14 can be driven to rotate and move up and down by rotating the screw 14, because the inner sides of the water inlet pipe 9 and the water outlet pipe 8 are both communicated with the one-way valve 10, and the water flow direction of the one-way valve 10 is opposite, when the screw 14 is rotated in the forward direction, the rotary disc 13 can be driven to move up, the water inlet pipe 9 is led to enter from the external water pipe by the water pressure, at the moment, the water outlet pipe 8 can not drain water into the box body 1, then the screw 14 is rotated in the reverse direction, the rotary disc 13 can be driven to move down, simultaneously can accurate water consumption through scale 18, later the driving motor switch on the flush mounting plate of switch 16 starts driving motor 3 and just reverses, make driving motor 3 drive interior pole 52 and just reverse rotation, because the transversal regular polygon setting of personally submitting of interior pole 52, and interior pole 52 and outer pole 53 sliding connection and block mutually, consequently can drive outer pole 53 and reciprocate under the condition that screw thread 54 and thread groove 51 were meshed mutually, can drive puddler 6 and stirring leaf 7 and reciprocate and rotate about and stir the concrete raw materials, compare in traditional stirring about, the stirring makes raw materials and water mix stirring more even about from top to bottom, need not workman manual stirring, time saving and labor saving, after the even stirring is accomplished, can take out agitator tank 15 through opening chamber door 17.
In the description of the present invention, it should be understood that the indicated orientation or positional relationship is based on the orientation or positional relationship shown in the drawings, and is only for convenience of description and simplification of description, and does not indicate or imply that the indicated device or element must have a particular orientation, be constructed and operated in a particular orientation, and thus should not be construed as limiting the present invention.
In the present invention, unless otherwise explicitly specified or limited, for example, it may be fixedly connected, detachably connected, or integrated; can be mechanically or electrically connected; they may be directly connected or indirectly connected through an intermediate medium, and may be connected through the inside of two elements or in an interaction relationship between two elements, unless otherwise specifically defined, and the specific meaning of the above terms in the present invention will be understood by those skilled in the art according to specific situations.
Although embodiments of the present invention have been shown and described, it will be appreciated by those skilled in the art that changes, modifications, substitutions and alterations can be made in these embodiments without departing from the principles and spirit of the invention, the scope of which is defined in the appended claims and their equivalents.
Claims (6)
1. The utility model provides an aerated concrete panel slurrying agitating unit, includes box (1) and sliding assembly (5), its characterized in that: agitator tank (15) have been placed to the bottom inboard of box (1), the inboard fixedly connected with connecting block (2) in top of box (1), the inboard fixedly connected with driving motor (3) of connecting block (2), sliding assembly (5) include thread groove (51) and screw thread (54), thread groove (51) are fixed to be set up in the inboard of connecting block (2), the terminal fixedly connected with interior pole (52) of main shaft of driving motor (3), the outside sliding connection of interior pole (52) has outer pole (53), and the transversal regular polygon setting of personally submitting of interior pole (52), and interior pole (52) and outer pole (53) looks block, screw thread (54) are fixed to be set up in the outside of outer pole (53), and screw thread (54) and thread groove (51) looks spiral connection, the bottom fixedly connected with fixed block (4) of connecting block (2), and the inboard outside sliding connection with outer pole (53) of fixed block (4), one side fixedly connected with fixed plate (11) of box (1), the top fixedly connected with casing (12) of fixed plate (11), the inboard spiral connection in top of casing (12) has screw rod (14), the bottom fixedly connected with carousel (13) of screw rod (14), the fixed surface of carousel (13) is equipped with the sealing washer, one side intercommunication of casing (12) has inlet tube (9), the opposite side intercommunication of casing (12) has outlet pipe (8), and the both ends of outlet pipe (8) are linked together with casing (12) and box (1) respectively.
2. The aerated concrete panel slurrying agitating unit of claim 1, characterized in that: the bottom fixedly connected with puddler (6) of outer pole (53), four stirring leaves (7) of the outside fixedly connected with of puddler (6), and four stirring leaves (7) are two bisymmetry distributions in the left and right sides of the vertical central line of connecting block (2), and four stirring leaves (7) all are the slope setting.
3. The aerated concrete panel slurrying agitating unit of claim 1, characterized in that: the front surface of the box body (1) is hinged with a box door (17) through a hinge.
4. The aerated concrete panel slurrying agitating unit of claim 1, characterized in that: one side fixedly connected with scale (18) of casing (12), the cross section of carousel (13) with the cross section of casing (12) all is circular setting.
5. The aerated concrete panel slurrying agitating unit of claim 1, characterized in that: the water inlet pipe is characterized in that the inner side of the water inlet pipe (9) and the inner side of the water outlet pipe (8) are communicated with one-way valves (10), and the water flow directions of the two one-way valves (10) are opposite.
6. The aerated concrete panel slurrying agitating unit of claim 1, characterized in that: the other side of box (1) is fixed and is equipped with flush mounting plate of switch (16), the surface of flush mounting plate of switch (16) is equipped with the driving motor switch, driving motor (3) are through driving motor switch and external power supply electric connection.
Priority Applications (1)
| Application Number | Priority Date | Filing Date | Title |
|---|---|---|---|
| CN202021767674.1U CN213382268U (en) | 2020-08-22 | 2020-08-22 | Aerated concrete panel slurrying agitating unit |
Applications Claiming Priority (1)
| Application Number | Priority Date | Filing Date | Title |
|---|---|---|---|
| CN202021767674.1U CN213382268U (en) | 2020-08-22 | 2020-08-22 | Aerated concrete panel slurrying agitating unit |
Publications (1)
| Publication Number | Publication Date |
|---|---|
| CN213382268U true CN213382268U (en) | 2021-06-08 |
Family
ID=76208830
Family Applications (1)
| Application Number | Title | Priority Date | Filing Date |
|---|---|---|---|
| CN202021767674.1U Expired - Fee Related CN213382268U (en) | 2020-08-22 | 2020-08-22 | Aerated concrete panel slurrying agitating unit |
Country Status (1)
| Country | Link |
|---|---|
| CN (1) | CN213382268U (en) |
Cited By (2)
| Publication number | Priority date | Publication date | Assignee | Title |
|---|---|---|---|---|
| CN114480120A (en) * | 2022-01-13 | 2022-05-13 | 山东水发生命科学研究有限公司 | Biological cell reaction kettle |
| CN114633375A (en) * | 2022-05-19 | 2022-06-17 | 徐州立方机电设备制造有限公司 | A concrete foaming machine for engineering construction |
-
2020
- 2020-08-22 CN CN202021767674.1U patent/CN213382268U/en not_active Expired - Fee Related
Cited By (2)
| Publication number | Priority date | Publication date | Assignee | Title |
|---|---|---|---|---|
| CN114480120A (en) * | 2022-01-13 | 2022-05-13 | 山东水发生命科学研究有限公司 | Biological cell reaction kettle |
| CN114633375A (en) * | 2022-05-19 | 2022-06-17 | 徐州立方机电设备制造有限公司 | A concrete foaming machine for engineering construction |
Similar Documents
| Publication | Publication Date | Title |
|---|---|---|
| CN213382268U (en) | Aerated concrete panel slurrying agitating unit | |
| CN215511665U (en) | High-efficient agitating unit is used in concrete production and processing | |
| CN211541798U (en) | Automatic concrete production device | |
| CN221772056U (en) | Wastewater treatment device with stirring structure | |
| CN211411775U (en) | A medicament mixing stirring device for sewage treatment | |
| CN210595547U (en) | Iminodiacetic acid waste water processing apparatus | |
| CN116394401A (en) | High-efficient agitating unit is used to concrete | |
| CN214270447U (en) | A treatment facility for concrete waste water | |
| CN212854764U (en) | Secondary sedimentation tank for sewage treatment | |
| CN212914691U (en) | Energy-efficient environment-friendly sewage treatment plant | |
| CN217862071U (en) | Highway engineering is with corrosion-resistant concrete processing equipment that permeates water | |
| CN217498927U (en) | Environmental engineering sewage treatment sedimentation tank | |
| CN216260287U (en) | Mixed soaking mechanism of reaction kettle | |
| CN210473749U (en) | Colorful ferment granule mixing arrangement | |
| CN211993568U (en) | Agitating unit for concrete | |
| CN218339808U (en) | Acrylic resin preparation reation kettle | |
| CN222758035U (en) | Waste heat power generation wastewater pretreatment device | |
| CN222060754U (en) | Stirring device for concrete production | |
| CN221386033U (en) | Water-reducing agent premixing device | |
| CN222266829U (en) | Mixing stirring device for production of acrylate grouting material | |
| CN217746733U (en) | Constant temperature equipment is used in water-reducing agent research and development | |
| CN219376817U (en) | Novel water-reducing agent processing stirred tank | |
| CN219580412U (en) | Vertical mixer is used in processing of waterborne paint powder | |
| CN219855252U (en) | Premixed mortar production equipment | |
| CN222034310U (en) | Efficient dissolving equipment suitable for flocculant preparation |
Legal Events
| Date | Code | Title | Description |
|---|---|---|---|
| GR01 | Patent grant | ||
| GR01 | Patent grant | ||
| CF01 | Termination of patent right due to non-payment of annual fee |
Granted publication date: 20210608 |
|
| CF01 | Termination of patent right due to non-payment of annual fee |