CN213379502U - 一种方便更换刀具的hsk刀柄 - Google Patents

一种方便更换刀具的hsk刀柄 Download PDF

Info

Publication number
CN213379502U
CN213379502U CN202021533391.0U CN202021533391U CN213379502U CN 213379502 U CN213379502 U CN 213379502U CN 202021533391 U CN202021533391 U CN 202021533391U CN 213379502 U CN213379502 U CN 213379502U
Authority
CN
China
Prior art keywords
hole
knife
hsk
section
handle
Prior art date
Legal status (The legal status is an assumption and is not a legal conclusion. Google has not performed a legal analysis and makes no representation as to the accuracy of the status listed.)
Active
Application number
CN202021533391.0U
Other languages
English (en)
Inventor
李志尧
周理根
王伟
张榅桲
张海斌
Current Assignee (The listed assignees may be inaccurate. Google has not performed a legal analysis and makes no representation or warranty as to the accuracy of the list.)
Zhengzhou Diamond Precision Manufacturing Co Ltd
Original Assignee
Zhengzhou Diamond Precision Manufacturing Co Ltd
Priority date (The priority date is an assumption and is not a legal conclusion. Google has not performed a legal analysis and makes no representation as to the accuracy of the date listed.)
Filing date
Publication date
Application filed by Zhengzhou Diamond Precision Manufacturing Co Ltd filed Critical Zhengzhou Diamond Precision Manufacturing Co Ltd
Priority to CN202021533391.0U priority Critical patent/CN213379502U/zh
Application granted granted Critical
Publication of CN213379502U publication Critical patent/CN213379502U/zh
Active legal-status Critical Current
Anticipated expiration legal-status Critical

Links

Images

Landscapes

  • Milling Processes (AREA)

Abstract

本实用新型涉及机械加工制造技术领域,具体涉及一种方便更换刀具的HSK刀柄。该HSK刀柄包括刀柄本体,与所述刀柄本体的一端连接的刀杆本体,所述刀杆本体上同轴设有一通孔,所述通孔包括螺纹段,所述螺纹段所对应的刀杆本体上设有螺纹;所述通孔靠近所述刀柄本体的一端设有容纳腔;该HSK刀柄还包括穿过所述通孔且与所述螺纹配合的拉紧螺栓,所述拉紧螺栓的螺帽与所述容纳腔顶压配合;所述通孔远离所述刀柄本体的一端设有一柱形凹槽,所述柱形凹槽用于定位安装铣刀头。本实用新型所提供的HSK刀柄中的拉紧螺栓与铣刀头之间为可拆卸连接,能够方便的拆卸铣刀头。

Description

一种方便更换刀具的HSK刀柄
技术领域
本实用新型涉及机械加工制造技术领域,具体涉及一种方便更换刀具的HSK刀柄。
背景技术
对于φ25直径及其以下的可更换的铣削刀具,常见的连接结构有直柄和锥柄两种,按照是否需要拆下刀柄或刀杆进行更换又分为两类:需要拆下刀柄或刀杆更换的和直接进行更换的。需要拆下刀柄或刀杆更换的这种,拉紧是用螺钉从刀柄或刀杆底部装入,将铣刀头进行拉紧的。直接进行更换这种的结构是定位部分和拉紧部分是一体的,可直接装入刀柄或刀杆。
发明人在实践中,发现上述现有技术存在以下缺陷:
由于定位结构和拉紧部分是一体的,因此无法直接拆卸刀头,需要将刀柄拆除后进行更换,更换效率低。
实用新型内容
为了解决上述技术问题,本实用新型的目的在于提供一种方便更换刀具的HSK刀柄,所采用的技术方案具体如下:
本实用新型提供了一种方便更换刀具的HSK刀柄,该HSK刀柄包括刀柄本体,与所述刀柄本体的一端连接的刀杆本体,所述刀杆本体上同轴设有一通孔,所述通孔包括螺纹段,所述螺纹段所对应的刀杆本体上设有螺纹;所述通孔靠近所述刀柄本体的一端设有容纳腔;该HSK刀柄还包括穿过所述通孔且与所述螺纹配合的拉紧螺栓,所述拉紧螺栓的螺帽与所述容纳腔顶压配合;所述通孔远离所述刀柄本体的一端设有一柱形凹槽,所述柱形凹槽用于定位安装铣刀头。
进一步,所述通孔还包括第一孔段和第二孔段,按照从靠近所述刀柄本体的一端向所述刀杆本体的一端延伸的方向,所述第一孔段、所述螺纹段和所述第二孔段依次连通。
进一步,所述第一孔段和第二孔段的孔径大于所述螺纹段的孔径。
进一步,所述柱形凹槽与所述铣刀头间隙配合。
进一步,所述刀柄本体远离所述刀杆本体的一端设有粗孔,所述粗孔与所述容纳腔连通。
进一步,所述容纳腔的孔径大于所述通孔的孔径。
进一步,所述柱形凹槽的孔径大于所述通孔的孔径。
本申请实施例中提供的一个或多个技术方案,至少具有如下技术效果或优点:
本实用新型所提供的HSK刀柄,在刀杆本体的通孔中设置螺纹段,在螺纹段所对应的刀杆本体上设有螺纹,拉紧螺栓螺纹连接于该通孔中,且在端部设置有直柄式凹槽,铣刀头与拉紧螺栓之间为可拆卸连接,因此能够方便的拆卸铣刀头。
附图说明
为了更清楚地说明本实用新型实施例或现有技术中的技术方案和优点,下面将对实施例或现有技术描述中所需要使用的附图作简单的介绍,显而易见地,下面描述中的附图仅仅是本实用新型的一些实施例,对于本领域普通技术人员来讲,在不付出创造性劳动的前提下,还可以根据这些附图获得其它附图。
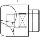
图1为本实用新型一个实施例所提供的一种方便更换刀具的HSK刀柄的安装结构示意图;
图2为本实用新型一个实施例所提供的一种方便更换刀具的HSK刀柄的结构示意图;
图3为铣刀头的结构示意图。
图中:1、刀柄本体,2、刀杆本体,3、通孔,31、第一孔段,32、螺纹段,33、第二孔段,4、容纳腔,5、柱形凹槽,6、拉紧螺栓,61、螺帽,7、粗孔,8、铣刀头。
具体实施方式
为了更进一步阐述本实用新型为达成预定实用新型目的所采取的技术手段及功效,以下结合附图及较佳实施例,对依据本实用新型提出的一种方便更换刀具的HSK刀柄,其具体实施方式、结构、特征及其功效,详细说明如下。在下述说明中,不同的“一个实施例”或“另一个实施例”指的不一定是同一实施例。此外,一或多个实施例中的特定特征、结构、或特点可由任何合适形式组合。
需要说明的是,当元件被称为“设置”或者“连接”另一个元件,它可以直接在另一个元件上或者也可以存在居中的元件。
除非另有定义,本文所使用的所有的技术和科学术语与属于本实用新型的技术领域的技术人员通常理解的含义相同。本文中在本实用新型的说明书中所使用的属于只是为了描述具体的实施例的目的,不是旨在于限制本实用新型。本文所使用的术语“和/或”包括一个或多个相关的所列项目的任意的和所有的组合。
下面结合附图具体的说明本实用新型所提供的一种方便更换刀具的HSK刀柄的具体方案。
请参阅图1~2,为了解决由于定位结构和拉紧部分是一体的,无法直接拆卸刀头导致的更换效率低的技术问题,本实用新型提供了一种方便更换刀具的HSK刀柄,该HSK刀柄包括刀柄本体1和刀杆本体2。
具体的,刀杆本体2固定于刀柄本体1的一端。刀杆本体2中贯穿一通孔3,该通孔3与刀杆本体2同轴设置。该通孔3,按照从靠近刀柄本体1的一端向刀杆本体2的一端延伸的方向,依次包括连通的第一孔段31、螺纹段32和第二孔段33。在该通孔3靠近刀柄本体1的一端设有一容纳腔4,远离刀柄本体1的一端设有一柱形凹槽5。
其中,容纳腔4的孔径大于通孔3的孔径,具体的,容纳腔4的孔径大于第一孔段31的孔径。第一孔段31和第二孔段33的孔径大于螺纹段32的孔径。柱形凹槽5的孔径大于通孔3的孔径,具体的,柱形凹槽5的孔径大于第二孔段33的孔径。在第一孔段31和第二孔段33上不设置螺纹。
在使用时,拉紧螺栓6的一端穿过该通孔3,也即依次穿过容纳腔4、第一孔段31、螺纹段32、第二孔段33和柱形凹槽5。拉紧螺栓6的螺帽61与所述容纳腔4配合,在外力的作用下与所述容纳腔4顶压配合。螺纹段32上设有螺纹,该螺纹与拉紧螺栓6配合以实现螺纹连接。拉紧螺栓6的端部伸入柱形凹槽5中,该柱形凹槽5为直柄式凹槽。由于通孔3的螺纹段32上设有螺纹,拉紧螺栓6螺纹连接于该通孔3中,且在端部设置有直柄式凹槽,铣刀头8与拉紧螺栓6之间为可拆卸连接,因此能够方便的拆卸铣刀头8。该结构刀柄的设计不仅能够达到同样的重复定位的精度,并且能够达到快速更换的效果。
需要说明的是,在本实施例以及说明书附图中螺纹段为连续的一段螺纹段,在其他实施例中,螺纹段可以是由多个不连续的几段组成,螺纹段与孔段交替设置。
优选的,柱形凹槽5与铣刀头8间隙配合,用于定位铣刀头8的位置。
优选的,在刀柄本体1远离刀杆本体2的一端设有粗孔7,该粗孔7与容纳腔4连通,方便安装拉紧螺栓6。
最后应说明的是:以上实施例仅用以说明本实用新型的技术方案,而非对其限制;尽管参照前述实施例对本实用新型进行了详细的说明,本领域的普通技术人员应当理解:其依然可以对前述各实施例所记载的技术方案进行修改,或者对其中部分技术特征进行等同替换;而这些修改或者替换,并不使相应技术方案的本质脱离本实用新型各实施例技术方案的精神和范围。

Claims (7)

1.一种方便更换刀具的HSK刀柄,该HSK刀柄包括刀柄本体,与所述刀柄本体的一端连接的刀杆本体,其特征在于,所述刀杆本体上同轴设有一通孔,所述通孔包括螺纹段,所述螺纹段所对应的刀杆本体上设有螺纹;所述通孔靠近所述刀柄本体的一端设有容纳腔;该HSK刀柄还包括穿过所述通孔且与所述螺纹配合的拉紧螺栓,所述拉紧螺栓的螺帽与所述容纳腔顶压配合;所述通孔远离所述刀柄本体的一端设有一柱形凹槽,所述柱形凹槽用于定位安装铣刀头。
2.根据权利要求1所述的一种方便更换刀具的HSK刀柄,其特征在于,所述通孔还包括第一孔段和第二孔段,按照从靠近所述刀柄本体的一端向所述刀杆本体的一端延伸的方向,所述第一孔段、所述螺纹段和所述第二孔段依次连通。
3.根据权利要求2所述的一种方便更换刀具的HSK刀柄,其特征在于,所述第一孔段和第二孔段的孔径大于所述螺纹段的孔径。
4.根据权利要求1或者2所述的一种方便更换刀具的HSK刀柄,其特征在于,所述柱形凹槽与所述铣刀头间隙配合。
5.根据权利要求4所述的一种方便更换刀具的HSK刀柄,其特征在于,所述刀柄本体远离所述刀杆本体的一端设有粗孔,所述粗孔与所述容纳腔连通。
6.根据权利要求1所述的一种方便更换刀具的HSK刀柄,其特征在于,所述容纳腔的孔径大于所述通孔的孔径。
7.根据权利要求1所述的一种方便更换刀具的HSK刀柄,其特征在于,所述柱形凹槽的孔径大于所述通孔的孔径。
CN202021533391.0U 2020-07-29 2020-07-29 一种方便更换刀具的hsk刀柄 Active CN213379502U (zh)

Priority Applications (1)

Application Number Priority Date Filing Date Title
CN202021533391.0U CN213379502U (zh) 2020-07-29 2020-07-29 一种方便更换刀具的hsk刀柄

Applications Claiming Priority (1)

Application Number Priority Date Filing Date Title
CN202021533391.0U CN213379502U (zh) 2020-07-29 2020-07-29 一种方便更换刀具的hsk刀柄

Publications (1)

Publication Number Publication Date
CN213379502U true CN213379502U (zh) 2021-06-08

Family

ID=76202763

Family Applications (1)

Application Number Title Priority Date Filing Date
CN202021533391.0U Active CN213379502U (zh) 2020-07-29 2020-07-29 一种方便更换刀具的hsk刀柄

Country Status (1)

Country Link
CN (1) CN213379502U (zh)

Cited By (1)

* Cited by examiner, † Cited by third party
Publication number Priority date Publication date Assignee Title
WO2023231230A1 (zh) * 2022-06-01 2023-12-07 北京沃尔德金刚石工具股份有限公司 一种高定位精度的快换型刀柄结构

Cited By (1)

* Cited by examiner, † Cited by third party
Publication number Priority date Publication date Assignee Title
WO2023231230A1 (zh) * 2022-06-01 2023-12-07 北京沃尔德金刚石工具股份有限公司 一种高定位精度的快换型刀柄结构

Similar Documents

Publication Publication Date Title
CN203124762U (zh) 四凸台定位刀
CN213379502U (zh) 一种方便更换刀具的hsk刀柄
CN114083027A (zh) 一种高强度组合式钻头结构
CN210587225U (zh) 一种分体式刀柄
CN210080750U (zh) 数控车床刀杆结构
CN207358191U (zh) 一种新型精密型钢管内壁镗孔头
CN219026201U (zh) 一种便于拆卸更换的螺纹铣刀
CN218396085U (zh) 一种高精度工业钻头结构
CN221337585U (zh) 简便式快换结构
CN211915552U (zh) 一种新型的镗铣床用镗孔装置
CN212704574U (zh) 一种内冷硬质合金阶梯钻
CN211028274U (zh) 一种铣刀的固定装置
CN217749493U (zh) 一种装有机夹刀片的长悬深套料加工刀具
CN216882062U (zh) 铰孔辅助工具
CN214161431U (zh) 一种车削加工用刀具固定器
CN109226858B (zh) 一种铣削机床及其铣削刀柄
CN208408569U (zh) 一种偏心式微调镗刀结构
CN213317747U (zh) 一种深孔内加工刀具
CN220547685U (zh) 一种数控机床铣刀筒夹
CN218611836U (zh) 一种模块式套料枪钻
CN214920572U (zh) 一种车刀
CN218903751U (zh) 一种铣削t型铣刀
CN220050290U (zh) 汽车加工用可更换多功能铰刀
CN219683981U (zh) 侧固式镗刀刀柄
CN116021049B (zh) 一种可双向驱动夹紧的切槽刀具

Legal Events

Date Code Title Description
GR01 Patent grant
GR01 Patent grant
CP02 Change in the address of a patent holder
CP02 Change in the address of a patent holder

Address after: No. 198, 7th Street, economic and Technological Development Zone, Zhengzhou, Henan 450006

Patentee after: ZHENGZHOU DIAMOND PRECISION MANUFACTURING Co.,Ltd.

Address before: No.198, 7th Street, economic and Technological Development Zone, Guancheng Hui District, Zhengzhou City, Henan Province, 450006

Patentee before: ZHENGZHOU DIAMOND PRECISION MANUFACTURING Co.,Ltd.