CN213332090U - Bearing bush vibration isolation device - Google Patents

Bearing bush vibration isolation device Download PDF

Info

Publication number
CN213332090U
CN213332090U CN202021846691.4U CN202021846691U CN213332090U CN 213332090 U CN213332090 U CN 213332090U CN 202021846691 U CN202021846691 U CN 202021846691U CN 213332090 U CN213332090 U CN 213332090U
Authority
CN
China
Prior art keywords
groove
vibration isolation
base
bearing
bearing bush
Prior art date
Legal status (The legal status is an assumption and is not a legal conclusion. Google has not performed a legal analysis and makes no representation as to the accuracy of the status listed.)
Active
Application number
CN202021846691.4U
Other languages
Chinese (zh)
Inventor
曹洪娜
程兆刚
韩保红
张淑琴
王凌英
赫万恒
张翼飞
赵冉
孙立明
Current Assignee (The listed assignees may be inaccurate. Google has not performed a legal analysis and makes no representation or warranty as to the accuracy of the list.)
PLA University of Science and Technology
Original Assignee
PLA University of Science and Technology
Priority date (The priority date is an assumption and is not a legal conclusion. Google has not performed a legal analysis and makes no representation as to the accuracy of the date listed.)
Filing date
Publication date
Application filed by PLA University of Science and Technology filed Critical PLA University of Science and Technology
Priority to CN202021846691.4U priority Critical patent/CN213332090U/en
Application granted granted Critical
Publication of CN213332090U publication Critical patent/CN213332090U/en
Active legal-status Critical Current
Anticipated expiration legal-status Critical

Links

Images

Landscapes

  • Vibration Prevention Devices (AREA)

Abstract

本实用新型提供了一种轴瓦隔振装置,属于轴瓦技术领域,包括基座、滑块、弹簧和橡胶隔振垫;基座两侧设有第一凹槽且底部设有第二凹槽,基座还设有用于放置轴瓦的通孔;滑块为两个且一对一滑动设于第一凹槽内;弹簧为四个且均匀分布在两个第一凹槽内,四个弹簧均为一端连接第一凹槽的内壁,另一端连接滑块,弹簧用于阻尼滑块的滑动;橡胶隔振垫设于第二凹槽内,橡胶隔振垫置于基座和外物之间,用于吸收外物传递给基座的振动。本实用新型提供的一种轴瓦隔振装置,结构简单,易于制造,能代替轴承座,对轴瓦和转轴起到支撑作用的同时还能降低轴瓦受到的来自外物的振动。

Figure 202021846691

The utility model provides a bearing pad vibration isolation device, belonging to the technical field of bearing pads, comprising a base, a sliding block, a spring and a rubber vibration isolation pad; the base is provided with first grooves on both sides and the bottom is provided with a second groove, The base is also provided with a through hole for placing the bearing bush; there are two sliders and one-to-one sliding is arranged in the first groove; four springs are evenly distributed in the two first grooves, and the four springs are all arranged in the first groove. One end is connected to the inner wall of the first groove, the other end is connected to the slider, the spring is used to damp the sliding of the slider; the rubber vibration isolation pad is arranged in the second groove, and the rubber vibration isolation pad is placed between the base and the external object , used to absorb vibrations transmitted to the base by foreign objects. The bearing bush vibration isolation device provided by the utility model has the advantages of simple structure and easy manufacture, can replace the bearing seat, and can support the bearing bush and the rotating shaft, and can reduce the vibration of the bearing bush from foreign objects.

Figure 202021846691

Description

Bearing bush vibration isolation device
Technical Field
The utility model belongs to the technical field of the axle bush, more specifically say, relate to an axle bush vibration isolation mounting.
Background
The bearing is a part for fixing and reducing the load friction coefficient in the mechanical transmission process, when other parts generate relative motion on the shaft, the bearing can support the mechanical rotating body, can reduce the friction coefficient in the power transmission process and keep the center position of the shaft fixed, the mechanical rotating body and the bearing are easy to damage due to the fact that vibration is often generated between the mechanical rotating body and the bearing, the service life is short, and the elastic element is often placed underground the bearing seat to reduce the vibration in the prior art, so that the vibration isolation effect is achieved. However, most of the bearings in the prior art adopt the flexible cushions to perform vibration isolation, the flexible cushions have poor vibration isolation effect and low bearing capacity, aging phenomenon easily occurs, and the service life is short, so that a device is needed to provide vibration isolation for the bearing seats not only through the flexible cushions, but also an additional structure is needed to provide another vibration isolation form for the bearing seats.
SUMMERY OF THE UTILITY MODEL
An object of the utility model is to provide a bearing bush vibration isolation device aims at providing the effect that another kind of vibration isolation form and flexbile cushion played the vibration isolation jointly to the bearing frame.
In order to achieve the above object, the utility model adopts the following technical scheme: provided is a bearing bush vibration isolation device comprising:
the bearing bush support comprises a base, wherein first grooves are formed in two sides of the base, a second groove is formed in the bottom of the base, and a through hole for placing a bearing bush is formed in the base;
the two sliding blocks are arranged in the first groove in a one-to-one sliding mode;
the four springs are uniformly distributed in the two first grooves, one end of each of the four springs is connected with the inner wall of the corresponding first groove, the other end of each of the four springs is connected with the corresponding sliding block, and the springs are used for damping the sliding of the sliding blocks; and
and the rubber vibration isolator is arranged in the second groove, is arranged between the base and a foreign object and is used for absorbing the vibration transmitted to the base by the foreign object.
As another embodiment of this application, still include the guide post, the guide post is four, per two the guide post sets firmly in one in the first recess, the spring all overlaps and locates on the guide post.
As another embodiment of the present application, the guide post is retractable.
As another embodiment of this application, the guide post divide into a screw thread post and a screw thread section of thick bamboo, the screw thread post set firmly in on the first recess, the screw thread section of thick bamboo cover is established the outside of screw thread post, the spring housing is established the outside of a screw thread section of thick bamboo, the screw thread post with a screw thread section of thick bamboo passes through threaded connection and realizes the flexible of guide post.
As another embodiment of the application, the first groove is vertically arranged, and the sliding block is vertically arranged in the first groove in a sliding manner.
As another embodiment of the present application, the slider is in three-sided contact with the first groove.
As another embodiment of the present application, the base includes:
the second groove is formed in the bottom of the bearing body, the through hole is formed in the bearing body, and the first grooves are formed in two sides of the bearing body;
the two fixing blocks are fixedly arranged on two sides of the bearing body respectively, and the first groove extends to the surfaces of the fixing blocks.
As another embodiment of the present application, bottom surfaces of the two fixing blocks are flush with a bottom surface of the carrier.
As another embodiment of the application, the fixing block is provided with a mounting hole.
As another embodiment of the present application, the rubber vibration isolator is bonded in the second groove.
The utility model provides a pair of bearing bush vibration isolation mounting's beneficial effect lies in: compared with the prior art, the bottom of the base is provided with a second groove, and the rubber vibration isolator is placed in the second groove and can absorb the vibration transmitted between the bottom of the base and a foreign object; the base is provided with a through hole, and a bearing bush can be placed on the through hole to play a role of a bearing seat; first recess is seted up to the both sides of base, and the slider can slide in first recess to place the spring between the lateral wall of slider and first recess, make the slider can arouse the deformation of spring when sliding, and then reduced the vibration of base self, played the effect of vibration isolation to the bearing. The utility model provides a pair of bearing bush vibration isolation mounting, simple structure easily makes, can replace the bearing frame, can also reduce the vibration that comes from the foreign object that the bearing bush received when playing supporting role to bearing bush and pivot.
Drawings
In order to more clearly illustrate the technical solutions of the embodiments of the present invention, the drawings required for the embodiments or the prior art descriptions will be briefly described below, and it is obvious that the drawings in the following description are only some embodiments of the present invention, and it is obvious for those skilled in the art to obtain other drawings without creative efforts.
Fig. 1 is a schematic structural view of an isometric view of a bearing bush vibration isolating device according to an embodiment of the present invention;
FIG. 2 is an enlarged partial view of I in FIG. 1;
FIG. 3 is a left side view of FIG. 1;
FIG. 4 is a partially enlarged view of II in FIG. 3;
FIG. 5 is a view A-A of FIG. 3;
FIG. 6 is a schematic structural view of the base of FIG. 1;
FIG. 7 is a cross-sectional view of the base of FIG. 1;
fig. 8 is a schematic structural view of the structure in fig. 1, which is matched with a bearing bush and a rotating shaft.
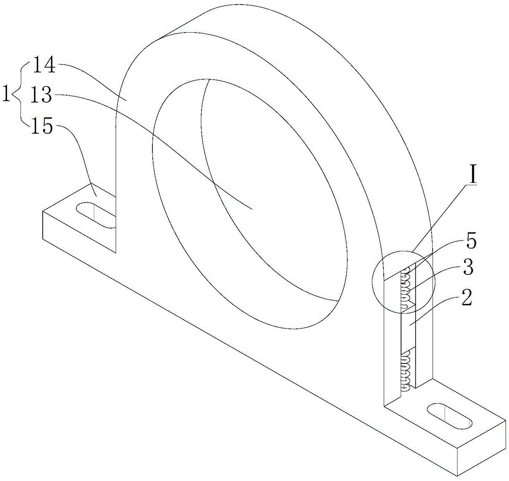
In the figure: 1. a base; 11. a first groove; 12. a second groove; 13. a through hole; 14. a carrier; 15. a fixed block; 2. a slider; 3. a spring; 4. a rubber vibration isolator; 5. a guide post; 51. a threaded post; 52. a threaded barrel.
Detailed Description
In order to make the technical problem, technical solution and advantageous effects to be solved by the present invention more clearly understood, the following description is given in conjunction with the accompanying drawings and embodiments to illustrate the present invention in further detail. It should be understood that the specific embodiments described herein are merely illustrative of the invention and are not intended to limit the invention.
Referring to fig. 1 to 5, a bearing bush vibration isolating device according to the present invention will now be described. The bearing bush vibration isolation device comprises a base 1, a sliding block 2, a spring 3 and a rubber vibration isolation pad 4; the two sides of the base 1 are provided with first grooves 11, the bottom of the base 1 is provided with second grooves 12, and the base 1 is also provided with through holes 13 for placing bearing bushes; the two sliding blocks 2 are arranged in the first groove 11 in a one-to-one sliding manner; the four springs 3 are uniformly distributed in the two first grooves 11, one end of each of the four springs 3 is connected with the inner wall of the first groove 11, the other end of each of the four springs 3 is connected with the sliding block 2, and the springs 3 are used for damping the sliding of the sliding block 2; the rubber vibration isolator 4 is arranged in the second groove 12, and the rubber vibration isolator 4 is arranged between the base 1 and a foreign object and is used for absorbing vibration transmitted to the base 1 by the foreign object.
Compared with the prior art, the bearing bush vibration isolation device provided by the utility model has the advantages that the bottom of the base 1 is provided with the second groove 12, the rubber vibration isolation pad 4 is arranged in the second groove 12, when the base 1 is arranged on a foreign object, the rubber vibration isolation pad 4 is arranged between the base 1 and the foreign object, and when the foreign object vibrates, the rubber vibration isolation pad 4 can absorb a part of vibration, thereby playing a vibration isolation role for the base 1; the base 1 is provided with a through hole 13, the bearing bush can be placed in the through hole 13, and the base 1 can support a shaft; two sides of the base 1 are provided with first grooves 11, a sliding block 2 and two springs 3 are arranged in the first grooves 11, two ends of each spring 3 are respectively arranged to be connected with one end in the first groove 11 and the other end on the sliding block 2, and the two springs 3 clamp the sliding block 2, so that the sliding block 2 can be kept in the first grooves 11, and the sliding block 2 can be ensured to have larger buffering capacity; the utility model provides a bearing bush vibration isolation mounting is when contacting the foreign object of vibration, and rubber vibration isolator 4 can absorb some vibrations, and when remaining vibration was transmitted to base 1, slider 2 that sets up in first recess 11 can take place to slide in first recess 11, and then arouse the deformation of spring 3, and the deformation of spring 3 can the absorbed vibration, reduces the vibration of base 1, and then plays the effect of vibration isolation to the bearing bush.
As a specific implementation manner of the bearing bush vibration isolation device provided by the present invention, please refer to fig. 3 to 4, further comprising four guide posts 5, wherein every two guide posts 5 are fixed in one first groove 11, and the guide posts 5 are all sleeved with the spring 3. Set up two guide posts 5 on first recess 11 to make spring 3 cover establish the outside at guide post 5, such form of setting up enables guide post 5 to play towed effect to spring 3, can guarantee spring 3 can not take place the skew in spring 3's flexible in-process.
As a specific implementation manner of the bearing bush vibration isolation device provided by the utility model, the guide post 5 is scalable. Set guide post 5 to the telescopic form, be favorable to establishing the spring 3 that establishes in the guide post 5 outside and play towed effect, when spring 3 rocks when severe, can lengthen the length of guide post 5, make guide post 5 as much as possible with spring 3 take place the contact, reduce the range of rocking of spring 3, guarantee the ability of spring 3 buffering slider 2.
As a specific implementation manner of the bearing bush vibration isolation device provided by the utility model, please refer to fig. 3 and fig. 4, the guide post 5 is divided into the threaded post 51 and the threaded cylinder 52, the threaded post 51 sets firmly on the first recess 11, the threaded cylinder 52 cover is established in the outside of the threaded post 51, the spring 3 cover is established in the outside of the threaded cylinder 52, the threaded post 51 and the threaded cylinder 52 realize the flexible of guide post 5 through threaded connection. When the guide post 5 needs to be extended, the threaded cylinder 52 can be rotated to slide and rotate on the threaded post 51, so that the length of the guide post 5 can be adjusted.
As a specific implementation manner of the bearing bush vibration isolation device provided by the present invention, please refer to fig. 6, the first groove 11 is vertically disposed, and the slider 2 is vertically slidably disposed in the first groove 11. First recess 11 vertical setting to make two springs 3 in first recess 11 fix respectively at bottom and top, slider 2 vertical slip is in first recess 11, can make smooth and easy slip of slider 2 like this.
As a specific embodiment of the bearing bush vibration isolating device provided in the present invention, please refer to fig. 1, the sliding block 2 is in three-side contact with the first groove 11. The sliding connection mode of three-surface contact is set between the sliding block 2 and the first groove 11, so that large friction force can be generated between the sliding block 2 and the first groove 11, the sliding block 2 can stop sliding quickly, and vibration energy in the whole device can be quickly converted into heat energy.
As a specific embodiment of the bearing bush vibration isolating device provided in the present invention, please refer to fig. 6, the base 1 includes a supporting body 14 and a fixing block 15, the second groove 12 is disposed at the bottom of the supporting body 14, the through hole 13 is disposed on the supporting body 14, and the first grooves 11 are disposed at two sides of the supporting body 14; the fixed blocks 15 are two, the two fixed blocks 15 are respectively and fixedly arranged on two sides of the bearing body 14, and the first groove 11 extends to the surface of the fixed blocks 15. The base 1 is arranged into two parts, processing and manufacturing are facilitated, and the two fixing blocks 15 are connected to the two sides of the bearing body 14 in a welding mode.
As a specific embodiment of the bearing bush vibration isolating device provided by the present invention, the bottom surfaces of the two fixing blocks 15 and the bottom surface of the supporting body 14 are flush. The bottom surface of the fixing block 15 and the bottom surface of the bearing body 14 are arranged to be flush, so that the rubber vibration isolating pad 4 arranged at the bottom of the bearing body 14 is in contact with a foreign object, and the vibration isolating effect can be achieved to the maximum extent only by keeping contact.
As a specific embodiment of the bearing bush vibration isolating device provided in the present invention, please refer to fig. 6 and 7, a mounting hole is formed on the fixing block 15. The fixing block 15 is provided with a mounting hole and can be fixed on other parts through bolts or fixed on the ground through foundation bolts; for convenience of installation, the installation hole may be provided in the form of a long hole.
As a specific embodiment of the bearing bush vibration isolating device provided by the present invention, the rubber vibration isolating pad 4 is bonded in the second groove 12. Fix rubber vibration isolator 4 in second recess 12 through the mode of bonding, the connected mode is swift and firm, and the mode of bonding has elasticity, can realize stretching out and drawing back, and then further reduce the vibration that is transmitted for base 1 by rubber vibration isolator 4.
The above description is only exemplary of the present invention and should not be taken as limiting the scope of the present invention, as any modifications, equivalents, improvements and the like made within the spirit and principles of the present invention are intended to be included within the scope of the present invention.

Claims (10)

1. A bearing bush vibration isolation device, comprising:
the bearing bush support comprises a base, wherein first grooves are formed in two sides of the base, a second groove is formed in the bottom of the base, and a through hole for placing a bearing bush is formed in the base;
the two sliding blocks are arranged in the first groove in a one-to-one sliding mode;
the four springs are uniformly distributed in the two first grooves, one end of each of the four springs is connected with the inner wall of the corresponding first groove, the other end of each of the four springs is connected with the corresponding sliding block, and the springs are used for damping the sliding of the sliding blocks; and
and the rubber vibration isolator is arranged in the second groove, is arranged between the base and a foreign object and is used for absorbing the vibration transmitted to the base by the foreign object.
2. The bearing bush vibration isolation device of claim 1, further comprising four guide posts, wherein every two guide posts are fixedly disposed in one of the first grooves, and the springs are respectively sleeved on the guide posts.
3. The bearing bush vibration isolation apparatus of claim 2, wherein said guide post is retractable.
4. The bearing bush vibration isolation device according to claim 3, wherein the guide post is divided into a threaded post and a threaded barrel, the threaded post is fixedly arranged on the first groove, the threaded barrel is sleeved outside the threaded post, the spring is sleeved outside the threaded barrel, and the threaded post and the threaded barrel are connected through threads to achieve the extension and retraction of the guide post.
5. The bearing bush vibration isolation device as defined in claim 1, wherein said first groove is vertically disposed, and said slider is vertically slidably disposed in said first groove.
6. The bearing vibration isolation apparatus of claim 5, wherein said slider is in three-sided contact with said first groove.
7. The bearing bush vibration isolation assembly of claim 1 wherein said base comprises:
the second groove is formed in the bottom of the bearing body, the through hole is formed in the bearing body, and the first grooves are formed in two sides of the bearing body;
the two fixing blocks are fixedly arranged on two sides of the bearing body respectively, and the first groove extends to the surfaces of the fixing blocks.
8. The bearing vibration isolation mounting as set forth in claim 7, wherein bottom surfaces of said two fixing blocks are flush with a bottom surface of said carrier.
9. The bearing bush vibration isolation apparatus of claim 7, wherein said fixing block is provided with a mounting hole.
10. The bearing vibration isolator according to any one of claims 1 to 9, wherein said rubber vibration isolator is bonded in said second groove.
CN202021846691.4U 2020-08-28 2020-08-28 Bearing bush vibration isolation device Active CN213332090U (en)

Priority Applications (1)

Application Number Priority Date Filing Date Title
CN202021846691.4U CN213332090U (en) 2020-08-28 2020-08-28 Bearing bush vibration isolation device

Applications Claiming Priority (1)

Application Number Priority Date Filing Date Title
CN202021846691.4U CN213332090U (en) 2020-08-28 2020-08-28 Bearing bush vibration isolation device

Publications (1)

Publication Number Publication Date
CN213332090U true CN213332090U (en) 2021-06-01

Family

ID=76101058

Family Applications (1)

Application Number Title Priority Date Filing Date
CN202021846691.4U Active CN213332090U (en) 2020-08-28 2020-08-28 Bearing bush vibration isolation device

Country Status (1)

Country Link
CN (1) CN213332090U (en)

Similar Documents

Publication Publication Date Title
CN108386475B (en) A combined damping device
KR20170141531A (en) Vibration reducing device for transformer
CN210882657U (en) Power equipment with damping function used in unmanned aerial vehicle
CN213332090U (en) Bearing bush vibration isolation device
CN111895034A (en) Three-dimensional variable-rigidity limiting and shock-isolating device with damping
CN210565115U (en) Direct-coupled centrifugal pump with wide application range
CN206173791U (en) Ring attenuator subtracts isolation bearing
CN107119957A (en) A kind of three-dimensional steel wire rope tuned mass damper device
CN217502493U (en) Friction self-locking mechanism, electric driving mechanism and lifting table leg
CN221428670U (en) High-bearing permanent magnet synchronous speed reducing motor
CN213479055U (en) Three-way magnetic self-adaptive adjustable composite vibration isolation device
CN214945970U (en) A split two-way low frequency passive shock absorber
CN214248057U (en) Telescopic cross shaft type universal coupling capable of damping
CN210978207U (en) Long-life elastic support bearing structure
CN215956576U (en) Power amplifier mounting rack
CN210760141U (en) A vehicle axle that is easy to slow down the impact of gravity
CN108194570A (en) A kind of firm elasticity conversion damper
CN203362852U (en) Bearing bracket
CN216742488U (en) Shock attenuation self-lubricating bearing frame
CN210510075U (en) Buffer cushion structure
CN219954061U (en) Horizontal adjustable zero-stiffness vibration isolator
CN212004096U (en) Mechanical equipment installs supporting equipment
CN223305072U (en) Spliced type cushioning foundation
CN215831021U (en) Compression spring assembly for hydraulic equipment
CN220286817U (en) Water pump damping device for water conservancy pump station

Legal Events

Date Code Title Description
GR01 Patent grant
GR01 Patent grant