CN213271425U - Cold-resistant type concatenation formula PVC tubular product - Google Patents
Cold-resistant type concatenation formula PVC tubular product Download PDFInfo
- Publication number
- CN213271425U CN213271425U CN202022090246.6U CN202022090246U CN213271425U CN 213271425 U CN213271425 U CN 213271425U CN 202022090246 U CN202022090246 U CN 202022090246U CN 213271425 U CN213271425 U CN 213271425U
- Authority
- CN
- China
- Prior art keywords
- layer
- foam layer
- pipe body
- cold
- phenolic foam
- Prior art date
- Legal status (The legal status is an assumption and is not a legal conclusion. Google has not performed a legal analysis and makes no representation as to the accuracy of the status listed.)
- Active
Links
- 230000003014 reinforcing effect Effects 0.000 claims abstract description 45
- ISWSIDIOOBJBQZ-UHFFFAOYSA-N phenol group Chemical group C1(=CC=CC=C1)O ISWSIDIOOBJBQZ-UHFFFAOYSA-N 0.000 claims abstract description 37
- 239000006260 foam Substances 0.000 claims abstract description 31
- 239000004698 Polyethylene Substances 0.000 claims abstract description 22
- -1 polyethylene Polymers 0.000 claims abstract description 22
- 229920000573 polyethylene Polymers 0.000 claims abstract description 22
- 229920002635 polyurethane Polymers 0.000 claims abstract description 19
- 239000004814 polyurethane Substances 0.000 claims abstract description 19
- 230000004224 protection Effects 0.000 claims abstract description 13
- 229920006327 polystyrene foam Polymers 0.000 claims abstract description 12
- 238000009434 installation Methods 0.000 claims description 17
- 238000007789 sealing Methods 0.000 claims description 16
- 230000007246 mechanism Effects 0.000 claims description 13
- 239000000463 material Substances 0.000 claims description 8
- 239000006261 foam material Substances 0.000 claims description 6
- 238000009413 insulation Methods 0.000 claims description 5
- 230000000694 effects Effects 0.000 claims description 2
- 230000002265 prevention Effects 0.000 abstract 1
- 238000005728 strengthening Methods 0.000 abstract 1
- 239000004800 polyvinyl chloride Substances 0.000 description 18
- 229920000915 polyvinyl chloride Polymers 0.000 description 18
- 238000007710 freezing Methods 0.000 description 3
- 230000008014 freezing Effects 0.000 description 3
- 230000009979 protective mechanism Effects 0.000 description 2
- 230000009286 beneficial effect Effects 0.000 description 1
- 230000002708 enhancing effect Effects 0.000 description 1
- 239000012530 fluid Substances 0.000 description 1
- 230000004048 modification Effects 0.000 description 1
- 238000012986 modification Methods 0.000 description 1
- 229920003023 plastic Polymers 0.000 description 1
- 239000004033 plastic Substances 0.000 description 1
- 238000004321 preservation Methods 0.000 description 1
- 230000002035 prolonged effect Effects 0.000 description 1
- 238000009423 ventilation Methods 0.000 description 1
Images
Landscapes
- Thermal Insulation (AREA)
- Building Environments (AREA)
Abstract
The utility model discloses a cold-resistant type concatenation formula PVC tubular product, including reinforcing plate, bleeder vent, closing plate and flange dish, the inside one side of reinforcing plate is provided with protection machanism, protection machanism includes body, dead slot, strengthening rib, phenolic foam layer, polyethylene layer, polyurethane layer and polystyrene foam layer, the body sets up in the inside one side of reinforcing plate, one side on body surface is provided with the dead slot. The utility model discloses an externally mounted at the body has the phenolic foam layer, can improve the thermal-insulated heat insulating ability of body, one deck polyethylene layer has been installed in the externally mounted on phenolic foam layer, can improve the prevention of seepage nature of body when using, one deck polyurethane layer has been installed at the skin on polyethylene layer, can improve the wearability of body when using, one deck polystyrene foam layer has been installed at the skin on polyurethane layer simultaneously, can improve the cold-resistant frost resistance of body, the device has been realized having strengthened the function to the protection of PVC tubular product.
Description
Technical Field
The utility model relates to a cold-resistant type concatenation formula PVC tubular product technical field specifically is a cold-resistant type concatenation formula PVC tubular product.
Background
The PVC is mainly made of polyvinyl chloride, is one of plastic products with the largest output in the world, is widely applied due to low price and excellent performance, wherein the PVC pipe is convenient to bond and hard in texture, can be suitable for electric wire pipelines, drain pipes and the like of houses, has very smooth pipeline walls and small resistance to fluid, and is more and more widely applied to the aspect of pipelines;
at present, the performance of most PVC pipes is excellent when using, but lacks the protection to the PVC pipe, and tubular product easily produces the friction with the wall body when using, damages the body, consequently need strengthen the protection and improve the wearability of body to the body, proposes to improve to above-mentioned condition.
SUMMERY OF THE UTILITY MODEL
An object of the utility model is to provide a cold-resistant type concatenation formula PVC tubular product to the problem of providing PVC pipe protection in solving above-mentioned background art.
In order to achieve the above object, the utility model provides a following technical scheme: a cold-resistant spliced PVC pipe comprises a reinforcing plate, air holes, a sealing plate and a flange plate, wherein a protection mechanism is arranged on one side inside the reinforcing plate and comprises a pipe body, an empty groove, reinforcing ribs, a phenolic foam layer, a polyethylene layer, a polyurethane layer and a polystyrene foam layer, the pipe body is arranged on one side inside the reinforcing plate, the empty groove is arranged on one side of the surface of the pipe body, the reinforcing ribs are arranged on one side inside the empty groove, the phenolic foam layer is arranged on one side outside the pipe body, the polyethylene layer is arranged on one side outside the phenolic foam layer, the polyurethane layer is arranged on one side outside the polyethylene layer, the polystyrene foam layer is arranged on one side outside the polyurethane layer, the air holes with equal intervals are arranged on one side of the surface of the reinforcing plate, the fixing mechanisms are arranged on two sides of the surface of the reinforcing plate, and the sealing plate is arranged on the outer wall on, the sealing plate is characterized in that a flange plate is installed on the outer wall of one side of the sealing plate, a connecting plate is installed on the outer wall of one side of the flange plate, a limiting nail is installed on one side inside the connecting plate, and one end of the limiting nail extends to the outside of the sealing plate.
Preferably, the outer diameter of the pipe body is smaller than the inner diameter of the phenolic foam layer, and the phenolic foam layer is made of phenolic foam material with a sound insulation effect.
Preferably, the inner diameter of the phenolic foam layer is smaller than the outer diameter of the polyethylene layer.
Preferably, the ventilation holes are distributed on one side of the surface of the reinforcing plate at equal intervals.
Preferably, fixed establishment includes upper bracket, installation piece, bolt, fixed block and lower mount, the upper bracket all sets up in the outside one side of reinforcing plate, the installation piece is all installed to the both sides on upper bracket surface, the bolt is all installed to the inside one side of installation piece, and the one end of bolt all extends to the outside of installation piece and installs the fixed block, the lower mount is installed to one side of fixed block.
Preferably, one side of the outside of the bolt is provided with an external thread, one side of the inside of the fixing block is provided with an internal thread matched with the external thread, and the bolt and the fixing block form threaded connection.
Compared with the prior art, the beneficial effects of the utility model are that: the cold-resistant spliced PVC pipe not only realizes the function of the device for enhancing the protection of the PVC pipe, the function of the device for improving the strength of the pipe conveniently, but also realizes the function of the device for splicing and installing conveniently;
(1) by arranging the protection mechanism, when the pipe body is in normal use, the hollow groove is arranged inside the pipe body, the reinforcing rib is arranged inside the hollow groove, so that the rigidity and the front degree of the pipe body can be improved, the phenolic foam layer is arranged outside the pipe body, the thermal conductivity coefficient of the phenolic foam layer is small, the material is lighter and made of phenolic foam material, the heat insulation and heat preservation of the pipe body can be improved, the polyethylene layer is arranged outside the phenolic foam layer, the pressure resistance of the pipe body can be improved, the seepage resistance of the pipe body in use can also be improved, the polyurethane layer is arranged on the outer layer of the polyethylene layer, the wear resistance of the pipe body in use can be improved, the polystyrene foam layer is arranged on the outer layer of the polyurethane layer, the cold resistance and the freezing resistance of the pipe body can be improved, the work of the cold resistance spliced PVC pipe is finally completed, and the function of protecting the PVC pipe is enhanced by the device, thereby improving the applicability of the device when in use;
(2) by arranging the fixing mechanism, two reinforcing plates are required to be sleeved on the outer surface of the pipe body firstly, the reinforcing plates are arranged on the outer surface of the pipe body, then the bolts are screwed into the fixing blocks on the two sides of the lower fixing frame from the fixing blocks on the upper fixing frame by screwing the bolts, so that the upper fixing frame and the fixing blocks are fixedly arranged, the reinforcing plates are firmly sleeved on the surface of the pipe body, the strength and the rigidity of the pipe body in use are improved, the pipe body cannot be damaged and broken by the outside in use, the function of facilitating the improvement of the strength of the pipe by the device is realized, and the service life of the device in use can be prolonged;
(3) when the pipe body is normally used, the length of the pipe body is sometimes not long enough and several sections of pipes need to be connected, the sealing plates are sleeved at two ends of the pipe body, the flange plates are sleeved at two ends of the pipe body, then the connecting plate is sleeved next to the flange plates, the other section of pipe is sleeved with the pipe body at the moment, the limiting nail is screwed, and the limiting nail penetrates through the flange plates; the outside of closing plate is twisted to the connecting plate to with tubular product and body fixed mounting, the concatenation installation of the body of being convenient for has realized the device function of being convenient for concatenation installation, thereby has improved the convenience of the device when using.
Drawings
Fig. 1 is a schematic view of the structure of the present invention;
fig. 2 is a schematic side view of the cross-sectional structure of the present invention;
FIG. 3 is a schematic side view of the fixing mechanism of the present invention;
fig. 4 is a schematic view of the main sectional structure of the PVC pipe of the present invention.
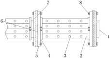
In the figure: 1. a protection mechanism; 101. a pipe body; 102. an empty groove; 103. reinforcing ribs; 104. a phenolic foam layer; 105. a polyethylene layer; 106. a polyurethane layer; 107. a polystyrene foam layer; 2. a reinforcing plate; 3. air holes are formed; 4. a fixing mechanism; 401. an upper fixing frame; 402. mounting blocks; 403. a bolt; 404. a fixed block; 405. a lower fixing frame; 5. a sealing plate; 6. a flange plate; 7. a connecting plate; 8. and a limit pin.
Detailed Description
The technical solutions in the embodiments of the present invention will be described clearly and completely with reference to the accompanying drawings in the embodiments of the present invention, and it is obvious that the described embodiments are only some embodiments of the present invention, not all embodiments. Based on the embodiments in the present invention, all other embodiments obtained by a person skilled in the art without creative work belong to the protection scope of the present invention.
Referring to fig. 1-4, the present invention provides an embodiment: a cold-resistant spliced PVC pipe comprises a reinforcing plate 2, air holes 3, a sealing plate 5 and a flange 6, wherein a protective mechanism 1 is arranged on one side inside the reinforcing plate 2, the protective mechanism 1 comprises a pipe body 101, an empty groove 102, reinforcing ribs 103, a phenolic foam layer 104, a polyethylene layer 105, a polyurethane layer 106 and a polystyrene foam layer 107, the pipe body 101 is arranged on one side inside the reinforcing plate 2, the empty groove 102 is arranged on one side of the surface of the pipe body 101, the reinforcing ribs 103 are arranged on one side inside the empty groove 102, the phenolic foam layer 104 is arranged on one side outside the pipe body 101, the polyethylene layer 105 is arranged on one side outside the phenolic foam layer 104, the polyurethane layer 106 is arranged on one side outside the polyethylene layer 105, the polystyrene foam layer 107 is arranged on one side outside the polyurethane layer 106, the outer diameter of the pipe body 101 is smaller than the inner diameter of the phenolic foam layer 104, and the phenolic foam layer 104 is made of phenolic foam material with, the inner diameter of the phenolic foam layer 104 is less than the outer diameter of the polyethylene layer 105, and the body 101, in normal use, the hollow groove 102 is arranged inside the tube body 101, the reinforcing rib 103 is arranged inside the hollow groove 102, thereby improving the rigidity and the frontage of the tube body 101, the phenolic foam layer 104 is arranged outside the pipe body 101, the thermal conductivity coefficient of the phenolic foam layer 104 is small, the material is lighter and made of phenolic foam material, the heat insulation performance of the pipe body 101 can be improved, the installation of the polyethylene layer 105 on the exterior of the phenolic foam layer 104 can improve the pressure resistance of the pipe body 101, can also improve the seepage resistance of the pipe body 101 in use, the outer layer of the polyethylene layer 105 is provided with a polyurethane layer 106, which can improve the wear resistance of the pipe body 101 in use, meanwhile, a polystyrene foam layer 107 is arranged on the outer layer of the polyurethane layer 106, so that the cold resistance and the freezing resistance of the pipe body 101 can be improved;
the pipe fitting comprises a reinforcing plate 2, wherein air holes 3 at equal intervals are arranged on one side of the surface of the reinforcing plate 2, the air holes 3 are distributed at equal intervals on one side of the surface of the reinforcing plate 2, fixing mechanisms 4 are arranged on two sides of the surface of the reinforcing plate 2, each fixing mechanism 4 comprises an upper fixing frame 401, an installation block 402, a bolt 403, a fixing block 404 and a lower fixing frame 405, the upper fixing frames 401 are arranged on one sides of the outer portions of the reinforcing plate 2, the installation blocks 402 are arranged on two sides of the surface of the upper fixing frames 401, the bolt 403 is arranged on one side of the inner portion of each installation block 402, one end of each bolt 403 extends to the outer portion of each installation block 402 and is provided with the fixing block 404, the lower fixing frames 405 are arranged on one sides of the fixing blocks 404, external threads are arranged on one sides of the outer portions of, firstly, two reinforcing plates 2 are sleeved on the outer surface of the pipe body 101, the reinforcing plates 2 are installed on the outer surface of the pipe body 101, then bolts 403 are screwed in the fixing blocks 404 on the two sides of the lower fixing frame 405 from the fixing blocks 404 on the upper fixing frame 401 by screwing the bolts 403, so that the upper fixing frame 401 and the fixing blocks 404 are fixedly installed, the reinforcing plates 2 are firmly sleeved on the surface of the pipe body 101, the strength and the rigidity of the pipe body 101 in use are improved, and the pipe body 101 cannot be damaged and broken by the outside in use;
the outer wall of one side of the fixing mechanism 4 is provided with a sealing plate 5, the outer wall of one side of the sealing plate 5 is provided with a flange 6, the outer wall of one side of the flange 6 is provided with a connecting plate 7, one side of the inside of the connecting plate 7 is provided with a limit nail 8, and one end of the limit nail 8 extends to the outside of the sealing plate 5, according to the actual use condition, the length of the pipe body 101 is sometimes not long enough to connect a plurality of sections of pipes, the sealing plate 5 is sleeved at two ends of the pipe body 101, then the flange 6 is sleeved at two ends of the pipe body 101, then the connecting plate 7 is sleeved next to the flange 6, at the moment, the other section of pipe is sleeved with the pipe body 101; the connecting plate 7 is screwed into the outer part of the sealing plate 5, so that the pipe and the pipe body 101 are fixedly installed, and splicing installation of the pipe body 101 is facilitated.
The working principle is as follows: when the pipe is used, the pipe is prepared, firstly, two reinforcing plates 2 are sleeved on the outer surface of the pipe body 101, the reinforcing plates 2 are installed on the outer surface of the pipe body 101, then the bolts 403 are screwed in the fixing blocks 404 on the upper fixing frame 401 from the fixing blocks 404 on the two sides of the lower fixing frame 405 by screwing the bolts 403, so that the upper fixing frame 401 and the fixing blocks 404 are fixedly installed, the reinforcing plates 2 are firmly sleeved on the surface of the pipe body 101, the strength and the rigidity of the pipe body 101 in use are improved, and the pipe body 101 cannot be damaged and broken by the outside in use;
then, according to the actual use condition, the length of the pipe body 101 is sometimes not long enough and several sections of pipes need to be connected, the sealing plates 5 are sleeved at two ends of the pipe body 101, the flange 6 is sleeved at two ends of the pipe body 101, the connecting plate 7 is sleeved next to the flange 6, another section of pipe is sleeved with the pipe body 101 at the moment, the limiting nail 8 is screwed, and the limiting nail 8 penetrates through the flange 6; the connecting plate 7 is screwed into the outer part of the sealing plate 5, so that the pipe and the pipe body 101 are fixedly installed, and the pipe body 101 is convenient to splice and install;
finally, when the pipe body 101 is used normally, the hollow groove 102 is provided inside the pipe body 101, the reinforcing ribs 103 are installed inside the hollow grooves 102, so that the rigidity and the frontage of the body of the pipe body 101 can be improved, the phenolic foam layer 104 is arranged outside the pipe body 101, the thermal conductivity coefficient of the phenolic foam layer 104 is small, the material is lighter and made of phenolic foam material, the heat insulation performance of the pipe body 101 can be improved, the installation of the polyethylene layer 105 on the exterior of the phenolic foam layer 104 can improve the pressure resistance of the pipe body 101, can also improve the seepage resistance of the pipe body 101 in use, the outer layer of the polyethylene layer 105 is provided with a polyurethane layer 106, which can improve the wear resistance of the pipe body 101 in use, meanwhile, a polystyrene foam layer 107 is arranged on the outer layer of the polyurethane layer 106, so that the cold resistance and the freezing resistance of the pipe body 101 can be improved, and the work of the cold-resistant spliced PVC pipe is finally completed.
Although the present invention has been described in detail with reference to the foregoing embodiments, it will be apparent to those skilled in the art that modifications may be made to the embodiments or portions thereof without departing from the spirit and scope of the invention.
Claims (6)
1. The utility model provides a cold-resistant type concatenation formula PVC tubular product, includes reinforcing plate (2), bleeder vent (3), closing plate (5) and flange dish (6), its characterized in that: the protection mechanism (1) is arranged on one side inside the reinforcing plate (2), the protection mechanism (1) comprises a pipe body (101), an empty groove (102), reinforcing ribs (103), a phenolic foam layer (104), a polyethylene layer (105), a polyurethane layer (106) and a polystyrene foam layer (107), the pipe body (101) is arranged on one side inside the reinforcing plate (2), the empty groove (102) is arranged on one side of the surface of the pipe body (101), the reinforcing ribs (103) are arranged on one side inside the empty groove (102), the phenolic foam layer (104) is arranged on one side outside the pipe body (101), the polyethylene layer (105) is arranged on one side outside the phenolic foam layer (104), the polyurethane layer (106) is arranged on one side outside the polyethylene layer (105), the polystyrene foam layer (107) is arranged on one side outside the polyurethane layer (106), and air holes (3) with equal intervals are arranged on one side of the surface of the reinforcing plate (2), the utility model discloses a sealing plate, including reinforcing plate (2), flange dish (6), connecting plate (7), spacing nail (8) are installed to the inside one side of connecting plate (7), and the one end of spacing nail (8) extends to the outside of closing plate (5), install on the outer wall of fixing mechanism (4) one side closing plate (5), install flange dish (6) on the outer wall of closing plate (5) one side, install connecting plate (7) on the outer wall of flange dish (6) one side.
2. The cold-resistant spliced PVC pipe material according to claim 1, which is characterized in that: the outer diameter of the pipe body (101) is smaller than the inner diameter of the phenolic foam layer (104), and the phenolic foam layer (104) is made of phenolic foam materials with sound insulation effects.
3. The cold-resistant spliced PVC pipe material according to claim 2, wherein: the inner diameter of the phenolic foam layer (104) is smaller than the outer diameter of the polyethylene layer (105).
4. The cold-resistant spliced PVC pipe material according to claim 1, which is characterized in that: the air holes (3) are distributed on one side of the surface of the reinforcing plate (2) at equal intervals.
5. The cold-resistant spliced PVC pipe material according to claim 1, which is characterized in that: fixed establishment (4) include upper fixing frame (401), installation piece (402), bolt (403), fixed block (404) and down mount (405), upper fixing frame (401) all set up in reinforcing plate (2) outside one side, installation piece (402) are all installed to the both sides on upper fixing frame (401) surface, bolt (403) are all installed to the inside one side of installation piece (402), and the one end of bolt (403) all extends to the outside of installation piece (402) and installs fixed block (404), down mount (405) are installed to one side of fixed block (404).
6. The cold-resistant spliced PVC pipe material according to claim 5, wherein: the bolt is characterized in that an external thread is arranged on one side of the outer portion of the bolt (403), an internal thread matched with the external thread is arranged on one side of the inner portion of the fixing block (404), and the bolt (403) and the fixing block (404) are in threaded connection.
Priority Applications (1)
| Application Number | Priority Date | Filing Date | Title |
|---|---|---|---|
| CN202022090246.6U CN213271425U (en) | 2020-09-22 | 2020-09-22 | Cold-resistant type concatenation formula PVC tubular product |
Applications Claiming Priority (1)
| Application Number | Priority Date | Filing Date | Title |
|---|---|---|---|
| CN202022090246.6U CN213271425U (en) | 2020-09-22 | 2020-09-22 | Cold-resistant type concatenation formula PVC tubular product |
Publications (1)
| Publication Number | Publication Date |
|---|---|
| CN213271425U true CN213271425U (en) | 2021-05-25 |
Family
ID=75943841
Family Applications (1)
| Application Number | Title | Priority Date | Filing Date |
|---|---|---|---|
| CN202022090246.6U Active CN213271425U (en) | 2020-09-22 | 2020-09-22 | Cold-resistant type concatenation formula PVC tubular product |
Country Status (1)
| Country | Link |
|---|---|
| CN (1) | CN213271425U (en) |
-
2020
- 2020-09-22 CN CN202022090246.6U patent/CN213271425U/en active Active
Similar Documents
| Publication | Publication Date | Title |
|---|---|---|
| CN213271425U (en) | Cold-resistant type concatenation formula PVC tubular product | |
| CN206697872U (en) | A kind of circuit pipe laying | |
| CN211231890U (en) | A reinforced drainage plastic pipe | |
| CN104482319B (en) | Heat insulation plastic pipe | |
| CN107588286A (en) | Hollow wall continuous fiber prepreg tape winding pipe | |
| CN2413126Y (en) | Double-layer hollow wall plastic pipe | |
| CN210566800U (en) | Fixing structure for anti-corrosion heat-preservation pipe | |
| CN215635455U (en) | High-strength inner-diameter double-wall corrugated polyethylene PPR pipe | |
| CN202812506U (en) | Double-wall corrugated pipe | |
| CN211296091U (en) | A kind of air-conditioning installation with wall bushing | |
| CN213271610U (en) | Rock wool insulating tube | |
| CN214884508U (en) | Efficient building energy-saving heat-insulating material | |
| CN212718617U (en) | Quick-connection type plastic elbow joint | |
| CN219413811U (en) | Safe and environment-friendly rubber plastic pipe suitable for heating and ventilation system | |
| CN210985506U (en) | High-strength aging-resistant power cable protection pipe | |
| CN215267501U (en) | A power protection sleeve with excellent protective effect | |
| CN222687667U (en) | A prefabricated direct buried thermal insulation pipe with protective structure | |
| CN223635583U (en) | Compression-resistant heat-insulating pipe | |
| CN218257206U (en) | Enhancement mode polytetrafluoroethylene plastic pipe structure | |
| CN216643472U (en) | Be provided with heat preservation intermediate layer's PVC tubular product that prevents frostbite | |
| CN100374770C (en) | Composite thermal pipeline profile and connector thereof | |
| CN220727553U (en) | Antifreezing heat insulation sleeve | |
| CN109004596A (en) | A kind of heat-insulated power pipe | |
| CN214946990U (en) | Modified PVC three-layer composite co-extrusion water pipe | |
| CN219623430U (en) | Plastic pipe with reinforced structure |
Legal Events
| Date | Code | Title | Description |
|---|---|---|---|
| GR01 | Patent grant | ||
| GR01 | Patent grant |