CN213267120U - Tentering setting machine - Google Patents

Tentering setting machine Download PDF

Info

Publication number
CN213267120U
CN213267120U CN202022131602.4U CN202022131602U CN213267120U CN 213267120 U CN213267120 U CN 213267120U CN 202022131602 U CN202022131602 U CN 202022131602U CN 213267120 U CN213267120 U CN 213267120U
Authority
CN
China
Prior art keywords
plate
frame
needle plate
abutting
needle
Prior art date
Legal status (The legal status is an assumption and is not a legal conclusion. Google has not performed a legal analysis and makes no representation as to the accuracy of the status listed.)
Expired - Fee Related
Application number
CN202022131602.4U
Other languages
Chinese (zh)
Inventor
陈强
陈中华
方哲琪
丁国庆
卢卫凯
张标
邢树厂
Current Assignee (The listed assignees may be inaccurate. Google has not performed a legal analysis and makes no representation or warranty as to the accuracy of the list.)
Zhuji Huadu Lianhe Printing Co ltd
Original Assignee
Zhuji Huadu Lianhe Printing Co ltd
Priority date (The priority date is an assumption and is not a legal conclusion. Google has not performed a legal analysis and makes no representation as to the accuracy of the date listed.)
Filing date
Publication date
Application filed by Zhuji Huadu Lianhe Printing Co ltd filed Critical Zhuji Huadu Lianhe Printing Co ltd
Priority to CN202022131602.4U priority Critical patent/CN213267120U/en
Application granted granted Critical
Publication of CN213267120U publication Critical patent/CN213267120U/en
Expired - Fee Related legal-status Critical Current
Anticipated expiration legal-status Critical

Links

Images

Landscapes

  • Treatment Of Fiber Materials (AREA)

Abstract

本申请涉及一种拉幅定型机,包括机架和链条,链条通过两个链轮驱动运转,链条上设置有针板,链条远离机架一侧设置有安装块,安装块上设置有用于放置针板的安装槽,安装槽上滑移设置有用于抵紧针板的抵紧板,抵紧板朝向针板滑移,抵紧板上活动设置有定位柱,安装块上开设有供定位柱穿出的定位孔。本申请拆卸针板时,首先移动定位柱,使得定位柱从定位孔中脱离,再移动抵紧板,使得抵紧板解除对针板侧面的抵紧,便于工作人员将抵紧板从安装块上拆卸下来,安装时,先将针板放置在安装槽中,之后移动抵紧板夹紧针板侧面,再将定位柱插入定位孔中,从而固定住针板,避免了拧动螺栓和螺母的工作,大大提高了针板的拆装速率,提高了工作效率。

Figure 202022131602

The present application relates to a tenter setting machine, comprising a frame and a chain, the chain is driven and operated by two sprockets, the chain is provided with a needle plate, the side of the chain away from the frame is provided with a mounting block, and the mounting block is provided with a The installation groove of the needle plate, the installation groove is slidably provided with an abutment plate for abutting the needle plate, the abutment plate slides towards the needle plate, the abutment plate is movably provided with a positioning column, and the installation block is provided with a positioning column for pierced positioning holes. When dismantling the needle plate in the present application, first move the positioning column to make the positioning column disengage from the positioning hole, and then move the abutment plate, so that the abutment plate releases the abutment on the side of the needle plate, and it is convenient for the staff to remove the abutment plate from the installation block. When installing, first place the needle plate in the installation groove, then move the abutting plate to clamp the side of the needle plate, and then insert the positioning column into the positioning hole, so as to fix the needle plate and avoid screwing the bolts and nuts. It can greatly improve the disassembly and assembly rate of the needle board and improve the work efficiency.

Figure 202022131602

Description

Tentering setting machine
Technical Field
The application relates to the technical field of forming machines, in particular to a tentering and forming machine.
Background
In the production process of printing and dyeing enterprises in the textile industry, after cloth is printed, dyed and washed, the surface of the cloth is uneven and must be dried and shaped. When the cloth passes through the steam type, the cloth needs to be width-fixed. The setting machine spreads the cloth through the spreading roller, and conveys the cloth through two conveying chains positioned at the side edges of the cloth, and fixes the edges of the cloth through the needle plates of the conveying chains.
At present, a patent with publication number CN205934441U discloses a needle plate structure of a setting machine, wherein a plurality of needle plates are horizontally arranged end to end, the end of each needle plate is a bevel edge, and contact pins are arranged among the needle plates; wherein, two fallers of adjacent concatenation, the distance of the contact pin of one of them faller tip and the contact pin of another faller tip equals the distance of adjacent contact pin in single faller.
With respect to the related art among the above, the inventors consider that the following drawbacks exist: because each setting machine is provided with more than 1000 needle plates, a plurality of needle plates are overhauled and replaced every year, but the assembly or disassembly of each needle plate needs to be manually carried out to assemble or disassemble the positioning holes of the needle plates and the screws and the nuts at the fixing holes of the needle plate fixing tables one by one, the single assembly or disassembly time is about 30-40 seconds, and the reciprocating time is 60-80 seconds, thereby greatly reducing the working efficiency of workers.
SUMMERY OF THE UTILITY MODEL
In order to improve the dismouting speed of faller, this application provides a tentering setting machine.
The application provides a tentering setting machine adopts following technical scheme:
the utility model provides a tentering setting machine, includes the frame and sets up the chain in the frame, just the chain is through two sprocket drive operations, be provided with the faller on the chain, the chain is kept away from frame one side and is provided with the installation piece, be provided with on the installation piece and be used for placing the mounting groove of faller, slide on the mounting groove and be provided with the tight board that supports that is used for supporting tight faller, support tight board orientation the faller slides, just support the activity on the tight board and be provided with the reference column, set up the confession on the installation piece the locating hole that the reference column was worn out.
Through adopting above-mentioned technical scheme, when needs dismantle the faller, at first remove the reference column, make the reference column break away from the locating hole, later remove and support tight board again, make to support tight board and remove the support tight to the faller side, thereby the staff of being convenient for will support tight board and dismantle from the installation piece, during the installation, place the faller in the mounting groove earlier, later remove and support tight board clamp faller side, insert the locating hole with the reference column again, thereby fix the faller, the work of screwing bolt and nut has been avoided, the dismouting speed of faller has been improved greatly, and the work efficiency is improved.
Preferably, the abutting plate is provided with a sliding cavity along the length direction of the rack, the positioning column is slidably arranged in the sliding cavity, an abutting spring is arranged in the sliding cavity, one end of the abutting spring abuts against the inner wall of the sliding cavity, and the other end of the abutting spring abuts against the positioning column.
Through adopting above-mentioned technical scheme, when fixed abutting plate, the reference column is ejecting under the effect of butt spring for when the reference column moves to locating hole department, can be ejecting and the locating hole cooperation by the butt spring, thereby realize abutting plate's fixed, and when dismantling abutting plate, only need press down the reference column, make the reference column break away from the locating hole can, simple structure, convenient operation.
Preferably, one side of the needle plate close to the rack is provided with a first chamfer, the installation groove is internally provided with a first abutting block matched with the first chamfer, one side of the needle plate close to the abutting plate is provided with a second chamfer, and the abutting plate is provided with a second abutting block matched with the second chamfer.
Through adopting above-mentioned technical scheme, during the installation, cooperate with the first tight piece of support with the first chamfer on the faller earlier to spacing in advance to the faller, later will support the second tight piece of support on the tight board again and cooperate with the second chamfer on the faller, thereby the chucking faller of being convenient for.
Preferably, the top of the abutting plate is provided with a squeezing block used for squeezing the needle plate downwards.
Through adopting above-mentioned technical scheme, support the second on the tight board and support tight piece and the cooperation of the second chamfer of faller after, the extrusion piece can compress tightly the faller downwards to further realize the fixed of faller.
Preferably, the faller upper surface is provided with the pilot pin that is used for spacing cloth, be provided with the cleaning device who is used for clearing up the pilot pin in the frame, just cleaning device includes:
one end of the mounting seat is rotatably arranged on the rack;
the brush roll is rotatably arranged at one end, far away from the rotating connection position, of the mounting seat, is positioned on one side, close to the needle plate, of the mounting seat, bristles on the brush roll are in contact with positioning needles on the needle plate, and a motor for driving the brush roll to rotate is arranged on the mounting seat; and
the first air cylinder is located at one end, close to the brush roll, of the mounting seat, the cylinder body of the first air cylinder is rotatably arranged on the mounting seat, and the piston rod of the first air cylinder is rotatably arranged on the rack.
Through adopting above-mentioned technical scheme, start first cylinder, because the mount pad is kept away from first cylinder one end and is rotated in the frame, consequently first cylinder can drive the mount pad and rotate to adjust the angle of brush roll, make the brush hair of brush roll contradict with the pilot pin, the starter motor drives the brush roll and rotates, thereby material stain and the dander to on the pilot pin clear up, reduced the trouble of artifical clearance, have and connect simple, convenient operation's advantage.
Preferably, a second air cylinder is arranged on the rack, a piston rod of the second air cylinder is connected with the mounting seat, the second air cylinder is located on one side, away from the brush roller, of the mounting seat, and the telescopic direction of the piston rod of the second air cylinder is perpendicular to the conveying direction of the chain.
Through adopting above-mentioned technical scheme, the second cylinder can drive the mount pad motion for the brush roll can also clear up the chain under necessary condition, reduces the flock and the debris on the chain and piles up.
Preferably, be provided with in the frame and inhale grey device, just inhale grey device and be located the below of brush roll, inhale grey device includes:
the dust collection box is arranged on the rack, and a filter piece is arranged in the dust collection box;
the dust suction pipe is connected to the dust collection box, and an air suction opening of the dust suction pipe faces the needle plate; and
the dust collection fan is arranged on the rack, an air suction opening of the dust collection fan is connected with an air suction pipe, and the air suction pipe is communicated with the dust collection box.
Through adopting above-mentioned technical scheme, during the faller transportation, at first can pass through the dust absorption device, under the suction effect of dust absorption fan, the dust absorption pipe absorbs and collects in the dust collecting box to the flock in the faller gap and dust to play and scrub the preliminary treatment before the preceding to the faller, brush the effect after the reinforcing.
Preferably, the dust collection box is internally provided with a sliding cavity, one end of the sliding cavity is provided with an opening communicated with the outside, the filtering piece is arranged on the filtering frame of the sliding cavity in a sliding manner, the filtering frame is close to one side of the opening and is provided with a handle, the dust suction pipe is located at one end, connected with the dust collection box, of the dust collection box, above the filtering frame, and the exhaust pipe is located at one end, connected with the dust collection box, of the dust collection box, below the filtering frame.
Through adopting above-mentioned technical scheme, because the dust absorption pipe is located the top of filter frame, consequently dust and debris all can be collected on the filter frame, when needs clear up the filter frame, utilize the handle to pull out the filter frame from the opening in the chamber that slides to the staff of being convenient for clears up the filter frame, simple structure, convenient operation.
In summary, the present application includes at least one of the following beneficial technical effects:
1. when the needle plate is disassembled, the positioning column is moved firstly, so that the positioning column is separated from the positioning hole, then the abutting plate is moved, the abutting plate releases the abutting on the side surface of the needle plate, the abutting plate is convenient for workers to disassemble from the installing block, during installation, the needle plate is placed in the installing groove firstly, then the abutting plate is moved to clamp the side surface of the needle plate, and then the positioning column is inserted into the positioning hole, so that the needle plate is fixed, the work of screwing a bolt and a nut is avoided, the disassembling and assembling speed of the needle plate is greatly improved, and the working efficiency is improved;
2. the first air cylinder is started, and one end, far away from the first air cylinder, of the mounting seat rotates on the rack, so that the first air cylinder can drive the mounting seat to rotate, the angle of the brush roll is adjusted, bristles of the brush roll are abutted to the positioning needles, the motor is started, the brush roll is driven to rotate, and therefore material stains and hair scraps on the positioning needles are cleaned, the trouble of manual cleaning is reduced, and the brush roll cleaning device has the advantages of being simple to connect and convenient to operate;
3. when the needle plate is transported, firstly, the dust suction device is passed through, and under the suction action of the dust suction fan, the dust suction pipe absorbs and collects the flock and dust in the gap of the needle plate in the dust collection box, so that the pretreatment before the needle plate is scrubbed is realized, and the scrubbing effect after the scrubbing is enhanced.
Drawings
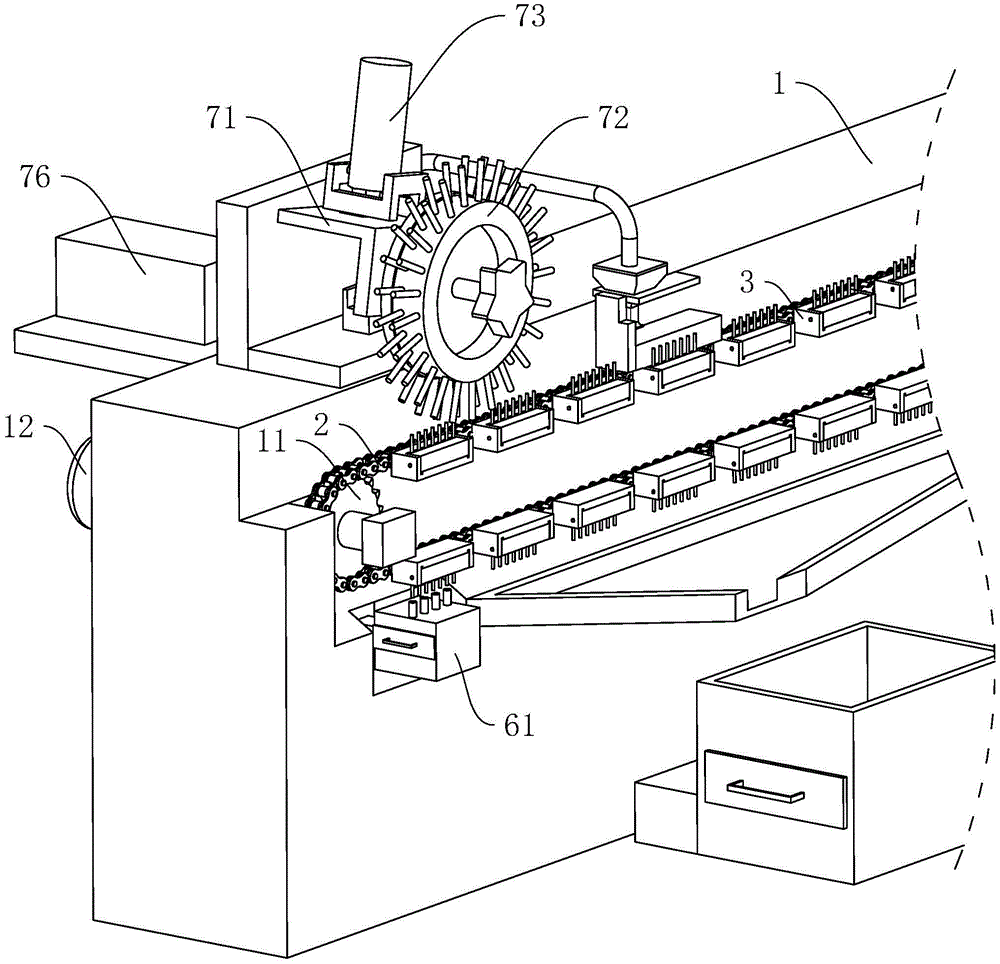
FIG. 1 is a schematic overall structure of the present application;
FIG. 2 is an exploded view of the mount of the present application;
FIG. 3 is a schematic structural view of the dust suction apparatus of the present application, in which the filter frame is in a drawn-out state;
fig. 4 is a schematic structural diagram of the cleaning device of the present application.
Reference numerals: 1. a frame; 11. a sprocket; 12. a drive motor; 2. a chain; 3. mounting blocks; 31. mounting grooves; 32. a needle plate; 321. a positioning pin; 322. a first chamfer; 323. a second chamfer; 33. a first abutting block; 34. a chute; 35. a propping plate; 351. a slider; 352. a second abutting block; 353. extruding the block; 4. a sliding cavity; 41. a positioning column; 42. an abutment spring; 5. positioning holes; 61. a dust collection box; 62. a dust collection pipe; 63. a dust collection fan; 631. an exhaust pipe; 64. a filter frame; 641. a handle; 71. a mounting seat; 72. a brush roll; 73. a first cylinder; 741. a vertical plate; 742. a transverse plate; 75. a motor; 76. a second cylinder.
Detailed Description
The present application is described in further detail below with reference to figures 1-4.
The embodiment of the application discloses tentering setting machine, refer to fig. 1, including frame 1 and chain 2, frame 1 length direction's both ends are rotated respectively and are installed a sprocket 11. The chain 2 is arranged between the two chain wheels 11, and the chain 2 is meshed with the two chain wheels 11. One of the sprockets 11 is driven to rotate by a drive motor 12. The driving motor 12 is fixed on the frame 1, and the output shaft of the driving motor 12 is connected with the rotating shaft key of the chain wheel 11.
Referring to fig. 1 and 2, a mounting block 3 is fixed on one side of the chain 2 away from the frame 1, a mounting groove 31 is formed in the mounting block 3, and the cross section of the mounting groove 31 is L-shaped. A needle plate 32 is arranged in the mounting groove 31, the length direction of the needle plate 32 is consistent with the length direction of the rack 1, and a positioning needle 321 for limiting cloth is fixed on the upper surface of the needle plate 32. A first chamfer 322 is provided on one side of the needle plate 32 close to the frame 1, and a first abutting block 33 matched with the first chamfer 322 is fixed in the mounting groove 31.
The mounting groove 31 is provided with a abutting plate 35 for abutting against the needle plate 32, and the length direction of the abutting plate 35 is the same as that of the needle plate 32. The bottom surface of the mounting groove 31 is provided with a sliding groove 34 along the width direction, the bottom of the abutting plate 35 is integrally provided with a sliding block 351 which is matched with the sliding groove 34 in a sliding manner, and the abutting plate 35 slides towards the needle plate 32. The needle plate 32 is provided with a second chamfer 323 at a side close to the abutting plate 35, and a second abutting block 352 matched with the second chamfer 323 is fixed on the abutting plate 35. The top of the abutting plate 35 is provided with a pressing block 353 for pressing the needle plate 32 downwards, and the pressing block 353 is fixed on one side of the second abutting block 352 close to the needle plate 32.
The two sides of the length direction of the abutting plate 35 are provided with sliding cavities 4, the length direction of the sliding cavities 4 is consistent with the length direction of the abutting plate 35, and one ends of the sliding cavities 4, which are close to the side plates of the mounting block 3, are provided with ports. A positioning column 41 is slidably mounted in the sliding chamber 4, and one end of the positioning column 41 extends out of the port of the sliding chamber 4. An abutting spring 42 is further arranged in the sliding cavity 4, one end of the abutting spring 42 abuts against one end, away from the port, of the positioning column 41, and the other end of the abutting spring 42 abuts against the inner wall of the sliding cavity 4. The two side plates in the length direction of the mounting block 3 are provided with positioning holes 5 for the positioning columns 41 to penetrate through.
Referring to fig. 1 and 3, an ash suction device is provided on the frame 1, and the ash suction device is located below the chain 2 and includes a dust box 61, a dust suction pipe 62, and a dust suction fan 63. The frame 1 is provided with a mounting cavity, and the mounting cavity is positioned on one side of the frame 1 close to the dust collection box 61. The dust box 61 is fixed in the mounting chamber, and the dust box 61 is positioned below the needle plate 32. The dust suction pipes 62 are connected to the top surface of the dust box 61, four (but not limited to four) dust suction pipes 62 are provided, the four dust suction pipes 62 are arranged at intervals along the moving direction of the chain 2, and the suction openings of the dust suction pipes 62 face the positioning pins 321.
A sliding cavity is arranged in the dust collection box 61 and is positioned below one end of the dust collection pipe 62 connected with the dust collection box 61, and the length direction of the sliding cavity is the same as the moving direction of the chain 2. The chamber one end that slides has the communicating opening with the external world, and the intracavity that slides is provided with and filters piece, and filter piece is straining frame 64, and strain frame 64 and slide and install in the intracavity that slides, and strain one side that frame 64 is close to the opening and be fixed with handle 641.
The dust suction fan 63 is fixed in the installation cavity, an air suction opening of the dust suction fan 63 is connected with an air suction pipe 631, the air suction pipe 631 is communicated with the dust collection box 61, and one end of the air suction pipe 631 connected with the dust collection box 61 is positioned below the filter frame 64.
When the needle plate 32 is transported, firstly, the dust suction pipe 62 sucks and collects the flock and dust in the gaps of the needle plate 32 in the dust collection box 61 under the suction action of the dust suction fan 63 through the dust suction device, so that the pretreatment before the needle plate 32 is scrubbed is realized.
Referring to fig. 1 and 4, a cleaning device for cleaning the positioning pin 321 is disposed on the frame 1, and the cleaning device is located above the dust suction device, and includes a mounting seat 71, a brush roller 72, and a first cylinder 73. Wherein, the frame 1 is provided with a base, the base comprises a vertical plate 741 and a horizontal plate 742, the vertical plate 741 and the horizontal plate 742 are fixedly connected with each other, and the horizontal plate 742 is slidably mounted on the frame 1. One end of the mounting seat 71 is rotatably mounted on a vertical plate 741.
The brush roller 72 is rotatably mounted on the end of the mounting base 71 remote from the rotational connection, and the brush roller 72 is located on the side of the mounting base 71 adjacent to the needle plate 32. A motor 75 for driving the brush roller 72 to rotate is fixed on the mounting seat 71, and an output shaft of the motor 75 is connected with a rotating shaft key of the brush roller 72. The first cylinder 73 is located at one end of the mounting seat 71 close to the brush roller 72, the cylinder body of the first cylinder 73 is rotatably mounted on the upper surface of the mounting seat 71, and the piston rod of the first cylinder 73 is rotatably mounted on the upper surface of the cross plate 742.
The needle board 32 is through inhaling grey back of handling, through the brush roll 72, starts first cylinder 73, because the mount pad 71 is kept away from first cylinder 73 one end and is rotated on frame 1, consequently first cylinder 73 can drive mount pad 71 and rotate to adjust the angle of brush roll 72, make the brush hair of brush roll 72 contradict with pilot pin 321, start motor 75 drives brush roll 72 and rotates, thereby cleans up the material stain and the dander on the pilot pin 321.
A second air cylinder 76 is fixed on the frame 1, a piston rod of the second air cylinder 76 is fixedly connected with the mounting seat 71, the second air cylinder 76 is located on one side, away from the brush roller 72, of the mounting seat 71, and the telescopic direction of the piston rod of the second air cylinder 76 is perpendicular to the conveying direction of the chain 2.
The working principle of the embodiment of the application is as follows:
when the needle plate 32 needs to be disassembled, the positioning column 41 is firstly pressed, so that the positioning column 41 is separated from the positioning hole 5, then the abutting plate 35 is moved, so that the abutting plate 35 releases the abutting on the side surface of the needle plate 32, and therefore, a worker can conveniently disassemble the abutting plate 35 from the mounting block 3. During installation, place the faller 32 in mounting groove 31 earlier, and make first chamfer 322 on the faller 32 and the first piece 33 butt cooperation that supports on the mounting groove 31, later remove to support tight board 35 and press from both sides tight faller 32 side again, reference column 41 can insert in locating hole 5 under the promotion of butt spring 42 this moment, thereby realized supporting the fixed of tight board 35, support the second piece 352 that supports on the tight board 35 simultaneously and the second chamfer 323 butt cooperation on the faller 32, and extrusion piece 353 can sticis the faller 32 downwards, and then chucking faller 32.
The above embodiments are preferred embodiments of the present application, and the protection scope of the present application is not limited by the above embodiments, so: all equivalent changes made according to the structure, shape and principle of the present application shall be covered by the protection scope of the present application.

Claims (8)

1.一种拉幅定型机,包括机架(1)和设置于机架(1)上的链条(2),且所述链条(2)通过两个链轮(11)驱动运转,所述链条(2)上设置有针板(32),其特征在于,所述链条(2)远离机架(1)一侧设置有安装块(3),所述安装块(3)上设置有用于放置所述针板(32)的安装槽(31),所述安装槽(31)上滑移设置有用于抵紧针板(32)的抵紧板(35),所述抵紧板(35)朝向所述针板(32)滑移,且所述抵紧板(35)上活动设置有定位柱(41),所述安装块(3)上开设有供所述定位柱(41)穿出的定位孔(5)。1. A tenter setting machine, comprising a frame (1) and a chain (2) arranged on the frame (1), and the chain (2) is driven and operated by two sprockets (11), the The chain (2) is provided with a needle plate (32), characterized in that, a mounting block (3) is provided on the side of the chain (2) away from the frame (1), and a mounting block (3) is provided on the mounting block (3) for An installation groove (31) in which the needle plate (32) is placed, an abutment plate (35) for abutting the needle plate (32) is slidably provided on the installation groove (31), and the abutment plate (35) ) slides toward the needle plate (32), and a positioning column (41) is movably provided on the abutting plate (35), and the mounting block (3) is provided with a hole for the positioning column (41) to pass through. out the positioning hole (5). 2.根据权利要求1所述的一种拉幅定型机,其特征在于,所述抵紧板(35)沿所述机架(1)长度方向开设有滑动腔(4),且所述定位柱(41)滑移设置于所述滑动腔(4)内,所述滑动腔(4)内设置有抵接弹簧(42),且所述抵接弹簧(42)一端与所述滑动腔(4)内壁抵接,另一端与所述定位柱(41)抵接。2 . The tenter setting machine according to claim 1 , wherein a sliding cavity ( 4 ) is opened on the abutting plate ( 35 ) along the length direction of the frame ( 1 ), and the positioning The column (41) is slidably arranged in the sliding cavity (4), an abutting spring (42) is arranged in the sliding cavity (4), and one end of the abutting spring (42) is connected to the sliding cavity (4). 4) The inner wall is in contact, and the other end is in contact with the positioning post (41). 3.根据权利要求1所述的一种拉幅定型机,其特征在于,所述针板(32)靠近机架(1)的一侧设置有第一倒角(322),且所述安装槽(31)内设置有与所述第一倒角(322)相配合的第一抵紧块(33),所述针板(32)靠近抵紧板(35)的一侧设置有第二倒角(323),且所述抵紧板(35)上设置有与所述第二倒角(323)相配合的第二抵紧块(352)。3 . The tenter setting machine according to claim 1 , wherein a first chamfer ( 322 ) is provided on the side of the needle plate ( 32 ) close to the frame ( 1 ), and the installation A first abutting block (33) matched with the first chamfer (322) is arranged in the groove (31), and a second abutting block (33) is arranged on the side of the needle plate (32) close to the abutting plate (35). A chamfer (323) is provided, and a second abutting block (352) matched with the second chamfer (323) is arranged on the abutting plate (35). 4.根据权利要求1所述的一种拉幅定型机,其特征在于,所述抵紧板(35)顶部设置有用于对针板(32)向下压紧的挤压块(353)。4 . The tenter setting machine according to claim 1 , wherein a pressing block ( 353 ) for pressing the needle plate ( 32 ) downward is provided on the top of the pressing plate ( 35 ). 5 . 5.根据权利要求4所述的一种拉幅定型机,其特征在于,所述针板(32)上表面设置有用于限位布料的定位针(321),所述机架(1)上设置有用于清理定位针(321)的清理装置,且所述清理装置包括:5. A tenter setting machine according to claim 4, characterized in that, the upper surface of the needle plate (32) is provided with a positioning needle (321) for limiting the cloth, and the frame (1) is provided with a positioning needle (321) on the upper surface. A cleaning device for cleaning the positioning needle (321) is provided, and the cleaning device includes: 安装座(71),所述安装座(71)一端转动设置于所述机架(1)上;a mounting seat (71), one end of the mounting seat (71) is rotatably arranged on the frame (1); 刷辊(72),所述刷辊(72)转动设置于所述安装座(71)远离转动连接处的一端,且所述刷辊(72)位于所述安装座(71)靠近针板(32)的一侧,所述刷辊(72)上的刷毛与所述针板(32)上的定位针(321)相抵触,所述安装座(71)上设置有用于驱动所述刷辊(72)转动的电机(75);以及A brush roller (72), the brush roller (72) is rotatably arranged at the end of the mounting seat (71) away from the rotating connection, and the brush roller (72) is located on the mounting seat (71) close to the needle plate ( 32), the bristles on the brush roller (72) collide with the positioning pins (321) on the needle plate (32), and the mounting seat (71) is provided with a device for driving the brush roller (72) a rotating motor (75); and 第一气缸(73),所述第一气缸(73)位于所述安装座(71)靠近刷辊(72)的一端,所述第一气缸(73)的缸体转动设置于安装座(71)上,且所述第一气缸(73)的活塞杆转动设置于机架(1)上。A first air cylinder (73), the first air cylinder (73) is located at one end of the mounting seat (71) close to the brush roller (72), and the cylinder body of the first air cylinder (73) is rotatably arranged on the mounting seat (71) ), and the piston rod of the first cylinder (73) is rotatably arranged on the frame (1). 6.根据权利要求5所述的一种拉幅定型机,其特征在于,所述机架(1)上设置有第二气缸(76),且所述第二气缸(76)的活塞杆与所述安装座(71)相连,所述第二气缸(76)位于安装座(71)远离所述刷辊(72)的一侧,且所述第二气缸(76)活塞杆的伸缩方向垂直于链条(2)的输送方向。6. A tenter setting machine according to claim 5, characterized in that a second air cylinder (76) is provided on the frame (1), and the piston rod of the second air cylinder (76) is connected to the The mounting seat (71) is connected, the second air cylinder (76) is located on the side of the mounting seat (71) away from the brush roller (72), and the telescopic direction of the piston rod of the second air cylinder (76) is vertical in the conveying direction of the chain (2). 7.根据权利要求6所述的一种拉幅定型机,其特征在于,所述机架(1)上设置有吸灰装置,且所述吸灰装置位于所述刷辊(72)的下方,所述吸灰装置包括:7 . The tenter setting machine according to claim 6 , characterized in that an ash suction device is provided on the frame ( 1 ), and the ash suction device is located below the brush roller ( 72 ). 8 . , the ash suction device includes: 集尘箱(61),所述集尘箱(61)设置于所述机架(1)上,且所述集尘箱(61)内设置有过滤件;a dust collecting box (61), the dust collecting box (61) is arranged on the frame (1), and a filter element is arranged in the dust collecting box (61); 吸尘管(62),所述吸尘管(62)连接于所述集尘箱(61),且所述吸尘管(62)的吸风口朝向所述针板(32);以及a dust suction pipe (62), the dust suction pipe (62) is connected to the dust collecting box (61), and the suction port of the dust suction pipe (62) faces the needle plate (32); and 吸尘风机(63),所述吸尘风机(63)设置于所述机架(1)上,所述吸尘风机(63)的抽风口连接有抽风管(631),且所述抽风管(631)与所述集尘箱(61)相连通。A dust suction fan (63), the dust suction fan (63) is arranged on the frame (1), an air suction pipe (631) is connected to the air outlet of the dust suction fan (63), and the suction fan (63) is The air duct (631) communicates with the dust collecting box (61). 8.根据权利要求7所述的一种拉幅定型机,其特征在于,所述集尘箱(61)内开设有滑移腔,且所述滑移腔一端具有与外界相通的通口,所述过滤件为滑移设置于所述滑移腔的滤框(64),且所述滤框(64)靠近所述通口的一侧设置有把手(641),所述吸尘管(62)与所述集尘箱(61)相连一端位于所述滤框(64)的上方,所述抽风管(631)与所述集尘箱(61)相连一端位于所述滤框(64)的下方。8 . The tenter setting machine according to claim 7 , wherein a sliding cavity is opened in the dust collecting box ( 61 ), and one end of the sliding cavity has a port communicating with the outside world. 9 . The filter element is a filter frame (64) slidably arranged in the sliding cavity, and a handle (641) is provided on the side of the filter frame (64) close to the through opening, and the dust suction pipe ( 62) The end connected to the dust collection box (61) is located above the filter frame (64), and the end of the exhaust pipe (631) connected to the dust collection box (61) is located at the filter frame (64). ) below.
CN202022131602.4U 2020-09-24 2020-09-24 Tentering setting machine Expired - Fee Related CN213267120U (en)

Priority Applications (1)

Application Number Priority Date Filing Date Title
CN202022131602.4U CN213267120U (en) 2020-09-24 2020-09-24 Tentering setting machine

Applications Claiming Priority (1)

Application Number Priority Date Filing Date Title
CN202022131602.4U CN213267120U (en) 2020-09-24 2020-09-24 Tentering setting machine

Publications (1)

Publication Number Publication Date
CN213267120U true CN213267120U (en) 2021-05-25

Family

ID=75945303

Family Applications (1)

Application Number Title Priority Date Filing Date
CN202022131602.4U Expired - Fee Related CN213267120U (en) 2020-09-24 2020-09-24 Tentering setting machine

Country Status (1)

Country Link
CN (1) CN213267120U (en)

Cited By (1)

* Cited by examiner, † Cited by third party
Publication number Priority date Publication date Assignee Title
CN116289047A (en) * 2023-03-22 2023-06-23 浙江绍肖印染有限公司 Polyester fiber setting machine suitable for surface micro-modification treatment

Cited By (2)

* Cited by examiner, † Cited by third party
Publication number Priority date Publication date Assignee Title
CN116289047A (en) * 2023-03-22 2023-06-23 浙江绍肖印染有限公司 Polyester fiber setting machine suitable for surface micro-modification treatment
CN116289047B (en) * 2023-03-22 2023-10-20 浙江绍肖印染有限公司 Polyester fiber setting machine suitable for surface micro-modification treatment

Similar Documents

Publication Publication Date Title
CN110790059B (en) Adjustable cloth feeding brush device for spinning and using method
CN213267120U (en) Tentering setting machine
CN213160117U (en) A zeolite molecular sieve rotor that is easy to clean
CN111813192A (en) Hydraulic stretching type slot dust removal device for computer hardware
CN213255845U (en) Forming machine
CN215913439U (en) Board carving machine for customizing clothes
CN213409512U (en) Panel cleaning device
CN120395167A (en) Laser cutting device for processing metal layers of display racks
CN213739831U (en) A textile dust collection device on a cellulose fiber yarn-dyed fabric textile machine
CN220057424U (en) Feeding equipment for carpet production
CN118952385A (en) A building material cutting device for construction engineering
CN220834667U (en) Filter vat type dust filter
CN115502566B (en) Mobile phone glass etching forming equipment
CN114012869B (en) Building wallboard production facility
CN215624917U (en) Conveying device for grid cloth processing
CN212288018U (en) Cabinet door plate edge sealing device
CN211936036U (en) Dust collection processing device of wooden door cutting equipment
CN222642627U (en) A surface cleaning device for furniture panels that is easy to disassemble and assemble
CN215588424U (en) Crankshaft machining, milling and hammering integrated machine
CN222795823U (en) Web cleaning device of carding machine
CN223338026U (en) A dust absorption device for rubber additive production
CN215800568U (en) Surface sundries removing device for fabric composite surface
CN217314671U (en) Dust removal device for dust on surface of wood floor
CN221395424U (en) Automatic production line for aluminum templates
CN220802412U (en) Gas filtering device

Legal Events

Date Code Title Description
GR01 Patent grant
GR01 Patent grant
CF01 Termination of patent right due to non-payment of annual fee

Granted publication date: 20210525

CF01 Termination of patent right due to non-payment of annual fee