CN213259751U - A basalt wool trimming device - Google Patents

A basalt wool trimming device Download PDF

Info

Publication number
CN213259751U
CN213259751U CN202021999416.6U CN202021999416U CN213259751U CN 213259751 U CN213259751 U CN 213259751U CN 202021999416 U CN202021999416 U CN 202021999416U CN 213259751 U CN213259751 U CN 213259751U
Authority
CN
China
Prior art keywords
fixedly connected
basalt wool
lower side
workbench
plate
Prior art date
Legal status (The legal status is an assumption and is not a legal conclusion. Google has not performed a legal analysis and makes no representation as to the accuracy of the status listed.)
Active
Application number
CN202021999416.6U
Other languages
Chinese (zh)
Inventor
李雅男
Current Assignee (The listed assignees may be inaccurate. Google has not performed a legal analysis and makes no representation or warranty as to the accuracy of the list.)
1981 International Construction (Beijing) Co.,Ltd.
Original Assignee
Tongliao Plesde Thermal Insulation Material Co ltd
Priority date (The priority date is an assumption and is not a legal conclusion. Google has not performed a legal analysis and makes no representation as to the accuracy of the date listed.)
Filing date
Publication date
Application filed by Tongliao Plesde Thermal Insulation Material Co ltd filed Critical Tongliao Plesde Thermal Insulation Material Co ltd
Priority to CN202021999416.6U priority Critical patent/CN213259751U/en
Application granted granted Critical
Publication of CN213259751U publication Critical patent/CN213259751U/en
Active legal-status Critical Current
Anticipated expiration legal-status Critical

Links

Images

Landscapes

  • Processing Of Stones Or Stones Resemblance Materials (AREA)

Abstract

本实用新型公开的属于切边装置技术领域,具体为一种玄武岩棉切边装置,包括工作台,所述工作台下端固定连接有支脚,所述工作台上表面左右两侧均固定连接有侧板,左右两侧的所述侧板之间的上端固定连接有顶板,所述顶板下侧通过螺栓连接有电动推杆,所述电动推杆伸缩端下侧固定连接有压板,左右两侧的所述侧板之间的后侧固定连接有第一滑杆,所述第一滑杆数量为两个,且两个所述第一滑杆位置上下对应,将玄武岩棉放置在工作台上,调整好玄武岩棉的位置,通过电动推杆带动压板向下移动,对玄武岩棉进行挤压固定,固定方便,提高工作效率,且由于玄武岩棉大面积与压板接触,提高固定后的稳定性,便于切割。

Figure 202021999416

The utility model disclosed by the utility model belongs to the technical field of edge trimming devices, in particular to a basalt wool edge trimming device, comprising a worktable, the lower end of the worktable is fixedly connected with feet, and the left and right sides of the upper surface of the worktable are fixedly connected with side The upper end between the left and right side plates is fixedly connected with a top plate, the lower side of the top plate is connected with an electric push rod through bolts, and the lower side of the telescopic end of the electric push rod is fixedly connected with a pressure plate, The rear side between the side plates is fixedly connected with a first sliding rod, the number of the first sliding rod is two, and the positions of the two first sliding rods correspond up and down, and the basalt wool is placed on the workbench, Adjust the position of the basalt wool, drive the pressure plate to move down through the electric push rod, and squeeze and fix the basalt wool, which is convenient for fixing and improves work efficiency. cut.

Figure 202021999416

Description

Basalt wool trimming device
Technical Field
The utility model relates to a side cut device technical field specifically is a basalt wool side cut device.
Background
The basalt rock wool products are made up by using high-quality basalt as main raw material, melting at high temp. above 1450 deg.C, high-speed centrifuging by using centrifugal machine to form fibre, at the same time spraying a certain quantity of adhesive, dust-proofing oil and water-repellent agent, collecting by using cotton-collecting machine, utilizing pendulum process, laying cotton by using three-dimensional method, solidifying and cutting so as to obtain the rock wool products with different specifications and uses.
At present, the inconvenient basalt rock wool of fixing of basalt rock wool of current basalt rock wool side cut device, fixed operation wastes time and energy to the reduction is cut edge to the basalt rock wool efficiency, and current basalt rock wool side cut device is relatively poor to basalt rock wool fixed back stability, makes the side cut effect relatively poor.
SUMMERY OF THE UTILITY MODEL
An object of the utility model is to provide a basalt rock wool side cut device to the current basalt rock wool side cut device that has proposed in solving above-mentioned background art is inconvenient fixes the basalt rock wool, and fixed operation wastes time and energy, thereby reduces the efficiency of cutting edge to basalt rock wool, and basalt rock wool is fixed the back stability relatively poor, makes the relatively poor problem of side cut effect.
In order to achieve the above object, the utility model provides a following technical scheme: the basalt wool trimming device comprises a workbench, wherein the lower end of the workbench is fixedly connected with support legs, the left side and the right side of the upper surface of the workbench are fixedly connected with side plates, the upper end between the side plates on the left side and the right side is fixedly connected with a top plate, the lower side of the top plate is connected with an electric push rod through a bolt, the lower side of the telescopic end of the electric push rod is fixedly connected with a pressing plate, the rear side between the side plates on the left side and the right side is fixedly connected with a first slide bar, the number of the first slide bars is two, the two first slide bars are in up-down correspondence, a screw rod is arranged between the first slide bars on the upper side and the lower side, the screw rod is rotatably connected with the side plates on the left side and the right side, the side surface of the side plate on the right side, the screw rod is in threaded connection with the movable plate, a cutting motor is connected to the lower portion of the rear side of the movable plate through a screw, an output shaft of the cutting motor penetrates through the movable plate, a cutter is fixedly connected to the front end of the output shaft of the cutting motor, a cutting groove is formed in the rear side of the workbench, and the lower side of the cutter is located in the cutting groove.
Preferably, a rubber layer is arranged on the lower side of the pressure plate.
Preferably, the upper end of the pressing plate is fixedly connected with a plurality of guide posts, the middle parts of the guide posts are provided with sliding grooves, second sliding rods are connected in the sliding grooves in a sliding mode, and the upper ends of the second sliding rods are fixedly connected with the lower end of the top plate.
Preferably, the number of the guide posts is not less than three.
Preferably, a collecting box is placed on the lower side of the cutting groove.
Preferably, the cutter is perpendicular to the upper end plane of the workbench.
Compared with the prior art, the beneficial effects of the utility model are that:
1) the basalt rock wool is placed on the workbench, the position of the basalt rock wool is adjusted, the pressing plate is driven to move downwards through the electric push rod, the basalt rock wool is extruded and fixed, the fixing is convenient, the working efficiency is improved, and the fixed stability is improved and the cutting is convenient due to the fact that the basalt rock wool is in large-area contact with the pressing plate;
2) the arrangement of the first slide bars on the upper side and the lower side improves the stability of the moving plate when moving and improves the trimming effect;
3) through the setting of second slide bar and guide post, stability when improving the clamp plate and removing avoids the clamp plate crooked, influences fixed effect.
Drawings
FIG. 1 is a schematic structural view of the present invention;
FIG. 2 is a schematic sectional view of the present invention;
fig. 3 is a schematic view of the right-side cross-sectional structure of the position of the movable plate of the present invention.
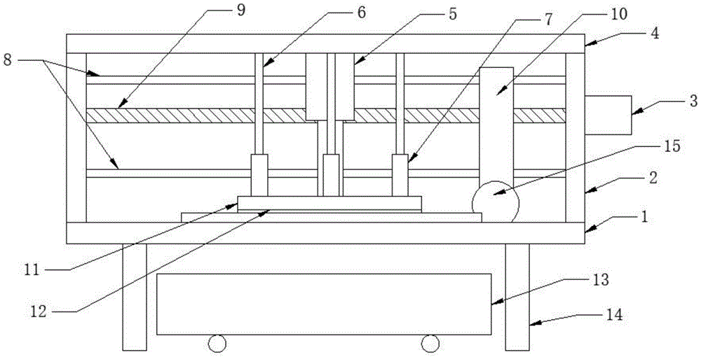
In the figure: the cutting machine comprises a working table 1, a side plate 2, a moving motor 3, a top plate 4, an electric push rod 5, a second slide bar 6, a guide column 7, a first slide bar 8, a screw rod 9, a moving plate 10, a pressing plate 11, a rubber layer 12, a collecting box 13, a supporting leg 14, a cutter 15, a sliding groove 16, a cutting motor 17 and a cutting groove 18.
Detailed Description
The technical solutions in the embodiments of the present invention will be described clearly and completely with reference to the accompanying drawings in the embodiments of the present invention, and it is obvious that the described embodiments are only some embodiments of the present invention, not all embodiments. Based on the embodiments in the present invention, all other embodiments obtained by a person skilled in the art without creative work belong to the protection scope of the present invention.
In the description of the present invention, it should be noted that the terms "upper", "lower", "inner", "outer", "top/bottom", and the like indicate orientations or positional relationships based on the orientations or positional relationships shown in the drawings, and are only for convenience of description and simplification of description, but do not indicate or imply that the device or element referred to must have a specific orientation, be constructed in a specific orientation, and be operated, and thus, should not be construed as limiting the present invention. Furthermore, the terms "first" and "second" are used for descriptive purposes only and are not to be construed as indicating or implying relative importance.
In the description of the present invention, it is to be noted that, unless otherwise explicitly specified or limited, the terms "mounted", "provided", "sleeved/connected", "connected", and the like are to be understood in a broad sense, such as "connected", which may be fixedly connected, detachably connected, or integrally connected; can be mechanically or electrically connected; they may be connected directly or indirectly through intervening media, or they may be interconnected between two elements. The specific meaning of the above terms in the present invention can be understood in specific cases to those skilled in the art.
Example (b):
referring to fig. 1-3, the present invention provides a technical solution: a basalt wool trimming device comprises a workbench 1, basalt wool is placed on the upper surface of the workbench 1, support legs 14 are fixedly connected to the lower end of the workbench 1, side plates 2 are fixedly connected to the left side and the right side of the upper surface of the workbench 1, a top plate 4 is fixedly connected to the upper end between the side plates 2 on the left side and the right side, the top plate 4 is parallel to the workbench 1, an electric push rod 5 is connected to the lower side of the top plate 4 through bolts, a pressing plate 11 is fixedly connected to the lower side of the telescopic end of the electric push rod 5, the pressing plate 11 is parallel to the workbench 1, a first slide bar 8 is fixedly connected to the rear side between the side plates 2 on the left side and the right side, the number of the first slide bars 8 is two, the positions of the first slide bars 8 correspond to each other from top to bottom, a screw rod 9 is arranged between the first slide bars 8 on the upper side and the lower side, the screw, the output shaft of the movable motor 3 is fixedly connected with the right end of the screw rod 9, the output shaft of the movable motor 3 is coaxially arranged with the screw rod 9, a movable plate 10 is slidably connected between the first slide rods 8 on the upper side and the lower side, a slide hole is formed in the movable plate 10, the first slide rods 8 are slidably connected with the movable plate 10 through the slide hole, the screw rod 9 is in threaded connection with the movable plate 10, the movable motor 3 drives the screw rod 9 to rotate, the movable plate 10 can move, a cutting motor 17 is connected to the lower portion of the rear side of the movable plate 10 through screws, the output shaft of the cutting motor 17 penetrates through the movable plate 10, a cutter 15 is fixedly connected to the front end of the output shaft of the cutting motor 17, a cutting groove 18 is formed in the rear side of the workbench 1, the lower side of the cutter 15 is located in the cutting.
The rubber layer 12 is arranged on the lower side of the pressing plate 11, so that the pressing plate 11 is in flexible contact with the basalt wool, and the basalt wool is prevented from being damaged.
The utility model discloses a clamp plate, including clamp plate 11, roof 4, slide groove 16, second slide bar 6, the stability when clamp plate 11 removes is improved to a plurality of guide posts 7 of clamp plate 11 upper end fixedly connected with, slide groove 16 has been seted up at guide post 7 middle part, sliding connection has second slide bar 6 in the slide groove 16, second slide bar 6 upper end and roof 4 lower extreme fixed connection avoid clamp plate 11 crooked, influence fixed effect.
The number of the guide posts 7 is not less than three.
A collection box 13 is arranged at the lower side of the cutting groove 18 and used for collecting chips falling after cutting.
The cutting knife 15 is vertical to the upper end plane of the workbench 1.
The working principle is as follows: place basalt rock wool on workstation 1, the position of basalt rock wool has been adjusted, drive clamp plate 11 downstream through electric putter 5, it is fixed to extrude basalt rock wool, because basalt rock wool large tracts of land and clamp plate 11 contact, improve the stability after fixing, be convenient for cut, it rotates to drive screw rod 9 through moving motor 3, make movable plate 10 remove, cutting motor 17 drives cutter 15 simultaneously and rotates, cutter 15 after the rotation follows movable plate 10 and removes, cut edge to basalt rock wool, piece after the cutting falls into collecting box 13 from cutting cut groove 18, be convenient for collect.
Having shown and described the basic principles and principal features of the invention and advantages thereof, it will be apparent to those skilled in the art that the invention is not limited to the details of the foregoing exemplary embodiments, but is capable of other specific forms without departing from the spirit or essential characteristics thereof; the present embodiments are therefore to be considered in all respects as illustrative and not restrictive, the scope of the invention being indicated by the appended claims rather than by the foregoing description, and all changes which come within the meaning and range of equivalency of the claims are therefore intended to be embraced therein, and any reference signs in the claims are not intended to be construed as limiting the claim concerned.
Although embodiments of the present invention have been shown and described, it will be appreciated by those skilled in the art that changes, modifications, substitutions and alterations can be made in these embodiments without departing from the principles and spirit of the invention, the scope of which is defined in the appended claims and their equivalents.

Claims (6)

1. The utility model provides a basalt wool side cut device, includes workstation (1), its characterized in that: the lower end of the workbench (1) is fixedly connected with support legs (14), the left side and the right side of the upper surface of the workbench (1) are fixedly connected with side plates (2), the upper end between the side plates (2) on the left side and the right side is fixedly connected with a top plate (4), the lower side of the top plate (4) is connected with an electric push rod (5) through bolts, the lower side of the telescopic end of the electric push rod (5) is fixedly connected with a pressing plate (11), the rear side between the side plates (2) on the left side and the right side is fixedly connected with a first slide bar (8), the number of the first slide bars (8) is two, the two first slide bars (8) correspond to each other up and down in position, a screw rod (9) is arranged between the first slide bars (8) on the upper side and the lower side, the screw rod (9) is rotatably connected with the side plates, the movable type cutting machine is characterized in that an output shaft of the movable motor (3) is fixedly connected with the right end of the screw rod (9), the upper side and the lower side of the movable motor are respectively and slidably connected with a movable plate (10) between the first sliding rods (8), the screw rod (9) is in threaded connection with the movable plate (10), a cutting motor (17) is connected to the lower side of the rear side of the movable plate (10) through screws, an output shaft of the cutting motor (17) penetrates through the movable plate (10), a cutter (15) is fixedly connected to the front end of the output shaft of the cutting motor (17), a cutting groove (18) is formed in the rear side of the workbench (1), and the lower side of.
2. The basalt wool trimming device according to claim 1, wherein: and a rubber layer (12) is arranged on the lower side of the pressure plate (11).
3. The basalt wool trimming device according to claim 1, wherein: the guide post structure is characterized in that a plurality of guide posts (7) are fixedly connected to the upper end of the pressing plate (11), a sliding groove (16) is formed in the middle of each guide post (7), a second sliding rod (6) is slidably connected to the sliding groove (16), and the upper end of the second sliding rod (6) is fixedly connected with the lower end of the top plate (4).
4. The basalt wool trimming apparatus according to claim 3, wherein: the number of the guide posts (7) is not less than three.
5. The basalt wool trimming device according to claim 1, wherein: and a collecting box (13) is arranged on the lower side of the cutting groove (18).
6. The basalt wool trimming device according to claim 1, wherein: the cutter (15) is vertical to the upper end plane of the workbench (1).
CN202021999416.6U 2020-09-14 2020-09-14 A basalt wool trimming device Active CN213259751U (en)

Priority Applications (1)

Application Number Priority Date Filing Date Title
CN202021999416.6U CN213259751U (en) 2020-09-14 2020-09-14 A basalt wool trimming device

Applications Claiming Priority (1)

Application Number Priority Date Filing Date Title
CN202021999416.6U CN213259751U (en) 2020-09-14 2020-09-14 A basalt wool trimming device

Publications (1)

Publication Number Publication Date
CN213259751U true CN213259751U (en) 2021-05-25

Family

ID=75941199

Family Applications (1)

Application Number Title Priority Date Filing Date
CN202021999416.6U Active CN213259751U (en) 2020-09-14 2020-09-14 A basalt wool trimming device

Country Status (1)

Country Link
CN (1) CN213259751U (en)

Cited By (1)

* Cited by examiner, † Cited by third party
Publication number Priority date Publication date Assignee Title
CN117945637A (en) * 2024-03-27 2024-04-30 河南富源岩棉有限公司 Cotton collecting mechanism for rock wool production and cotton collecting machine thereof

Cited By (1)

* Cited by examiner, † Cited by third party
Publication number Priority date Publication date Assignee Title
CN117945637A (en) * 2024-03-27 2024-04-30 河南富源岩棉有限公司 Cotton collecting mechanism for rock wool production and cotton collecting machine thereof

Similar Documents

Publication Publication Date Title
CN213259751U (en) A basalt wool trimming device
CN218083047U (en) Shearing mechanism is used in electric power pipe production
CN201970406U (en) Ceramic tile cutting machine
CN220196440U (en) High-precision quick tool changing structure of milling machine
CN216441774U (en) Quick cutting device is used in aluminum product production
CN213499450U (en) Thermoplastic felt processing device convenient for controlling cutting size
CN212217481U (en) Laser cutting auxiliary device
CN211104218U (en) Accurate quick cutting device of EPS heated board
CN217195898U (en) Sliding table saw for high-precision cutting
CN222155753U (en) A MPP power cable protection tube cutting machine
CN222177950U (en) Building insulation board cutting fixing device
CN215627614U (en) Rotary feed's toughened glass cutting machine
CN221109735U (en) A steel bar cutting machine
CN216068864U (en) Device is tailor to environmental protection carton high accuracy
CN222245732U (en) Flash pressing and cutting device for rubber products
CN220533257U (en) Multi-angle adjustment's laser cutting machine
CN209887741U (en) Cutting device is used in composite sheet production
CN221021197U (en) Grooving machine with protection function
CN221210075U (en) Building material cutting device for civil engineering
CN222308960U (en) A cutting vibration knife machine with a combined knife head
CN218310593U (en) Steel bar cutting machine
CN214769304U (en) A high-precision cutting equipment for producing dance bars
CN221134293U (en) Door frame double-end saw cuts machine
CN216706352U (en) Organic glass panel scriber transverse cutting device
CN222818166U (en) Laser slicer of half battery piece

Legal Events

Date Code Title Description
GR01 Patent grant
GR01 Patent grant
TR01 Transfer of patent right
TR01 Transfer of patent right

Effective date of registration: 20251113

Address after: 100000 No. 2, Building 2, 4th Floor, Room 405, Guaxiang Road, Panggezhuang Town, Daxing District, Beijing

Patentee after: 1981 International Construction (Beijing) Co.,Ltd.

Country or region after: China

Address before: 028000 Inner Mongolia Autonomous Region Tongliao City Kailu County Kailu Town Nanguan Village 8-13 #

Patentee before: Tongliao plesde thermal insulation material Co.,Ltd.

Country or region before: China