CN213257029U - Band iron staple bolt forming die equipment - Google Patents
Band iron staple bolt forming die equipment Download PDFInfo
- Publication number
- CN213257029U CN213257029U CN202022195892.9U CN202022195892U CN213257029U CN 213257029 U CN213257029 U CN 213257029U CN 202022195892 U CN202022195892 U CN 202022195892U CN 213257029 U CN213257029 U CN 213257029U
- Authority
- CN
- China
- Prior art keywords
- bolt
- die carrier
- mould
- die
- band iron
- Prior art date
- Legal status (The legal status is an assumption and is not a legal conclusion. Google has not performed a legal analysis and makes no representation as to the accuracy of the status listed.)
- Active
Links
- XEEYBQQBJWHFJM-UHFFFAOYSA-N Iron Chemical compound [Fe] XEEYBQQBJWHFJM-UHFFFAOYSA-N 0.000 title claims abstract description 92
- 229910052742 iron Inorganic materials 0.000 title claims abstract description 46
- 238000003466 welding Methods 0.000 claims abstract description 9
- 238000003860 storage Methods 0.000 claims abstract description 7
- 238000001816 cooling Methods 0.000 claims description 23
- 238000012856 packing Methods 0.000 claims description 5
- 238000009434 installation Methods 0.000 abstract description 6
- 238000004519 manufacturing process Methods 0.000 abstract description 6
- 238000005266 casting Methods 0.000 abstract description 5
- 239000007788 liquid Substances 0.000 abstract description 5
- 238000004512 die casting Methods 0.000 abstract description 3
- 238000007493 shaping process Methods 0.000 description 7
- 239000002994 raw material Substances 0.000 description 6
- 239000000110 cooling liquid Substances 0.000 description 4
- 230000000694 effects Effects 0.000 description 4
- 238000000034 method Methods 0.000 description 4
- 239000002184 metal Substances 0.000 description 3
- 229910052751 metal Inorganic materials 0.000 description 3
- 230000005574 cross-species transmission Effects 0.000 description 2
- FGRBYDKOBBBPOI-UHFFFAOYSA-N 10,10-dioxo-2-[4-(N-phenylanilino)phenyl]thioxanthen-9-one Chemical compound O=C1c2ccccc2S(=O)(=O)c2ccc(cc12)-c1ccc(cc1)N(c1ccccc1)c1ccccc1 FGRBYDKOBBBPOI-UHFFFAOYSA-N 0.000 description 1
- 230000004075 alteration Effects 0.000 description 1
- 230000009286 beneficial effect Effects 0.000 description 1
- 238000010586 diagram Methods 0.000 description 1
- 238000002347 injection Methods 0.000 description 1
- 239000007924 injection Substances 0.000 description 1
- 238000012986 modification Methods 0.000 description 1
- 230000004048 modification Effects 0.000 description 1
- 230000010412 perfusion Effects 0.000 description 1
- 239000000243 solution Substances 0.000 description 1
- 229910001220 stainless steel Inorganic materials 0.000 description 1
- 239000010935 stainless steel Substances 0.000 description 1
- 238000006467 substitution reaction Methods 0.000 description 1
Images
Landscapes
- Bending Of Plates, Rods, And Pipes (AREA)
Abstract
The utility model discloses a band iron staple bolt forming die equipment, the on-line screen storage device comprises a base, the welding of base top has the supporting seat, die carrier is installed down to supporting seat top bolt, the mould standing groove has been seted up on die carrier top surface down, the mould is installed to the inside buckle of mould standing groove, the welding of base top has the support frame, the back timber is installed to support frame top bolt, electric putter is installed to back timber bottom bolt, the die carrier is installed to electric putter bottom bolt, go up die carrier bottom buckle and install the cope match-plate pattern. The utility model discloses an electric putter of back timber bottom bolt installation conveniently promotes the cope match-plate pattern and pushes down, and the demand of band iron staple bolt die-casting production is accomplished to mould in the die carrier under the cooperation, has seted up the hole of filling through cope match-plate pattern bottom surface simultaneously, and the convenient metallic liquid that will pour the band iron staple bolt according to demand cooperation input chamber pours into the mould die cavity to accomplish the casting of band iron staple bolt.
Description
Technical Field
The utility model relates to a band iron staple bolt processing equipment correlation technique field specifically is a band iron staple bolt forming die equipment.
Background
The hoop device consists of a hoop plate, a wing plate, a tie rib plate, a bolt and an inner lining pad. The staple bolt has good multiple, and the cable staple bolt, the wire pole staple bolt, the staple bolt of acting as go-between, the messenger's staple bolt, the stainless steel staple bolt all is more commonly used, and embedded staple bolt, it is formed by connecting after closing left and right two halves piece staple bolts, and left and right two halves piece staple bolts all are the semicircle ring-type, and the semicircle ring both ends are outwards buckled, respectively form an installation ear, its characterized in that: the mounting lug of one end of the left half hoop is provided with an embedded groove, correspondingly, the mounting lug of the corresponding end of the right half hoop matched with the mounting lug is provided with a pin shaft, and the pin shaft on the mounting lug of one end of the right half hoop is embedded into the embedded groove on the mounting lug of one end of the left half hoop.
A flat iron hoop forming die device is a device for producing a flat iron hoop.
But the general volume of current band iron staple bolt forming die equipment is great, and use cost is higher, and processing mode is single, can't satisfy the user demand, and traditional band iron staple bolt forming die equipment drawing of patterns is inconvenient simultaneously. Therefore, the flat iron hoop forming die equipment is provided.
SUMMERY OF THE UTILITY MODEL
An object of the utility model is to provide a band iron staple bolt forming die equipment to solve general volume great of current band iron staple bolt forming die equipment among the above-mentioned background art, use cost is higher, and processing mode is single, can't satisfy the user demand, the inconvenient problem of the band iron staple bolt forming die equipment drawing of patterns of tradition simultaneously.
In order to achieve the above object, the utility model provides a following technical scheme: the utility model provides a band iron staple bolt forming die equipment, includes the base, the welding of base top has the supporting seat, die carrier is installed down to supporting seat top bolt, the mould standing groove has been seted up to die carrier top surface down, the mould is installed to the inside buckle of mould standing groove, the welding of base top has the support frame, the back timber is installed to support frame top bolt, electric putter is installed to back timber bottom bolt, the die carrier is installed to electric putter bottom bolt, go up die carrier bottom buckle and install the cope match-plate pattern.
Preferably, the pouring hole has been seted up on cope match-plate pattern bottom surface, go up mold frame one side skin weld has the input chamber, the input chamber communicates with the hole inside each other that pours, the pouring hole is located directly over the mould die cavity, has seted up the pouring hole through cope match-plate pattern bottom surface, and the convenient metallic liquid that will pour the band iron staple bolt according to demand cooperation input chamber pours into the mould die cavity to accomplish the casting of band iron staple bolt.
Preferably, the inside pressure release hole of having seted up of mould die cavity, the bottom plate is installed to lower die holder bottom buckle, bottom plate top surface mosaic has the packing post, the packing post is inserted and is detained in the pressure release hole, has seted up the pressure release hole through mould die cavity is inside, conveniently carries out the pressure release to mould die cavity is inside to avoid the inside condition emergence that leads to the band iron staple bolt after the shaping to produce the vacuum in mould die cavity to be difficult to the drawing of patterns, has inlayed the packing post through lower die holder bottom plate top surface simultaneously, conveniently blocks up the pressure release hole, thereby avoids the in-process of processing production band iron staple bolt to appear that the raw materials leaks the condition emergence.
Preferably, lower die carrier is inside to be inlayed and to have the circulation cooling pipe, and circulation cooling pipe both ends are located lower die carrier side surface respectively, and it has the circulation cooling pipe to inlay through lower die carrier is inside, and the pipeline of convenient and cooling system communicates each other to make cooling liquid at the inside flow of circulation cooling pipe, strengthen the inside radiating effect of die carrier down, thereby accelerate the cooling shaping of band iron staple bolt.
Preferably, lower die carrier top surface mosaic has the guide post, the guide post is inserted and is detained in the cope match-plate pattern, has the guide post through lower die carrier top surface mosaic, conveniently aligns each other with lower die carrier when the cope match-plate pattern descends, avoids taking place the skew between die carrier and the cope match-plate pattern down, leads to the condition emergence that the raw materials spilled over.
Preferably, the storage battery is installed to support frame one side surface bolt, and the storage battery through support frame one side surface bolt installation conveniently provides the work electric quantity to whole device to make things convenient for whole equipment to remove the use.
The utility model provides a band iron staple bolt forming die equipment possesses following beneficial effect:
(1) the utility model discloses an electric putter of back timber bottom bolt installation, conveniently promote the cope match-plate pattern and push down, mould in the die carrier under the cooperation, accomplish the demand of band iron staple bolt die-casting production, the hole of filling has been seted up through cope match-plate pattern bottom surface simultaneously, the convenient metal liquid that will pour the band iron staple bolt according to demand cooperation input cavity pours into the mould die cavity into, thereby accomplish the casting of band iron staple bolt, the pressure release hole has been seted up through mould die cavity inside, conveniently carry out the pressure release to mould die cavity inside, thereby avoid the inside condition emergence that leads to the band iron staple bolt after the shaping to be difficult to the drawing of patterns of vacuum that produces of mould die cavity, die carrier bottom plate top surface mosaic has the filling post simultaneously, conveniently block up the pressure release hole, thereby avoid the in-process of processing production band iron staple bolt to appear the condition emergence.
(2) The utility model discloses an inside the inlaying of die carrier has circulation cooling pipe down, the convenient pipeline with cooling system communicates each other, thereby make cooling liquid at the inside flow of circulation cooling pipe, strengthen the inside radiating effect of die carrier down, thereby the cooling shaping of band iron staple bolt with higher speed, it has the guide post to inlay through die carrier top surface down, conveniently align each other with the lower die carrier when the cope match-plate pattern descends, take place the skew down between die carrier and the cope match-plate pattern, the condition that leads to the raw materials to spill over takes place, battery through support frame one side surface bolt installation, conveniently provide work electric quantity to whole device, thereby make things convenient for whole equipment to remove the use.
Drawings
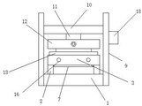
Fig. 1 is a schematic view of the overall structure of the present invention;
FIG. 2 is a top view of the lower mold frame of the present invention;
fig. 3 is a top view of the bottom plate structure of the present invention;
fig. 4 is the schematic diagram of the internal structure of the upper plate of the present invention.
In the figure: 1. a base; 2. a supporting seat; 3. a lower die frame; 4. a mould placing groove; 5. a mold; 6. a base plate; 7. a base plate; 8. filling a column; 9. a support frame; 10. a top beam; 11. an electric push rod; 12. feeding a mold frame; 13. mounting a template; 14. an input chamber; 15. a perfusion hole; 16. a circulating cooling pipe; 17. a guide post; 18. and (4) a storage battery.
Detailed Description
The technical solution in the embodiments of the present invention will be clearly and completely described below with reference to the accompanying drawings in the embodiments of the present invention.
As shown in fig. 1-4, the utility model provides a technical scheme: the utility model provides a band iron staple bolt forming die equipment, includes base 1, the welding of 1 top of base has supporting seat 2, die carrier 3 is installed to 2 top bolts of supporting seat, mould standing groove 4 has been seted up on 3 top surfaces of lower die carrier, mould 5 is installed to the inside buckle of mould standing groove 4, the welding of 1 top of base has support frame 9, back timber 10 is installed to support frame 9 top bolt, electric putter 11 is installed to back timber 10 bottom bolt, die carrier 12 is installed to electric putter 11 bottom bolt, go up die carrier 12 bottom buckle and install cope match-plate pattern 13.
Preferably, the pouring hole 15 has been seted up on the 13 bottom surfaces of cope match-plate pattern, the surface welding of 12 one side of cope match-plate pattern has input chamber 14, input chamber 14 and the inside intercommunication each other of pouring hole 15, pouring hole 15 is located directly over 5 die cavities of mould, has seted up pouring hole 15 through 13 bottom surfaces of cope match-plate pattern, and the convenience cooperates input chamber 14 to pour the metal liquid injection mould 5 die cavities of band iron staple bolt as required in to accomplish the casting of band iron staple bolt.
Preferably, pressure release hole 6 has been seted up to 5 die cavities of mould, bottom plate 7 is installed to 3 bottom buckles of die carrier down, 7 top surface mosaic of bottom plate have packed column 8, 8 eye-splices of packed column have seted up pressure release hole 6 in pressure release hole 6 through 5 die cavities of mould inside, conveniently carry out the pressure release to 5 die cavities of mould to avoid 5 die cavities of mould inside to produce the condition emergence that the vacuum leads to the band iron staple bolt after the shaping to be difficult to the drawing of patterns, 7 top surface mosaics of bottom plate 7 bottom plate of die carrier 3 bottom simultaneously have packed column 8 through lower die carrier, conveniently block up pressure release hole 6, thereby avoid the in-process of production band iron staple bolt the condition emergence that the raw materials leaked to appear in processing.
Preferably, lower die carrier 3 is inside to be inlayed and to have circulation cooling pipe 16, and circulation cooling pipe 16 both ends are located 3 side surfaces of die carrier down respectively, and it has circulation cooling pipe 16 to inlay through 3 insides of lower die carrier, and the pipeline of convenient and cooling system communicates each other to make cooling liquid flow in circulation cooling pipe 16 is inside, strengthen the radiating effect of 3 inside of die carrier down, thereby accelerate the cooling shaping of band iron staple bolt.
Preferably, 3 top surface inlays of die carrier down have guide post 17, guide post 17 eye-splice has guide post 17 in cope match- plate pattern 13, and 3 top surface inlays through die carrier down has guide post 17, conveniently aligns each other with lower die carrier 3 when cope match-plate pattern 13 descends, avoids taking place the skew down between die carrier 3 and the cope match-plate pattern 13, leads to the condition emergence that the raw materials spilled over.
Preferably, the storage battery 18 is installed on one side surface of the support frame 9 through a bolt, and the storage battery 18 is installed on one side surface of the support frame 9 through a bolt, so that working electric quantity is conveniently provided for the whole device, and the whole device is convenient to move and use.
According to the working principle, an electric push rod 11 installed through a bolt at the bottom end of a top beam 10 is used for conveniently pushing an upper template 13 to press downwards to match a mold 5 in a lower mold frame 3 to meet the requirement of die-casting production of a flat iron hoop, meanwhile, a filling hole 15 is formed in the bottom end surface of the upper template 13, so that metal liquid for pouring the flat iron hoop can be conveniently injected into a mold groove of the mold 5 through a matching input cavity 14 according to the requirement, the casting of the flat iron hoop is completed, a pressure relief hole 6 is formed in the mold groove of the mold 5, the pressure relief is conveniently carried out in the mold groove of the mold 5, the situation that the formed flat iron hoop is difficult to demould due to vacuum generated in the mold groove of the mold 5 is avoided, meanwhile, a filling column 8 is embedded in the top end surface of a bottom plate 7 at the bottom end of the lower mold frame 3, so that the pressure relief hole 6 is conveniently blocked, through 3 inside inlays of die carrier down have circulation cooling tube 16, convenient and cooling system's pipeline communicates each other, thereby make cooling liquid flow in circulation cooling tube 16 inside, strengthen the inside radiating effect of die carrier 3 down, thereby accelerate the cooling shaping of band iron staple bolt, it has guide post 17 to inlay through 3 top surfaces of die carrier down, conveniently align each other with die carrier 3 when cope match-plate pattern 13 descends, avoid taking place the skew down between die carrier 3 and the cope match-plate pattern 13, the condition that leads to the raw materials to spill over takes place, battery 18 through the installation of support frame 9 one side surface bolt, conveniently provide the work electric quantity to whole device, thereby make things convenient for whole equipment to remove the use.
Although embodiments of the present invention have been shown and described, it will be appreciated by those skilled in the art that changes, modifications, substitutions and alterations can be made in these embodiments without departing from the principles and spirit of the invention, the scope of which is defined in the appended claims and their equivalents.
Claims (6)
1. The utility model provides a band iron staple bolt forming die equipment, includes base (1), its characterized in that: the welding of base (1) top has supporting seat (2), die carrier (3) are installed down to supporting seat (2) top bolt, mould standing groove (4) have been seted up on die carrier (3) top surface down, mould (5) are installed to the inside buckle of mould standing groove (4), the welding of base (1) top has support frame (9), back timber (10) are installed to support frame (9) top bolt, electric putter (11) are installed to back timber (10) bottom bolt, die carrier (12) are installed to electric putter (11) bottom bolt, cope match-plate pattern (13) are installed to last die carrier (12) bottom buckle.
2. The flat iron hoop forming die equipment as claimed in claim 1, wherein: filling hole (15) have been seted up on cope match-plate pattern (13) bottom surface, go up die carrier (12) one side skin weld has input chamber (14), input chamber (14) and filling hole (15) inside intercommunication each other, filling hole (15) are located mould (5) chase directly over.
3. The flat iron hoop forming die equipment as claimed in claim 1, wherein: pressure release hole (6) have been seted up to mould (5) die cavity inside, bottom plate (7) are installed to lower die carrier (3) bottom buckle, bottom plate (7) top surface mosaic has packing column (8), packing column (8) eye-splice is in pressure release hole (6).
4. The flat iron hoop forming die equipment as claimed in claim 1, wherein: lower die carrier (3) inside is inlayed and is had circulation cooling pipe (16), and circulation cooling pipe (16) both ends are located die carrier (3) one side surface down respectively.
5. The flat iron hoop forming die equipment as claimed in claim 1, wherein: the top surface of the lower die carrier (3) is inlaid with a guide column (17), and the guide column (17) is inserted and buckled in the upper die plate (13).
6. The flat iron hoop forming die equipment as claimed in claim 1, wherein: and a storage battery (18) is mounted on the surface of one side of the support frame (9) through bolts.
Priority Applications (1)
| Application Number | Priority Date | Filing Date | Title |
|---|---|---|---|
| CN202022195892.9U CN213257029U (en) | 2020-09-30 | 2020-09-30 | Band iron staple bolt forming die equipment |
Applications Claiming Priority (1)
| Application Number | Priority Date | Filing Date | Title |
|---|---|---|---|
| CN202022195892.9U CN213257029U (en) | 2020-09-30 | 2020-09-30 | Band iron staple bolt forming die equipment |
Publications (1)
| Publication Number | Publication Date |
|---|---|
| CN213257029U true CN213257029U (en) | 2021-05-25 |
Family
ID=75946987
Family Applications (1)
| Application Number | Title | Priority Date | Filing Date |
|---|---|---|---|
| CN202022195892.9U Active CN213257029U (en) | 2020-09-30 | 2020-09-30 | Band iron staple bolt forming die equipment |
Country Status (1)
| Country | Link |
|---|---|
| CN (1) | CN213257029U (en) |
-
2020
- 2020-09-30 CN CN202022195892.9U patent/CN213257029U/en active Active
Similar Documents
| Publication | Publication Date | Title |
|---|---|---|
| CN213856928U (en) | Valve die produced through sand casting | |
| CN213257029U (en) | Band iron staple bolt forming die equipment | |
| CN212419584U (en) | High-pressure casting machine | |
| CN213916001U (en) | Cast aluminum die suitable for flywheel housing manufacturing | |
| CN218532766U (en) | Novel metallurgical casting drawing of patterns device | |
| CN216297910U (en) | Combined sand core of V-method molding machine for casting axle housing | |
| CN206882576U (en) | A kind of shaped device of iron clad angle steel | |
| CN211965874U (en) | Disc type die-casting die structure | |
| CN205393471U (en) | Full -automatic moulding machine | |
| CN212822546U (en) | Automatic molding machine of formula of pressing from top to bottom | |
| CN100404169C (en) | Aluminum Alloy Diesel Engine Frame Casting Mold and Casting Method | |
| CN208976815U (en) | Thick-wall aluminum alloy casting metal type dies | |
| CN210098893U (en) | Copper sheathing casting mould | |
| CN212976452U (en) | Novel hard alloy material mould convenient to heat dissipation | |
| CN201889395U (en) | Detachable tin wire casting mould | |
| CN210387448U (en) | Forging die for camshaft machining | |
| CN214867146U (en) | A die-casting mold for lower cover of medical equipment | |
| CN218744699U (en) | Stable three-layer wax pattern mould that waters of compound die | |
| CN210590210U (en) | Nodular cast iron mould for self-skinning production | |
| CN210820638U (en) | Carry box one shot forming mould | |
| CN215697878U (en) | Medical equipment upper cover deep hole position pressurize die mould | |
| CN215315513U (en) | Simple sand mold device suitable for shell processing | |
| CN220679284U (en) | Casting mold for manufacturing thick and large castings | |
| CN220636230U (en) | Lost wax casting die structure | |
| CN214814577U (en) | Sand mould cable protector small clip structure |
Legal Events
| Date | Code | Title | Description |
|---|---|---|---|
| GR01 | Patent grant | ||
| GR01 | Patent grant |