CN213256248U - 一种兽医站用废弃物处理设备 - Google Patents
一种兽医站用废弃物处理设备 Download PDFInfo
- Publication number
- CN213256248U CN213256248U CN202022220652.XU CN202022220652U CN213256248U CN 213256248 U CN213256248 U CN 213256248U CN 202022220652 U CN202022220652 U CN 202022220652U CN 213256248 U CN213256248 U CN 213256248U
- Authority
- CN
- China
- Prior art keywords
- frame
- fixedly connected
- motor
- handling
- filter screen
- Prior art date
- Legal status (The legal status is an assumption and is not a legal conclusion. Google has not performed a legal analysis and makes no representation as to the accuracy of the status listed.)
- Active
Links
- 239000002699 waste material Substances 0.000 title claims abstract description 37
- 239000007788 liquid Substances 0.000 claims abstract description 43
- 230000007246 mechanism Effects 0.000 claims abstract description 11
- 238000003756 stirring Methods 0.000 claims description 19
- 239000003814 drug Substances 0.000 claims description 15
- 230000008878 coupling Effects 0.000 claims description 9
- 238000010168 coupling process Methods 0.000 claims description 9
- 238000005859 coupling reaction Methods 0.000 claims description 9
- 230000005540 biological transmission Effects 0.000 claims description 2
- 230000000694 effects Effects 0.000 abstract description 14
- 238000000926 separation method Methods 0.000 abstract description 9
- 238000003912 environmental pollution Methods 0.000 abstract description 8
- 239000002910 solid waste Substances 0.000 abstract description 5
- 239000010865 sewage Substances 0.000 description 4
- 230000008859 change Effects 0.000 description 1
- 238000003745 diagnosis Methods 0.000 description 1
- 230000006806 disease prevention Effects 0.000 description 1
- 239000012530 fluid Substances 0.000 description 1
- 230000006872 improvement Effects 0.000 description 1
- 244000144972 livestock Species 0.000 description 1
- 238000000968 medical method and process Methods 0.000 description 1
- 244000005700 microbiome Species 0.000 description 1
- 238000006467 substitution reaction Methods 0.000 description 1
Images
Landscapes
- Processing Of Solid Wastes (AREA)
Abstract
本实用新型公开了一种兽医站用废弃物处理设备,包括处理框,所述处理框的顶部设置有粉碎装置,所述处理框的顶部固定连接有入料口,所述处理框的内部固定连接有过滤网,所述过滤网的底部固定连接有集液斗,本实用新型涉及兽医技术领域。该一种兽医站用废弃物处理设备,达到了处理框、粉碎装置、入料口、过滤网、集液斗、连接管、搅拌装置、排污口、收集框与立柱组成一个整体,将废弃物投入处理框中,粉碎装置对废弃物进行粉碎,落入过滤网进行固液分离,集液斗对液体进行收集,汇入搅拌装置进行处理,而被拦截的固体废弃物,则落入收集框中进行收集,提高处理效果,减少环境污染,方便工作人员进行使用,满足使用需求的目的。
Description
技术领域
本实用新型涉及兽医领域,更具体地说,涉及一种兽医站用废弃物处理设备。
背景技术
兽医是指给动物进行疾病预防、诊断并治疗的医生。具体说来说,兽医是利用医学方法促进动物机体与微生物和自然环境相互协调的一类工作者。兽医在对牲畜进行治疗的过程中,会产生大量废弃物,这些废弃物不能随意丢弃,容易造成环境污染,需要采用兽医站用废弃物处理设备进行处理。目前,现有的兽医站用废弃物处理设备,结构单一,不便于对废弃物进行破碎,导致废弃物不能进行固液分离,进而处理效果低下,容易造成环境污染,无法满足使用需求。
实用新型内容
1.要解决的技术问题
针对现有技术中存在的现有的兽医站用废弃物处理设备,结构单一,不便于对废弃物进行破碎,导致废弃物不能进行固液分离,进而处理效果低下,容易造成环境污染,无法满足使用需求的问题,本实用新型的目的在于提供一种兽医站用废弃物处理设备,它可以实现处理框、粉碎装置、入料口、过滤网、集液斗、连接管、搅拌装置、排污口、收集框与立柱组成一个整体,将废弃物投入处理框中,粉碎装置对废弃物进行粉碎,落入过滤网进行固液分离,集液斗对液体进行收集,汇入搅拌装置进行处理,而被拦截的固体废弃物,则落入收集框中进行收集,提高处理效果,减少环境污染,方便工作人员进行使用,满足使用需求。
2.技术方案
为解决上述问题,本实用新型采用如下的技术方案。
一种兽医站用废弃物处理设备,包括处理框,所述处理框的顶部设置有粉碎装置,所述处理框的顶部固定连接有入料口,所述处理框的内部固定连接有过滤网,所述过滤网的底部固定连接有集液斗,所述集液斗的底部固定连接有连接管,所述处理框的内部固定连接有搅拌装置,所述连接管与搅拌装置固定连接,所述搅拌装置的底部固定连接有排污口,所述处理框的右侧设置有收集框,所述处理框的底部固定连接有立柱。
优选的,所述粉碎装置包括电机架,所述电机架与处理框固定连接,所述电机架固定连接有第一电机,所述第一电机的输出轴固定连接有联轴器,所述第一电机通过联轴器固定连接有转动轴,所述转动轴与处理框转动连接,所述转动轴位于处理框内部的一端固定连接有粉碎刀具。
优选的,所述搅拌装置包括固定框,所述固定框的内部固定连接有电机框,所述电机框的内壁固定连接有第二电机,所述第二电机的输出轴固定连接有主齿轮,所述主齿轮啮合传动有副齿轮,所述副齿轮的轴心处固定连接有连接轴,所述连接轴与固定框的内壁固定连接,所述连接轴的表面固定连接有搅拌架。
优选的,所述处理框的内壁固定连接有药水框,所述药水框的侧壁固定连接有导管,所述导管远离药水框的一端与固定框固定连接,所述导管的表面设置有阀门。
3.有益效果
相比于现有技术,本实用新型的优点在于:通过处理框、粉碎装置、入料口、过滤网、集液斗、连接管、搅拌装置、排污口、收集框与立柱组成一个整体,将废弃物投入处理框中,粉碎装置对废弃物进行粉碎,落入过滤网进行固液分离,集液斗对液体进行收集,汇入搅拌装置进行处理,而被拦截的固体废弃物,则落入收集框中进行收集,提高处理效果,减少环境污染,方便工作人员进行使用,设置粉碎装置,第一电机工作,带动联轴器转动,带动转动轴转动,带动粉碎刀具转动,对投入的废弃物进行粉碎,便于后期进行固液分离,提高处理效果,设置搅拌装置,便于对固定框内的废弃液体进行搅拌,便于将处理的药水加入处理液,第二电机工作,带动主齿轮转动,带动副齿轮转动,带动连接轴转动,带动搅拌架转动,提高药水混合效率,提高污水处理效果,设置药水框,便于往固定框内添加处理液,对废弃液进行搅拌,提高处理效果,达到了处理框、粉碎装置、入料口、过滤网、集液斗、连接管、搅拌装置、排污口、收集框与立柱组成一个整体,将废弃物投入处理框中,粉碎装置对废弃物进行粉碎,落入过滤网进行固液分离,集液斗对液体进行收集,汇入搅拌装置进行处理,而被拦截的固体废弃物,则落入收集框中进行收集,提高处理效果,减少环境污染,方便工作人员进行使用,满足使用需求的目的。
附图说明
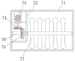
图1为本实用新型的整体内部结构示意图;
图2为本实用新型的搅拌装置结构示意图;
图3为本实用新型图1的A处局部放大结构示意图。
图中标号说明:
1、处理框;2、粉碎装置;21、电机架;22、第一电机;23、联轴器;24、转动轴;25、粉碎刀具;3、入料口;4、过滤网;5、集液斗;6、连接管;7、搅拌装置;71、固定框;72、电机框;73、第二电机;74、主齿轮;75、副齿轮;76、连接轴;77、搅拌架;8、排污口;9、收集框;10、立柱;11、药水框;12、导管;13、阀门。
具体实施方式
下面将结合本实用新型实施例中的附图;对本实用新型实施例中的技术方案进行清楚、完整地描述;显然;所描述的实施例仅仅是本实用新型一部分实施例;而不是全部的实施例。基于本实用新型中的实施例;本领域普通技术人员在没有做出创造性劳动前提下所获得的所有其他实施例;都属于本实用新型保护的范围。
实施例1:
请参阅图1-3,本实用新型提供一种技术方案:一种兽医站用废弃物处理设备,包括处理框1,处理框1的顶部设置有粉碎装置2,处理框1的顶部固定连接有入料口3,处理框1的内部固定连接有过滤网4,过滤网4的底部固定连接有集液斗5,集液斗5的底部固定连接有连接管6,处理框1的内部固定连接有搅拌装置7,连接管6与搅拌装置7固定连接,搅拌装置7的底部固定连接有排污口8,处理框1的右侧设置有收集框9,处理框1的底部固定连接有立柱10。处理框1、粉碎装置2、入料口3、过滤网4、集液斗5、连接管6、搅拌装置7、排污口8、收集框9与立柱10组成一个整体,将废弃物投入处理框1中,粉碎装置2对废弃物进行粉碎,落入过滤网4进行固液分离,集液斗5对液体进行收集,汇入搅拌装置7进行处理,而被拦截的固体废弃物,则落入收集框9中进行收集,提高处理效果,减少环境污染,方便工作人员进行使用。
实施例2:
请参阅图1,一种兽医站用废弃物处理设备,与实施例1基本相同,更进一步的是,粉碎装置2包括电机架21,电机架21与处理框1固定连接,电机架21固定连接有第一电机22,第一电机22的输出轴固定连接有联轴器23,第一电机22通过联轴器23固定连接有转动轴24,转动轴24与处理框1转动连接,转动轴24位于处理框1内部的一端固定连接有粉碎刀具25。设置粉碎装置2,第一电机22工作,带动联轴器23转动,带动转动轴24转动,带动粉碎刀具25转动,对投入的废弃物进行粉碎,便于后期进行固液分离,提高处理效果。
实施例3:
请参阅图2,一种兽医站用废弃物处理设备,与实施例1基本相同,更进一步的是,搅拌装置7包括固定框71,固定框71的内部固定连接有电机框72,电机框72的内壁固定连接有第二电机73,第二电机73的输出轴固定连接有主齿轮74,主齿轮74啮合传动有副齿轮75,副齿轮75的轴心处固定连接有连接轴76,连接轴76与固定框71的内壁固定连接,连接轴76的表面固定连接有搅拌架77。设置搅拌装置7,便于对固定框71内的废弃液体进行搅拌,便于将处理的药水加入处理液,第二电机73工作,带动主齿轮74转动,带动副齿轮75转动,带动连接轴76转动,带动搅拌架77转动,提高药水混合效率,提高污水处理效果。
实施例4:
请参阅图3,一种兽医站用废弃物处理设备,与实施例3基本相同,更进一步的是,处理框1的内壁固定连接有药水框11,药水框11的侧壁固定连接有导管12,导管12远离药水框11的一端与固定框71固定连接,导管12的表面设置有阀门13。设置药水框11,便于往固定框71内添加处理液,对废弃液进行搅拌,提高处理效果。
以上所述;仅为本实用新型较佳的具体实施方式;但本实用新型的保护范围并不局限于此;任何熟悉本技术领域的技术人员在本实用新型揭露的技术范围内;根据本实用新型的技术方案及其改进构思加以等同替换或改变;都应涵盖在本实用新型的保护范围内。
Claims (4)
1.一种兽医站用废弃物处理设备,包括处理框(1),其特征在于:所述处理框(1)的顶部设置有粉碎装置(2),所述处理框(1)的顶部固定连接有入料口(3),所述处理框(1)的内部固定连接有过滤网(4),所述过滤网(4)的底部固定连接有集液斗(5),所述集液斗(5)的底部固定连接有连接管(6),所述处理框(1)的内部固定连接有搅拌装置(7),所述连接管(6)与搅拌装置(7)固定连接,所述搅拌装置(7)的底部固定连接有排污口(8),所述处理框(1)的右侧设置有收集框(9),所述处理框(1)的底部固定连接有立柱(10)。
2.根据权利要求1所述的一种兽医站用废弃物处理设备,其特征在于:所述粉碎装置(2)包括电机架(21),所述电机架(21)与处理框(1)固定连接,所述电机架(21)固定连接有第一电机(22),所述第一电机(22)的输出轴固定连接有联轴器(23),所述第一电机(22)通过联轴器(23)固定连接有转动轴(24),所述转动轴(24)与处理框(1)转动连接,所述转动轴(24)位于处理框(1)内部的一端固定连接有粉碎刀具(25)。
3.根据权利要求1所述的一种兽医站用废弃物处理设备,其特征在于:所述搅拌装置(7)包括固定框(71),所述固定框(71)的内部固定连接有电机框(72),所述电机框(72)的内壁固定连接有第二电机(73),所述第二电机(73)的输出轴固定连接有主齿轮(74),所述主齿轮(74)啮合传动有副齿轮(75),所述副齿轮(75)的轴心处固定连接有连接轴(76),所述连接轴(76)与固定框(71)的内壁固定连接,所述连接轴(76)的表面固定连接有搅拌架(77)。
4.根据权利要求3所述的一种兽医站用废弃物处理设备,其特征在于:所述处理框(1)的内壁固定连接有药水框(11),所述药水框(11)的侧壁固定连接有导管(12),所述导管(12)远离药水框(11)的一端与固定框(71)固定连接,所述导管(12)的表面设置有阀门(13)。
Priority Applications (1)
| Application Number | Priority Date | Filing Date | Title |
|---|---|---|---|
| CN202022220652.XU CN213256248U (zh) | 2020-10-09 | 2020-10-09 | 一种兽医站用废弃物处理设备 |
Applications Claiming Priority (1)
| Application Number | Priority Date | Filing Date | Title |
|---|---|---|---|
| CN202022220652.XU CN213256248U (zh) | 2020-10-09 | 2020-10-09 | 一种兽医站用废弃物处理设备 |
Publications (1)
| Publication Number | Publication Date |
|---|---|
| CN213256248U true CN213256248U (zh) | 2021-05-25 |
Family
ID=75947616
Family Applications (1)
| Application Number | Title | Priority Date | Filing Date |
|---|---|---|---|
| CN202022220652.XU Active CN213256248U (zh) | 2020-10-09 | 2020-10-09 | 一种兽医站用废弃物处理设备 |
Country Status (1)
| Country | Link |
|---|---|
| CN (1) | CN213256248U (zh) |
-
2020
- 2020-10-09 CN CN202022220652.XU patent/CN213256248U/zh active Active
Similar Documents
| Publication | Publication Date | Title |
|---|---|---|
| CN213256248U (zh) | 一种兽医站用废弃物处理设备 | |
| CN213000186U (zh) | 一种医疗垃圾处理用消毒装置 | |
| CN109513474A (zh) | 一种垃圾处理装置 | |
| CN206632104U (zh) | 一种生物医药塑料废物处理装置 | |
| CN212068942U (zh) | 一种兽医用草药捣碎装置 | |
| CN213966972U (zh) | 兽医站用废弃物处理设备 | |
| CN212791198U (zh) | 一种兽医站用废弃物处理设备 | |
| CN216987421U (zh) | 一种药学试剂搅拌装置 | |
| CN213914074U (zh) | 一种电子铝箔加工车间废料处理装置 | |
| CN216501456U (zh) | 一种新型医疗废弃物处理用收集装置 | |
| CN215477400U (zh) | 一种手术室护理中废物、废液收集护理装置 | |
| CN213611701U (zh) | 一种药剂师用节能研磨装置 | |
| CN210613851U (zh) | 一种外科护理用废弃物处理装置 | |
| CN215963827U (zh) | 一种兽医专用新型废弃物处理设备 | |
| CN218620384U (zh) | 一种污水处理用加药装置 | |
| CN213311850U (zh) | 一种用于呼吸科的痰液处理装置 | |
| CN217527612U (zh) | 一种医疗用的医用垃圾回收装置 | |
| CN216946615U (zh) | 一种新型环保一体化污水处理装置 | |
| CN206999706U (zh) | 一种中药药渣药液回收装置 | |
| CN214391582U (zh) | 一种外科护理用废弃物处理装置 | |
| CN221626052U (zh) | 一种生物医药洁净室的垃圾处理装置 | |
| CN214568088U (zh) | 一种五官科手术室护理用垃圾收集器 | |
| CN213506472U (zh) | 一种垃圾渗滤液填埋气收集装置 | |
| CN218692552U (zh) | 一种小型自动化有机废弃物预处理系统 | |
| CN215875075U (zh) | 一种农业兽医喂药器 |
Legal Events
| Date | Code | Title | Description |
|---|---|---|---|
| GR01 | Patent grant | ||
| GR01 | Patent grant |