CN213241803U - Advertisement putting frame - Google Patents

Advertisement putting frame Download PDF

Info

Publication number
CN213241803U
CN213241803U CN202022316281.5U CN202022316281U CN213241803U CN 213241803 U CN213241803 U CN 213241803U CN 202022316281 U CN202022316281 U CN 202022316281U CN 213241803 U CN213241803 U CN 213241803U
Authority
CN
China
Prior art keywords
solar panel
rod
groove
advertising
mounting plate
Prior art date
Legal status (The legal status is an assumption and is not a legal conclusion. Google has not performed a legal analysis and makes no representation as to the accuracy of the status listed.)
Expired - Fee Related
Application number
CN202022316281.5U
Other languages
Chinese (zh)
Inventor
汪敏
潘振伟
钟炜
张火林
Current Assignee (The listed assignees may be inaccurate. Google has not performed a legal analysis and makes no representation or warranty as to the accuracy of the list.)
Fujian Soft Zhong Digital Technology Co ltd
Original Assignee
Fujian Soft Zhong Digital Technology Co ltd
Priority date (The priority date is an assumption and is not a legal conclusion. Google has not performed a legal analysis and makes no representation as to the accuracy of the date listed.)
Filing date
Publication date
Application filed by Fujian Soft Zhong Digital Technology Co ltd filed Critical Fujian Soft Zhong Digital Technology Co ltd
Priority to CN202022316281.5U priority Critical patent/CN213241803U/en
Application granted granted Critical
Publication of CN213241803U publication Critical patent/CN213241803U/en
Expired - Fee Related legal-status Critical Current
Anticipated expiration legal-status Critical

Links

Images

Landscapes

  • Illuminated Signs And Luminous Advertising (AREA)

Abstract

一种投放广告架,包括支撑杆、固定杆、安装板、广告板、底座、连接杆、连接件、通孔、蓄电池、太阳能板、凹槽、滑块、LED灯、开关、限位块和转动件,所述支撑杆顶端设置有固定杆,固定杆上设置有连接件,所述连接件顶端设置连接杆,所述连接杆一端设置有安装板,安装板上设置有广告版,所述安装板内部设置有凹槽,凹槽内部设置有太阳能板,所述安装板两侧设置有LED灯,LED灯上方设置有开关,所述支撑杆内部设置有蓄电池,蓄电池底端设置有隔板,所述支撑杆底端设置有底座,需要收起太阳能板时,将太阳能板轻轻拉起,使卡块转到原始位置,再将太阳能板通过滑块滑进凹槽内,便可实现太阳能板的收起。

Figure 202022316281

An advertising stand, comprising a support rod, a fixed rod, a mounting plate, an advertising board, a base, a connecting rod, a connecting piece, a through hole, a battery, a solar panel, a groove, a slider, an LED light, a switch, a limit block and A rotating member, a fixing rod is arranged at the top of the support rod, a connecting piece is arranged on the fixing rod, a connecting rod is arranged at the top of the connecting piece, a mounting plate is arranged at one end of the connecting rod, and an advertising board is arranged on the installation plate, and the A groove is arranged inside the mounting plate, a solar panel is arranged inside the groove, LED lights are arranged on both sides of the mounting plate, a switch is arranged above the LED lights, a battery is arranged inside the support rod, and a separator is arranged at the bottom end of the battery , The bottom end of the support rod is provided with a base. When the solar panel needs to be stowed, the solar panel is gently pulled up to make the block turn to the original position, and then the solar panel is slid into the groove through the slider to achieve Put away the solar panels.

Figure 202022316281

Description

Advertisement putting frame
Technical Field
The utility model relates to an advertisement frame technical field specifically is an advertisement frame puts in.
Background
The advertisement frame is a display tool for propaganda materials, has the advantages of simplicity, clearness, no special trouble, and the like, and can play the roles of displaying commodities, transmitting information and promoting sales. In Europe and America, the advertising frame is a product with very high added value, and a great number of users and manufacturers are used.
For example, the patent publication "CN 201821622796.4" is named as: the patent of the ' telescopic advertisement frame ' discloses ' an advertisement frame main body which comprises a base and is arranged on the base, wherein the advertisement frame main body comprises a first advertisement frame main body and a second advertisement frame main body which is nested in the first advertisement frame main body and can move up and down, the back surface of the first advertisement frame main body is connected with a sliding groove, the top of the sliding groove is provided with a first socket, the back surface of the second advertisement frame main body is provided with a sliding rod which can move up and down along the sliding groove, the middle lower part of the sliding rod is provided with a second socket, the first socket and the second socket can be connected through a bolt, the first advertisement frame main body is internally provided with an inner cavity, two sides of the inner cavity are provided with sliding rails, two sides of the second advertisement frame main body are provided with convex blocks matched with the sliding rails, the second advertisement frame main body can move up and down along the inner cavity by inserting the, the sliding rod is L-shaped, penetrates through the gap and is sleeved in the sliding groove, and the front face of the first advertisement frame main body is provided with a first baffle plate. The front of second advertisement frame main part is equipped with the second baffle, and the second baffle rotates through pivot and second advertisement frame main part to be connected ".
However, the existing advertising frame cannot be used well under the condition of inconvenient power-on when in use, and the processes of disassembly and assembly are complex and inconvenient to use.
SUMMERY OF THE UTILITY MODEL
Technical problem to be solved
The utility model provides a simple structure, practicality are strong puts in advertisement frame to prior art not enough.
(II) technical scheme
In order to achieve the above object, the utility model provides a following technical scheme:
the utility model provides a put in advertisement frame, includes bracing piece, dead lever, mounting panel, advertising panel, base, connecting rod, connecting piece, through-hole, battery, solar panel, recess, slider, LED lamp, switch, stopper and rotates the piece, the bracing piece top is provided with the dead lever, is provided with the connecting piece on the dead lever, the connecting piece top sets up the connecting rod, connecting rod one end is provided with the mounting panel, is provided with the advertisement version on the mounting panel, the inside recess that is provided with of mounting panel, the inside solar panel that is provided with of recess, the mounting panel both sides are provided with the LED lamp, and LED lamp top is provided with the switch, the inside battery that is provided with of bracing piece.
In order to realize better connection, the utility model discloses the improvement has, the dead lever all is provided with the screw hole with connecting rod one side, be provided with the through-hole on the connecting piece, the through-hole is corresponding with the screw hole, be provided with the bolt in the through-hole, the bolt passes the through-hole and is connected with dead lever and connecting rod respectively.
In order to realize better slip, the utility model discloses the improvement has, the recess both sides are provided with the slide rail, and the solar panel both sides are provided with the slider, the slider sets up in the slide rail.
In order to realize better fixed, the utility model discloses the improvement has, the solar panel both sides are provided with rotates the piece, rotate and are provided with the fixture block on the piece, be provided with the stopper on the fixture block, the fixture block rotates with rotating and is connected.
In order to realize better placing, the utility model discloses the improvement has, the stopper is at the fixture block with the turned angle restriction that rotates.
In order to realize better fixed, the utility model discloses the improvement has, solar panel and battery electric connection, battery and LED lamp, switch and advertising panel electric connection.
In order to improve the steadiness of base, the utility model discloses the improvement has, the base bottom is provided with the rubber slipmat.
(III) advantageous effects
Compared with the prior art, the utility model provides a put in advertisement frame possesses following beneficial effect:
the advertising frame is characterized in that the fixed rod is connected with the connecting rod through the connecting piece, so that when the advertising frame needs to be disassembled, the mounting plate and the supporting rod can be disassembled only by screwing out the bolt, the transportation and the installation are convenient, the groove is arranged in the mounting plate, the solar panel in the groove is electrically connected with the storage battery, when the advertising frame is used, the solar panel slides out in the sliding rail through the sliding block, so that the solar panel is placed outside the groove, the rotating pieces are arranged at two sides of the solar panel, the rotating pieces rotate the clamping blocks to clamp the clamping blocks at the top end of the mounting plate, the limiting blocks can limit the rotating angles of the clamping blocks and the rotating pieces to enable the clamping blocks to clamp the solar panel at right angles, when the solar panel needs to be folded, the solar panel is slightly pulled up, so that the clamping blocks are rotated to, the advertising board can adopt playing facilities such as a display screen and the like, and can continuously supply power through the solar panel, so that the practicability of the advertising frame is improved.
Drawings
FIG. 1 is a schematic structural view of the present invention;
FIG. 2 is a schematic front view of the structure of FIG. 1 at 3;
fig. 3 is a schematic view of a partial enlarged structure at a in fig. 2 according to the present invention;
fig. 4 is a schematic side view of the structure of fig. 2 according to the present invention;
fig. 5 is a schematic structural view of the outer tube of fig. 2 according to the present invention;
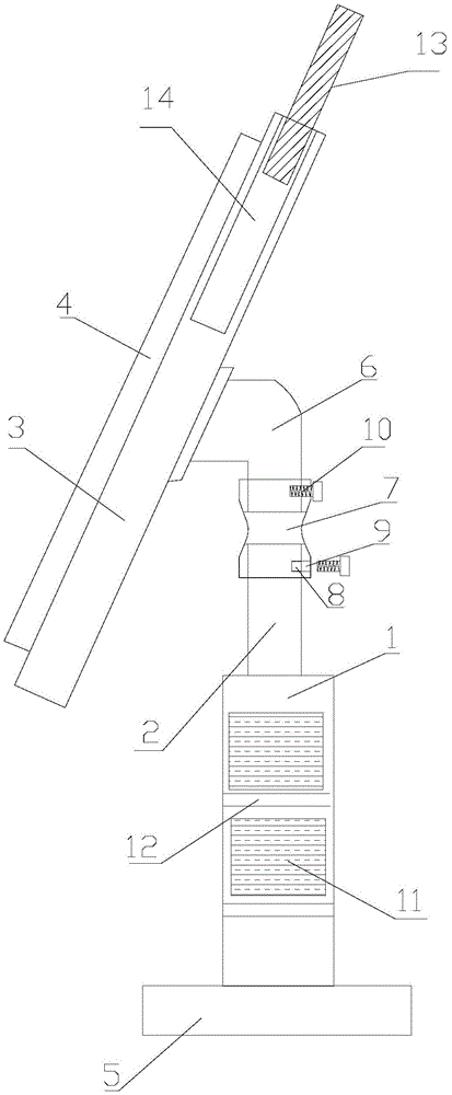
in the figure: 1. a support bar; 2. fixing the rod; 3. mounting a plate; 4. an advertising board; 5. a base; 6. a connecting rod; 7, connecting pieces; 8. a threaded hole; 9. a through hole; 10. a bolt; 11. a storage battery; 12. a partition plate; 13. a solar panel; 14. a groove; 15. a slider; 16. a slide rail; an LED lamp; 18. a switch; 19. a limiting block; 20. a rotating member; 21. and (7) clamping blocks.
Detailed Description
The technical solutions in the embodiments of the present invention will be described clearly and completely with reference to the accompanying drawings in the embodiments of the present invention, and it is obvious that the described embodiments are only some embodiments of the present invention, not all embodiments. Based on the embodiments in the present invention, all other embodiments obtained by a person skilled in the art without creative work belong to the protection scope of the present invention.
Referring to fig. 1-5, an advertisement putting frame comprises a support rod 1, a fixing rod 2, a mounting plate 3, an advertisement board 4, a base 5, a connecting rod 6, a connecting member 7, a through hole 9, a storage battery 11, a solar panel 13, a groove 14, a slider 15, an LED lamp 17, a switch 18, a limiting block 19 and a rotating member 20, wherein the fixing rod 2 is arranged at the top end of the support rod 1, threaded holes 8 are respectively arranged at one sides of the fixing rod 2 and the connecting rod 6, the connecting member 7 is provided with the through hole 9, the through hole 9 corresponds to the threaded hole 8, a bolt 10 is arranged in the through hole 9, the bolt 10 is respectively connected with the fixing rod 2 and the connecting rod 6 through the through hole 9, the connecting member 2 is provided with the connecting member 7, the connecting rod 6 is arranged at the top end of the connecting rod 6, slide rails 16 are arranged on two sides of the groove 14, slide blocks 15 are arranged on two sides of the solar panel 13, the sliding block 15 is arranged in the sliding rail 16, the solar panel 13 is arranged in the groove 14, the rotating pieces 20 are arranged on two sides of the solar panel 13, the clamping blocks 21 are arranged on the rotating pieces 20, the fixture block 21 is provided with a limiting block 19, the fixture block 21 is rotatably connected with the rotating part 20, the limiting block 19 limits the rotating angle of the fixture block 21 and the rotating part 20 to 90 degrees, two sides of the mounting plate 3 are provided with LED lamps 17, a switch 18 is arranged above the LED lamps 17, the utility model discloses a solar energy storage and advertising board, including bracing piece 1, battery 11, solar panel 13 and battery 11 electric connection, battery 11 and LED lamp 17, switch 18 and advertising panel 4 electric connection, battery 11 bottom is provided with baffle 12, 1 bottom of bracing piece is provided with base 5, and 5 bottoms of base are provided with the rubber slipmat.
In summary, the working principle and working process of the advertising frame include that, when in use, the fixing rod 2 is connected with the connecting rod 6 through the connecting piece 7, so that the advertising frame can be disassembled from the mounting plate 3 and the supporting rod 1 only by screwing out the bolt 10, transportation and installation are convenient, the groove 14 is formed in the mounting plate 3, the solar panel 13 in the groove 14 is electrically connected with the storage battery 11, when in use, the solar panel 13 slides out of the sliding rail 16 through the sliding block 15, so that the solar panel 13 is placed outside the groove 14, the rotating pieces 20 are arranged on two sides of the solar panel 13, the rotating pieces 20 rotate the clamping block 21 to clamp the clamping block 21 at the top end of the mounting plate 3, the limiting block 19 can limit the rotating angle between the clamping block 21 and the rotating pieces 20 to 90 degrees to clamp the solar panel 13 at right angle of the clamping block 21, when the solar panel 13, pull up solar panel 13 gently, make fixture block 21 change primary position, slide solar panel 13 in recess 14 through slider 15 again, alright realize packing up of solar panel 13, pass through connection of electric lines battery 11 at the LED lamp 17 that 3 both sides of mounting panel set up, LED lamp 17 can improve the result of use at night, makes the advertisement frame outer tube have the aesthetic feeling more, advertisement board 4 can adopt broadcast facilities such as display screen to can last the power supply through solar panel 13, improved the practicality of advertisement frame.
The use process of the advertisement frame is as follows: install connecting piece 7 on dead lever 2 and connecting rod 6, and fix through bolt 10, fixed completion back, with solar panel 13 at the inside roll-off of recess 14, then rotate to 90 stabilizer blades with fixture block 21, make fixture block 21 card on mounting panel 3, realize solar panel 13's fixed, install battery 11 inside bracing piece 1, battery 11 can provide the electric energy for advertising panel 4 and LED etc. makes it also can continue to use under the inconvenient environment of circular telegram.
Although embodiments of the present invention have been shown and described, it will be appreciated by those skilled in the art that changes, modifications, substitutions and alterations can be made in these embodiments without departing from the principles and spirit of the invention, the scope of which is defined in the appended claims and their equivalents.

Claims (7)

1. The utility model provides a put advertisement frame which characterized in that: comprises a support rod (1), a fixed rod (2), a mounting plate (3), an advertising board (4), a base (5), a connecting rod (6), a connecting piece (7), a through hole (9), a storage battery (11), a solar panel (13), a groove (14), a sliding block (15), an LED lamp (17), a switch (18), a limiting block (19) and a rotating piece (20), wherein the fixed rod (2) is arranged at the top end of the support rod (1), the connecting piece (7) is arranged on the fixed rod (2), the connecting rod (6) is arranged at the top end of the connecting piece (7), the mounting plate (3) is arranged at one end of the connecting rod (6), an advertising board is arranged on the mounting plate (3), the groove (14) is arranged in the mounting plate (3), the solar panel (13) is arranged in the groove (14), the LED lamps (17) are arranged on, the novel multifunctional umbrella is characterized in that a storage battery (11) is arranged inside the supporting rod (1), a partition plate (12) is arranged at the bottom end of the storage battery (11), and a base (5) is arranged at the bottom end of the supporting rod (1).
2. An advertising frame according to claim 1, wherein: threaded holes (8) are formed in one sides of the fixing rod (2) and the connecting rod (6), a through hole (9) is formed in the connecting piece (7), the through hole (9) corresponds to the threaded hole (8), a bolt (10) is arranged in the through hole (9), and the bolt (10) penetrates through the through hole (9) to be connected with the fixing rod (2) and the connecting rod (6) respectively.
3. An advertising frame according to claim 1, wherein: the solar panel is characterized in that sliding rails (16) are arranged on two sides of the groove (14), sliding blocks (15) are arranged on two sides of the solar panel (13), and the sliding blocks (15) are arranged in the sliding rails (16).
4. An advertising frame according to claim 1, wherein: solar panel (13) both sides are provided with rotates piece (20), rotate and are provided with fixture block (21) on piece (20), be provided with stopper (19) on fixture block (21), fixture block (21) rotate with rotating piece (20) and be connected.
5. An advertising frame according to claim 4, wherein: the limiting block (19) limits the rotation angle of the clamping block (21) and the rotating piece (20) to be 90 degrees.
6. An advertising frame according to claim 1, wherein: solar panel (13) and battery (11) electric connection, battery (11) and LED lamp (17), switch (18) and advertising panel (4) electric connection.
7. An advertising frame according to claim 1, wherein: the bottom end of the base (5) is provided with a rubber non-slip mat.
CN202022316281.5U 2020-10-16 2020-10-16 Advertisement putting frame Expired - Fee Related CN213241803U (en)

Priority Applications (1)

Application Number Priority Date Filing Date Title
CN202022316281.5U CN213241803U (en) 2020-10-16 2020-10-16 Advertisement putting frame

Applications Claiming Priority (1)

Application Number Priority Date Filing Date Title
CN202022316281.5U CN213241803U (en) 2020-10-16 2020-10-16 Advertisement putting frame

Publications (1)

Publication Number Publication Date
CN213241803U true CN213241803U (en) 2021-05-18

Family

ID=75880706

Family Applications (1)

Application Number Title Priority Date Filing Date
CN202022316281.5U Expired - Fee Related CN213241803U (en) 2020-10-16 2020-10-16 Advertisement putting frame

Country Status (1)

Country Link
CN (1) CN213241803U (en)

Similar Documents

Publication Publication Date Title
CN205384833U (en) Intelligent tourism electron photo holder frame
CN210989407U (en) Industrial design exhibition frame convenient to height-adjusting and show direction
CN213241803U (en) Advertisement putting frame
CN205451712U (en) Display board for ideological and political education
CN208027305U (en) A kind of functional computer key-board
CN203036368U (en) Folding LED table lamp with retractable support
CN207506294U (en) A kind of Portable exhibition frame
CN205859878U (en) A kind of little flying disc desk lamp
CN209947378U (en) X-shaped display rack
CN213453349U (en) Indoor exhibitions is with showpiece illumination lamps and lanterns of being convenient for overhaul and maintaining
CN209057324U (en) A speaker with a luminous membrane
CN201204010Y (en) Multifunctional telephone and advertisement device convenient for disassembly, assembly and use
CN220648113U (en) Novel foldable LED eye-protection desk lamp
CN203787073U (en) A portable music stand
CN218508774U (en) A portable ceiling bracket for interior architectural decoration
CN211780435U (en) Folding type side fixing LED lamp decoration
CN216902185U (en) Cultural activity planning display board
CN222965811U (en) A campus information display device
CN214964141U (en) Market brand exhibition is with pin-connected panel show shelf
CN202001917U (en) a lamp
CN204797224U (en) But displaying advertisement's portable bench
CN202035827U (en) Vertical display case
CN215069145U (en) An advertising stand that is easy to assemble and has strong adaptability
CN214222966U (en) Solar emergency lamp
CN215863156U (en) Solar lamp that can multi-angle was adjusted

Legal Events

Date Code Title Description
GR01 Patent grant
GR01 Patent grant
CF01 Termination of patent right due to non-payment of annual fee
CF01 Termination of patent right due to non-payment of annual fee

Granted publication date: 20210518

Termination date: 20211016