CN213227971U - Paper feeding device for printing machine - Google Patents

Paper feeding device for printing machine Download PDF

Info

Publication number
CN213227971U
CN213227971U CN202021743177.8U CN202021743177U CN213227971U CN 213227971 U CN213227971 U CN 213227971U CN 202021743177 U CN202021743177 U CN 202021743177U CN 213227971 U CN213227971 U CN 213227971U
Authority
CN
China
Prior art keywords
paper
frame
fixedly connected
mounting
feeding device
Prior art date
Legal status (The legal status is an assumption and is not a legal conclusion. Google has not performed a legal analysis and makes no representation as to the accuracy of the status listed.)
Expired - Fee Related
Application number
CN202021743177.8U
Other languages
Chinese (zh)
Inventor
常江
Current Assignee (The listed assignees may be inaccurate. Google has not performed a legal analysis and makes no representation or warranty as to the accuracy of the list.)
Harbin University of Commerce
Original Assignee
Harbin University of Commerce
Priority date (The priority date is an assumption and is not a legal conclusion. Google has not performed a legal analysis and makes no representation as to the accuracy of the date listed.)
Filing date
Publication date
Application filed by Harbin University of Commerce filed Critical Harbin University of Commerce
Priority to CN202021743177.8U priority Critical patent/CN213227971U/en
Application granted granted Critical
Publication of CN213227971U publication Critical patent/CN213227971U/en
Expired - Fee Related legal-status Critical Current
Anticipated expiration legal-status Critical

Links

Images

Landscapes

  • Replacement Of Web Rolls (AREA)

Abstract

本实用新型公开了一种用于印刷机的走纸装置,涉及印刷机技术领域,包括机架,所述机架的顶部固定安装有印刷机本体,所述机架顶部相对应的两侧均固定安装多个有安装架,多个所述安装架的内部均贯穿有传动轴且传动轴的一端均转动连接至安装架外侧的轴承。本实用新型的有益效果为:该用于印刷机的走纸装置,通过限位板可以对正在走纸状态的纸张进行限位,可以保证纸张在走纸过程中不会发生跑偏的现象,避免了因为跑偏而造成印刷质量不佳的问题,在印刷多种不同宽度的纸张时,通过旋转旋钮则可以调节两个限位板之间的间距,使限位板的限位作用可以适用于多个宽度的纸张,从而有效的提升了该用于印刷机的走纸装置的实用性和适用性。

Figure 202021743177

The utility model discloses a paper feeding device for a printing press, which relates to the technical field of printing presses. A plurality of mounting brackets are fixedly installed, and transmission shafts penetrate through the interiors of the plurality of mounting brackets, and one end of the transmission shaft is rotatably connected to a bearing outside the mounting bracket. The beneficial effects of the utility model are as follows: the paper feeding device used for the printing press can limit the position of the paper in the feeding state through the limit plate, which can ensure that the paper does not deviate during the feeding process, It avoids the problem of poor printing quality caused by deviation. When printing a variety of paper with different widths, the distance between the two limit plates can be adjusted by rotating the knob, so that the limit function of the limit plates can be applied. It can be used for paper with multiple widths, thereby effectively improving the practicability and applicability of the paper feeding device for a printing press.

Figure 202021743177

Description

Paper feeding device for printing machine
Technical Field
The utility model relates to a printing machine technical field specifically is a paper feed device for printing machine.
Background
The printing machine is a machine for printing characters and images, the modern printing machine is generally composed of mechanisms of plate-loading, inking, stamping and paper-conveying, etc., its working principle is that firstly the characters and images to be printed are made into printing plate, then the printing plate is mounted on the printing machine, then the ink is coated on the place with characters and images on the printing plate by manpower or printing machine, then the printing plate is directly or indirectly transferred onto paper or other printing stock so as to attain the goal of copying the printed matter identical to the printing plate, in which the paper-conveying mechanism is also called paper-feeding device, and the paper-feeding device is commonly called paper-feeding device, and is an important part of modern printing machine, and its function is to feed the paper into the designated position of positioning or printing device according to a certain rule, and the working efficiency of printing machine is high or low, the printing quality is good or good, and it has a direct relation with working performance of paper-feeding device, but the traditional paper-feeding, the paper is easily wrinkled in the printing process, so that the paper is prone to deviation when being printed, once the paper deviates, the paper can be manually processed by a printing worker, time and labor are wasted, the printing quality is affected, and much inconvenience is brought to the printing work.
SUMMERY OF THE UTILITY MODEL
Not enough to prior art, the utility model provides a paper feed device for printing machine has solved the problem of proposing in the above-mentioned background art.
In order to achieve the above purpose, the utility model discloses a following technical scheme realizes: a paper feeding device for a printing machine comprises a rack, wherein a printing machine body is fixedly arranged at the top of the rack, a plurality of mounting frames are fixedly arranged on two corresponding sides of the top of the rack, a transmission shaft penetrates through the insides of the mounting frames, one end of the transmission shaft is rotatably connected to a bearing on the outer side of each mounting frame, a transmission wheel is fixedly connected to the other end of the transmission shaft, a transmission roller is fixedly connected to the outer wall of the transmission shaft and positioned above the rack, fixing frames are fixedly arranged on two corresponding sides of the top of the rack and positioned on one side of each mounting frame, mounting plates are fixedly arranged on the tops of the two fixing frames, a bidirectional lead screw is rotatably connected to the inside of one mounting plate, one end of the bidirectional lead screw extends to the inside of the other mounting plate and is rotatably connected with the other mounting plate through the, the limiting groove has been seted up to the inside of fixed column, the one end fixedly connected with knob that two-way lead screw is close to one of them mounting panel, the limiting plate has been cup jointed, two to the outer wall of two-way lead screw and the equal screw thread in both ends that is located opposite screw thread direction one side fixedly connected with connecting block of limiting plate, the one end fixedly connected with stopper of limiting plate is kept away from to the connecting block, stopper activity joint to the inside of limiting groove and stopper and limiting groove sliding connection.
Preferably, the bottom fixed mounting of frame has the main tributary supporting leg, one side fixed mounting of frame has the link, the one end fixedly connected with auxiliary supporting leg of frame is kept away from to the link, the inside swing joint of auxiliary supporting leg one end has the paper spool, the outer wall of paper spool is provided with the paper roll cover, the bottom fixed mounting of auxiliary supporting leg has the support base.
Preferably, the lateral wall fixed mounting of frame one side has second fixed plate and first fixed plate, the top of second fixed plate and first fixed plate is provided with second drive case and first drive case respectively, the inside fixed mounting of second drive case has the second motor, the inside fixed mounting of first drive case has first motor.
Preferably, one of the driving wheels is fixedly connected with the output end of the first motor, and the outer walls of the plurality of driving wheels are connected with belts in a transmission manner.
Preferably, the inside of frame is provided with a plurality of auxiliary shafts, and is a plurality of the both ends of auxiliary shaft all are connected with the lateral wall rotation of frame both sides, and are a plurality of the equal fixed mounting of outer wall of auxiliary shaft has the auxiliary roller.
Preferably, one end of one of the auxiliary shafts is fixedly connected with the output end of the second motor.
The utility model provides a paper feed device for printing machine possesses following beneficial effect:
1. this a paper feed device for printing machine, through placing the inside at vice supporting leg with the scroll cover utilization paper spool, make the scroll cover can rotate, the inside that then gets into the printing machine body through a plurality of driving rollers and auxiliary roller prints when needs paper feed, then pull the paper through the auxiliary roller that is connected with the second motor, can reach the purpose of automatic paper feed, through the outer wall with the paper laminating at a plurality of driving rollers, can effectually flatten the paper, the fold has been avoided appearing at the in-process of printing and paper feed to the paper, printing staff's manual handling number of times has been reduced, thereby printing efficiency and printing quality have been improved, staff's intensity of labour has still been reduced simultaneously, the abundant practicality that has embodied this a paper feed device for printing machine.
2. This a paper feed device for printing machine, can carry on spacingly to the paper at the state of form advancing through the limiting plate, can guarantee that the phenomenon of paper off tracking can not take place at the form advancing in-process, avoided causing the not good problem of printing quality because of the off tracking, when printing the paper of multiple different width, then can adjust the interval between two limiting plates through rotatory knob, the spacing effect that makes the limiting plate can be applicable to the paper of a plurality of widths, thereby the effectual practicality and the suitability that should be used for the paper feed device of printing machine that have promoted.
Drawings
FIG. 1 is a schematic structural view of the present invention;
fig. 2 is a top view of the present invention;
fig. 3 is an enlarged view of a portion a of fig. 1 according to the present invention;
fig. 4 is an enlarged view of the position B of fig. 2 according to the present invention.
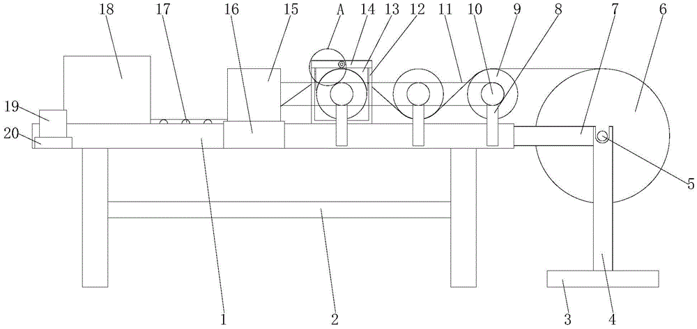
In the figure: 1. a frame; 2. a main support leg; 3. a support base; 4. a secondary support leg; 5. a paper roll; 6. sleeving the paper roll; 7. a connecting frame; 8. a mounting frame; 9. a driving roller; 10. a driving wheel; 11. a belt; 12. a fixed mount; 13. a limiting plate; 14. mounting a plate; 15. a first drive case; 16. a first fixing plate; 17. an auxiliary roller; 18. a printer body; 19. a second drive box; 20. a second fixing plate; 21. a drive shaft; 22. a bidirectional screw rod; 23. fixing a column; 24. an auxiliary shaft; 25. a first motor; 26. a second motor; 27. a knob; 28. connecting blocks; 29. a limiting block; 30. a limiting groove.
Detailed Description
The technical solutions in the embodiments of the present invention will be described clearly and completely with reference to the accompanying drawings in the embodiments of the present invention, and it is obvious that the described embodiments are only some embodiments of the present invention, not all embodiments.
Referring to fig. 1 to 4, the present invention provides a technical solution: a paper feeding device for a printing machine comprises a frame 1, a main supporting leg 2 is fixedly installed at the bottom of the frame 1, a connecting frame 7 is fixedly installed at one side of the frame 1, an auxiliary supporting leg 4 is fixedly connected at one end of the connecting frame 7, which is far away from the frame 1, a paper reel 5 is movably connected inside one end of the auxiliary supporting leg 4, a paper reel sleeve 6 is arranged on the outer wall of the paper reel 5, when paper is used up and needs to be replaced, the paper reel 5 and the paper reel sleeve 6 without paper can be directly taken out, then the paper reel 5 and the paper reel sleeve 6 which are fully rolled with paper can be directly used for replacement, rapid replacement can be completed, the work time delayed by paper replacement is reduced, so that the work efficiency can be effectively improved, a supporting base 3 is fixedly installed at the bottom of the auxiliary supporting leg 4, the auxiliary supporting leg 4 can be more stable in bearing through the supporting base 3, and the condition that the paper reel sleeve 6 shakes in the, the phenomenon of frequent paper breaking caused by shaking of paper is avoided, a second fixing plate 20 and a first fixing plate 16 are fixedly mounted on the side wall of one side of the rack 1, a second driving box 19 and a first driving box 15 are respectively arranged at the tops of the second fixing plate 20 and the first fixing plate 16, a second motor 26 is fixedly mounted inside the second driving box 19, a first motor 25 is fixedly mounted inside the first driving box 15, the second driving box 19 and the first driving box 15 can be more stably mounted through the second fixing plate 20 and the first fixing plate 16, the problems of paper damage and wrinkling caused by shaking and poor operation states when the second motor 26 and the first motor 25 rotate are avoided, a plurality of auxiliary shafts 24 are arranged inside the rack 1, two ends of the plurality of auxiliary shafts 24 are rotatably connected with the side walls of two sides of the rack 1, and auxiliary rollers 17 are fixedly mounted on the outer walls of the plurality of auxiliary shafts 24, one end of one auxiliary shaft 24 is fixedly connected with the output end of a second motor 26, the second motor 26 provides power for one auxiliary shaft 24, paper can be moved continuously by using the auxiliary shaft 24, the problem that the paper cannot be moved or moves slowly under the condition of no power or insufficient power is avoided, and therefore the stability of the paper feeding device for the printing machine is effectively guaranteed, a printing machine body 18 is fixedly installed at the top of the rack 1, a plurality of mounting frames 8 are fixedly installed on two corresponding sides of the top of the rack 1, transmission shafts 21 penetrate through the insides of the mounting frames 8, one ends of the transmission shafts 21 are rotatably connected to bearings on the outer sides of the mounting frames 8, transmission wheels 10 are fixedly connected to the other ends of the transmission shafts 21, one transmission wheel 10 is fixedly connected with the output end of the first motor 25, and belts 11 are in transmission connection with the outer walls of the transmission wheels 10, the driving wheels 10 are driven to rotate by the first motor 25, meanwhile, the belt 11 is used for driving the plurality of driving wheels 10, each driving wheel 10 can have power, so that the driving roller 9 can better pull paper, the stress of the paper in the moving process is more uniform, the phenomena of breaking and pleating of the paper are avoided, and the practicability of the paper feeding device for the printing machine is effectively improved, the driving roller 9 is fixedly connected to the outer wall of the driving shaft 21 and positioned above the rack 1, the fixing frames 12 are fixedly arranged on two corresponding sides of the top of the rack 1 and positioned on one side of the mounting frame 8, the mounting plates 14 are fixedly arranged on the tops of the two fixing frames 12, the bidirectional screw rod 22 is rotatably connected to the inside of one mounting plate 14, one end of the bidirectional screw rod 22 extends to the inside of the other mounting plate 14 and is rotatably connected with the other mounting plate 14 through a bearing, a fixed column 23 is fixedly connected between the two mounting plates 14, a limiting groove 30 is formed in the fixed column 23, a knob 27 is fixedly connected to one end of the bidirectional screw rod 22 close to one of the mounting plates 14, the limiting plates 13 are in threaded sleeve connection with two opposite ends of the outer wall of the bidirectional screw rod 22, one sides of the two limiting plates 13 are fixedly connected with a connecting block 28, one end of the connecting block 28 far away from the limiting plate 13 is fixedly connected with a limiting block 29, the limiting block 29 is movably clamped in the limiting groove 30, the limiting block 29 is in sliding connection with the limiting groove 30, the limiting block 29 can be limited by the limiting groove 30 due to the clamping connection of the limiting block 29 in the limiting groove 30, the limiting plate 13 can only move along the bidirectional screw rod 22, the limiting plate 13 can not rotate, and the knob 27 can be rotated to enable the two limiting plates 13 to, thereby reach the effect of adjusting the interval between two limiting plates 13 to the adaptation is spacing to the paper of difference, avoids the paper to take place the phenomenon of off tracking, thereby the effectual practicality and the suitability that have promoted this a paper feed device for printing machine.
To sum up, when the paper feeding device for the printing machine is used, firstly, the paper roll sleeve 6 wound with paper is placed at the top end of the auxiliary supporting leg 4 through the paper roll shaft 5, then the paper is manually pulled to enable the paper to sequentially pass through the transmission roller 9 and the auxiliary roller 17 and enter the printing machine body 18, then the paper is led out from the printing machine body 18 and attached to the outer wall of the powered auxiliary roller 17, after connection is completed, the two limiting plates 13 move in opposite directions along the bidirectional screw rod 22 through the rotating knob 27, so that the distance between the two limiting plates 13 is adjusted, the paper can be effectively limited by adjusting the distance between the two limiting plates 13, at the moment, the paper can be fed by sequentially starting the first motor 25 and the second motor 26, when the distance between the two limiting plates 13 is adjusted, the first motor 25 and the second motor 26 are closed, and after the adjustment is finished, the first motor 25 and the second motor 26 are sequentially started.
The above, only be the concrete implementation of the preferred embodiment of the present invention, but the protection scope of the present invention is not limited thereto, and any person skilled in the art is in the technical scope of the present invention, according to the technical solution of the present invention and the utility model, the concept of which is equivalent to replace or change, should be covered within the protection scope of the present invention.

Claims (6)

1. A paper advance device for a printing machine, comprising a frame (1), characterized in that: the top fixed mounting of frame (1) has printing machine body (18), the equal fixed mounting in both sides that frame (1) top is corresponding is a plurality of has mounting bracket (8), and is a plurality of the inside of mounting bracket (8) all runs through the bearing that has transmission shaft (21) and transmission shaft (21) one end all to rotate and be connected to mounting bracket (8) outside, the other end fixedly connected with drive wheel (10) of transmission shaft (21), the outer wall of transmission shaft (21) just is located frame (1) top fixedly connected with driving roller (9), the equal fixed mounting in one side that frame (1) top is corresponding both sides and is located mounting bracket (8) has mount (12), two the equal fixed mounting in top of mount (12) has mounting panel (14), one of them the inside of mounting panel (14) is rotated and is connected with two-way lead screw (22), the one end of two-way lead screw (22) extends to the inside of another mounting panel (14) and through bearing Another mounting panel (14) rotates to be connected, two fixedly connected with fixed column (23) between mounting panel (14), spacing groove (30) have been seted up to the inside of fixed column (23), one end fixedly connected with knob (27) that two-way lead screw (22) are close to one of them mounting panel (14), limiting plate (13), two have been cup jointed to the outer wall of two-way lead screw (22) and have been located the equal screw thread in both ends that screw thread opposite direction one side fixedly connected with connecting block (28) of limiting plate (13), one end fixedly connected with stopper (29) of limiting plate (13) are kept away from in connecting block (28), stopper (29) activity joint is to the inside of spacing groove (30) and stopper (29) and spacing groove (30) sliding connection.
2. A sheet feeding device for a printing press according to claim 1, wherein: the utility model discloses a paper winding machine, including frame (1), one side fixed mounting of frame (1) has main tributary supporting leg (2), one side fixed mounting of frame (1) has link (7), the one end fixedly connected with auxiliary supporting leg (4) of frame (1) are kept away from in link (7), the inside swing joint of auxiliary supporting leg (4) one end has paper spool (5), the outer wall of paper spool (5) is provided with paper roll cover (6), the bottom fixed mounting of auxiliary supporting leg (4) has support base (3).
3. A sheet feeding device for a printing press according to claim 1, wherein: the utility model discloses a rack, including frame (1), lateral wall fixed mounting of frame (1) one side has second fixed plate (20) and first fixed plate (16), the top of second fixed plate (20) and first fixed plate (16) is provided with second drive case (19) and first drive case (15) respectively, the inside fixed mounting of second drive case (19) has second motor (26), the inside fixed mounting of first drive case (15) has first motor (25).
4. A sheet feeding device for a printing press according to claim 3, wherein: one of the driving wheels (10) is fixedly connected with the output end of the first motor (25), and the outer walls of the driving wheels (10) are connected with belts (11) in a transmission manner.
5. A sheet feeding device for a printing press according to claim 3, wherein: the inside of frame (1) is provided with a plurality of auxiliary shafts (24), and is a plurality of the both ends of auxiliary shaft (24) all are connected with the lateral wall rotation of frame (1) both sides, and are a plurality of the equal fixed mounting of outer wall of auxiliary shaft (24) has auxiliary roller (17).
6. A sheet feeding device for a printing press according to claim 5, wherein: one end of one of the auxiliary shafts (24) is fixedly connected with the output end of the second motor (26).
CN202021743177.8U 2020-08-19 2020-08-19 Paper feeding device for printing machine Expired - Fee Related CN213227971U (en)

Priority Applications (1)

Application Number Priority Date Filing Date Title
CN202021743177.8U CN213227971U (en) 2020-08-19 2020-08-19 Paper feeding device for printing machine

Applications Claiming Priority (1)

Application Number Priority Date Filing Date Title
CN202021743177.8U CN213227971U (en) 2020-08-19 2020-08-19 Paper feeding device for printing machine

Publications (1)

Publication Number Publication Date
CN213227971U true CN213227971U (en) 2021-05-18

Family

ID=75896140

Family Applications (1)

Application Number Title Priority Date Filing Date
CN202021743177.8U Expired - Fee Related CN213227971U (en) 2020-08-19 2020-08-19 Paper feeding device for printing machine

Country Status (1)

Country Link
CN (1) CN213227971U (en)

Cited By (1)

* Cited by examiner, † Cited by third party
Publication number Priority date Publication date Assignee Title
CN115871328A (en) * 2022-11-25 2023-03-31 艺堂印刷(天津)有限公司 Paper printing machine with adjustable printing roller and using method thereof

Cited By (1)

* Cited by examiner, † Cited by third party
Publication number Priority date Publication date Assignee Title
CN115871328A (en) * 2022-11-25 2023-03-31 艺堂印刷(天津)有限公司 Paper printing machine with adjustable printing roller and using method thereof

Similar Documents

Publication Publication Date Title
RU2346822C2 (en) Digital control machine for printing in fabric
CN213227971U (en) Paper feeding device for printing machine
CN208120326U (en) A kind of feeding device in screen printing apparatus
CN218289848U (en) Gravure printing rewinder with adjustable cutting plate width
CN212981942U (en) Paper tension adjusting device of color printing machine
CN108675026A (en) Feeding hot stamping mechanism for stamping machine
CN120004054B (en) Roll thermosensitive paper slitting device and slitting method
CN213415742U (en) Automatic send rolling overspeed device tensioner and gilding press
CN211366387U (en) Deviation correcting device of gravure printing machine
CN219600707U (en) Dual laminating machine
CN218289769U (en) High-efficient cloth decoiler
CN210763437U (en) Printing machine coiling mechanism
CN216763680U (en) Rolling device of printing equipment
CN217169767U (en) Packaging carton forming film laminating equipment capable of improving flatness
CN223494071U (en) Printing roller tensioning structure for embossing machine
CN218477288U (en) Production is with hard board positioning printing machine
CN221366197U (en) Printing roller deviation correcting device of printing machine
CN222714703U (en) Paper traction auxiliary device
CN219096293U (en) Stop gear is used in inspection of heat-transfer seal reverse mould
CN220844667U (en) Printing slitting and winding device with tightness adjusting function
CN216863164U (en) Blanking storage rack of hard board printing machine
CN212639338U (en) Deviation correcting device of laminating machine
CN222698141U (en) Printing machine template advancing device
CN222959436U (en) A kind of auxiliary device for book and periodical printing
CN220449231U (en) Winding mechanism of efficient printing machine

Legal Events

Date Code Title Description
GR01 Patent grant
GR01 Patent grant
CF01 Termination of patent right due to non-payment of annual fee
CF01 Termination of patent right due to non-payment of annual fee

Granted publication date: 20210518